青岛垚鑫智能科技有限公司
宣传

位置:中冶有色 >

有色技术频道 >

> 化学分析技术

分类:
全部
矿山技术
冶金技术
材料制备及加工技术
环境保护技术
分析检测技术
 
全部
物理检测技术
化学分析技术
力学检测技术
无损检测技术
失效分析技术
环境检测技术
地区:
全部
北京
天津
上海
重庆
河北
山西
辽宁
吉林
黑龙江
江苏
浙江
安徽
福建
江西
山东
河南
湖北
湖南
广东
海南
四川
贵州
云南
陕西
甘肃
青海
内蒙
广西
西藏
宁夏
新疆
其他
其他
展开
 
全部
南京
无锡
徐州
常州
苏州
南通
连云港
淮安
盐城
扬州
镇江
泰州
宿迁

江苏苏州有色金属化学分析技术理论与应用

免费发布技术信息>>
同时测定胞磷胆碱钠及九种有关物质的UPLC分析方法

本发明涉及药物分析化学领域,特别涉及一种同时测定胞磷胆碱钠及九种有关物质的UPLC分析方法。该方法包括:采用反相色谱柱进行色谱分析,反相色谱柱以亲水性的十八烷基硅烷键合硅胶为填充剂,以磷酸盐缓冲液为流动相A,以有机溶剂为流动相B,对胞磷胆碱钠的样品溶液进行梯度洗脱,按面积归一化法测定胞磷胆碱钠的纯度及九个杂质的含量。本发明提供的技术方案可以将胞磷胆碱钠杂质进行有效分离,从而可以准确控制胞磷胆碱钠的质量,本发明显示出对胞磷胆碱钠的多个杂质的检测优势,可为胞磷胆碱钠的纯度及其杂质含量的测定提供了一种准确的、高效的检测方法。

标签:
化学分析
江苏 - 苏州 来源:中冶有色网 2023-03-19
检测过氧化氢的电化学生物传感器电极及其制备方法

本发明是一种检测过氧化氢的酶生物传感器及其制备方法,该生物传感器采用经典的三电极体系,其中参比电极是饱和甘汞电极,对电极是铂电极,工作电极是玻碳电极。本发明主要是基于螺旋碳纳米纤维和金胶纳米粒子的复合材料作为血红蛋白的载体,促进血红蛋白与电极间的电子传递,从而有效提高了过氧化氢检测的灵敏度,取得了比较令人满意的结果。

标签:
化学分析
江苏 - 苏州 来源:中冶有色网 2023-03-19
光幕检测装置及电化学处理设备

一种光幕检测装置,包括光幕发射单元、光幕接收单元,光幕接收单元与光幕发射单元相对设置,接收来自光幕发射单元发出的光束;以及透明保护壳,包括分别密封设置的第一保护壳和第二保护壳,所述光幕发射单元和光幕接收单元外分别设于第一保护壳和所述第二保护壳内;所述第一保护壳与所述第二保护壳相对面之间形成有供产品经过的检测通道。相较于常规的光电开关,光幕所能检测到的范围更广;透明保护壳,能够降低光幕传感器结构受外界影响例如水滴迸溅等情况下的不准确概率。

标签:
化学分析
江苏 - 苏州 来源:中冶有色网 2023-03-19
基于共轭聚合电解质引发的化学发光汞离子检测的方法

本发明提出了一种检测样品中汞离子浓度的方法,其包括:(1)将待测样品与第一DNA分子和第二DNA分子混合,以便获得第一混合物,其中,所述第一DNA分子和第二DNA分子均呈单链形式,并且均能够与汞离子特异性结合;(2)将所述第一混合物与PMNT混合,以便获得包含PMNT/DNA复合物的第二混合物;(3)将所述第二混合物的一部分与鲁米诺-H2O2混合液混合,并检测所得到混合液的荧光强度;以及(4)基于步骤(3)中所得到的荧光强度,确定所述样品中汞离子的浓度。该方法提出了一种全新的、简单快速的、高选择性、高灵敏性的生物传感器,用以检测水中汞离子的浓度。

标签:
化学分析
江苏 - 苏州 来源:中冶有色网 2023-03-19
用于电化学发光检测设备的预处理装置

本申请公开了用于电化学发光检测设备的预处理装置,该预处理装置包括预处理装置本体,该预处理装置本体上设置有至少一个试剂暂存部,用于可移除地布置容纳有试剂的试剂容器。

标签:
化学分析
江苏 - 苏州 来源:中冶有色网 2023-03-19
用于免疫组织化学检测配合载玻片的盖板

本实用新型涉及一种用于免疫组织化学检测配合载玻片的盖板,其包括注液部、安装部和连接部。安装部完全贴合或部分贴合在载玻片的上形成一个反应腔。注液部包括储液部、储液冲击板和液体引流导向杆,储液部通过储液冲击板连接于安装部的第一侧,储液部上开设有储液腔,储液腔与反应腔通过第一液体流道连接,液体引流导向杆设置于第一液体流道内。连接部设置于安装部的第二侧,第二侧开设有流出导向槽,第一侧与第二侧相对。储液冲击板为弧形板结构,储液部通过储液冲击板连接于安装部的第一侧,储液部与安装部直接通过储液冲击板过渡,避免储液部与安装部之间出现死角而引起的边缘效应,从而有效地消除了边缘效应。

标签:
化学分析
江苏 - 苏州 来源:中冶有色网 2023-03-19
用于电化学发光检测设备的移液装置

本申请公开了用于电化学发光检测设备的移液装置,该移液装置包括:纵向移动座,该纵向移动座可纵向平移地安装于支架;和竖直移动座,该竖直移动座可竖直上下移动地设置于所述纵向移动座并设置有至少一个向下指向所述预处理装置的移液器。

标签:
化学分析
江苏 - 苏州 来源:中冶有色网 2023-03-19
化学实验检测用全钢实验台

本实用新型涉及实验台领域,且公开了一种化学实验检测用全钢实验台,解决了现有的实验台的擦拭方式为手动擦拭,十分繁琐不够便捷的问题,其包括实验台本体、台面、放置架和储物柜,放置架通过安装在台面较短的两侧的支架安装在台面的上方,放置架的底部与台面之间保持一端距离,放置架的底部设置有清扫装置,清扫装置包括安装在放置架底部的沿台面长度方向的直线导轨、与直线导轨配合使用的电动滑块以及安装在电动滑块底部的连接支架,连接支架的底部设置有刮板,刮板与台面的顶部表面贴合,本实用新型,具有自动擦拭,使用简单,灵活性好的特点。

标签:
化学分析
江苏 - 苏州 来源:中冶有色网 2023-03-19
用于电化学发光检测设备的试剂容器

本申请公开了用于电化学发光检测设备的试剂容器,该试剂容器包括具有上表面的试剂容器本体,该试剂容器本体沿纵向方向延伸且具有多个沿纵向方向排布的试剂容纳腔,每个试剂容纳腔均在所述上表面形成有开口部。

标签:
化学分析
江苏 - 苏州 来源:中冶有色网 2023-03-19
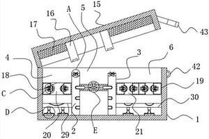
高通量电化学检测机构
高通量电化学检测机构 1150     
 0

本实用新型公开了一种高通量电化学检测机构,包括气缸、气缸杆孔、顶板、转换组件、导向柱孔、探针、导向柱、缓冲机构、底座、底座长槽、试管孔、试管座把手、试管座、试管;底座四个角上设有导向柱;导向柱中部设有缓冲机构;缓冲机构上部贴住转换组件下表面;转换组件四个角上设有导向柱孔,导向柱上部穿过导向柱孔;导向柱上部连接顶板;顶板中央设有气缸杆孔;气缸的气缸杆穿过气缸杆孔;气缸杆一端顶住转换组件;底座中央设有底座长槽;试管座放置在底座长槽内;试管座一端连接试管座把手;试管座上表面设有用于嵌入试管底部的试管孔;试管座侧面中部设有指示箭头;底座上位于底座长槽中央一侧设有指示箭头;探针连接转换组件底部。

标签:
化学分析
江苏 - 苏州 来源:中冶有色网 2023-03-19
用于化学品检测的采样介质存放装置

本实用新型公开了一种用于化学品检测的采样介质存放装置,包括存放底座,所述存放底座顶部固定连接有U形立架,所述存放底座前侧铰接有前遮光板,所述存放底座后侧固定连接有后遮光板,所述U形立架顶端开设有多个使用口,所述存放底座顶部设有顶起机构,所述顶起机构包括多个放置座,每个所述放置座顶部表面均开设有内凹槽,所述放置座一端固定连接有限位滑块;本实用新型通过设置顶起机构,转动顶起旋钮带动限位滑块移动,限位滑块移动带动放置座移动,将试剂瓶的瓶口顶出使用口以方便取出介质,整体能够对试剂瓶进行有效保护,防止在使用过程中试剂瓶倾倒,同时能够方便对多个试剂瓶进行收纳,提高使用的便捷性。

标签:
化学分析
江苏 - 苏州 来源:中冶有色网 2023-03-19
化学检测用药剂称重装置

本实用新型公开了一种化学检测用药剂称重装置,包括称体和用于盛放药剂的称量容器,称体内设置重量传感器,称体上连接有支撑台,支撑台上设置有容置槽,称量容器置于容置槽内,称量容器内可滑移地连接有托座,托座边缘抵接在称量容器的内壁上,位于托座下方的称量容器空间和托座之间形成封闭腔,托座中部连接有操作杆,称量容器的上部设置有倾倒嘴。本实用新型能够有效实现称量容器的限位,同时可方便地将称量容器内的药剂粉末完全倒出,大大提升了使用效果。

标签:
化学分析
江苏 - 苏州 来源:中冶有色网 2023-03-19
层析法和酶化学法联合检测妇科阴道炎试剂盒

本发明涉及一种层析法和酶化学法联合检测妇科阴道炎试剂盒,包括试剂盒主体,所述试剂盒主体内部从左到右依次固定连接有第一隔离板与第二隔离板,所述第一隔离板与试剂盒主体的左侧壁之间形成试剂空间,所述第二隔离板与试剂盒主体的右侧壁形成试管空间。对试剂瓶孔与试管孔内部的试剂瓶与试管进行固定,防止试剂瓶与试管在试剂盒主体内部来回滚动而造成撒漏,通过设有盖板,有利于使盖板将试纸进行压紧,防止试纸在试纸空间内散落;通过设有试剂座与试管座,有利于在第四弹簧作用力下,使试剂座与试管座通过试剂盒该将试剂瓶与试管进行夹紧,防止试剂盒不小心翻转时,造成试剂瓶与试管损坏。

标签:
化学分析
江苏 - 苏州 来源:中冶有色网 2023-03-19
单通道化学发光微流控芯片及其检测方法

本发明公开了一种单通道化学发光微流控芯片及其检测方法,包括芯片本体,芯片本体包括光路扫描窗口、全血过滤腔、定量‑反应腔以及废液腔,所述定量‑反应腔分体设置成处于下方的定量‑反应池以及能够将定量‑反应池的池口封接的反应池盖板;所述定量‑反应池通过垂直于流体流向所布置的两块隔板a,等分成三个隔腔,其中处于中部的隔腔中置放有标记抗体,而处于两侧的隔腔则置放包被抗体;所述反应池盖板在面向定量‑反应池的板面通过垂直于流体流向所布置的隔板b,等分成两块盖板分体,每块盖板分体中均埋填有包被抗体。因此,本发明简化试剂操作流程,同时互相之间又有物理隔断,有效避免非特异性结合。另外,通过设计该反应槽的特殊结构,使得流体经过反应槽时,能够产生类似于“波浪”的液流,促使包被抗体、标记抗体充分混合,有效地提高测试效率和灵敏度。

标签:
化学分析
江苏 - 苏州 来源:中冶有色网 2023-03-19
化学发光免疫检测CA242试剂盒

一种化学发光免疫检测CA242试剂盒,包括盒体以及与盒体相连的盒盖,所述盒盖上连接有放置在盒体内的方盘,盒体内放置有与盒体尺寸大小相同的第一海绵托,方盘内也放置有与方盘尺寸大小相同的第二海绵托,所述第一海绵托上设有七个第一凹槽,第一凹槽内分别放置有标记有抗CA242单克隆抗体的磁分离试剂试剂瓶、吖啶酯标记的CA242单克隆抗体试剂瓶、反应增强剂试剂瓶、稀释液试剂瓶、校准品及质控品试剂瓶、清洗液浓缩液试剂瓶以及上述吖啶酯作用的碱性溶液试剂瓶。本实用新型检测灵敏度和特异性高,并达到了较佳的性能参数,反应过程更加稳定可靠,实验数据灵敏有效,在提高产品性能的同时,并且大大降低了产品成本。

标签:
化学分析
江苏 - 苏州 来源:中冶有色网 2023-03-19
化学需氧量在线检测仪装配结构

本实用新型揭示了化学需氧量在线检测仪装配结构,包括立柜结构,所述立柜结构包括顶板、底板、围合顶板和底板的侧板,两侧的所述侧板之间间隔的设有中层板和电气板,所述中层板与所述底板之间竖直的设有隔仓板,所述中层板与所述电气板之间竖直的设有流程板,所述侧板前面连接有盖合中层板和电气板的第一前门,所述侧板前面还连接有盖合中层板和底板的第二前门,所述侧板后面连接有盖合顶板和中层板的后门。本实用新型实现检测仪装配到位,内部布局合理化。

标签:
化学分析
江苏 - 苏州 来源:中冶有色网 2023-03-19
CA15-3化学发光免疫检测试剂盒

一种CA15-3化学发光免疫检测试剂盒,包括盒体以及与盒体相连的盒盖,盒盖上设有温度显示装置,盒体内放置有与盒体尺寸大小相同的海绵托,所述海绵托上设有凹槽,凹槽内放置有CA15-3磁分离试剂瓶、吖啶酯标记物试剂瓶、亲和素试剂瓶、生物素试剂瓶、CA15-3标准品试剂瓶、质控品试剂瓶以及底物试剂瓶、pH检测仪、减震装置。本实用新型增加了pH检测仪,减震装置,稳定可靠,实验数据灵敏,提高产品稳定性能,适应剧烈环境,减少误差,得到了较佳的性能参数。

标签:
化学分析
江苏 - 苏州 来源:中冶有色网 2023-03-19
化学法微量水分仪校准检测方法

一种化学法微量水分仪校准检测方法,包括以下步骤:(1)采用标准氢化钙校准仪器的校正因子;(2)校准水分仪测量水分的准确性,排除仪器本身校正因子不准的影响,使得测量结果更准确、可靠。本发明操作简便,应答迅速,测试数据准确性高。

标签:
化学分析
江苏 - 苏州 来源:中冶有色网 2023-03-19
用于电化学发光的检测设备的电场发生装置

本申请公开了用于电化学发光的检测设备的电场发生装置,其特征在于,该电场发生装置包括:基础板,该基础板固定或可移动地设置于机架;安装板,该安装板可拆卸的设置于所述基础板上,所述安装板设置有电极接口和与该电极接口电连接的线路板;和电极组件,该电极组件可拔插地设置于所述电极接口并位于所述检测设备的检测池的下方。

标签:
化学分析
江苏 - 苏州 来源:中冶有色网 2023-03-19
橡胶制品化学稳定性检测实验台

本实用新型公开了一种橡胶制品化学稳定性检测实验台,包括安装舱,所述安装舱底部的两侧安装有电动升降杆,所述安装舱一侧的底部设置有安装管,所述安装管的内部设置有第二抽风机,所述第二抽风机的输入端设置有抽风管,所述安装舱的顶部设置有台面,所述台面顶部的一侧设置有第二限位滑槽,所述第二限位滑槽内部的一侧对称套设有与其相互配合的两组滑块。本实用新型装置通过第一抽风机、窗叶、安装板、第一限位滑槽、加热箱、电加热丝、齿轮和齿条的相互配合,可以对材料进行加热,方便对加热箱内部快速进行散热,提高检测的效率,缩短操作时间,通过电动升降杆可以对安装舱进行升降,方便使用者使用。

标签:
化学分析
江苏 - 苏州 来源:中冶有色网 2023-03-19
检测试剂内部信息的高纯度化学品及其使用方法

本发明公开了一种检测试剂内部信息的高纯度化学品及其使用方法,包括外壳,所述外壳内设有试剂腔,所述试剂腔内设有安装有吸水泵且延伸至所述外壳外的吸水管,所述试剂腔上侧固设有试纸腔;本发明在试纸结果显示后推动试纸移动至两个滚轮内,此时的滚轮之间啮合有上下两个透明胶带的胶带,启动第四电机带动第三转轴转动,第三转轴带动上下两个滚轮反向转动,所以能够带动试纸向后运动,同时使试纸上下表面都贴有透明胶带,隔绝试纸与空气的接触,延长试纸结果的保存时间,方便实验人员的观察,本发明可以通过显示屏将多次检测工作后的时间与检测结果以折线统计图的形式显示,方便实验人员的观察和对比。

标签:
化学分析
江苏 - 苏州 来源:中冶有色网 2023-03-19
用于检测丙氨酸氨基转移酶的多层膜干化学试剂片

本发明公开了一种用于测定丙氨酸氨基转移酶的多层膜干化学试剂片,包括一下支撑层,所述下支撑层的一端开设有测试孔,其还包一多层膜,所述多层膜包括依次由下往上迭合的透光层、试剂层、辅助层和扩散层,所述多层膜的透光层的一面粘合固定于所述下支撑层的测试孔处。本发明的用于检查丙氨酸氨基转移酶的多层膜干片能够快速准确的检测血清、血浆中的丙氨酸氨基转移酶,同时还能提高干片的保存时间。

标签:
化学分析
江苏 - 苏州 来源:中冶有色网 2023-03-19
化学品检测用蒸发装置
化学品检测用蒸发装置 1037     
 0

本实用新型公开了一种化学品检测用蒸发装置,包括基座、蒸发腔、辅助组件以及回收组件,所述蒸发腔锁合安装在基座上表面一侧,所述辅助组件对应装配在蒸发腔内,所述回收组件安装在基座上表面另一侧。本实用新型通过搅拌器进行跟随转动,能够对蒸发腔内待检测液体进行持续搅拌,避免待检测液体受热不均匀导致蒸发精度不佳的状况,蒸发后的气体经过排气管道传递至采集箱内,利用采集管可对待检测液体中析出的蒸发气体进行采样检测,并在回收组件的辅助下,经过冷凝室对蒸发气体的持续液化处理并输送至回收腔内进行收集,使得该设备能够有效的对待检测液体的燃烧残渣、蒸发气体以及回收液体进行成分检测,进一步提升了后续检测精度。

标签:
化学分析
江苏 - 苏州 来源:中冶有色网 2023-03-19
化学需氧量在线检测仪连接结构

本实用新型揭示了化学需氧量在线检测仪连接结构,包括立柜结构和设于立柜结构内的检测装置,所述立柜结构包括底板、设于底板上的隔仓板、设于隔仓板上的流程板,所述流程板内开设有第一通孔,所述检测装置包括设于流程板前面的消解组件、设于隔仓板前面的试剂组件、设于流程板背面的控制线路组件、设于隔仓板背面的预处理组件。本实用新型实现检测仪装配到位,内部布局合理化。

标签:
化学分析
江苏 - 苏州 来源:中冶有色网 2023-03-19
化学去胶液加工成品浓度检测装置

本实用新型涉及去胶液成品检测的技术领域,特别是涉及一种化学去胶液加工成品浓度检测装置,其通过设置搅拌机构,便于对去胶液成品进行搅拌,避免去胶液沉淀或者分布不均的情况影响浓度检测数据的准确性,提高使用实用性;包括存液箱、进液管、进液阀门、电机、减速机、搅拌轴、轴承座、搅拌叶、检测仪箱、第一检测仪、第一探针和支撑腿,存液箱左端与存液箱右端上侧连通,进液阀门左端与进液管右端连通,电机下端与存液箱上端连接,减速机输入端与电机输出端连接,搅拌轴上端输入端与减速机下端输出端连接,存液箱上端中部设置有轴承座,搅拌轴可转动设置在轴承座中,搅拌轴圆周外侧环绕设置有搅拌叶,并且搅拌叶设置在存液箱内部。

标签:
化学分析
江苏 - 苏州 来源:中冶有色网 2023-03-19
在线检测反应釜中化学产物的装置

本实用新型涉及一种在线检测反应釜中化学产物的装置,包括反应釜、拉曼光谱检测系统以及控制器,反应釜包括釜体,釜体连接有加热单元,加热单元包括加热组件和多个温度传感器,温度传感器连接控制器;拉曼光谱检测系统包括激光器、光纤传感器以及拉曼光谱仪,拉曼光谱仪连接所述控制器,光纤传感器包括一光散射探头,光散射探头包括探头和正对探头的探测器,探头通过输入光纤连接所述激光器,探测器接收来自探头的激光并发出散射光,探头收集所述散射光并通过输出光纤传递给拉曼光谱仪,控制器接收所述拉曼光谱仪的输出信号,所述探测器包括平面的基底以及位于所述基底表面的纳米阵列,纳米阵列由多个呈锥形的碳纳米管组成。

标签:
化学分析
江苏 - 苏州 来源:中冶有色网 2023-03-19
干化学法检测中原材料的浸润烘干一体装置

本发明公开了一种干化学法检测中原材料的浸润烘干一体装置,其包括机台、放卷机构、浸润机构、烘干机构和收卷机构,浸润机构、烘干机构和收卷机构均设置在机台上,机台的一端设置有控制柜,放卷机构设置在控制柜的侧壁上,收卷机构位于机台的另一端,浸润机构位于控制柜的一端,烘干机构位于浸润机构远离制柜的一端,浸润机构包括加热搅拌器、蠕动泵和溶液槽,加热搅拌器、蠕动泵和控制柜位于同一直线上,蠕动泵的一端通过第一管道连通加热搅拌器,蠕动泵的另一端通过第二管道连通溶液槽,溶液槽上方设置有浸润压轮部件。本发明可以解决干化学法检测中原材料浸润烘干效率低,质量不易控制的问题。

标签:
化学分析
江苏 - 苏州 来源:中冶有色网 2023-03-19
电化学发光的检测设备
电化学发光的检测设备 1160     
 0

本申请公开了用于电化学发光的检测设备,该检测设备包括:暂存装置,用于可移除地布置容纳有待测液体样本的样本容器;预处理装置,用于布置试剂容器;移液装置,用于利用所述待测液体样本获得结合有磁性颗粒的被检测目标物复合体;和检测装置,该检测装置包括:检测池,用于接收来自于所述移液装置的所述被检测目标物复合体样本;光学检测器,该光学检测器位于所述检测池的上方;电极组件,用于为所述检测池内的空间提供直流电场;和磁性组件,该磁性组件的磁场可选择地设计为至少在部分程度上不干涉所述电极组件的直流电场。

标签:
化学分析
江苏 - 苏州 来源:中冶有色网 2023-03-19
电化学检测装置及其电极芯片

本申请涉及电化学检测领域,公开了电化学检测装置及其电极芯片,该电极非由丝网印刷制造而成,该电极芯片包括:基底,该基底由绝缘材料制成;工作电极、对电极和参比电极,该工作电极、对电极和参比电极彼此相邻且间隔地固定设置于所述基底的表面上;其中,所述工作电极由金或铂制成,厚度为0.01mm至1mm;或所述对电极由金或铂制成,厚度为0.01mm至1mm;或所述参比电极由银或银和氯化银的混合物制成,厚度为0.01mm至1mm,所述参比电极的外表面上覆有氯化银。根据本申请提供了一种适用于重复使用的电极芯片方案。

标签:
化学分析
江苏 - 苏州 来源:中冶有色网 2023-03-19
电化学法检测内毒素的微流控芯片

本发明公开了一种电化学法检测内毒素的微流控芯片,包括本体,所述本体的左端设置有进样口,所述进样口与混匀弯道连接,所述进样口与所述混匀弯道之间设置有内毒素检测试剂或内毒素检测试剂囊,所述混匀弯道还与检测通道连接,所述混匀弯道与所述检测通道之间设置有电解液囊,所述检测通道的另一端连接有废液室,所述检测通道上设置有加热薄膜电阻。采用本发明技术方案,减少了外源性内毒素的污染,实现了内毒素含量的快速定量检测;还具有检测过程消耗样品少、操作步骤少、检测仪器体积小进而方便携带等优点。

标签:
化学分析
江苏 - 苏州 来源:中冶有色网 2023-03-19
上一页 47 48 49 50 51 ... 58 下一页
共58页    到第

中冶有色为您提供最新的江苏苏州有色金属化学分析技术理论与应用信息,涵盖发明专利、权利要求、说明书、技术领域、背景技术、实用新型内容及具体实施方式等有色技术内容。打造最具专业性的有色金属技术理论与应用平台!

全国热门有色金属设备推荐
展开更多 +
全国热门有色金属技术推荐
展开更多 +

 

江西省隆恩特环保设备有限公司
宣传

报名参会
更多+

报告下载

有色专家
更多+

西北稀有金属材料研究院宁夏有限公司
党委书记 / 董事长
华东理工大学
主任/教授
武汉工程大学
教授
长沙矿冶研究院有限责任公司
中国工程院院士
北京科技大学
教授
赤泥综合利用研究报告2025
推广

热门技术
更多+

推荐企业
更多+

福建省金龙稀土股份有限公司
宣传

发布

在线客服

公众号

电话

顶部
咨询电话:
010-88793500-807