青岛垚鑫智能科技有限公司
宣传

位置:中冶有色 >

有色技术频道 >

> 化学分析技术

分类:
全部
矿山技术
冶金技术
材料制备及加工技术
环境保护技术
分析检测技术
 
全部
物理检测技术
化学分析技术
力学检测技术
无损检测技术
失效分析技术
环境检测技术
地区:
全部
北京
天津
上海
重庆
河北
山西
辽宁
吉林
黑龙江
江苏
浙江
安徽
福建
江西
山东
河南
湖北
湖南
广东
海南
四川
贵州
云南
陕西
甘肃
青海
内蒙
广西
西藏
宁夏
新疆
其他
其他
展开
 
全部
南京
无锡
徐州
常州
苏州
南通
连云港
淮安
盐城
扬州
镇江
泰州
宿迁

江苏苏州有色金属化学分析技术理论与应用

免费发布技术信息>>
凝血检测芯片和电化学传感器

本发明公开了一种电化学检测芯片,包括使待测样品流经凝血检测芯片的检测区域的第一检测通道和第二检测通道;检测区域分为顺次连接的第一工作区域、过渡区域和第二工作区域;第一工作区域对应第一检测通道形成预反应区,第二工作区域对应第一检测通道和第二检测通道分别形成第一反应区和第二反应区;检测区域上设置有驱动待测样品由第一工作区域流向第二工作区域的驱动件。电化学检测芯片能够实现对PT和APTT的集成检测,且结果准确、灵敏度高,重复性好。本发明公开了一种电化学传感器,包括上述的电化学检测芯片,能够实现对PT和APTT的快速、灵敏的集成检测。

标签:
化学分析
江苏 - 苏州 来源:中冶有色网 2023-03-19
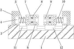
化学纤维韧度检测设备
化学纤维韧度检测设备 1189     
 0

本实用新型涉及化学纤维技术领域,且公开了一种化学纤维韧度检测设备,包括底座,所述底座的顶部固定连接有固定块,所述固定块的一侧开设有固定槽,所述固定槽的内壁固定连接有第一液压缸,所述第一液压缸的输出端活动连接有第一液压杆。该化学纤维韧度检测设备,达到了该检测设备固定效果好的目的,从而解决了一般化学纤维韧度检测设备固定效果不好的问题,使得该检测设备在使用过程中能够有效的将化学纤维进行夹持固定,让化学纤维在检测的过程中能够牢牢的被固定住,不会造成因固定不牢而中断检测的情况,从而提高了该检测设备的使用品质,也提高了人们的工作效率,让人们使用起来更加的省心,满足了人们的使用需求,给人们的工作带来便利。

标签:
化学分析
江苏 - 苏州 来源:中冶有色网 2023-03-19
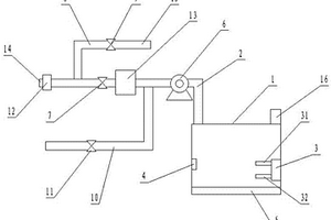
电化学法一氧化碳浓度检测装置

本发明公开了一种电化学法一氧化碳浓度检测装置,包括恒温测量气室、抽气泵、取样电磁阀、标定电磁阀、加热制冷模块、电化学信号采集模块和控制系统,恒温测量气室上设有进气通道,进气通道上设有抽气泵和取样电磁阀,恒温测量气室内部设有加热制冷模块、温湿度传感器和电化学信号采集模块,恒温测量气室上还设有标定通道,标定通道上设有标定电磁阀,取样电磁阀、标定电磁阀、电化学信号采集模块、温湿度传感器、加热制冷模块均与控制系统连接。本发明具有检测精度高,响应速度快,维护成本低,受环境影响较小的优点,可以广泛应用于热电厂磨煤机对一氧化碳浓度的检测中。

标签:
化学分析
江苏 - 苏州 来源:中冶有色网 2023-03-19
HBeAb化学发光免疫检测试剂盒及其制备方法和应用

本发明涉及一种HBeAb化学发光免疫检测试剂盒及其制备方法和应用,所述试剂盒包括:生物素标记的重组HBeAg工作液、化学发光标记物标记的重组HBeAg工作液、链霉亲和素标记的磁颗粒试剂、HBeAb校准品溶液、化学发光底物液及清洗液,所述重组HBeAg为真核表达系统表达的重组HBeAg。本专利试剂盒对HBeAb的检测创新性地采用双抗原夹心法模式,由HBeAg标记生物素,先将待测样本、生物素标记的重组HBeAg、化学发光标记物标记的重组HBeAg反应形成抗原‑抗体‑抗原夹心复合体,再加入链霉亲和素包被的磁颗粒试剂,对HBeAb检测的准确度高,且精密性、特异性好,临床适用性强。

标签:
化学分析
江苏 - 苏州 来源:中冶有色网 2023-03-19
产生扰动信号用于检测燃料电池电化学阻抗的设备

本发明涉及一种产生扰动信号用于检测燃料电池电化学阻抗的设备,包括燃料电池电化学电源、DC/DC变换器以及负载,所述燃料电池电化学电源的输出端与DC/DC变换器的输入端相连,所述DC/DC变换器的输出端与负载的输入端相连,所述燃料电池电化学电源的输出端与扰动信号检测装置的输入端相连,所述扰动信号检测装置的输出端与DC/DC变换器的输出端相连,所述DC/DC变换器的输出端与储能设备相连;所述扰动信号检测装置包括若干电感和电力电子开关器件,所述电感与电力电子开关器件相连,它们连接构成半桥式电路或桥式电路,所述电力电子开关器件由PWM信号控制。本发明能通过降低功率损耗,提高集成度和使用低额定值器件,达到减低成本的目的。

标签:
化学分析
江苏 - 苏州 来源:中冶有色网 2023-03-19
基于强化学习和脉冲网络的电力网络入侵检测方法

本发明公开了一种基于强化学习和脉冲网络的电力网络入侵检测方法,包括:以强化学习的方式对网络入侵检测问题建立深度学习模型,所述深度学习模型利用神经网络进行判断,神经网络包括线性网络和脉冲神经网络;依据入侵检测的数据集构建强化学习的多元组,使用智能体与环境进行交互并将数据以多元组为单位存入经验回放单元,以实现所述经验回放单元的轨迹采样;所述神经网络通过智能体提取输入特征,利用采样的轨迹进行线性网络的训练与脉冲神经网络参数的更新,进而得到优化的判断结果。本发明提供的强化学习入侵检测方法利用脉冲神经网络,使得模型判别具有更强的生物学基础和鲁棒性,并提高了入侵检测的准确率。

标签:
化学分析
江苏 - 苏州 来源:中冶有色网 2023-03-19
基于电化学免疫法检测抗原的装置

本实用新型公开了基于电化学免疫法检测抗原的装置,所述电化学免疫检测装置包括微流控样品采集单元和检测单元,微流控样品采集单元与检测控制单元通过微流控通道连接;微流控样品采集单元分流至平行的一个或多个微流控检测通道,每一个微流控检测通道底部支持物上固定至少一个捕获待测抗原的抗体探针作为工作电极,在设置与工作电极相邻的检测电化学传感信号的至少一个工作电极和一个对电极,构成有序的微流控阵列芯片;抗体探针通过物理吸附或共价结合,具有高检测效率和灵敏度,因此制得的检测装置具有灵敏度高、稳定性好、重复性好、易于控制等优点,在临床、法医学、环境和医药等领域具有巨大的应用潜力。

标签:
化学分析
江苏 - 苏州 来源:中冶有色网 2023-03-19
酸碱化学品泄漏检测装置

本实用新型公开了一种酸碱化学品泄漏检测装置,包括底座,底座的顶部固定安装有箱体,箱体的内腔固定安装有内层箱,内层箱内腔顶部的中心处固定安装有实时检测器,内层箱内腔顶部的两侧均固定安装有加压器。本实用新型通过实时检测器可以实时对内层箱内部放置的化学品进行检测,在检测出化学品发生泄漏时,可以通过输水管道对水箱内的水进行抽取,通过加压器可以将水加压通过喷水板喷出,直接对密封盖的顶部持续喷水,可以及时的对泄漏的化学品实施补救措施,同时解决了现有的化学品泄漏检测装置在使用过程中,针对某种不与水反应的化学品泄漏的情况,仅具有报警提示功能,无法尽快对泄漏化学品进行补救处理的问题。

标签:
化学分析
江苏 - 苏州 来源:中冶有色网 2023-03-19
用于检测病毒的电化学传感器及其制备方法

本发明提供一种检测病毒的电化学传感器、制备电化学传感器的方法、一种检测病毒的装置及运用上述电化学传感器检测病毒的方法。一种用于检测病毒的电化学传感器,包括:基片,位于所述基片部分表面的工作电极层,位于所述工作电极层表面的电子介体层,位于所述电子介体层背向工作电极层的表面的敏感膜;参比电极层,所述参比电极层位于所述工作电极层的侧部;位于所述参比电极层和所述工作电极层上方的样品承载容器,所述样品承载容器中适于放置待测样品。上述电化学传感器能够快速、准确和灵敏地检测SARS‑CoV‑2。

标签:
化学分析
江苏 - 苏州 来源:中冶有色网 2023-03-19
检测蛋白质乙酰转移酶活性的电化学方法

本发明公开了一种检测蛋白质乙酰转移酶活性的电化学方法,P1修饰的金电极和p300蛋白的检测体系中加入P2模板化银纳米粒子和葫芦[8]脲,通过电化学测量检测p300蛋白的活性,从而得到蛋白质转移化酶活性;所述P1的氨基酸序列为:11‑巯基十一烷酸(MUA)‑GGGFRGKGGKGLGKGGAKA;所述P2的氨基酸序列为:FGGGASLWWSEKL。以p300为模型,以信号模板P2合成银纳米粒子,通过腔体与传感模板P1进行组装,既保证了检测的灵敏性,又具有高度的设计灵活性,同时增强了HATs的选择性。发展能够检测HATs活性的简单、实用的电化学方法,有望为重大疾病的早期诊断提供帮助。

标签:
化学分析
江苏 - 苏州 来源:中冶有色网 2023-03-19
碳氢化合物光纤化学检测探头及其制备方法

本发明提供一种碳氢化合物光纤化学检测探头及其制备方法,所述光纤化学检测探头包括光源发射器、亲有机涂层包裹的光纤和光电二极管检测器,所述亲有机涂层为硅沸石涂层,所述硅沸石涂层优先吸附动力学直径小于沸石孔径的碳氢化合物有机分子,所述硅沸石涂层中的硅沸石的折射率在吸附所述碳氢化合物有机分子后有所增加,所述硅沸石涂层的折射率随着被检测的所述碳氢化合物有机分子的浓度而变化。本申请的碳氢化合物光纤化学检测探头的光纤为亲有机涂层包裹的光纤,将光纤内核外包裹根据所检测的有机污染的浓度不同而具有不同折射角的硅沸石涂层材料。

标签:
化学分析
江苏 - 苏州 来源:中冶有色网 2023-03-19
检测双酚A的电化学方法及装置

本发明提供了一种检测双酚A的电化学方法及装置,方法包括以下步骤:制备铂钯双金属纳米颗粒,并储存备用;将所述铂钯双金属纳米颗粒稀释至0.1~2.0mg/mL,得到铂钯双金属纳米溶液;将抛光处理后的玻碳电极清洗吹干,并滴加少量所述铂钯双金属纳米溶液,晾干后得到铂钯修饰电极;将所述铂钯修饰电极与对电极和参比电极共同组成三电极系统,并浸入pH4.0~9.0的电解液中,得到检测双酚A的电化学检测装置;将一定量的待检测样品做处理,得到样品溶液,并将适量的所述样品溶液加入所述电化学检测装置中,进行检测。本发明的检测双酚A的电化学方法操作简便、成本低廉且检测准确。

标签:
化学分析
江苏 - 苏州 来源:中冶有色网 2023-03-19
流动注射双恒电位激发电化学发光检测装置

本实用新型公开了一种流动注射双恒电位激发电化学发光检测装置,其中电化学发光池为双恒电位激发电化学发光池,其包括作为第一工作电极的ITO玻璃板、设于ITO玻璃板上方的有机玻璃柱以及设于ITO玻璃板和有机玻璃柱之间的检测池垫片,检测池垫片设有检测池通槽,检测池通槽的下部端口抵靠于ITO玻璃板,检测池通槽的上部端口抵靠于有机玻璃柱,有机玻璃柱设置有与检测池通槽连通的进液口和出液口并且嵌设有第二工作电极、参比电极以及辅助电极。本实用新型结合了电化学发光的高灵敏度和流动注射的实用性,操作方便,可以对工作电极表面进行化学修饰和组装,并以此为基础,可以定量测定对电化学发光有增敏或猝灭作用的物质。

标签:
化学分析
江苏 - 苏州 来源:中冶有色网 2023-03-19
便携式多功能电化学式生物检测仪及其系统

本发明涉及生物检测技术领域,尤其是一种便携式多功能电化学式生物检测仪,包括电化学式生物检测仪、伸缩拉杆、温度传感器、控制处理器、电池,电化学式生物检测仪一侧设有拉动箱,温度传感器固定连接在电化学式生物检测仪一侧上,控制处理器、电池均固定连接在拉动箱内一侧上,伸缩拉杆固定连接在拉动箱外一侧上,拉动箱内侧固定设有安装板。本发明,通过设置散热盒、进气风扇、分散管、温度传感器、控制处理器、防尘滤网、拆卸框架、快速拆卸装置、拉动箱、升降框架、减震板、转动轮、防尘盖,使其具有便于携带、智能散热、减震缓冲、保护、防尘防水、便于使用等功能。

标签:
化学分析
江苏 - 苏州 来源:中冶有色网 2023-03-19
多维电化学检测装置
多维电化学检测装置 787     
 0

本实用新型公开了一种多维电化学检测装置,包括:反射组件,内限定有腔室,反射组件的内壁面的至少一部分设有反射面,反射组件上设有沿其壁厚方向贯通的出光孔;电化学反应组件,设于腔室内且能够发出光信号和/或电流信号,光信号的至少一部分经由反射面反射后穿过出光孔;电化学发光检测组件,设于反射组件的一侧且能够接收经由出光孔穿过的光信号,并对光信号进行检测;电化学电流信号检测组件,能够与电化学反应组件相连以用于检测电化学反应组件产生的电流信号;控制器。根据本实用新型实施例的多维电化学检测装置具有简单、模块化、多功能、多参数同时测定的优点,提高了检测效率和准确度。

标签:
化学分析
江苏 - 苏州 来源:中冶有色网 2023-03-19
检测化学过滤器的去除效率的方法

本发明公开了一种检测化学过滤器的去除效率的方法,包括如下步骤:(1)选择待测化学过滤器,针对污染物,选择适用的腐蚀试片和检测机构,测量累积污染物浓度与腐蚀试片的电压变化关系的标准曲线;(2)测量累积污染物浓度与待测化学过滤器的去除效率关系的标准曲线;(3)计算出检测机构中腐蚀试片的电压变化和待测化学过滤器的去除效率的关系曲线;(4)根据不同洁净场合的要求确定待测化学过滤器的去除效率值之后,从步骤(3)的关系曲线得到电压变化量,将此电压变化量作为所述待测化学过滤器使用寿命的报警值。本发明开发了一种真正意义上的针对化学过滤器去除效率的检测方法,可以任意选择不同的去除效率,满足任意场合的检测要求。

标签:
化学分析
江苏 - 苏州 来源:中冶有色网 2023-03-19
自动更换吸嘴化学成分检测设备

本实用新型为一种自动更换吸嘴化学成分检测设备,涉及检测设备技术领域,本实用新型包括承载结构、盛放结构、碾碎结构、检测结构以及控制结构,承载结构包括承载板以及承载柱,承载板为板状结构,四个承载柱上表面均与承载板下表面焊接,盛放结构包括试管架,试管架设置于承载板上表面,碾碎结构包括盛放碗、传送带、搅拌器、电机以及伸缩杆,传送带设置于承载板上表面,盛放碗设置于传送带上表面,搅拌器的位置与盛放碗相适应,搅拌器与电机相适应。本实用新型为一种自动更换吸嘴化学成分检测设备通过设置化学成分检测器和加热器,通过加热检测物不仅可以检测出其耐高温能力,也能在高温条件下,检测其化学成分的变化,避免生成有害物质。

标签:
化学分析
江苏 - 苏州 来源:中冶有色网 2023-03-19
免清洗磁微粒化学发光免疫检测方法

本发明公开了一种免清洗磁微粒化学发光免疫检测方法,包括以下步骤:1)预先配置化学发光底物、分离介质以及反应物;2)向检测管中加入预先配置的化学发光底物;3)沿侧壁向检测管中继续加入分离介质;4)向检测管中继续加入反应物;5)反应结束后,在检测管外侧施加由上至下的磁力,将反应物中的磁微粒及与磁微粒上结合的物质一起拖拽至化学发光底物区域中;6)撤去磁力,采用化学发光检测仪器检测化学发光底物区域的反应信号。本发明提供的免清洗磁微粒化学发光免疫检测方法,减少了免疫反应中的洗涤步骤,缩短了检测时间,可减少因清洗分离步骤引入的误差,能提高检测的准确性,能保证测试的重复性和特异性。

标签:
化学分析
江苏 - 苏州 来源:中冶有色网 2023-03-19
纳米铂修饰电极检测双酚A的电化学方法及装置

本发明提供了一种纳米铂修饰电极检测双酚A的电化学方法,包括以下步骤:步骤一,制备以铂修饰电极作为工作电极的化学检测装置:步骤二,基于一系列规定体积的不同浓度的双酚A溶液在电化学检测装置中电解获得的一系列伏安曲线,绘制标准曲线图;步骤三,使用乙醇溶解待测样品中的双酚A以获得样品溶液;步骤四,取规定体积的样品溶液放入电化学检测装置中电解以获得样品溶液的伏安曲线;步骤五,读取样品溶液的伏安曲线的峰值电流,通过对照标准曲线图获得样品溶液浓度,并计算样品中双酚A的含量。本发明的纳米铂修饰电极检测双酚A的电化学方法操作简便、成本低廉且检测准确。本发明同时提供一种上述方法使用的化学检测装置。

标签:
化学分析
江苏 - 苏州 来源:中冶有色网 2023-03-19
糖类抗原CA19-9的纳米磁微粒化学发光测定试剂盒及其制备方法和检测方法

本发明涉及一种糖类抗原CA19-9的纳米磁微粒化学发光测定试剂盒及其制备方法和检测方法,试剂盒包括含有荧光素标记的糖类相关抗原CA19-9抗体的溶液、包被有荧光素抗体的磁微粒的悬浮液,以及含有碱性磷酸酶标记的糖类相关抗原CA19-9抗体的溶液,该碱性磷酸酶标记的糖类相关抗原CA19-9抗体由碱性磷酸酶与糖类相关抗原CA19-9抗体通过交联剂SMCC和2-IT连接构成。本发明使得能够以更低成本和更高准确度和精密度对糖类相关抗原CA19-9进行定量检测。

标签:
化学分析
江苏 - 苏州 来源:中冶有色网 2023-03-19
游离甲状腺素的纳米磁微粒化学发光测定试剂盒及其制备方法和检测方法

本发明涉及一种游离甲状腺素的纳米磁微粒化学发光测定试剂盒及其制备方法和检测方法,试剂盒包括含有荧光素标记的游离甲状腺抗体的溶液、包被有抗荧光素抗体的磁微粒的悬浮液,以及含有碱性磷酸酶标记的游离甲状腺素抗原的溶液,该碱性磷酸酶标记的游离甲状腺素抗原由碱性磷酸酶与游离甲状腺素抗原通过交联剂辛二酸二琥珀酰亚胺酯连接构成。本发明使得能够以更低成本和更高准确度和精密度对游离甲状腺素进行定量检测。

标签:
化学分析
江苏 - 苏州 来源:中冶有色网 2023-03-19
促黄体生成激素的纳米磁微粒化学发光测定试剂盒及其制备方法和检测方法

本发明涉及一种促黄体生成激素的纳米磁微粒化学发光测定试剂盒及其制备方法和检测方法,试剂盒包括含有荧光素标记的促黄体生成激素抗体的溶液、包被有抗荧光素抗体的磁微粒的悬浮液,以及含有碱性磷酸酶标记的促黄体生成激素抗体的溶液,该碱性磷酸酶标记的促黄体生成激素抗体由碱性磷酸酶与促黄体生成激素抗体通过SMCC和2IT连接构成。本发明使得能够以更低成本和更高准确度和精密度对促黄体生成激素进行定量检测。

标签:
化学分析
江苏 - 苏州 来源:中冶有色网 2023-03-19
肿瘤相关抗原CA125的纳米磁微粒化学发光测定试剂盒及其制备方法和检测方法

本发明涉及一种肿瘤相关抗原CA125的纳米磁微粒化学发光测定试剂盒及其制备方法和检测方法,试剂盒包括含有荧光素标记的肿瘤相关抗原CA125抗体的溶液、包被有荧光素抗体的磁微粒的悬浮液,以及含有碱性磷酸酶标记的肿瘤相关抗原CA125抗体的溶液。本发明使得能够以更低成本和更高准确度和精密度对肿瘤相关抗原CA125进行定量检测。

标签:
化学分析
江苏 - 苏州 来源:中冶有色网 2023-03-19
乙型肝炎病毒表面抗体的纳米磁微粒化学发光测定试剂盒及其制备方法和检测方法

本发明涉及一种乙型肝炎病毒表面抗体的纳米磁微粒化学发光测定试剂盒及其制备方法和检测方法,该试剂盒包括含有荧光素标记的乙型肝炎病毒表面抗原的溶液、包被有荧光素抗体的磁微粒的悬浮液,以及含有碱性磷酸酶标记的乙型肝炎病毒表面抗原的溶液。本发明使得能够以更低成本和更高准确度和精密度对乙型肝炎病毒表面抗体进行定量检测。

标签:
化学分析
江苏 - 苏州 来源:中冶有色网 2023-03-19
三碘甲状腺原氨酸的纳米磁微粒化学发光测定试剂盒及其制备方法和检测方法

本发明涉及一种三碘甲状腺原氨酸的纳米磁微粒化学发光测定试剂盒及其制备方法和检测方法,该试剂盒包括:第一试剂:含荧光素标记的三碘甲状腺原氨酸抗体的溶液;第二试剂:含碱性磷酸酶标记的三碘甲状腺原氨酸抗原的溶液;磁分离剂:含包被着荧光素抗体的磁微粒的悬浮液。本发明使得能够以更低成本和更高准确度和精密度对三碘甲状腺原氨酸进行定量检测。

标签:
化学分析
江苏 - 苏州 来源:中冶有色网 2023-03-19
甲状腺素的纳米磁微粒化学发光测定试剂盒及其制备方法和检测方法

本发明涉及一种甲状腺素的纳米磁微粒化学发光测定试剂盒及其制备方法和检测方法,该试剂盒包括含有荧光素标记的甲状腺素抗体的溶液、包被有荧光素抗体的磁微粒的悬浮液,以及含有碱性磷酸酶标记的甲状腺素抗原的溶液。本发明使得能够以更低成本和更高准确度和精密度对甲状腺素进行定量检测。

标签:
化学分析
江苏 - 苏州 来源:中冶有色网 2023-03-19
促甲状腺激素的纳米磁微粒化学发光测定试剂盒及其制备方法和检测方法

本发明涉及一种促甲状腺激素的纳米磁微粒化学发光测定试剂盒及其制备方法和检测方法,该试剂盒包括含有荧光素标记的促甲状腺激素抗体的溶液、包被有荧光素抗体的磁微粒的悬浮液,以及含有碱性磷酸酶标记的促甲状腺激素抗体的溶液。本发明使得能够以更低成本和更高准确度和精密度对促甲状腺激素进行定量检测。

标签:
化学分析
江苏 - 苏州 来源:中冶有色网 2023-03-19
促卵泡生成激素的纳米磁微粒化学发光测定试剂盒及其制备方法和检测方法

本发明涉及一种促卵泡生成激素的纳米磁微粒化学发光测定试剂盒及其制备方法和检测方法,试剂盒包括:第一试剂:含异硫氰酸荧光素标记的促卵泡生成激素抗体的溶液;第二试剂:含碱性磷酸酶标记的促卵泡生成激素抗体的溶液;磁分离试剂:含包被着异硫氰酸荧光素抗体的磁微粒的悬浮液。本发明还公开了该试剂盒的制备方法和采用该试剂进行促卵泡生成激素的检测方法。相对于现有技术,本发明准确性更好、精密度更高、灵敏度更高,而且待测样本无需预稀释,操作简单省时,检测范围宽,并且成本低。

标签:
化学分析
江苏 - 苏州 来源:中冶有色网 2023-03-19
癌抗原CA15-3的纳米磁微粒化学发光测定试剂盒及其制备方法和检测方法

本发明涉及一种癌抗原CA15-3的纳米磁微粒化学发光测定试剂盒及其制备方法和检测方法,试剂盒包括含有荧光素标记的癌抗原CA15-3抗体的溶液、包被有荧光素抗体的磁微粒的悬浮液,以及含有碱性磷酸酶标记的癌抗原CA15-3抗体的溶液,该碱性磷酸酶标记的癌抗原CA15-3抗体由碱性磷酸酶与癌抗原CA15-3抗体通过交联剂SMCC和2-IT连接构成。本发明使得能够以更低成本和更高准确度和精密度对癌抗原CA15-3进行定量检测。

标签:
化学分析
江苏 - 苏州 来源:中冶有色网 2023-03-19
乙型肝炎病毒e抗原的纳米磁微粒化学发光测定试剂盒及其制备方法和检测方法

本发明涉及一种乙型肝炎病毒e抗原的纳米磁微粒化学发光测定试剂盒及其制备方法和检测方法,试剂盒包括含有荧光素标记的乙型肝炎病毒e抗原抗体的溶液、包被有荧光素抗体的磁微粒的悬浮液,以及含有碱性磷酸酶标记的乙型肝炎病毒e抗原抗体的溶液。本发明使得能够以更低成本和更高准确度和精密度对乙型肝炎病毒e抗原进行定量检测。

标签:
化学分析
江苏 - 苏州 来源:中冶有色网 2023-03-19
上一页 50 51 52 53 54 ... 58 下一页
共58页    到第

中冶有色为您提供最新的江苏苏州有色金属化学分析技术理论与应用信息,涵盖发明专利、权利要求、说明书、技术领域、背景技术、实用新型内容及具体实施方式等有色技术内容。打造最具专业性的有色金属技术理论与应用平台!

全国热门有色金属设备推荐
展开更多 +
全国热门有色金属技术推荐
展开更多 +

 

江西省隆恩特环保设备有限公司
宣传

报名参会
更多+

报告下载

有色专家
更多+

中南大学
中国工程院院士
南方科技大学
外籍院士
郑州大学
校长/党委书记
矿冶科技集团有限公司
所长/研究员级高工
江西理工大学
教授
赤泥综合利用研究报告2025
推广

热门技术
更多+

推荐企业
更多+

福建省金龙稀土股份有限公司
宣传

发布

在线客服

公众号

电话

顶部
咨询电话:
010-88793500-807