青岛垚鑫智能科技有限公司
宣传

位置:中冶有色 >

有色技术频道 >

> 化学分析技术

分类:
全部
矿山技术
冶金技术
材料制备及加工技术
环境保护技术
分析检测技术
 
全部
物理检测技术
化学分析技术
力学检测技术
无损检测技术
失效分析技术
环境检测技术
地区:
全部
北京
天津
上海
重庆
河北
山西
辽宁
吉林
黑龙江
江苏
浙江
安徽
福建
江西
山东
河南
湖北
湖南
广东
海南
四川
贵州
云南
陕西
甘肃
青海
内蒙
广西
西藏
宁夏
新疆
其他
其他
展开
 
全部
成都
自贡
攀枝花
泸州
德阳
绵阳
广元
遂宁
内江
乐山
南充
眉山
宜宾
广安
达州
雅安
巴中
资阳
阿坝藏族羌族自治州
甘孜藏族自治州
凉山彝族自治州

四川成都有色金属化学分析技术理论与应用

免费发布技术信息>>
热-力-化学耦合作用下减氧驱腐蚀油管服役寿命动态预测方法

一种热‑力‑化学耦合作用下减氧驱腐蚀油管服役寿命动态预测方法,其特征在于,采用热‑力‑化学耦合有限元方法,借助SOLIDWORKS和ABAQUS建立腐蚀油管的三维有限元力学模型;基于Fortran语言二次开发的UMESHMOTION子程序用于力‑化学耦合;采用XFEM扩展有限元法和基于损伤力学演化的爆裂失效准则研究含腐蚀油管的弹塑性变形、裂纹起裂、裂纹扩展过程、爆裂力学行为及剩余抗内压爆裂强度;通过建立ALE(Adaptive‑Lagrange Euler)腐蚀区域,并启动时间增量,调用UMESHMOTION子程序自动更新腐蚀形貌求解VME及其分布;通过判断STATUSXFEM状态值,如STATUSXFEM=0,继续启动时间增量,模拟计算,直到STATUSXFEM>0,腐蚀油管起裂,停止计算,求和所有时间增量,实现腐蚀油管服役寿命的动态预测。本发明适用于石油与天然气钻采工程技术领域。

标签:
化学分析
四川 - 成都 来源:中冶有色网 2023-03-19
分析金属元素用的螯合柱与试样处理装置

一种分析金属元素用的螯合柱,主要由柱体及安 装在柱体液体进口端、出口端内腔的滤膜和柱体内腔填充的柱 填料构成,柱填料由溶胀、净化后的极性或中极性或非极性大 孔吸附树脂经0.5mol/L Na2HPO4-1.0~2.0×10-4mol/L 吡啶-(2-偶氮-4-)间苯二酚的混合液动态上柱处理或静态 浸泡处理而成。分析金属元素用的试样处理装置有两种类型, 两种类型的试样处理装置均采用上述柱填料的螯合柱。本发明 所述螯合柱可简化试样处理流程和试样处理装置的结构,节约 化学试剂,提高试样处理速度,并可避免甲醇对操作人员健康 的损害。

标签:
化学分析
四川 - 成都 来源:中冶有色网 2023-03-19
自生气化学剂性能的测试方法

本发明公开了一种自生气化学剂性能的测试方法,包括:(a)首先,制备纯净的氯化氨和硝酸钠备用;(b)然后,分别配制含氯化氨和硝酸钠的反应液100ml、200ml、300ml;(c)各加入催化剂后置于已预热的自制密闭保温反应容器中;(d)用温度计测定反应过程中反应液温度的变化情况。本发明能快速测试出自生气化学剂性能,且测试结果准确,测试步骤简单,大大降低了测试成本。

标签:
化学分析
四川 - 成都 来源:中冶有色网 2023-03-19
化学稳定性测试的反应容器

本实用新型提供一种盖体不容易移位且能够进行耐酸碱化学稳定性测试的反应容器。化学稳定性测试的反应容器,包括盖体、桶体,所述盖体和桶体通过连接装置连接在一起。本实用新型由于盖体和桶体通过连接装置连接在一起,因此工作时盖体不容易移位;盖体和桶体厚度增大且紧固连接,盖体采用喇叭形和锥形瓶口设计,有效提高了反应容器的保温效果;在盖体上均匀对称设置多个挂钩,可同时吊放多块试样,方便测试多个样品,还方便排布样品和调节试样浸入试液的深度,满足不同测试需要;盖体和桶体采用具有优良耐酸碱腐蚀性的OCr17Ni14Mo2不锈钢材料制成,这样对样品进行耐酸或者耐碱化学稳定性测试时,就可以采用同一结构的反应容器,从而提高了测试的稳定性。

标签:
化学分析
四川 - 成都 来源:中冶有色网 2023-03-19
化学渗透测试匀速控制装置

本实用新型公开了一种化学渗透测试匀速控制装置,涉及化学渗透测试装置领域,包括注射器和测试箱,注射器上设有活塞杆和出液口,注射器上使注射器内渗透液匀速滴落的滴落结构,滴落结构包括能够在垂直方向上往复运动的往复板,往复板固定连接活塞杆,活塞杆固定连接有活塞头,活塞杆通过通孔滑动连接注射器,注射器固定连接有一号支撑座,一号支撑座固定连接在测试箱内壁上,滴落结构能够使渗透液均匀的从注射器内匀速掉落,且利用密闭的测试箱避免风力和其他外界因素的影响,并且能够利用压强差为注射器补充渗透液,从而可以使该装置能够持续完成渗透液的滴落,确保测试的效率,减少操作人员的劳动量。

标签:
化学分析
四川 - 成都 来源:中冶有色网 2023-03-19
高温高压流体环境加载拉应力试样腐蚀电化学实验装置及测试方法

本发明公开了一种高温高压流体环境加载拉应力腐蚀电化学实验装置及其测试方法,包含有高温高压釜、循环流动支管和加载拉应力电化学测试系统,所述高温高压釜的一侧与循环流动支管连接,所述循环流动支管上设置有加载拉应力电化学测试系统。利用该装置及其测试方法,可以研究金属材料在高温、高压、液相流体、加载拉应力等因素共同作用下的腐蚀行为。

标签:
化学分析
四川 - 成都 来源:中冶有色网 2023-03-19
原位电化学观测装置
原位电化学观测装置 1095     
 0

本发明涉及一种原位电化学观测装置,包括电化学样品舱,所述电化学样品舱内设置有试样,所述试样通过信号传输线与电化学工作站连接,所述金属垫圈设置于样品舱托的顶部,所述金属垫圈与电化学样品舱接触并电连接,所述第一信号传输线与样品舱盖的外壁接触并电连接,所述试样设置于金属垫圈上方,所述试样与金属垫圈之间设置有绝缘橡胶圈,所述第二信号传输线与试样的底部电连接,能够方便地向电子显微镜内部引入电机以供电化学反应进行原位观测,对扫面电子显微镜腔室无破坏,并且具有成像质量高,便携,易加工,成本低等有益效果。

标签:
化学分析
四川 - 成都 来源:中冶有色网 2023-03-19
基于强化学习的红队测试计划生成方法

本发明公开了一种基于强化学习的红队测试计划生成方法,首先基于ATT&CK攻击行为知识库与模型对敌手攻击技术进行编码模拟;然后将红队测试过程建模为马尔可夫决策过程,以及对攻击者模型进行建模;接着攻击者利用输入数据基于强化学习算法构建红队测试攻击计划;最后攻击者根据评估标准选择最优攻击计划并执行,本发明提供的一种基于强化学习的红队测试计划生成方法,能够有效的提高红队测试的稳定性和效率,降低人工红队测试的经济成本、时间成本和人力成本。

标签:
化学分析
四川 - 成都 来源:中冶有色网 2023-03-19
可降解水溶性聚合物的化学需氧量的测试方法

本发明公开了一种可降解水溶性聚合物的化学需氧量的测试方法,包括:(a)试剂的配制;(b)吸取水样于试验容器中;(c)加入浓硫酸和硫酸汞,使之溶解;(d)加入重铬酸钾标准液和玻璃珠,慢慢加入含有硫酸银的浓硫酸,边加边摇,接上冷凝管,加热;(e)稍冷,用蒸馏水稀释;(f)加试亚铁灵滴,以标准硫酸亚铁铁标准溶液滴定,记录所消耗硫酸亚铁的用量;(g)做空白试验,吸蒸馏水代替水样,记录硫酸亚铁铵的用量;(h)通过测试结果,计算出可降解水溶性聚合物的化学需氧量。本发明能快速准确的测定出可生物降解水溶性聚合物的化学需氧量,且测试结果准确,测试步骤简单,降低了测试成本低,为水溶性聚合物的应用奠定了理论基础。

标签:
化学分析
四川 - 成都 来源:中冶有色网 2023-03-19
基于压力控制的多功能电化学测试装置及方法

一种基于压力控制的多功能电化学测试装置及方法,其特征在于,装置主要包括:压力控制面板、第一泄压管线、第一恒压气源、第一增压流量控制阀、第一进气阀、第一泄压流量控制阀、压差表、第二泄压流量控制阀、第二增压流量控制阀、第二安全阀、第一安全阀、第二恒压气源、第二泄压管线、高温高压釜、玻璃容器、可动夹套、螺纹丝杆、普通参比电极,基于该装置的方法可实现三电极体系与周围结构的绝缘,结合普通参比电极和压差控制法可实现中低温‑高压环境下的电化学测试,完全能满足油气输送管线的服役工况,而针对井下高温高压工况,可结合高温高压参比电极和压差控制法实现腐蚀环境下的电化学测试,最大限度的降低了模拟工况下电化学实验成本。

标签:
化学分析
四川 - 成都 来源:中冶有色网 2023-03-19
高温高压电偶腐蚀电化学测试用电极及其应用

本发明公开了一种高温高压电偶腐蚀电化学测试用电极,包含绝缘支架、高温高压釜和参比电极,所述绝缘支架的上部与高温高压釜的高温高压釜盖螺接,所述绝缘支架内设置有导线,所述导线的一端引出高温高压釜并连接有电偶腐蚀计,所述导线的另一端连接有金属试样,所述参比电极的一端伸入高温高压釜的内部,所述参比电极的另一端与电偶腐蚀计连接。本发明能够研究高温高压液相介质或含液相的多相介质中异金属接触腐蚀行为,其适于高温高压密闭环境进行电化学测试的电偶电极,借助高温高压釜应用该电极进行电偶腐蚀的电化学测试。

标签:
化学分析
四川 - 成都 来源:中冶有色网 2023-03-19
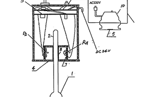
微波化学反应器的温度测量和控制装置

本发明微为微波化学反应器的温度测量和控制 装置,包括测温探头,测温探头的一部分位于微波炉腔体内, 测温探头为煤油温度计(1),煤油温度计(1)的上部柱体(2)、发光二极管(D2)、光敏电阻(Rd)和控制电路(3)位于微波炉腔体外,发光二极管(D2)和光敏电阻(Rd)位于温度计柱体(2)的两侧并与煤油温度计的控温刻度在同一平面上相对,煤油到达柱体(2)上的控温刻度时,发光二极管(D2)发射到光敏电阻(Rd)的光信号受阻,发光二极管(D2)和光敏电阻(Rd)与控制电路(3)的输入端连接,控制电路(3)的输出与直流操作继电器(5)连接,直流操作继电器(5)位于微波炉的电源电路上。

标签:
化学分析
四川 - 成都 来源:中冶有色网 2023-03-19
航空燃料化学测水试纸包装容器

本实用新型公开了一种航空燃料化学测水试纸包装容器,旨在提高化学测水试纸的使用的便利性。该包装容器包括其内可叠置容纳化学测水试纸的瓶体(10),以及与该瓶体(10)形成可拆卸密封连接的瓶盖(20)。本实用新型的有益效果是,化学测水试纸以叠置方式存放于瓶体内,取用十分方便;具有良好的密封防潮性能,能长期贮存并避免化学测水试纸失效。

标签:
化学分析
四川 - 成都 来源:中冶有色网 2023-03-19
用于微区腐蚀电化学扫描测试系统的控制箱

一种用于微区腐蚀电化学扫描测试系统的控制箱,属于电化学腐蚀技术领域。所述微区腐蚀电化学扫描测试系统设于所述控制箱内部,且所述微区腐蚀电化学扫描测试系统和所述控制箱均设于底座上,所述控制箱的至少一个侧面由透明材料制成;所述底座上还设有湿度控制设备,所述湿度控制设备的输出端和所述控制箱内部连通,所述控制箱内部还设有湿度探测电极。通过设置控制箱,使整个微区腐蚀电化学扫描测试实验在较为平稳的环境下进行,受到其余环境因素如空气流动等影响更小;通过设置湿度控制设备和湿度探测电极,能够对实验过程中的湿度进行控制,拓展了仪器测试适用性。

标签:
化学分析
四川 - 成都 来源:中冶有色网 2023-03-19
基于图强化学习的FPGA互联资源测试算法

本发明属于FPGA测试技术,具体涉及一种基于图强化学习的FPGA互联资源测试算法。本发明改进了现有基于强化学习和深度强化学习的FPGA互联资源测试方法的缺点,即神经网络不具迁移性的缺点。本发明借助图神经网络提取互联资源图的隐藏特征,再利用深度强化学习优化配置策略,在本发明中,将其称为图强化学习。本发明方法具备迁移性与通用性,已训练收敛的神经网络可以应用到任何FPGA芯片的互联资源测试配置向量的生成中,同时对于所有FPGA芯片都可采用该方法。本发明对FPGA互联资源的测试成本较低,不需要专家人工找寻测试配置,同时已收敛的神经网络可以快速应用到任何FPGA芯片的互联资源测试中,并且生成FPGA测试配置的过程完全是自动化的。

标签:
化学分析
四川 - 成都 来源:中冶有色网 2023-03-19
化学品泄露监测防护装置

本发明公开了化学品泄露监测防护装置,解决了部分有机化学品的泄露无法监测且无法及时处理的问题。本发明包括可弯折的带体以及设置在所述带体上的将所述带体的两端扣合的扣合部件,所述带体包括吸附棉层和与吸附棉层接触连接的指示结构,所述指示结构包括第一带体和第二带体,所述第一带体与所述第二带体分别与所述吸附棉层粘接,所述第二带体与所述第一带体部分重叠形成重叠部且所述第二带体位于所述第一带体上,所述重叠部为指示部,当化学品泄漏吸附层吸附后膨胀,使得重叠部分的指示部被显现出来,从而得知有化学品泄漏。本发明具有对部分酸碱指示剂指示不明显的液体有机物进行泄露监测并进行实时吸附处理,结构简单,操作方便等优点。

标签:
化学分析
四川 - 成都 来源:中冶有色网 2023-03-19
基于地统计加权随机森林的地球化学变量空间预测方法

本发明公开了一种基于地统计加权随机森林的地球化学变量空间预测方法,包括以下步骤:S1、获取训练随机森林模型所需的训练数据,训练数据包括输入变量和模型输出变量,输入变量包括地质要素和遥感要素,模型输出变量为已知地球化学元素含量观测数据;S2、根据输入变量与已知地球化学元素含量观测数据之间的相关系数及输入变量之间的相关性筛选输入变量作为预测因子,将已知地球化学元素含量观测数据与预测因子作为训练样本;S3、基于训练样本训练随机森林模型,并采用训练好的随机森林模型对待预测位置的地球化学元素含量进行预测。本发明应用时同时考虑地学现象的空间相关性和异质性,能提升预测精度。

标签:
化学分析
四川 - 成都 来源:中冶有色网 2023-03-19
辐照环境下高温高压水化学循环回路腐蚀测试装置

本发明公开了一种辐照环境下高温高压水化学循环回路腐蚀测试装置,包括高温高压循环单元,用以提供高温高压运行环境;工艺参数测量单元,与高温高压循环单元连接,以实现高温高压循环回路出水的水化学参数测量;其中,高温高压循环单元的反应大釜置于非放环境中,反应小釜置于由水屏蔽的γ场下,以开展辐照环境和非辐照环境中的腐蚀或水化学试验;γ场为均匀剂量场,剂量率为1000~1500Gy/h。本发明的腐蚀测试装置可同时应用于辐照环境和非辐照环境中,高温高压条件下的材料腐蚀特性研究,对比材料在不同工况下的均匀腐蚀和电化学腐蚀情况,模拟材料腐蚀过程的真实环境;同时还可研究不同的水化学条件对材料腐蚀的影响。

标签:
化学分析
四川 - 成都 来源:中冶有色网 2023-03-19
化学气相沉积液体源材料的监测装置

本发明涉及一种化学气相沉积液体源材料的监测装置,所述的装置包括液体源瓶、托盘、重量传感器、截止阀、柔性金属软管、真空规。液体源瓶用于盛装化学气相沉积镀膜的反应源材料;液体源瓶放置在托盘上,托盘固定在重量传感器上。所述的重量传感器通过监测托盘和液体源瓶总重量的变化,实时监测液体源的剩余量;液体源瓶进出口安装自动截止阀,自动截止阀的另一端通过柔性金属软管和化学气相沉积镀膜系统连接;所述的真空规和柔性金属软管连接,用于监测柔性金属软管内的真空度。所述的化学气相沉积源材料监控装置,实现了化学反应液体源瓶内剩余材料的监控,可有效提高化学气相沉积源材料使用效率和安全性。

标签:
化学分析
四川 - 成都 来源:中冶有色网 2023-03-19
用于化学转化膜接触电阻测试的设备与方法

一种用于化学转化膜接触电阻测试的设备,包括电子拉力机、上测头和下测头,上测头由上电极和上夹具组成,下测头由下电极和下夹具组成。一种化学转化膜接触电阻的测试方法,使用上述设备,并配置数字微欧计,操作如下:预热数字微欧计,启动电子拉力机,并设定工作模式和控制参数,安装上测头和下测头;将化学转化膜接触电阻试片放置在下电极的上端面,操作电子拉力机使其移动头带着上测头向下运动至上电极下端面与化学转化膜接触电阻试片接触;将数字微欧计与上电极、下电极和上夹具连接;操作电子拉力机对化学转化膜接触电阻试片的各测试点加载施压,当所施加的压力稳定在测试所要求的压力时,读取数字微欧计上的电阻显示值并予以记录。

标签:
化学分析
四川 - 成都 来源:中冶有色网 2023-03-19
用于全自动化学发光测定仪中的反应仓组件

本实用新型提供了一种用于全自动化学发光测定仪中的反应仓组件,其包括底座,底座的上端面沿其长度方向设置有导轨;底座的上端面一侧设置有带有主动皮带轮的步进电机,另一端设置有带有从动皮带轮的安装支架,主动皮带轮通过皮带与从动皮带轮连接;导轨上设置有底部具有滑块的反应仓主体,反应仓主体的侧壁上设置有用于与皮带接触的同步带压板;本方案中步进电机通过皮带主动轮和皮带从动轮带动皮带在两个皮带轮上往复直线运动;往复直线运动的皮带通过与同步带压板接触,实现带动反应仓主体在底座上往复滑动,提高检测效率的同时实现反应仓主体移动至测定仪的外部或者内部,达到减小测定仪体积的目的。

标签:
化学分析
四川 - 成都 来源:中冶有色网 2023-03-19
气液间隔微流-气相化学发光测定水中二甲基硫醚的方法

本发明提供了一种气液间隔微流‑气相化学发光测定水中二甲基硫醚的方法,能够有效分离转移二甲硫醚,具有优异的检测精确度、准确度和可靠性。此方法可进行连续原位检测,无需试剂,易于组装使用,且可以在现场进行数小时无人值守的操作,可以为天然水提供高质量的DMS数据,具有良好的应用前景。

标签:
化学分析
四川 - 成都 来源:中冶有色网 2023-03-19
带有电化学传感器的便携式危险气体探测器

本实用新型公开了一种带有电化学传感器的便携式危险气体探测器,涉及气体检测技术领域,针对现有探测器软管散乱导致不便于携带,而且单个探头检测存在局限性的问题,现提出如下方案,包括探测器主体,所述探测器主体的顶部焊接有固定盘,所述固定盘的顶部焊接有沿竖直方向设置的支撑杆,所述支撑杆的外圈固定套设有托板,所述支撑杆的顶端焊接有安装柱,所述安装柱的顶部圆心处开设有安装槽,所述安装槽的底部内壁连接有弹簧,所述弹簧的顶端连接有活动杆,所述活动杆的顶端焊接有水平设置的密封板。本实用新型设计新颖,操作简单,整个装置不仅方便进行携带,而且同时利用四个探头同时检测,提高检测的准确性。

标签:
化学分析
四川 - 成都 来源:中冶有色网 2023-03-19
危险化学气体实时监测系统

本发明公开了危险化学气体实时监测系统,主要由气体检测系统、以及与气体检测系统依次连接的信息传输系统、报警系统构成。本系统以实现危化品泄漏的全面探测及环境温度等的检测,通过实时数据处理、传输实现实时报警,运用技术手段实现了维护危化品运输伞程探测、监测与跟踪,从而减少和避免事故的发生,避免和降低事故危害,提高了危化品运输的安全性和可靠性。

标签:
化学分析
四川 - 成都 来源:中冶有色网 2023-03-19
用于测量化学剂在岩心中扩散系数的实验装置及方法

本发明公开了一种用于测量化学剂在岩心中扩散系数的实验装置及方法,包括恒速恒压泵、岩心夹持器、密度仪、回压泵和液剂容器;所述液剂容器连接在恒速恒压泵与岩心夹持器之间,通过恒速恒压泵将液剂容器中的液剂泵入岩心夹持器中;所述回压泵与岩心夹持器相连;所述液剂容器为并排连接的两个容器,分别装有水和化学剂;所述岩心夹持器上设有取样口,用于采集扩散液剂并利用密度仪检测液剂密度。本发明提出的装置可直接获得多孔介质中化学剂的浓度,并通过配套的方法可以直接计算出化学剂在多孔介质中的扩散系数,比传统方法更加简单,同时本实验发明也可满足高温高压条件下的实验条件,更加符合矿场实际,从而更加有效的指导油气增产。

标签:
化学分析
四川 - 成都 来源:中冶有色网 2023-03-19
水产品中孔雀石绿及隐性孔雀石绿的柱前电化学衍生一次性测定总量方法

本发明水产品中孔雀石绿及隐性孔雀石绿的柱前电化学衍生一次性测定总量方法属于把隐性孔雀石绿变为孔雀石绿的一次性测定总量方法。本发明最关键是发现了隐性孔雀石绿溶液经过电化学库仑检测器(ECD)氧化电压+650mv,隐性孔雀石绿平均98.86%变为孔雀石绿,而原有的孔雀石绿不变化,使本发明要把样品中的隐性孔雀石绿和孔雀石绿在一次测定中,用高效液相色谱仪可以测出隐性孔雀石绿和孔雀石绿的总浓度。本发明大大缩短样品前处理时间和减少试剂耗材的使用,运用电化学柱前衍生代替国标中二氧化铅的柱后衍生。具有样品前处理简单、净化效果好、衍生化率高、回收率好的特点。

标签:
化学分析
四川 - 成都 来源:中冶有色网 2023-03-19
多通道电化学微流控测试卡及制作方法

本发明公开一种多通道电化学微流控测试卡及制作方法,测试卡从下至上依次为,注塑基板、金电极电路、亲水膜。注塑基板通过注塑制成。金电极电路通过电镀和埋入的方式附着在注塑基板上。亲水膜贴在注塑基板上,注塑基板上具有多个反应通道,每个通道的反应药液根据检测项目分别配制好后点在相应的反应通道上,亲水膜、反应通道构成虹吸池。加样区周围具有多个反应通道,加样区包括小凹槽、阶梯状的槽,小凹槽位于阶梯状的槽的中部,每个阶梯状的槽的容积相同,阶梯状的槽两两之间具有凸起的挡板隔开,每个阶梯状的槽只与小凹槽和各自的反应通道相通。本发明是电化学微流控检测卡利用巧妙的结构设计,实现了一滴血可以测试多个项目的目的。

标签:
化学分析
四川 - 成都 来源:中冶有色网 2023-03-19
多通道电化学微流控测试卡

一种多通道电化学微流控测试卡,测试卡从下至上依次为,注塑基板、金电极电路、亲水膜。注塑基板通过注塑制成。金电极电路通过电镀和埋入的方式附着在注塑基板上。亲水膜贴在注塑基板上,注塑基板上具有多个反应通道,每个通道的反应药液根据检测项目分别配制好后点在相应的反应通道上,亲水膜、反应通道构成虹吸池。加样区周围具有多个反应通道,加样区包括小凹槽、阶梯状的槽,小凹槽位于阶梯状的槽的中部,每个阶梯状的槽的容积相同,阶梯状的槽两两之间具有凸起的挡板隔开,每个阶梯状的槽只与小凹槽和各自的反应通道相通。本实用新型是电化学微流控检测卡利用巧妙的结构设计,实现了一滴血可以测试多个项目的目的。

标签:
化学分析
四川 - 成都 来源:中冶有色网 2023-03-19
化学发光测铬(VI)新方法的建立

本发明公开了一种新的螺环类化学发光试剂罗丹明6G酰肼,并利用此化学发光试剂建立了一种流动注射化学发光测定溶液中六价铬的新方法。罗丹明6G酰肼在酸性条件下大部分或者全部开环,在吐温80和双氧水的作用下,与六价铬发生氧化还原反应,生成罗丹明6G。经实验验证罗丹明6G酰肼‑铬(VI)化学发光体系的选择性好、灵敏度高、检出限低、重现性好。所以,罗丹明6G酰肼是测定铬(VI)的优异化学发光探针。

标签:
化学分析
四川 - 成都 来源:中冶有色网 2023-03-19
超临界高压釜水化学反馈测控系统及其控制方法

本发明公开了超临界高压釜水化学反馈测控系统及其控制方法,解决了现有技术中没有设备能够在650℃&25MPa的超临界水条件下对反应堆水质进行控制和监测的问题。本发明包括与超临界高压釜回路连通的水箱,所述水箱上设置有进水口和出水口,所述进水口通过进水管路与超临界高压釜回路连通,所述出水口通过出水管路与超临界高压釜回路连通;所述出水管路上还设置有与进水管路连通的检测支路,该检测支路上设置有检测仪器;所述进水管路上设置有通过控制开关与进水管路连通的化学药剂存储装置;所述控制开关上连接有通过检测仪器检测出的信号控制其开闭的控制器。本发明具有更好模拟反应堆水质情况、确保超临界高压釜腐蚀试验质量水平等优点。

标签:
化学分析
四川 - 成都 来源:中冶有色网 2023-03-19
上一页 41 42 43 44 45 ... 52 下一页
共52页    到第

中冶有色为您提供最新的四川成都有色金属化学分析技术理论与应用信息,涵盖发明专利、权利要求、说明书、技术领域、背景技术、实用新型内容及具体实施方式等有色技术内容。打造最具专业性的有色金属技术理论与应用平台!

全国热门有色金属设备推荐
展开更多 +
全国热门有色金属技术推荐
展开更多 +

 

江西省隆恩特环保设备有限公司
宣传

报名参会
更多+

报告下载

有色专家
更多+

矿冶科技集团有限公司
所长/研究员级高工
武汉理工大学
外籍院士/教授
湖南有色金属研究院
教授级高工/原总工程师
江西理工大学
副处长/教授
长沙矿冶院检测技术有限责任公司
总经理
赤泥综合利用研究报告2025
推广

热门技术
更多+

推荐企业
更多+

福建省金龙稀土股份有限公司
宣传

发布

在线客服

公众号

电话

顶部
咨询电话:
010-88793500-807