青岛垚鑫智能科技有限公司
宣传

位置:北方有色 >

有色技术频道 >

> 复合材料技术

分类:
全部
矿山技术
冶金技术
材料制备及加工技术
环境保护技术
分析检测技术
 
全部
功能材料技术
复合材料技术
新能源材料技术
合金材料技术
加工技术
地区:
全部
北京
天津
上海
重庆
河北
山西
辽宁
吉林
黑龙江
江苏
浙江
安徽
福建
江西
山东
河南
湖北
湖南
广东
海南
四川
贵州
云南
陕西
甘肃
青海
内蒙
广西
西藏
宁夏
新疆
其他
其他
展开
 
全部
重庆

重庆有色金属复合材料技术理论与应用

免费发布技术信息>>
碳纤维复合材料汽车前罩

本发明公开了一种碳纤维复合材料汽车前罩,包括胶接的外板和内板,所述外板和内板由整体铺层的碳纤维复合材料制成;所述内板中部设有网状加强部,所述内板上胶接有锁扣加强板和铰链固定支座,所述锁扣加强板和铰链固定支座所在的整体铺层内夹设有加强铺层。其在满足性能要求的前提下,实现轻量化。

标签:
复合材料
重庆 - 重庆 来源:北方有色网 2023-03-18
 (Zn,Mn)Se/C复合材料及其制备方法

一种(Zn,Mn)Se/C复合材料,其特征在于:其化学式为Zn0.697Mn0.303Se/C,为二维椭圆薄片状结构,短径约为0.8μm,长径约为1.2μm,尺寸为10~40nm的双金属硒化物颗粒被包裹在碳基体中,碳基体表面均匀分布有尺寸为10~40nm的凸起纳米颗粒。本发明制备的Zn0.697Mn0.303Se/C复合材料,形成相貌规整、尺寸均匀、分散性优异的片状结构的Zn‑Mn‑ptcda,复合才料中无定形碳含量少,具有优异的储锂性能、循环稳定性和倍率性能;100 mA g‑1的电流密度下,经过110次充放电循环后,可逆容量高达1005.14 mAh g‑1,在1 A g‑1的大电流密度下经过1000次循环,容量仍保持在653.79 mAh g‑1

标签:
复合材料
重庆 - 重庆 来源:北方有色网 2023-03-18
碳纳米微球/改性二氧化钛纳米溶胶复合材料及其制备方法

本发明提供一种碳纳米微球/改性二氧化钛溶胶复合材料的制备方法,其特征在于,包括:提供二氧化钛纳米溶胶和碳纳米微球;以氯金酸为原料、以硫醇为表面活性剂、以四辛基溴化铵为相转移剂,在巯基羧酸和硼氢化钠作用下发生还原反应,得到改性金纳米溶胶;将所述改性金纳米溶胶与所述二氧化钛纳米溶胶分别分散在有机溶剂中再将混合,得到用金纳米溶胶改性的二氧化钛溶胶;将金纳米溶胶改性的二氧化钛溶胶分散在有机溶剂中并与所述碳纳米微球的甲苯溶液混合,搅拌均匀后,得到碳纳米微球/改性二氧化钛溶胶复合材料。本发明提供的制备方法使改性二氧化钛纳米溶胶能够均匀包覆在碳纳米微球表面不团聚。

标签:
复合材料
重庆 - 重庆 来源:北方有色网 2023-03-18
金属基复合材料的制备方法

本发明涉及一种生产金属基复合材料的新方法,主要特点是:提供一种熔融的金属或合金,在空气气氛下,将装有填料和助渗剂的模或含有助渗剂的自支撑体压入其液面之下,通过助渗剂、金属与填料或自支撑体中所含空气的物理和化学作用,使金属液体能自动渗入填料或自支撑体内部,凝固后形成所需的复合材料。该发明还包括将生成材料与原金属液体或另外的金属共同加热,搅拌均匀后浇铸成型等后继加工步骤。

标签:
复合材料
重庆 - 重庆 来源:北方有色网 2023-03-18
具有压头稳固装置的复合材料压痕实验系统

本发明创造的目的是提供一种实验系统,以消除现有复合材料压痕实验所采用装置中压头偏移带来的不利影响。即一种具有压头稳固装置的复合材料压痕实验系统,包括承载被测试样的工作台、位于所述工作台上方的载荷轴、控制所述载荷轴运动的驱动装置,以及负载传感器。还包括一个与压头配合使用的连接座。实验时,先通过调整载荷轴的高度,使得连接在载荷轴下端的连接座离开被测试样一定距离,之后,将所述压头的上端卡入所述连接座的T型槽中,这样就能够使得压头能够在载荷轴的作用下垂直地压向被测试样的上端,避免了会给实验带来严重影响的偏移和滑动,测定数据准确。同时,本发明还减少了人工操作,避免力学器材对实验人员的伤害。

标签:
复合材料
重庆 - 重庆 来源:北方有色网 2023-03-18
生物可降解纳米羟基磷灰石-镁金属基复合材料

本发明涉及一种生物可降解纳米羟基磷灰石-镁金属基复合材料,属于生物医用材料领域,所述材料由金属镁和纳米羟基磷灰石颗粒的混合物组成,其中金属镁为纯镁,羟基磷灰石和镁的质量比为0.01~50∶100。本发明的纳米羟基磷灰石-镁金属基复合材料可采用高洁净度的熔炼技术或粉末冶金技术制造。本发明材料基体与增强纳米颗粒之间的结合紧密,纳米颗粒分布均匀。本发明降解速度可控,生物相容性和力学性能良好,在骨组织工程支架、骨内固定紧固件及骨承重部位缺损修复等医用材料领域有广泛的应用前景。

标签:
复合材料
重庆 - 重庆 来源:北方有色网 2023-03-18
复合材料性能分析用搅拌装置

本发明涉及复合材料混合用搅拌设备的技术领域,公开了一种复合材料性能分析用搅拌装置,包括搅拌桶,搅拌桶内转动连接有搅拌轴和搅拌叶片,所述搅拌桶内设有自清洁机构,自清洁机构包括转盘和刮料片,转盘转动设于搅拌桶的底部,刮料片固定设于转盘上,且刮料片与搅拌桶的内周壁紧密贴合。采用本方案能解决现有技术中浆料粘在搅拌桶内壁上而导致的物料浪费和难以清洁的技术问题。

标签:
复合材料
重庆 - 重庆 来源:北方有色网 2023-03-18
半固化双树脂体系复合材料的制备方法

一种半固化双树脂体系复合材料的制备方法,依次包括纤维织布编织结构制备、双树脂体系调配、制备预浸料和复合步骤,其特征在于:所述纤维织布是由含杂环结构的共聚型对位芳纶纤维先进行预处理,然后编织成形,所述双树脂体系是由聚氨酯树脂、热固性树脂、固化剂和聚磷酸铵混合、分散形成。本发明方法制备的半固化双树脂体系复合材料厚度小、低至5.6mm,高强度、强度可达445~456MPa,模量高、弹性模量可达3.68~3.80 GPa;具有高防破片性能、V50可从传统的500m/s左右提高至579m/s;优异的阻燃性能、含氧指数达到45%以上,适用于各型轻量化装甲装备对二次破片的防护需求,提高战场生存率。

标签:
复合材料
重庆 - 重庆 来源:北方有色网 2023-03-18
高强高抗冲击复合材料及其制备方法

本发明公开了一种高强高抗冲击复合材料,包括以下按照重量份计的原料:聚氯乙烯80‑130份、苯骈三氮唑11‑16份、二乙三胺五乙酸6‑12份、羟甲基磺酸钠5‑11份、葡甲胺4‑11份、表儿茶素没食子酸酯3‑8份、碳酸乙烯酯15‑30份、黄腐酸钾3‑7份。本发明的高强高抗冲击复合材料通过合理的原料配比和工艺参数,可有效提高PVC树脂的性能;具有优异的拉伸强度、冲击强度和弹性模量,且耐热性能高;可较好的用于建筑材料、地板革、管材、电线电缆等领域。

标签:
复合材料
重庆 - 重庆 来源:北方有色网 2023-03-18
用于直流微电机的电刷复合材料和应用

本发明涉及一种新型的电刷复合材料,所述电刷复合材料由贵金属合金层和铜合金弹性基层所构成,贵金属合金层的各组分质量百分含量为:Pd 29‑55%;Ni 0.05‑2.0%;余量为Ag,所述铜合金弹性基层为BZn18‑26合金或MX系列合金。本发明所述材料具有良好的耐磨性和抗电弧能力,是优良的滑动电接触材料,适合于制作直流电动机的电刷。

标签:
复合材料
重庆 - 重庆 来源:北方有色网 2023-03-18
基于球磨制备零价铝、铁基尖晶石复合材料的制备方法及其应用

本发明公开了一种基于球磨法制备零价铝、铁基尖晶石复合材料的制备方法,采用铁基尖晶石材料辅助机械球磨破坏零价铝表面的氧化膜,并改变原始零价铝晶体结构,从而增大了材料晶格常数,提升了其电子转移效率,提高了其反应活性,有效地解决了现有零价铝对水中污染物去除率低的问题。具体制备方法为:将各种粒径的氧化锆磨球、零价铝粉末和铁基尖晶石粉末混合均匀,在空气氛围中,放入不锈钢球磨罐中进行球磨;球磨结束后,将混合物与小球筛分,得到零价铝、铁基尖晶石复合材料。该方法过程简单,成本低廉,环境友好,制备出的材料处理效果好。

标签:
复合材料
重庆 - 重庆 来源:北方有色网 2023-03-18
具有高温使用性能的钛铝基复合材料及其制备方法

本发明公开了一种具有高温使用性能的钛铝基复合材料,其包括以下重量百分比的元素组分:41~51%的Al,4~10%的Nb,1~2%的Mo,1~2%的Cr,0.3~5%的B,余量为Ti。其高温抗拉强度和塑性优异,应用范围更广泛。还公开了上述具有高温使用性能的钛铝基复合材料的制备方法。

标签:
复合材料
重庆 - 重庆 来源:北方有色网 2023-03-18
LFT‑D复合材料冲压上下料工业机器人端拾器

本发明公开了一种LFT‑D复合材料冲压上下料工业机器人端拾器,其包括有可与工业机器人手臂相连接的横梁支架,该横梁支架上具有纵臂支架,所述纵臂支架上端沿轴向方向依次设置有数个下料真空吸盘组件、下端沿轴向方向依次设置有数组上料刺针抓手组件,其中,每组所述上料刺针抓手组件均包括有固定定位于所述纵臂支架下端且沿所述纵臂支架轴向方向交叉错位排列的两组夹持气缸、定位于该两组夹持气缸气缸杆上且沿其轴向方向延伸的刺针、及连接于所述两组夹持气缸之间并对所述刺针分别进行轴向导向的导向支架。该发明通过优化结构有效地解决了现有工业机器人端拾器难以满足LFT‑D复合材料熔融状态吸附或夹持问题。

标签:
复合材料
重庆 - 重庆 来源:北方有色网 2023-03-18
高性能“竹钢”复合材料的制备方法

本发明公开了一种新型“竹钢”复合材料的制备方法,属于竹人造板与竹质工程材料技术领域。本发明通过1)两步法脱除竹材中的木质素和半纤维素,2)利用冷冻干燥工艺打通竹材内部的孔道结构,3)对所得竹材骨架进行真空浸渍环氧树脂处理,4)进行热压固化以实现竹材的密实化,继而得到了一种具有高纤维含量的“竹钢”复合材料。本发明所提供的“竹钢”材料具有竹材利用率高、力学性能优异、尺寸稳定性高、导热率低等优点,有望应用于节能建筑、桥梁、交通运输及航空航天等领域。

标签:
复合材料
重庆 - 重庆 来源:北方有色网 2023-03-18
复合材料包装纸的分切设备

本发明涉及分切设备技术领域,具体公开了一种复合材料包装纸的分切设备,每根支柱分别与放料槽固定连接,推料组件分别与每根支柱固定连接,夹紧组件与分切组件固定连接,分切框体具有第一凹槽、第二凹槽和通孔,滑块与分切框体滑动连接,连接板与滑块固定连接,第一安装板与连接板固定连接,第一电机与第一安装板固定连接,且第一电机的输出端贯穿连接板,装刀器与第一电机的输出端固定连接,切割刀与装刀器固定连接,支架与分切框体固定连接,第一气缸与支架固定连接,第一气缸的输出端与滑块固定连接。以上结构的设置,可以自动化的对复合材料进行分切,分切效率高,同时尺寸可以进行统一控制。

标签:
复合材料
重庆 - 重庆 来源:北方有色网 2023-03-18
整体式电热复合材料床板

本实用新型公开一种整体式电热复合材料床板,包括床板本体,其特征在于,所述床板本体主要包括电热涂料层、绝缘层和支撑骨架,电热涂料层和绝缘层设置在支撑骨架上,构成一个整体式床板。该支撑骨架,采用高性能纤维复合材料制作。本实用新型的床板,为北方及部分南方地区人员在寒冷阴湿的冬季提供一种新的、健康舒适的床具,而且能够降低夜间集中供暖的要求,降低供暖能耗;具有的轻便、抗损等性能,也可用作开设自然灾害等发生后野外人员应急保障基地使用,保证受灾及救援人员寒冷环境住用;是面状发热体,具有面状发热,温度分布均衡,舒适度高;消除折断打火等隐患,安全性好、使用寿命长。

标签:
复合材料
重庆 - 重庆 来源:北方有色网 2023-03-18
新型高强耐磨复合材料井盖

本实用新型为新型高强耐磨复合材料井盖,涉及一种复合材料井盖,尤其是一种用预浸FRP筋、聚酯树脂胶结石英砂浆体形成的井盖。包括集料、增强筋、增强层,其特征在于所述增强筋结构为网状,似筛子,外形呈球冠形;所述集料被包覆在增强筋结构内,增强层覆盖增强筋结构。采用以上结构的井盖,具有很高的抗压强度,韧性,抗冲击性能好,能防止在运输,施工和使用过程中的碰伤和撞裂。

标签:
复合材料
重庆 - 重庆 来源:北方有色网 2023-03-18
动平衡机上复合材料尾轴低速正交融合动平衡法

本发明公开了一种动平衡机上复合材料尾轴低速正交融合动平衡方法。该方法包括:在低速下对转轴工件进行平衡,对振动信号利用正交融合技术进行融合,对合成后的信号进行力和力偶分解;仅需一次试重,试重质量须同时包含力和力偶成分;对添加的试重质量进行力和力偶分解,同时对添加试重后的振动数据进行力和力偶分解;计算试重后力和力偶响应,推算所需平衡质量大小和相位;添加所需平衡质量,达到平衡指标,平衡结束。与其他动平衡方法相比,本发明需要的试重次数少,所需平衡转速低于一阶临界转速,对各向异性复合材料轴平衡效果显著,具有很好的工程适用性。

标签:
复合材料
重庆 - 重庆 来源:北方有色网 2023-03-18
短玻纤增强PA12T复合材料及其制备方法

本发明公开了一种短玻纤增强PA12T复合材料及其制备方法,涉及PA12T材料技术领域,所述的短玻纤增强PA12T复合材料包括如下重量份数的原料组分:对苯二甲酸299‑305份、间苯二甲酸27‑33份、1,12‑十二碳二元胺200‑204份、封端剂0.7‑0.9份、催化剂0.6‑0.8份、去离子水160‑220份、短玻纤9‑11份、POE‑g‑MAH 15‑19份。本发明提供的短玻纤增强PA12T合材料通过PA12T与短玻纤和POE‑g‑MAH的复合,显著提高了材料拉伸强度、弯曲强度和缺口冲击强度。本发明提供的短玻纤增强PA12T合材料不仅力学性能优异、尺寸稳定性高,还保证了材料的耐高温性能、耐腐蚀性能,大大拓宽了材料的应用领域。

标签:
复合材料
重庆 - 重庆 来源:北方有色网 2023-03-18
高介电的纳米氮化硼改性环氧树脂复合材料和制法

本发明涉及环氧树脂技术领域,且公开了一种高介电的纳米氮化硼改性环氧树脂复合材料,通过化学键的连接,将纳米氮化硼与环氧树脂有机结合,显著提高了环氧树脂与氮化硼的界面相容性,使纳米氮化硼高度分散在环氧树脂的基体中,减少了纳米氮化硼的团聚和聚集,更有利于纳米氮化硼在环氧树脂基体中形成三维导热网络,只需要很少量的纳米氮化硼,就可以显著提高环氧树脂的热导率和导电性能,并且纳米氮化硼在环氧树脂中产生界面极化效应和偶极极化效应,提高了环氧树脂材料的介电常数,改善了材料的介电损耗,使复合材料表现出更高的介电性能。

标签:
复合材料
重庆 - 重庆 来源:北方有色网 2023-03-18
固体润滑复合材料及制作方法

本发明涉及一种固体润滑复合材料及制作方法,是将碳纳米管在球磨机中研磨,使其成为段状结构,往段状结构的碳纳米物质中加入乙醇和表面分散剂,用超声波处理,制得碳纳米液体。按照重量百分比取氧化硼粉,聚四氟乙烯粉,碳纳米液体,将三种物质混合高速搅拌,碳纳米液体分散于氧化硼的聚四氟乙烯粉体中,制得混合物;将混合物模压成型,脱模制得成品固体润滑复合材料。本发明低摩擦系数,自润滑性,耐磨性等技术指标大幅度提高并且可导热导电减少和消除因摩擦产生的静电。

标签:
复合材料
重庆 - 重庆 来源:北方有色网 2023-03-18
高性能ABS/玉米秸秆复合材料及其制备方法

本发明公开了一种高性能ABS/玉米秸秆复合材料,按重量份计,其制备原料包括:ABS树脂100份、木质素8‑15份、纳米氧化铯5‑10份、蒙脱土5‑10份、聚磷腈/聚醚砜嵌段共聚物包覆玉米秸秆粉5‑12份、ABS‑g‑MAH 5‑10份、相容剂5‑10份和抗氧剂0.5‑1份。本发明所得高性能ABS/玉米秸秆复合材料具有很好的力学强度、阻燃性能且成本较低,克服了现有技术缺陷,有很好的市场前景。

标签:
复合材料
重庆 - 重庆 来源:北方有色网 2023-03-18
生产铜钢复合材料的等温熔接法

本发明涉及一种生产铜钢复合材料的等温熔接法。首先将保护剂加入设有钢芯棒的复合坯件的钢芯棒与外壁的间隙中,然后将电解铜加入复合坯件的料斗内;将加料后的复合坯件放入已升温的井式电炉内,加热至1130℃-1150℃,待电解铜全部熔化后,井式电炉从底部开始逐段断电,使复合坯件从底向上顺序冷却至1050℃以下出炉空冷。本发明生产工艺简单,成材率高,产品的复合质量高。

标签:
复合材料
重庆 - 重庆 来源:北方有色网 2023-03-18
纳米镍/二氧化钛纳米管列阵复合材料制备方法

本发明涉及一种通过脉冲电沉积在二氧化钛管列阵上负载镍纳米颗粒,制备纳米镍/二 氧化钛纳米管列阵复合材料的方法,首先以金属钛为基底,利用阳极氧化法制备高度有序的 纳米二氧化钛管列阵,经焙烧后改善二氧化钛半导体的性质,提高表面电子传输能力,再通 过脉冲电沉积法实现镍纳米颗粒均匀地负载TiO2纳米管列阵之上,粒径可控,颗粒均匀, 负载量可控。本发明方法制备的Ni/TiO2纳米管列阵复合材料不仅可应用到超级电容器中, 而且还可应用到光催化产氢、催化剂以及磁性材料等方面。

标签:
复合材料
重庆 - 重庆 来源:北方有色网 2023-03-18
纤维加强高聚物复合材料杆筋

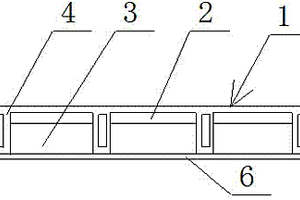
纤维加强高聚物复合材料杆筋涉及建筑材料。针对现有混凝土构件采用钢筋,存在着抗拉强度低、构件重、不具有抗腐蚀、抗酸碱等不足之处,而提出一种结构简单,具有更高抗拉强度、重量轻、更具有抗腐蚀、抗酸碱等性能的纤维加强高聚物复合材料杆筋。所采用技术方案是,芯层1外绕有螺旋状的肋条2,芯层1和肋条2外有外层3。

标签:
复合材料
重庆 - 重庆 来源:北方有色网 2023-03-18
纳米铕氧化物改性金属复合材料的制备方法

本发明涉及一种纳米铕氧化物改性金属复合材料的制备方法。它包括以下步骤:(1)改性剂粉末的制备;(2)分别称取相应的配料粉末和改性剂粉末,将其混合配置成粉末混料;再加入石蜡然后将其混合球磨、喷雾干燥;将干燥后的粉末模压成型,最后进行过压烧结,于烧结结束前充入氩气,直至烧结完成。本发明具有成本低、设备及操作简单,易于工业化等诸多优点,可制备出材料性能效果优异的改性金属基复合材料。

标签:
复合材料
重庆 - 重庆 来源:北方有色网 2023-03-18
碳纤维增强尼龙复合材料及其制备方法

本发明提供了本发明提供了一种碳纤维增强尼龙复合材料,由混合物经混料得到;所述混合物包括:40~70重量份的尼龙树脂、5~35重量份的经浓酸处理后的碳纤维、3~5重量份的阻燃剂、0.1~1重量份的抗氧剂与10~20重量份的矿物填料。与现有技术相比,本发明采用经浓酸处理的碳纤维增强尼龙树脂,浓酸处理后的碳纤维表面具有较多的极性基团,从而使其和尼龙树脂具有较好的相容性;再通过与阻燃剂、抗氧剂及矿物填料相互作用,从而使碳纤维增强尼龙复合材料具有优异的高耐热性、加工流动性、高抗冲击、防静电、高强度和导电导热、尺寸稳定性、耐蠕变性、耐候性等优点,可广泛应用于空天及军用、工业特种零部件、汽车部件等领域。

标签:
复合材料
重庆 - 重庆 来源:北方有色网 2023-03-18
复合材料泡沫金属板
复合材料泡沫金属板 850     
 0

复合材料泡沫金属板,包括泡沫金属板,泡沫金属板的两侧各设置数块木板,两块相邻木板连接处一块木板上设置凸边另一块木板上设置内凹,一块木板的凸边与相邻木板的内凹配合,两侧相对应的木板之间设置螺栓,螺栓穿过泡沫金属板将两侧相对应的木板与泡沫金属板固定在一起,木板两侧设置网板,网板上设置长腰孔,木板上与长腰孔对应位置设置插块,插块与长腰孔插接配合,木板与插块二者一体,泡沫金属板、木板以及网板组成的板体外周包裹软PVC。本实用新型通过在泡沫金属板外侧设置木板、网板以及泡沫金属板在保留了泡沫金属板的原有属性外,有效的增加了复合材料的强度,改善了泡沫金属板表面粗糙的缺点。

标签:
复合材料
重庆 - 重庆 来源:北方有色网 2023-03-18
接枝聚醚增韧环氧树脂复合材料及其制备方法和应用

本发明涉及一种接枝聚醚增韧环氧树脂复合材料及其制备方法和应用,该材料将环氧树脂体系与咪唑固化剂按照一定配比进行混合,反应开环扩链提高分子量同时降低咪唑环上N的反应活性,制得环氧树脂‑咪唑预产物;通过调整反应顺序将异氰酸酯的两个异氰酸酯基分别与环氧树脂‑咪唑预产物和聚醚多元醇中的羟基反应接枝(或交联),即可制备出环氧树脂复合材料,解决了现有环氧树脂固化中咪唑类固化剂、异氰酸酯固化剂相互促进固化环氧树脂时会存在相互反应,影响材料储存性能的问题,同时在不影响其他性能的前提下改善材料的力学性能,提升韧性和耐冲击性。该方法工艺简单,成本低廉,适合工业化生产。

标签:
复合材料
重庆 - 重庆 来源:北方有色网 2023-03-18
热塑性预浸料、热塑性复合材料及其制造方法

本发明涉及热塑性预浸料、热塑性复合材料及其制造方法。将原位聚合的树脂预聚合、浸渍并在浸渍后将树脂预聚液聚合到固态但不完全聚合到最终的高刚度树脂,具有一定的柔性的同时内部残留易挥发的小分子和单体极少,克服了常用的热塑性预浸料由于刚性导致的赋形性差、复杂结构产品可成型难度大等问题,同时,还克服了现有原位聚合形成具有粘性和悬垂性的热塑性预浸料中的因树脂还未固化,在后期储存特别是生产过程中,带来很大的环境和安全隐患,给后续制造复合材料产品带来很大的困难和不便等问题。本发明预浸料内部残留易挥发的小分子和单体极少,不需要配套特殊的气体处理装置等,存储和生产安全性好。

标签:
复合材料
重庆 - 重庆 来源:北方有色网 2023-03-18
上一页 27 28 29 30 31 ... 52 下一页
共52页    到第

北方有色为您提供最新的重庆有色金属复合材料技术理论与应用信息,涵盖发明专利、权利要求、说明书、技术领域、背景技术、实用新型内容及具体实施方式等有色技术内容。打造最具专业性的有色金属技术理论与应用平台!

全国热门有色金属设备推荐
展开更多 +
全国热门有色金属技术推荐
展开更多 +

 

江西省隆恩特环保设备有限公司
宣传

报名参会
更多+

报告下载

有色专家
更多+

江西理工大学
副处长/教授
云南锡业集团(控股)有限责任公司
副总经理
国家钨与稀土产品质量检验检测中心
主任
北京航空航天大学、中国工程院
院士
长沙有色冶金设计研究院有限公司
正高级工程师/中国铝业首席工程师/全国有色金属行业设计大师/国家注册采矿工程师
赤泥综合利用研究报告2025
推广

热门技术
更多+

推荐企业
更多+

福建省金龙稀土股份有限公司
宣传

发布

在线客服

公众号

电话

顶部
咨询电话:
010-88793500-807