青岛垚鑫智能科技有限公司
宣传

位置:北方有色 >

有色技术频道 >

> 复合材料技术

分类:
全部
矿山技术
冶金技术
材料制备及加工技术
环境保护技术
分析检测技术
 
全部
功能材料技术
复合材料技术
新能源材料技术
合金材料技术
加工技术
地区:
全部
北京
天津
上海
重庆
河北
山西
辽宁
吉林
黑龙江
江苏
浙江
安徽
福建
江西
山东
河南
湖北
湖南
广东
海南
四川
贵州
云南
陕西
甘肃
青海
内蒙
广西
西藏
宁夏
新疆
其他
其他
展开
 
全部
重庆

重庆有色金属复合材料技术理论与应用

免费发布技术信息>>
聚丙烯热复合材料及其制备方法和应用

本发明公开了一种聚丙烯热复合材料及其制备方法和应用,由包括改性乙烯‑醋酸乙烯树脂的功能层、包括聚丙烯的芯层和包括消光母料的消光层通过共挤出双向拉伸工艺制备而成,所述芯层位于所述功能层和消光层之间。通过控制改性乙烯‑醋酸乙烯树脂的熔融指数为1‑6.5g/10min,其热稳定性得到改善,在加工过程中不易黏连滚筒,生产效率得到提高,还能够避免功能层在挤出过程中发生热降解,同时还能提高其与芯层聚丙烯树脂之间的匹配性、结合力,使其能够通过共挤出与聚丙烯树脂熔体直接复合成膜。

标签:
复合材料
重庆 - 重庆 来源:北方有色网 2023-03-18
新型一硫化钛纳米材料及其复合材料的制备与吸波用途

本发明属于吸波材料技术领域,具体涉及新型一硫化钛纳米材料及其复合材料的制备与吸波用途。所述一硫化钛为分散的微米颗粒形式,微米颗粒是由二维纳米片堆叠而成的块体。本发明公开了一种新型的TiS纳米材料,该TiS纳米材料是由二维纳米片堆叠而成的块体,因此其具有更利于吸波效果的片状结构。此外,实验结果证明,该TiS纳米材料在40wt%掺量下,具有最优异的吸波性能,其最小反射损耗可以达到‑47.4dB,有效吸收带宽为5.9GHz,吸收峰值频率为6.8GHz,结果优于目前的二维本体材料。该TiS纳米材料吸波性能优异的原因之一可能是其中的TiS的片层状的微观形貌,使得电磁波折射损耗。

标签:
复合材料
重庆 - 重庆 来源:北方有色网 2023-03-18
隧道轻质无机防火复合材料

本发明是一种隧道轻质无机防火复合材料,由三层材料复合而成,由内向外,第一是喷射无机纤维防火材料,其主分包括无机防火纤维、膨胀蛭石粉粒、膨胀石墨粉粒、普通硅酸盐水泥等、第二层是面层防火材料,其主分包括普通硅酸盐水泥、云母粉、石膏、滑石粉等,第三层是防火装饰材料,为阻燃型单面复合铝箔。该符合材料耐火极限高,在烃火火场高温下导热率仍极低,防火效果优异。

标签:
复合材料
重庆 - 重庆 来源:北方有色网 2023-03-18
铝合金及铝基复合材料表面半固态搅拌涂覆钎料方法

本发明为了解决现有涂层技术中存在周期较长、易生成A14C3脆性化合物、氧化膜去除不彻底的问题,提出一种铝合金及其复合材料半固态旋转涂覆钎料方法,其步骤是:一、通过控温系统和加热系统使钎料处于半固态,将形钎料预置在待焊表面;二、耐高温金属搅拌摩擦头直接放入预置半固态钎料中预热,并与待焊表面保持一定的间隙;三、耐高温金属搅拌摩擦头旋转,使得半固态中的固相成分挤压以至破碎基体氧化膜,在破碎氧化膜的同时,液相部分覆盖在基体表面,避免基体二次氧化,并进行匀速相对运动,形成涂覆钎料,直至处理完毕;本发明操作简单、设备成本低、涂覆钎料温度低、破除氧化膜率高、不存在二次氧化的及改变基体厚度的优点,提高涂覆质量。

标签:
复合材料
重庆 - 重庆 来源:北方有色网 2023-03-18
硬质复合材料内饰板
硬质复合材料内饰板 1109     
 0

本实用新型为一种硬质复合材料内饰板,其特征在于:它是无纺织物或人造革1、硬质聚氨酯泡沫塑料2、玻璃纤维3、无纺维纶布4复合热压而成。此硬质复合材料内饰板,刚度、强大,质量小,隔热、吸音、阻燃、耐腐蚀性能好,是汽车内装的理想材料,亦可用于建筑物室内装饰。

标签:
复合材料
重庆 - 重庆 来源:北方有色网 2023-03-18
适用于高低温环境下的复合材料层合板II型疲劳分层试验装置

本发明涉及一种适用于高低温环境下的复合材料层合板II型疲劳分层试验装置,该装置包括:底座、压盖、矩形孔、滚柱、夹头。通过本发明能够实现对试件的加持,并通过疲劳试验机对试件进行负应力比条件下的II型疲劳加载。此外,本试验装置在试件长度方向可灵活调节结构尺寸,极大地降低了对环境箱空间尺寸的要求,便于不同环境下的II型疲劳分层试验。本发明适用于航空航天工程等领域,用于测试高低温环境下复合材料层合板在负应力比条件下的疲劳分层扩展速率与损伤机理研究,为航空航天结构损伤容限设计提供技术支撑和理论基础,保障结构服役过程中的完整性和安全性。

标签:
复合材料
重庆 - 重庆 来源:北方有色网 2023-03-18
免喷涂聚丙烯复合材料及其制备方法

本发明公开了一种免喷涂聚丙烯复合材料及其制备方法,其由聚丙烯50~80份、增韧剂10~30份、滑石粉5~20份、疏水改性剂0.5~5份、抗静电剂1~10份、金属铝粉1~3份、增亮改性剂0.5~3份、润滑剂0.1~1份、抗氧剂0.1~1份和耐候剂0.1~0.5份按照重量份制备而成。该免喷涂聚丙烯复合材料具有干态防尘湿态疏水的自清洁效果,并且材料表面具有优异的光泽和金属质感。

标签:
复合材料
重庆 - 重庆 来源:北方有色网 2023-03-18
纳米颗粒玻璃复合材料及其制备与在玻璃中的应用

本发明属于纳米材料及玻璃制备技术领域,具体公开了一种纳米颗粒玻璃复合材料及其制备与在玻璃中的应用。本发明首先通过高能物理分散方式将纳米颗粒与玻璃粉末在熔盐中进行均匀混合,然后用溶剂将混合均匀块体中的盐溶解掉,过滤、烘干、研磨后得到粉末状的纳米颗粒复合母材;将纳米颗粒复合母材预处理后通过机械搅拌方式加入液体玻璃中,可制备成一种新型玻璃。熔盐可以除掉纳米颗粒表面的氧化层,降低界面能,使得纳米颗粒能够在玻璃中形成均匀分布且稳定的纳米复合材料体系,从而提高玻璃的强度与断裂韧性。

标签:
复合材料
重庆 - 重庆 来源:北方有色网 2023-03-18
致密软磁复合铁芯材料的制备方法及软磁复合材料

本发明公开了致密软磁复合铁芯材料的制备方法及软磁复合材料,步骤为:分别准备金属软磁粉、软磁铁氧体粉和玻璃助烧剂粉,将这三种粉末混合得到复混粉末,再将复混粉末进行真空热压处理,得到软磁复合材料,其中金属软磁粉为FeCo粉、FeNi粉和FeSiAl粉中的至少一种,软磁铁氧体粉为镍锌铁氧体粉和/或锰锌铁氧体粉。本发明的有益效果:能够制得密度高、饱和磁化强度高同时磁导率高、磁损耗低的复合铁芯材料,具有较好的应用前景。

标签:
复合材料
重庆 - 重庆 来源:北方有色网 2023-03-18
采用多级吸附法制备低VOC、低气味聚丙烯复合材料的方法及装置

本发明涉及一种采用多级吸附法制备低VOC、低气味聚丙烯复合材料的方法及装置,属于高分子材料技术领域。该方法具体为:将用于制备所述聚丙烯复合材料的各组分混匀后,加入挤出机,挤出后冷却固化、干燥即可,在所述挤出机中塑化时依次通过吸附剂A、吸附剂B和吸附剂C逐级吸附,所述吸附剂A的孔径>所述吸附剂B的孔径>所述吸附剂C的孔径。采用多级吸附法,不仅吸附效果好,而且用量小,对基体材料性能的影响小,适用范围广。

标签:
复合材料
重庆 - 重庆 来源:北方有色网 2023-03-18
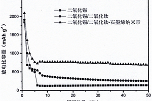
二氧化锡/二氧化钛球形颗粒与石墨烯纳米带复合材料的制备方法

本发明属于锂离子电池技术领域,具体涉及一种锂离子电池负极材料的制备方法。即一种二氧化锡/二氧化钛球形颗粒与石墨烯纳米带复合材料的制备方法,以锡酸钾和尿素为原料,采用水热法合成二氧化锡空心球,然后与钛酸四丁酯混合,通过溶胶凝胶法制备二氧化锡/二氧化钛球形颗粒,最后与石墨烯纳米带分散液混合得到二氧化锡/二氧化钛‑石墨烯纳米带复合材料产品,操作简便,成本低廉,环境友好,所制得的产物具有较高的容量与优异的循环性能,可广泛应用于高功率锂离子电池、超级电容器的负极材料。

标签:
复合材料
重庆 - 重庆 来源:北方有色网 2023-03-18
电瓷水泥胶合剂复合材料型配方

本发明涉及一种电瓷绝缘子生产用料,具体涉及一种电瓷水泥胶合剂复合材料型配方;由以下质量份的组分混合构成:硫铝酸盐水泥:100,胶装石英砂:45~55、水:27、外加剂:0.4~0.5,硅微粉:2~3,玻璃纤维:0.08~0.11;其中,硫铝酸盐水泥颗粒的细度≤0.09mm;胶装石英砂0.3~1mm的颗粒大于80%;水的PH值为7.0~7.2,水温<35℃;采用本发明技术方案的电瓷水泥胶合剂复合材料型配方能够大幅提高电瓷水泥胶合剂早期强度。

标签:
复合材料
重庆 - 重庆 来源:北方有色网 2023-03-18
高铜含量W-Cu复合材料及其制备方法

本发明是一种高铜含量W-Cu复合材料及其制备方法,特征在于原料,及工艺上的改进,使制得的复合材料具有铜含量高,可达到70%以上,且具有组织均匀性和高致密性的特点。

标签:
复合材料
重庆 - 重庆 来源:北方有色网 2023-03-18
三维多孔碳结构锂硫电池正极复合材料的制备方法

本发明涉及电化学储能材料技术领域,具体涉及一种三维多孔碳结构锂硫电池正极复合材料的制备方法;本发明利用自发泡法构筑一种具有多级孔结构的三维碳骨架,作为活性物质单质硫的载体,与单质硫复合后,采用原位的方式,在其表面形成导电高分子聚合物包覆改性,作为复合电极材料用于锂硫电池正极;本申请的多元复合材料能促进离子传输,而且其三维骨架结构提供连续电子通路,因而具有优良的储锂性能,高分子聚合物原位包覆形成有效的三维导电网络结构,对单质硫及电池中间产物具有一定的吸附作用,可缓解充放电反应过程中产生的体积膨胀问题,改善锂硫电池的循环性能,为锂硫电池正极材料设计构筑提供了新思路。

标签:
复合材料
重庆 - 重庆 来源:北方有色网 2023-03-18
复合材料液氧贮箱用环氧树脂体系及其制备方法

本发明涉及一种复合材料液氧贮箱用环氧树脂体系及其制备方法,属于树脂材料改性领域。所述环氧树脂体系按重量份由下述组分组成:62~69份双官能团环氧树脂、15~26份溴化环氧树脂、10~20份多官能团环氧树脂、25~32份固化剂、5~10份增韧型磷系阻燃剂、1~5份增韧型纳米阻燃剂。本发明采用低温下具有较好柔韧性的双功能团环氧树脂做主体,引入兼具阻燃及低温增韧功能的溴化环氧树脂、磷系阻燃剂及纳米阻燃剂,并通过多功能团环氧树脂改善树脂的热稳定性、调节树脂体系的粘度,可满足大型复合材料液氧贮箱对树脂体系液氧相容性、低温力学性能和热熔法预浸料工艺性能三方面的要求。

标签:
复合材料
重庆 - 重庆 来源:北方有色网 2023-03-18
改性金属基复合材料的制备方法

本发明涉及一种改性金属基复合材料的制备方法。它包括以下步骤:(1)改性剂粉末的制备;(2)分别称取相应的配料粉末和改性剂粉末,将其混合配置成粉末混料;再加入石蜡然后将其混合球磨、喷雾干燥;将干燥后的粉末模压成型,最后进行过压烧结,于烧结结束前充入氩气,直至烧结完成。本发明具有成本低、设备及操作简单,易于工业化等诸多优点,可制备出材料性能效果优异的改性金属基复合材料。

标签:
复合材料
重庆 - 重庆 来源:北方有色网 2023-03-18
多层叠加曲面体柱胞结构的夹芯复合材料

本发明公开了多层叠加曲面体柱胞结构的夹芯复合材料,在第一面板和第二面板之间,设置有若干个由多块曲面体同向重叠构成的吸能柱胞,最上面一块曲面体的外侧与第一面板的内侧面接触或连接,至少一块曲面体与第二面板的内侧面接触或连接;曲面体是薄壁空心结构。本发明的夹芯复合材料,吸能密度高,在同厚度尺寸条件下,通过多级变形吸能,变形程度越大,则吸能效能越高;多层曲面体变形具有渐进吸能优点,并且避免了其他柱胞类型内应力峰值较高对支撑结构产生的负面影响,柱胞结构承受冲击荷载的内应力随变形逐步加大,不会出现较大内应力峰值突然增加情况;易于加工制作,易于进行工业化生产。

标签:
复合材料
重庆 - 重庆 来源:北方有色网 2023-03-18
具有嵌块结构的白炭黑/麻纤维/聚合物复合材料

本发明提出一种具有嵌块结构的白炭黑/麻纤维/聚合物复合材料,其包括如下重量份配比的原料:低密度聚乙烯(LDPE)100、麻纤维10、气相白炭黑5‑20、助包覆剂0.5‑2.0,本发明利用助包覆剂将气相白炭黑直接包覆于麻纤维表面,无需对白炭黑和麻纤维各自进行偶联剂处理后再分别加入热塑性聚合物基体,工艺过程简单,制备的复合材料具有特殊的“嵌块”结构,即被白炭黑包覆后的麻纤维形成约50‑100μm的纤维束“嵌块”分散于热塑性聚合物基体中。

标签:
复合材料
重庆 - 重庆 来源:北方有色网 2023-03-18
PVDF-HFP/CB压电复合材料薄膜和该薄膜的制备方法

本发明公开了一种PVDF-HFP/CB压电复合材料薄膜和该薄膜的制备方法。该压电复合材料薄膜包括PVDF-HFP和炭黑颗粒,在PVDF-HFP基体中添加质量百分比为0.05%~0.8%的炭黑颗粒。其制备方法为:1、将炭黑颗粒与溶剂混合搅拌制成悬浊液,再加入PVDF-HFP经搅拌制得PVDF-HFP溶液,使混合物充分混合;2、将混合溶液在行星搅拌器中再搅拌10分钟以上,脱泡2分钟以上;3、将溶液倒在热铝板上,加热,将溶剂去除,得到初结晶后的薄膜;4、在万能试验机中将薄膜在55℃~65℃左右进行拉伸;5、对薄膜进行分步极化。本发明的优点是压电性能指标比纯PVDF-HFP有明显增加,当CB质量百分比为0.5%时,标准开环电压比纯PVDF-HFP时增加了1倍左右,交流输出功率提高了3.6倍,直流输出功率提高了4.6倍。

标签:
复合材料
重庆 - 重庆 来源:北方有色网 2023-03-18
碳纤维/空心微珠/聚丙烯三元复合材料及其制备方法

本发明公开了碳纤维/空心微珠/聚丙烯三元复合材料,三种物质的重量配比为:聚丙烯100份,碳纤维2—30份,空心微珠大于0小于30份。本发明的三元复合材料,以热塑性聚丙烯树脂作为基体材料,用碳纤维及空心微珠对其进行共混改性,最终获得了在较少碳纤维添加的情况下同时增强增韧的碳纤维/空心微珠/聚丙烯三元共混体系;在碳纤维/聚丙烯复合体系中引入第三相空心微珠,在冲击过程中主要的承受载体由碳纤维变成了空心微珠,从而实现了复合体系的增韧,而且在相同添加量下,相对于添加PP-g-MAH,添加空心微珠对体系力学性能的影响更为显著,成本也明显降低。

标签:
复合材料
重庆 - 重庆 来源:北方有色网 2023-03-18
碳纳米管、聚苯胺复合材料薄膜的电致变色器件

本实用新型涉及电致变色材料及其相关器件,具体为一种碳纳米管、聚苯胺复合材料薄膜的电致变色器件。一种碳纳米管、聚苯胺复合材料薄膜的电致变色器件,其特征在于:电致变色器件自上而下依次为第一透明玻璃衬底层(1)、导电电极上层(2)、碳纳米管聚苯胺电致变色层(3)、离子导电层(4)、离子储存层(5)、导电电极下层(6)、第二透明玻璃衬底层(7)、绝缘封装材料(8),导电电极层上层(2)有引出导线(9)并与导电电极下层(6)连接。

标签:
复合材料
重庆 - 重庆 来源:北方有色网 2023-03-18
高分子复合材料用预热装置

本实用新型公开了一种高分子复合材料用预热装置,涉及复合材料生产技术领域。本实用新型包括外箱,所述外箱的内部安装有预热内箱,且外箱的底部固定连接有导料斗,所述外箱的内部安装有用于对材料进行搅动的搅动组件,将材料倒入预热内箱内,通过预热内箱内部的加热构件对材料进行预热处理,并在搅动组件的运转下,使得搅动组件内部构件对预热内箱内的材料进行搅动,继而使预热内箱内部材料充分受热,提高预热效果,当预热内箱对材料进行预热时,可在推动组件的运转下,使得推动组件内部构件对预热内箱进行推动,继而使预热内箱产生晃动,使得预热内箱内部材料进行翻腾,使得材料均匀受热,继而避免部分材料长时间受热而融化。

标签:
复合材料
重庆 - 重庆 来源:北方有色网 2023-03-18
提高PLLA/PMMA相容性及结晶度的复合材料及其制备方法

本发明提供了一种提高PLLA/PMMA相容性及结晶度的复合材料及其制备方法,该复合材料包括以下重量份数的原料:左旋聚乳酸30~70份、聚甲基丙烯酸甲酯30~70份和聚乙烯基甲基醚5~25份。本发明通过向PLLA/PMMA共混物中添加PVME,使共混组分变得微细,提高了共混组分的分散均匀性,从而降低了共混组分从相分离转变为均相结构的温度,还会促进体系的结晶速率和提高结晶组分的结晶度,从而解决了PLLA/PMMA共混体系存在的缺陷。本发明制备方法简单易控,原料简单易得,无助剂添加,生产成本低、污染少,可实现大规模工业化生产,同时也为聚合物共混提供了新的思路,具有一定的理论研究指导意义。

标签:
复合材料
重庆 - 重庆 来源:北方有色网 2023-03-18
超高流动性、高刚性、高抗冲的聚丙烯纳米复合材料及其制备方法

本发明公开了一种超高流动性、高刚性、高抗冲的聚丙烯纳米复合材料及其制备方法,由下列重量百分比的原料组成:聚丙烯45‑69%;超细无机填料15‑20%;纳米填料1‑5%;弹性体增韧剂15‑25%;稳定剂0.1‑2%;其它添加剂0‑5%。本发明的优点是:1、利用纳米球形填料的尺寸效应及形貌特点,与高流动性聚丙烯树脂基体协同作用,可以大幅度提升聚丙烯复合材料的流动性,获得极佳的加工性能,适用于壁厚极薄的注塑零件。2、通过纳米球形填料与微米级片状无机粉体、以及传统弹性体增韧剂的协同作用,可以保持刚性不降的前提下有效提升材料的抗冲击性能。3、可以用于壁厚2.2毫米以下的大型薄壁注塑零件,大幅度减重的同时还能保持零件有足够的强度和抗冲击能力。

标签:
复合材料
重庆 - 重庆 来源:北方有色网 2023-03-18
高性能PP/玉米秸秆复合材料及其制备方法

本发明公开了一种高性能PP/玉米秸秆复合材料,按重量份计,其制备原料包括:PP树脂100份、木质素磺酸钠8‑15份、纳米二氧化钛5‑10份、纳米二氧化硅5‑10份、聚磷腈/聚醚砜嵌段共聚物包覆玉米秸秆粉5‑12份、PP‑g‑MAH 5‑10份、相容剂5‑10份和抗氧剂0.5‑1份。本发明所得高性能PP/玉米秸秆复合材料具有力学强度高、阻燃性能好且成本较低的特点,有很好的市场前景。

标签:
复合材料
重庆 - 重庆 来源:北方有色网 2023-03-18
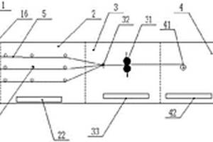
复合材料生产线
复合材料生产线 1107     
 0

本发明涉及复合材料技术领域,具体为复合材料生产线。所述剪切组件位于生产线组件的中端一侧,其中生产线组件包括有组件外壳、传输辊、第一导向槽、第二导向槽、内置槽、伸缩杆、支撑弹簧、承载板与固定板,所述传输辊由转轴对称固定在组件外壳的内端两侧,其中第一导向槽贯穿开设在组件外壳的一端两侧,所述第二导向槽对称贯穿开设在组件外壳的中端一侧,使得两个切片整合靠近,实现对片材的剪切,这种剪切方式,可以最大程度上避免片材出现剪切不整齐的现象,可以有效的保证片材的剪切质量;防止在片材剪切完成之后,未剪切的片材出现松弛的现象,可以有效的保证片材的正常运输,以后后续剪切。

标签:
复合材料
重庆 - 重庆 来源:北方有色网 2023-03-18
基于固态碳源的高导电石墨烯金属复合材料制备装置

本实用新型属于石墨烯制备技术领域,具体涉及基于固态碳源的高导电石墨烯金属复合材料制备装置,所述制备装置包括:生长腔室,生长腔室连通有进样室和热压腔室,且位于所述进样室和热压腔室之间;进样室设置有固态碳源进样机构和金属基材进样机构,生长腔室设置有第一加热机构,热压腔室设置有热压机构和第二加热机构;及用于向进样室、生长腔室和热压腔室通入辅助气体的辅助气体气路机构。采用该装置生产石墨烯金属层状复合材料,固态碳源能够通过固态碳源进样机构进入进样室内,在较低温度下裂解为石墨烯成核生长所需的含碳活性基团,从而降低石墨烯生长所需要的温度,加快石墨烯生长速度,缩短生长时间,降低能耗,提高产能。

标签:
复合材料
重庆 - 重庆 来源:北方有色网 2023-03-18
连续纤维复合材料汽车前罩及车辆

本实用新型公开了一种连续纤维复合材料汽车前罩及车辆,包括内板和外板,所述外板盖合于内板上且与内板固连,所述内板和外板均由连续纤维增强复合材料制成,内板中部设有中空区域,所述内板在中空区域周边间隔设有多个与中空区域连通的第一吸能缺口,在所述内板后端边缘间隔设有多个第二吸能缺口。其能够在实现轻量化的同时,提升行人保护性能。

标签:
复合材料
重庆 - 重庆 来源:北方有色网 2023-03-18
聚丙烯复合材料及其制备方法和应用

本发明公开了一种聚丙烯复合材料及其制备方法和应用,其由高熔指聚丙烯40‑60份、中熔指聚丙烯15‑30份、低熔指聚丙烯5‑15份、弹性体1‑20份、成核剂0.05‑0.5份、相容剂0.05‑0.5份、碱式硫酸镁晶须1‑20份和助剂0.5‑3份按照重量份共混后经双螺杆挤出机挤出制得;并通过调节所述双螺杆挤出机主喂与侧喂、侧喂与机头的剪切块分布,使得得到的聚丙烯复合材料具有高流动性、高刚性、高韧性且低密度的特点。

标签:
复合材料
重庆 - 重庆 来源:北方有色网 2023-03-18
陶瓷复合材料制备系统
陶瓷复合材料制备系统 1154     
 0

本发明公开了一种陶瓷复合材料制备系统,包括圆形壳体、料液进液管、进水管、出料管以及排气管。本发明,设计的陶瓷复合材料制备系统通过DCS控制器控制减速电机,减速电机通过密封轴承带动旋转杆和螺旋叶片进行转动,对圆形壳体内部的料液进行搅动,使得料液的各原液混合充分,受热均匀,加热均匀,各个原料间混合质量高,缩短加热时间,提高工作效率,通过温控开关控制电加热丝和电加热板,在温度时过高断开电源,在温度过低时接通电源,从而便于对圆形壳体内部进行控温,使得圆形壳体内部处于恒温的状态,在环形卡块和环形槽以及拉环的相互配合下,使得过滤层便于拆装,从而使得过滤层便于清洗,节省人力。

标签:
复合材料
重庆 - 重庆 来源:北方有色网 2023-03-18
上一页 24 25 26 27 28 ... 52 下一页
共52页    到第

北方有色为您提供最新的重庆有色金属复合材料技术理论与应用信息,涵盖发明专利、权利要求、说明书、技术领域、背景技术、实用新型内容及具体实施方式等有色技术内容。打造最具专业性的有色金属技术理论与应用平台!

全国热门有色金属设备推荐
展开更多 +
全国热门有色金属技术推荐
展开更多 +

 

江西省隆恩特环保设备有限公司
宣传

报名参会
更多+

报告下载

有色专家
更多+

长春黄金研究院有限公司
总经理
矿冶科技集团江苏北矿金属循环利用科技有限公司
书记 / 总经理
广东省科学院资源利用与稀土开发研究所
教授
赣州江钨钨合金有限公司
工程师
西安建筑科技大学
院长/教授
赤泥综合利用研究报告2025
推广

热门技术
更多+

推荐企业
更多+

福建省金龙稀土股份有限公司
宣传

发布

在线客服

公众号

电话

顶部
咨询电话:
010-88793500-807