青岛垚鑫智能科技有限公司
宣传

位置:北方有色 >

有色技术频道 >

> 无损检测技术

分类:
全部
矿山技术
冶金技术
材料制备及加工技术
环境保护技术
分析检测技术
 
全部
物理检测技术
化学分析技术
力学检测技术
无损检测技术
失效分析技术
环境检测技术
地区:
全部
北京
天津
上海
重庆
河北
山西
辽宁
吉林
黑龙江
江苏
浙江
安徽
福建
江西
山东
河南
湖北
湖南
广东
海南
四川
贵州
云南
陕西
甘肃
青海
内蒙
广西
西藏
宁夏
新疆
其他
其他
展开
 
全部
西安
宝鸡
咸阳
铜川
渭南
延安
榆林
汉中
安康
商洛

陕西有色金属无损检测技术理论与应用

免费发布技术信息>>
条烟混牌检测系统
条烟混牌检测系统 891     
 0

本实用新型提供一种条烟混牌检测系统。所述条烟混牌检测系统包括:输送机构;控制箱,所述控制箱固定于所述输送机构的一侧;读码器,所述读码器固定于所述输送机构的上方;分烟器,所述分烟器固定于所述输送机构的上方,所述分烟器位于所述读码器的输出方向上;外观检测装置,所述外观检测装置设置于所述输送机构上。本实用新型提供的条烟混牌检测系统具有系统自动检测条烟混牌并自动剔除混牌条烟,同时声光报警;系统自动检测烟条上下两面外观质量,出现的严重鼓包、变形、条透玻璃纸挂烂、散开等缺陷,并实现剔除,混牌烟条检出、自动剔除准确率100%;整班误检误剔率<0.01%;散包烟条检出、自动剔除准确率100%;剔除烟条外观完好无损伤。

标签:
无损检测
陕西 - 宝鸡 来源:北方有色网 2023-03-19
多株幼苗外观特征连续检测装置

本发明公开了一种多株幼苗外观特征连续检测装置,包括封闭式育苗箱、三维机械臂机构、摄像检测机构、穴盘移动机构以及控制箱等。本装置通过三维机械臂机构、摄像检测机构、穴盘移动机构、育苗箱环境控制系统与控制箱内的控制系统连接,实现摄像检测机构连续采集多株幼苗图像信息;通过控制箱内的控制系统外接内部装有图像处理软件的计算机得到多株幼苗外观特征信息。本装置用于长势均匀一致幼苗外观检测与培育,实现多株幼苗外观特征的连续自动无损检测,属于精密农业机械技术领域,具有检测速率高,操作方便等优点。

标签:
无损检测
陕西 - 西安 来源:北方有色网 2023-03-19
钎焊管焊缝焊接质量的射线检测方法

本发明属于无损检测技术领域,具体是一种钎焊管焊缝焊接质量的射线检测方法。先将钎焊管子试样定位焊;再对步骤一进行了定位焊的未钎焊的管子试样的焊缝进行切向透照,使焊缝位置两侧能够看到清晰的黑线,以此时的焊缝处的透照影像为未形成钎焊缝的第一标准参考样片;再按照步骤二中的透照参数对钎焊后的焊缝进行射线透照并得到钎焊缝的射线检测影像;再选取步骤三中焊缝处具有黑线显示的试样进行焊缝质量的检测,选取焊缝质量检测符合最低合格标准的合格试样的样片作为第二标准参考样片;最后按照步骤二的透照参数对零件焊缝进行射线检测,通过射线检测影像与第一标准参考样片和第二标准参考样片对比来验收零件。该方法快速,高效,成本低。

标签:
无损检测
陕西 - 西安 来源:北方有色网 2023-03-19
基于GaAs双层像增强器的近红外波段远程拉曼检测仪

本实用新型提供了一种基于GaAs双层像增强器的近红外波段远程拉曼检测仪,主要包括785nm纳秒脉冲激光器、窄带滤光片、收集物镜、光栅光谱仪、GaAs像增强器、门控模块、时序模块、耦合透镜和CCD探测器。本实用新型是一种近红外波段的远程拉曼检测技术,在农业、烟草、食品、医药、刑侦、海关、安检、血液检测等应用中具有探测距离远、无损探测、非接触测量、灵敏度高、荧光干扰小、信噪比高等优势。

标签:
无损检测
陕西 - 西安 来源:北方有色网 2023-03-19
管座角焊缝磁性检测的快速扫查装置

一种管座角焊缝磁性检测的快速扫查装置,包括固定于管体外表面周圈的固定装置,固定装置外表面中部区域开有凹槽,凹槽内放置有能够绕固定装置滑动的滑动装置,滑动装置的侧部固定有连接杆,连接杆外端通过手拧螺丝连接吊杆,吊杆在平行于管道轴线的平面内能进行角度调节,以及在管道轴线方向能进行伸缩,吊杆的下端固定有探头固定装置,探头固定装置在平行于管道轴线的平面内能进行角度调节,探头固定装置下端固定有测磁传感器,测磁传感器正对管座角焊缝实现磁性检测,测磁传感器通过数据连接线连接工控机;本实用新型装置可以使传感器在焊缝表面匀速稳定的旋转从而进行无损检测,同时可以克服磁性检测方法直接在焊缝表面移动扫查时的不利因素。

标签:
无损检测
陕西 - 西安 来源:北方有色网 2023-03-19
坩埚检测用辅助固定装置

本实用新型公开了一种坩埚检测用辅助固定装置,包括支撑柱、套设在支撑柱上的旋转座、连接在旋转座顶部的负压吸附座和插设在负压吸附座顶部的初定位台;所述负压吸附座内开设有与真空泵的抽气嘴连通的负压抽气通道,所述初定位台上开设有与所述负压抽气通道连通的竖向通孔;所述初定位台的上表面开设有用于初定位坩埚的凹槽,凹槽、竖向通孔和初定位台均同轴布设。本实用新型通过设置真空泵吸附坩埚,对坩埚的外表面不会造成损伤,能够实现无损检测,使坩埚在一次固定后可检测的侧壁面积极大,避免坩埚的频繁安拆,且通过设置旋转座控制坩埚旋转,使检测人员无需频繁移动检测方位,使检测点更加均匀,从而使检测结果更加可靠。

标签:
无损检测
陕西 - 西安 来源:北方有色网 2023-03-19
重型燃机带涂层透平叶片基体裂纹涡流检测系统及方法

本发明公开了一种重型燃机带涂层透平叶片基体裂纹涡流检测系统及方法,属于无损检测领域,该检测系统包括涡流仪、涡流检测探头等。涡流检测探头与涡流仪连接,对比试样上开设有若干矩形槽。该检测方法对带涂层透平叶片基体裂纹信号敏感度高,能够有效检出最小尺寸为深度=0.1mm、长度=2mm的带涂层透平叶片基体裂纹缺陷,涡流检测探头能够与叶片型面良好贴合,减小因涡流检测探头摇晃和提离产生的干扰,涡流检测探头底部密封块的柔性橡胶泥层和绝缘胶布层便于拆卸、更换,涡流检测工艺参数中设置有涡流信号报警范围,检测员能够清晰区分裂纹信号和正常信号,操作简单易学。

标签:
无损检测
陕西 - 西安 来源:北方有色网 2023-03-19
超声波检测试件纵横波装置

本实用新型属于无损检测技术领域,涉及一种超声波检测试件纵横波装置,适用于对被测试件进行检测时,观察其纵横波。一种超声波检测试件纵横波装置,包括充满了耦合介质的一容器;容器中心设有试件夹具;所述容器为水槽,所述水槽的两个对应侧壁的顶端均设有X轴滑动轨道,X轴滑动轨道之间滑动架设有两个Y轴滑动轨道;两个Y轴滑动轨道分别位于试件夹具的两面;Y轴滑动轨道上滑动设有一旋转平台,所述旋转平台上连接有探头托具。本实用新型中,容器为充满了水的水槽。本实用新型避免了人为因素造成的超声波能量衰减问题,适用于多种材料试件的超声检测,达到检测试件纵横波波形的目的。

标签:
无损检测
陕西 - 西安 来源:北方有色网 2023-03-19
基于机器视觉的玻璃纤维纱线在线检测设备及方法

本发明公开了一种基于机器视觉的玻璃纤维纱线在线检测设备,包括架设于玻璃纤维纱线上方的LED线光源,LED线光源一侧设置有工业相机,LED线光源与工业相机并联有采集触发控制板,采集触发控制板还连接有旋转编码器,旋转编码器位于玻璃纱线生产线上,工业相机连接工业控制计算机输入端,工业控制计算机输出端连接有缺陷报警提示器;本发明还公开了基于机器视觉的玻璃纤维纱线在线检测设备的检测方法,采用机器视觉技术,实现玻璃纤维纱线无接触,无损伤检测,解决了以前无发检测的问题。

标签:
无损检测
陕西 - 西安 来源:北方有色网 2023-03-19
脱粘损伤检测方法、装置及电子设备

本申请提供一种脱粘损伤检测方法、装置及电子设备,涉及结构检测技术领域,该方法包括:测量待检测试件在无损状态下每个压电陶瓷传感器的机电阻抗数据以作为第一基准信号;在待检测试件出现损伤时,测量每个压电陶瓷传感器的机电阻抗数据以作为真实损伤信号,基于第一基准信号和真实损伤信号得到第一损伤指标;将待检测试件上的检测区域划分为多个像素点,将每个像素点与一压电陶瓷传感器的距离代入损伤分布函数,基于第一损伤指标计算每个像素点相对于一压电陶瓷传感器的权重因子,以计算每个像素点的损伤概率;并确定待检测试件上的脱粘损伤位置。能够解决目前对脱粘损伤的检测灵敏度低的问题。

标签:
无损检测
陕西 - 西安 来源:北方有色网 2023-03-19
重型燃机带涂层透平叶片基体裂纹涡流检测探头及制作方法

本发明公开了一种重型燃机带涂层透平叶片基体裂纹涡流检测探头及制作方法,属于无损检测领域,该探头包括:磁芯,激励线圈,检测线圈,外壳,以及探头底部密封块等。该制作方法包括:制作圆柱体磁芯;绕制激励线圈和检测线圈;加工探头外壳;制作探头底部密封块;用探头底部密封块对外壳底部进行封堵;连接信号传输线。本发明涡流检测探头对带涂层透平叶片基体裂纹信号敏感度高,能够与叶片型面很好的贴合,减小因探头摇晃和提离产生的干扰,能够有效检出最小尺寸为深度=0.1mm、长度=2mm的带涂层透平叶片基体裂纹缺陷,探头底部密封块的柔性橡胶泥层和绝缘胶布层便于拆卸、更换。

标签:
无损检测
陕西 - 西安 来源:北方有色网 2023-03-19
弱磁场激励下金属磁记忆检测装置及其使用方法

本发明公开的一种弱磁场激励下金属磁记忆检测装置及其使用方法,属于金属磁记忆无损检测技术领域。包括探头、外壳和PC端;探头嵌套在外壳内,探头与外壳均为非铁磁性材质,探头与外壳之间设有若干压缩弹簧,探头能够在外壳内沿轴向运动;探头内部设有三轴磁阻传感器阵列、电路板和激励磁轭,三轴磁阻传感器阵列设在探头的端板内,激励磁轭包围三轴磁阻传感器阵列,激励磁轭上缠绕有线圈,三轴磁阻传感器阵列和线圈与电路板连接,电路板通过集线束与PC端连接。本发明改善了传统磁记忆检测信号较弱的情况,凸显磁记忆检测信号特征,实现对在役工件前期应力集中状态的快速检测;同时能够使探头检测面充分贴合工件表面,提高检测的效率和精准度。

标签:
无损检测
陕西 - 西安 来源:北方有色网 2023-03-19
便携式植物叶片水分含量检测装置

一种便携式植物叶片水分含量检测装置,涉及植物叶片水分检测领域。包括:发光组件、检测模块和主控模块,发光组件用于向叶片发射检测光线;检测模块用于接收透过叶片的光信号,并将光信号转换为模拟电信号;主控模块同检测模块通信连接,以接收模拟电信号,并通过模拟电信号计算出叶片的水分含量信息。其在对植物叶片水分含量进行测量时,响应速度快,可以在很短的时间内得到输出结果,为人们节省大量时间和劳动力;并且该装置可以实现对植株叶片水分含量的无损测量,在对植株叶片的水分含量进行测量时,不会对植株造成一些不可逆转的伤害。

标签:
无损检测
陕西 - 咸阳 来源:北方有色网 2023-03-19
不受包覆层影响的在役管道缺陷脉冲涡流检测装置

一种不受包覆层影响的在役管道缺陷脉冲涡流检测装置,属石油天然气输送管道检测安全评估技术领域。针对现有在役管道检修效率低、安全防患评估不足的情况下,提出了一种不受在役管线的工况、环境、温度、包覆层等影响的管道缺陷脉冲涡流检测装置,本检测装置包括滑动式扫描机构、数据处理机构和软件处理系统。采用脉冲涡流检测技术为主要主体并结合磁记忆辅助手段,达到对包覆层下金属管道的腐蚀、疲劳缺陷、裂纹等情况进行无损检测,最后给出整段在役包覆层管线的全面数字信息及图谱报表为目的。本实用新型实施有利于提高在役管线检修效率,改变传统经验模式,对输送管道线安全评估剩余寿命分析的发展,具有十分重要意义;且结构简单,便于使用。

标签:
无损检测
陕西 - 西安 来源:北方有色网 2023-03-19
储罐检测数据展示分析方法、系统、介质、设备及应用

本发明属于储罐数据处理技术领域,公开了一种储罐检测数据展示分析方法、系统、介质、设备及应用,所述储罐检测数据展示分析方法包括:通过储罐漏磁检测模块利用无损检测技术获取储罐漏磁检测数据;通过超声导波数据采集模块采集储罐超声导波数据;通过储罐厚度检测模块检测储罐厚度;通过腐蚀信息获取模块获取储罐的腐蚀信息;通过数据分析处理模块实现数据信息的智能处理、分析,并将数据分析结果发送至可视化展示模块;利用spring boot架构完成软件平台建设,通过可视化展示模块利用WebGL技术实现储罐数据的3D可视化展示。本发明实现了储罐底板信息数据的高精度采集与智能分析,切实保障储罐运行安全,避免了泄露事故发生。

标签:
无损检测
陕西 - 延安 来源:北方有色网 2023-03-19
智能完井预埋套管损伤检测系统

本申请公开了一种智能完井预埋套管损伤检测系统,包括拼接设置的多节检测装置;检测装置包括上连接件、下连接件、多层检测机构以及多个挡杆组件;检测机构包括多个检测组件;检测组件包括U形件、第一弹性件和传感器封装件;传感器封装件和第一弹性件设置于U形件内;第一弹性件能够将传感器封装件弹出U形件;挡杆组件将传感器封装件卡接在U形件内;挡杆组件的顶端伸入至上连接件,挡杆组件的底端弹性连接于下连接件。本申请实现了拼接式下放检测装置,拼接完成的同时,传感器封装件自动被弹出贴合到套管外壁,既避免传感器封装件下放过程中被挤压,又能够在下放完成后自动贴合套管外壁,能够很好地将电磁超声无损检测技术运用到井下套管检测。

标签:
无损检测
陕西 - 西安 来源:北方有色网 2023-03-19
针对管道类构件缺陷检测的半柔性电磁超声探头

本发明公开的一种针对管道类构件缺陷检测的半柔性电磁超声探头,属于超声无损检测技术领域。包括若干通过转轴机构依次连接的探头单体,探头单体包括激励线圈电路板、探头壳体和永磁体,探头壳体内部中空,激励线圈电路板固定在探头壳体与待测工件贴合的检测面上,永磁体设在探头壳体内部;相邻探头单体的激励线圈电路板依次连接后连接至超声检测系统。本发明能够缩小探头的等效提离距离,增大在管道内激励出的电磁超声信号的幅值,提高检测精度;对管道类构件缺陷检测具有良好的通用性,减少了作业人员的负重;探头单体相互独立,不会因为单个探头单体的损坏造成整个探头的报废。

标签:
无损检测
陕西 - 西安 来源:北方有色网 2023-03-19
沙棘籽油掺伪的检测方法

本发明提供了一种沙棘籽油掺伪的检测方法,该方法利用傅立叶红外光谱仪作为检测工具,通过利用红外光谱特征区域结合相似匹配法分析建立红外检测模型检测沙棘籽油的掺伪。本发明基于利用红外光谱技术对沙棘籽油掺伪进行定性和定量分析,通过相关系数法进行有效光谱选择,确定有效光谱范围,以期实现检测精度高,选择性好,操作简单、快速、简便的检测对环境友好和无损伤检测的测定要求,取代传统的高成本、费时、费力的测定方法。

标签:
无损检测
陕西 - 西安 来源:北方有色网 2023-03-19
用于在役油管电磁超声自动检测的对比试块及设计方法

本发明属于无损检测技术领域,提供了一种用于在役油管电磁超声自动检测的对比试块及设计方法。其中对比试块包括管体以及开设在管体上的人工缺陷;人工缺陷包括三类,其分别是用于模拟在役油管中的偏磨/裂纹缺陷、用于模拟在役油管中的一般金属损失缺陷、用于模拟在役油管中的坑状金属损失缺陷;其中设计方法包括以下步骤:1)选择与被检测在役油管在外形、材料、粗糙度上相同或相近的管材作为对比试块管体;2)根据所述被检测在役油管上的各种缺陷,在对比试块管体上设计与所述各种缺陷所处位置相同的人工缺陷,通过本发明解决了在役油管电磁超声自动检测对不同类型的缺陷进行定量评定问题。

标签:
无损检测
陕西 - 西安 来源:北方有色网 2023-03-19
重型燃机透平叶片TBCs层间裂纹涡流检测探头及制作方法

本发明公开了一种重型燃机透平叶片TBCs层间裂纹涡流检测探头及制作方法,属于无损检测领域,该涡流检测探头包括:磁芯,激励线圈,检测线圈,外壳,探头底部密封,以及信号传输线。该涡流检测探头制作方法包括:制作圆柱体磁芯;绕制激励线圈和检测线圈;加工探头塑钢外壳;制作探头底部密封;用探头底部密封块对外壳底部进行封堵;连接信号传输线。本发明涡流检测探头对透平叶片TBCs层间裂纹信号敏感度高,能够与叶片型面良好贴合,减小因探头摇晃和提离产生的干扰,能够有效检出最小尺寸为深度=0.1mm、长度=2mm的透平叶片TBCs层间裂纹缺陷,探头底部密封块的柔性橡胶泥层和绝缘胶布层便于拆卸、更换。

标签:
无损检测
陕西 - 西安 来源:北方有色网 2023-03-19
双光束协同的激光冲击波结合力检测装置及方法

本申请提供一种双光束协同的激光冲击波结合力检测方法以及适用于该方法的检测装置,属于激光应用技术领域,通过将现有的单光束改进为双光束,用改进后的双光束按照预设的协同方式冲击待检测复合材料胶粘部件,随后用超声波无损检测装置检测经双光束冲击的区域是否存在层裂缺陷,以此来判断待检测复合材料粘接位置是否满足粘接力标准,本申请的冲击方式包括单面双束延时冲击、双面双束正对冲击和双面双束正对延时冲击三种方式,可检测位于复合材料部件不同深度处胶粘界面的结合力,整个检测方法原理简单、激光参数要求低、操作简易、通用性强、检测快速准确,可适用于树脂基复合材料部件任意深度位置胶粘界面的结合力检测。

标签:
无损检测
陕西 - 西安 来源:北方有色网 2023-03-19
三方位便携式井口部件损伤检测装置

一种三方位便携式井口部件损伤检测装置,该装置由STM32主控制模块、电源模块、X射线机模块、平板探测器模块、便携式PC机、电池检测模块和基体机构组成。STM32主控制模块控制X射线仪激发射线,接收便携式PC机的控制指令;采用碳纳米管做X射线仪发射极可激发出大量电子流;电源模块供给系统工作电压,同时为X射线仪提供高压;使用平板探测器成像技术实现无损伤成像;利用便携式PC机来控制X射线仪,同时对成像数据采集、处理、存储;电池检测模块检测系统电源电压;本实用新型提高了X射线检测的效果,缩小了检测装置体积,给外出作业提供了便捷,通过三个方位实现了装置外侧检测,无需人员手动调整角度,提高了检测人员井场工作的安全性。

标签:
无损检测
陕西 - 西安 来源:北方有色网 2023-03-19
植物叶片含水率检测装置

本实用新型公开了一种植物叶片含水率检测装置,利用介电原理检测植物叶片含水率。该装置包括电容信号检测及处理模块、压力信号检测及调理模块、微控制器、电源供电电路、电源监测电路和输入输出模块。电容信号检测及处理模块包括电容传感器和电容信号处理电路;压力信号检测及调理模块包括压力传感器和压力信号调理电路;电源供电电路用于为整个系统供电;电源监测电路用于监测微控制器的工作电压;输入输出模块包括键盘、通信电路和液晶显示器,分别与微控制器连接。该系统能够选择植物叶片种类,检测植物叶片的电容和极板对叶片的压力,根据电容与不同种类植物叶片的含水率和叶片压力间的关系实现含水率的快速、准确和无损检测。

标签:
无损检测
陕西 - 西安 来源:北方有色网 2023-03-19
重型燃机带涂层透平叶片基体裂纹涡流检测探头

本实用新型公开了一种重型燃机带涂层透平叶片基体裂纹涡流检测探头,属于无损检测领域,该探头包括:磁芯,激励线圈,检测线圈,外壳,以及探头底部密封块等。该探头的制作方法包括:制作圆柱体磁芯;绕制激励线圈和检测线圈;加工探头外壳;制作探头底部密封块;用探头底部密封块对外壳底部进行封堵;连接信号传输线。本实用新型涡流检测探头对带涂层透平叶片基体裂纹信号敏感度高,能够与叶片型面很好的贴合,减小因探头摇晃和提离产生的干扰,能够有效检出最小尺寸为深度=0.1mm、长度=2mm的带涂层透平叶片基体裂纹缺陷,探头底部密封块的柔性橡胶泥层和绝缘胶布层便于拆卸、更换。

标签:
无损检测
陕西 - 西安 来源:北方有色网 2023-03-19
超声波横波检测方法
超声波横波检测方法 1286     
 0

本发明公开了一种超声波横波检测方法,属于无损检测技术领域。所用的耦合剂在耦合时可加热熔化为液体,与工件具有良好浸润性,可以同时与探头和工件表面良好接触;在测试时,该耦合剂可形成固体,最大限度的保留超声波横波的能量,从而大大提高检测精度;该耦合剂可以方便地获取、无毒无害、环境友好、使用方便。检测时,首先将耦合剂进行加热至完全熔化为粘稠液体,然后用横波探头蘸取粘稠液体至待检测工件表面,并按压横波探头使横波探头与待检测工件表面之间形成均匀的耦合剂层,待耦合剂冷却凝固后进行超声波横波检测;操作简便,易于推广应用。

标签:
无损检测
陕西 - 西安 来源:北方有色网 2023-03-19
膜片式压电驱动器缺陷检测方法

本发明属于压电驱动器缺陷检测技术,涉及一种激光陀螺用压电驱动器的缺陷检测方法。本发明属于膜片式压电驱动器检测方法,通过测试膜片式压电驱动器的幅频特性曲线,即通过压电元件内部缺陷、压电陶瓷片与连接基体的连接的缺陷对压电元件的振动模式的影响,从而定性检测压电片的内部缺陷、压电陶瓷片与连接基体的连续性缺陷检测。依靠本方法,可实现检测压电元件的内部缺陷和压电驱动器连接层的连续性缺陷检测,且操作简单,易行,实现了无损检测。相对传统检测方式,可直接检测产品缺陷和连接层缺陷,有检测效率高、检测精度高、检测成本低的优点。

标签:
无损检测
陕西 - 西安 来源:北方有色网 2023-03-19
基于机器视觉的采后甘蓝内外品质检测评价装置

本发明公开了一种基于机器视觉的采后甘蓝内外品质检测评价装置,包括机架,设置在机架上的调向机构、品质检测机构、电机及侧板。电机通过链轮链条传动带动调向机构匀速前进,同时辊轮在齿轮齿条副作用下实现旋转运动;甘蓝受摩擦力作用在辊轮上滚动,因自身单轴对称特性实现调向作业;随后甘蓝进入品质检测机构,通过光电传感器信号控制CCD相机完成全方位的图像获取,进而通过图像处理技术进行大小、颜色及损伤等外观品质检测,并在此基础上通过预测模型进行内部品质预测,最终完成采后甘蓝的品质评价。本发明实现了甘蓝的自动调向以及快速、无损地内外品质检测,提高了作业效率,并为后续整修及分级作业提供了依据。

标签:
无损检测
陕西 - 咸阳 来源:北方有色网 2023-03-19
电磁检测用管状自然缺陷试样及制作方法

本发明属于电磁无损检测领域,公开了一种电磁检测用管状自然缺陷试样制作方法,包括以下步骤:S1:选取棒材并以预设直径在棒材上开设轴向通孔后作为母材;或直接选取预设尺寸的管材作为母材;S2:抛光母材内、外表面,在母材表面上开设若干轴向槽和若干径向槽;S3:将所有轴向槽和所有径向槽均重新焊接,并打磨焊缝余高;S4:抛光S3处理后的母材焊缝区域,得到电磁检测用管状自然缺陷试样。本发明电磁检测用管状自然缺陷试样制作过程简单,成本低,得到的自然缺陷试样包含径向和轴向凹槽缺陷,且可以做为磁粉检测和涡流检测这两种电磁检测方法的教学试样,便于进行电磁检测的教学和培训。

标签:
无损检测
陕西 - 西安 来源:北方有色网 2023-03-19
钢丝绳生产用断丝检测装置

本发明是一种钢丝绳生产用断丝检测装置,包括脉冲消磁器、钢丝绳漏磁检测装置和控制台,所述脉冲消磁器与所述钢丝绳漏磁检测装置同轴心设置;所述钢丝绳漏磁检测装置包括直线导轨、电机驱动器支架、电机驱动器、步进电机、减速器、电机支架、联轴器、导轮、编码器、导轮支架、丝杆支架、双头丝杆和钢丝绳励磁检测盒。所述的一种钢丝绳生产用断丝检测装置的检测过程主要是在钢丝绳励磁检测盒中进行,全过程能实现自动检测,十分贴合生产过程;所述的一种钢丝绳生产用断丝检测装置采用常见的机械机构和无损检测方法,解决了在钢丝绳生产中进行断丝检测的难题,且整个过程安全可靠,工作效率高,人工成本低,具有极大的实际意义与应用价值。

标签:
无损检测
陕西 - 西安 来源:北方有色网 2023-03-19
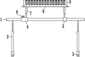
金属管道残余应力检测装置

本实用新型公开了无损检测技术领域的一种金属管道残余应力检测装置,包括横圆柱,所述横圆柱的外壁前后两端均倾斜焊接有第一手动伸缩杆,四组所述第一手动伸缩杆的底端通过焊块固定连接有带刹车的万向轮,所述横圆柱的外壁左侧转动套接有限位套管,所述横圆柱的外壁右侧通过轴承转动连接有转动环,可以将检测部件设置在上方,利用第一手动伸缩杆调节位置,方便上方水平运动的金属管道配合超声波探头进行检测,同时可以将检测部件设置在下方,利用第一手动伸缩杆和第二手动伸缩杆配合调节位置,方便地面上的大直径金属管道配合超声波探头进行检测,该装置操作方便,使用范围广,具有实用性。

标签:
无损检测
陕西 - 西安 来源:北方有色网 2023-03-19
上一页 16 17 18 19 20 ... 31 下一页
共31页    到第

北方有色为您提供最新的陕西有色金属无损检测技术理论与应用信息,涵盖发明专利、权利要求、说明书、技术领域、背景技术、实用新型内容及具体实施方式等有色技术内容。打造最具专业性的有色金属技术理论与应用平台!

全国热门有色金属设备推荐
展开更多 +
全国热门有色金属技术推荐
展开更多 +

 

江西省隆恩特环保设备有限公司
宣传

报名参会
更多+

报告下载

有色专家
更多+

矿冶科技集团江苏北矿金属循环利用科技有限公司
书记 / 总经理
江西理工大学
副校长/教授
赣州有色冶金研究所有限公司
副主任/高级工程师
中铝科学技术研究院有限公司
董事长
清华大学
研究员
赤泥综合利用研究报告2025
推广

热门技术
更多+

推荐企业
更多+

福建省金龙稀土股份有限公司
宣传

发布

在线客服

公众号

电话

顶部
咨询电话:
010-88793500-807