青岛垚鑫智能科技有限公司
宣传

位置:中冶有色 >

有色技术频道 >

> 化学分析技术

分类:
全部
矿山技术
冶金技术
材料制备及加工技术
环境保护技术
分析检测技术
 
全部
物理检测技术
化学分析技术
力学检测技术
无损检测技术
失效分析技术
环境检测技术
地区:
全部
北京
天津
上海
重庆
河北
山西
辽宁
吉林
黑龙江
江苏
浙江
安徽
福建
江西
山东
河南
湖北
湖南
广东
海南
四川
贵州
云南
陕西
甘肃
青海
内蒙
广西
西藏
宁夏
新疆
其他
其他
展开
 
全部
沈阳
大连
鞍山
抚顺
本溪
丹东
锦州
营口
阜新
辽阳
盘锦
铁岭
朝阳
葫芦岛

辽宁大连有色金属化学分析技术理论与应用

免费发布技术信息>>
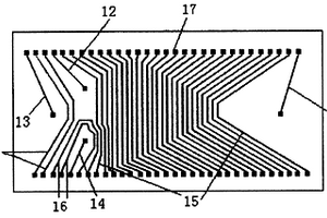
低电压驱动阵列电极式毛细管电泳芯片

本发明属于分析化学中的微全分析系统研究技术领域,用以在芯片毛细管电泳分离过程中实现低电压驱动样品进样。其特征是利用毛细管电泳中电渗流驱动的原理,在玻璃盖片上刻蚀毛细管电泳微沟道,并以热键合的方法封接基片和盖片,制作出阵列电极式毛细管电泳芯片。在“十”字形毛细管电泳芯片的进样沟道和分离沟道上分别设置了一系列电极,即在缓冲液池至十字沟道之间,以及样品废液池至十字沟道之间,都分别设置了阵列电极,通过设计不同的电压组合,在电极上循环施加电压实现样品的进样和分离。本发明的效果和益处是较大幅度降低毛细管电泳的进样和分离电压,使微全分析系统实现真正的集成化和微型化。

标签:
化学分析
辽宁 - 大连 来源:中冶有色网 2023-03-19
功能性纳米稀土荧光微粒及其制备和应用

本发明公开了一种强荧光性稀土荧光纳米微粒(Lanthanide FluorescenceNanoparticles,简称LFNP)的制备及其在生物检测技术中的应用方法。它以强荧光性稀土配合物为发光中心,采用硅胶化学包裹成粒技术制备而成。LFNP的荧光寿命长,Stokes位移大,发射峰窄,特异信号强,用其作为荧光标记物进行时间分辨荧光测定时不受各种散乱光和短寿命荧光对测定的干扰,并且其表面具有化学结合功能的官能团,可直接作为荧光标记物应用于物理、化学以及生命科学领域。

标签:
化学分析
辽宁 - 大连 来源:中冶有色网 2023-03-19
基于激光诱导石墨烯电极的纸基立体微流控生物传感器

本发明涉及一种基于激光诱导石墨烯电极的纸基立体微流控生物传感器,属于疾病检测传感器技术领域。该传感器包含微流控前处理模块和电化学检测模块。微流控模块以纤维素层析滤纸为基材,利用喷蜡打印机构造立体液流通道;电化学检测模块以聚酰亚胺薄膜为基材,利用激光雕刻机制作双面石墨烯电极。两个模块通过夹具压制组装。具有五层结构,分别为加样层、试剂层、检测层、电极层和吸收层。样本从样本层加入后与试剂层试剂结合,在检测层与电极层的激光诱导石墨烯电极接触反应,通过电化学工作站得到量化检测结果,最终在吸收层吸收。本发明将纸芯片与激光诱导石墨烯相结合,制作出一种高效灵敏、绿色环保、工艺简单、成本低廉的新型生物传感器。

标签:
化学分析
辽宁 - 大连 来源:中冶有色网 2023-03-19
管内固相微萃取柱的制备方法

一种管内固相微萃取柱及其制备方法,属于分析化学样品前处理技术领域。所述管内固相微萃取柱由石英毛细管和氧化石墨烯涂层组成,氧化石墨烯涂层是通过化学键合固定在石英毛细管内壁上。制备时,石英毛细管内壁依次用酸洗、碱洗、氮气吹干,将3-氨丙基三乙氧基硅烷(APTES)的甲苯溶液灌入毛细管内,两端密封置于水浴中进行反应,然后将1-乙基-3-(3-二甲基氨丙基)-碳化二亚胺/N-羟基琥珀酰亚胺(EDC/NHS)活化的氧化石墨烯水溶液灌入毛细管内,两端密封于水浴中进行反应,使氧化石墨烯键合到石英毛细管壁上,获得管内固相微萃取柱。本发明的管内固相微萃取柱制备方法简单、快速,石墨烯涂层化学、机械和热稳定好、萃取容量高,使用寿命长,在分析化学、环境分析领域有广阔的应用前景。

标签:
化学分析
辽宁 - 大连 来源:中冶有色网 2023-03-19
二茂铁-多孔金属有机骨架化合物复合材料及制备和应用

本发明涉及纳米多孔金属有机骨架化合物复合材料,具体地说是一种二茂铁-多孔金属有机骨架化合物复合材料及其和应用,二茂铁与多孔金属有机骨架化合物的质量比为50%~200%;可按如下步骤制备,1)制备多孔金金属有机骨架化合物;2)通过气相扩散法将二茂铁负载于多孔材料上。本发明采用纳米级的多孔金属有机骨架化合物固定具有电化学活性的电子媒介二茂铁,用作电极修饰材料,可实现无酶检测过氧化氢。由于纳米材料具有大的比表面积,所以提高了检测的灵敏度,并且可用于其他基于检测过氧化氢的电化学生物传感器。

标签:
化学分析
辽宁 - 大连 来源:中冶有色网 2023-03-19
电增强分子印迹固相微萃取方法

本发明涉及一种电增强分子印迹固相微萃取方法,该方法使用一根导电分子印迹微萃取纤维作为工作电极,铂丝为对电极,饱和甘汞电极为参比电极。在工作电极上施加一个偏压,目标化合物通过电泳和扩散迁移到达工作电极表面,完成分子印迹识别萃取。萃取时,通过电化学工作站或恒电位仪为工作电极提供偏压。导电分子印迹微萃取纤维为直径0.5~1.0mm的金属丝,其一端有厚度50~100μm、长度1~2cm的碳纳米管-导电分子印迹聚合物复合涂层。该萃取方法适合离子型化合物、强极性化合物的萃取;导电分子印迹微萃取纤维制备简单,对目标化合物吸附容量大、萃取效率高、选择性好,可重复使用100次以上,在分析化学、环境分析领域有广阔的应用前景。

标签:
化学分析
辽宁 - 大连 来源:中冶有色网 2023-03-19
车载集成式土壤淋洗修复装置的淋洗模块

本实用新型公开了一种车载集成式土壤淋洗修复装置的淋洗模块,包括化学淋洗搅拌离心机模块、控制系统、入口土壤检测仪和出口土壤检测仪,所述的入口土壤检测仪用于检测原始土壤的污染情况和污染物,并通过控制系统选择化学罐的投药比例;所述的出口土壤检测仪安装在化学淋洗搅拌离心机模块内,用于检测淋洗后土壤的污染情况和污染物;所述的入口土壤检测仪和出口土壤检测仪均与控制系统连接。由于本实用新型在化学淋洗搅拌离心机模块增加了入口土壤检测仪和出口土壤检测仪,通过控制系统合理地控制了投药的比例和淋洗的时间,既避免了土壤的过度淋洗、也避免了土壤的欠修复,从而提高了土壤淋洗的质量和效率。

标签:
化学分析
辽宁 - 大连 来源:中冶有色网 2023-03-19
车载集成式土壤淋洗修复装置的淋洗模块及其淋洗方法

本发明公开了一种车载集成式土壤淋洗修复装置的淋洗模块及其淋洗方法,所述的模块包括化学淋洗搅拌离心机模块、控制系统、入口土壤检测仪和出口土壤检测仪,所述的入口土壤检测仪用于检测原始土壤的污染情况和污染物,并通过控制系统选择化学罐的投药比例;所述的出口土壤检测仪安装在化学淋洗搅拌离心机模块内,用于检测淋洗后土壤的污染情况和污染物;所述的入口土壤检测仪和出口土壤检测仪均与控制系统连接。由于本发明在化学淋洗搅拌离心机模块增加了入口土壤检测仪和出口土壤检测仪,通过控制系统合理地控制了投药的比例和淋洗的时间,既避免了土壤的过度淋洗、也避免了土壤的欠修复,从而提高了土壤淋洗的质量和效率。

标签:
化学分析
辽宁 - 大连 来源:中冶有色网 2023-03-19
纳米尺寸氮化钐粉末及制备方法

本发明公开了一种纳米尺寸金属氮化钐及其制备方法。目前尚未见到纳米稀土金属或纳米 稀土金属氢化物分别与N2反应制备纳米稀土金属氮化物的报道。本发明在较低温度下(低于 400℃)经过1-24小时,制备出纳米稀土氮化物粉末。产品经XRD衍射分析属于面心立方结 构;透射电镜测试表明颗粒直径小于100nm,最小直径为1nm。纳米金属氮化钐能使苯选择加 氢生成环己烯。纳米稀土金属氮化钐化学反应活性较其相应的市售商品高2-4个数量级,它们 将在材料、能源、化工等领域中有重要的应用价值。本项发明设备简单、操作条件易于控制、 生产成本低廉、得到的纳米氮化钐粉末分散度好、活性高。

标签:
化学分析
辽宁 - 大连 来源:中冶有色网 2023-03-19
四环素分子印迹聚合物膜电极及其制备和应用

本发明涉及四环素分子印迹聚合物,及用该聚合物制备电极的电化学检测应用。是由电极基体和基体上覆盖的经过洗脱模板分子的四环素分子印迹聚合物膜构成的,四环素分子印迹聚合物膜是将模板分子、功能单体、交联剂、引发剂、致孔剂混合并超声溶解后通过光聚合法在电极基体上聚合得到的。四环素分子印迹聚合物膜电极可用于电化学法检测水体中的四环素,将膜电极作为工作电极,根据电流-四环素浓度的对应关系,建立标准曲线,用于检测四环素。该检测方法成本低,操作简便,耗时短,可用于畜牧业污水及水产养殖污水样品中四环素残留量的现场快速检测。

标签:
化学分析
辽宁 - 大连 来源:中冶有色网 2023-03-19
蒸煮用表面活性剂的筛选方法

表面活性剂的筛选利于蒸煮工艺的制定,制浆效率的提高,实现高效、节能制浆。本发明涉及一种蒸煮用表面活性剂的筛选方法,属于制浆造纸工程技术领域。该筛选方法利用表面活性剂可降低蒸煮药液表面张力的特性,通过测量进入木片单位体积的渗透液与可溶出物质A的比值,即C/V的大小来筛选表面活性剂对蒸煮效果的影响。本方法无需通过蒸煮,通过普通的化学和紫外光谱分析方法即可筛选出最优的蒸煮用表面活性剂,操作简单、方便可行、快速、准确、经济。本方法的提出利于最优蒸煮工艺的制定以及性能优良蒸煮助剂的开发。

标签:
化学分析
辽宁 - 大连 来源:中冶有色网 2023-03-19
纳米尺寸氮化镧粉末及制备方法

本发明公开了一种纳米尺寸金属氮化镧及其制备方法。目前尚未见到纳米稀土金属或纳米 稀土金属氢化物分别与N2反应制备纳米稀土金属氮化物的报道。本发明在较低温度下(低于 400℃)经过1-24小时,制备出纳米稀土氮化物粉末。产品经XRD衍射分析属于面心立方结 构;透射电镜测试表明颗粒直径小于100nm,最小直径为1nm。纳米金属氮化镧能使苯选择 加氢生成环己烯。纳米稀土金属氮化镧化学反应活性较其相应的市售商品高2-4个数量级,它 们将在材料、能源、化工等领域中有重要的应用价值。本项发明设备简单、操作条件易于控制、 生产成本低廉、得到的纳米氮化镧粉末分散度好、活性高。

标签:
化学分析
辽宁 - 大连 来源:中冶有色网 2023-03-19
纳米尺寸氮化镱粉末及制备方法

本发明公开了一种纳米尺寸金属氮化镱及其制备方法。目前尚未见到纳米稀土金属或纳米 稀土金属氢化物分别与N2反应制备纳米稀土金属氮化物的报道。本发明在较低温度下(低于 300℃)经过1-48小时,制备出纳米稀土氮化物粉末。产品经XRD衍射分析属于面心立方结 构;透射电镜测试表明颗粒直径小于100nm,最小直径为1nm。纳米金属氮化镱能使苯选择加 氢生成环己烯。纳米稀土金属氮化镱化学反应活性较其相应的市售商品高2-4个数量级,它们 将在材料、能源、化工等领域中有重要的应用价值。本项发明设备简单、操作条件易于控制、 生产成本低廉、得到的纳米氮化镱粉末分散度好、活性高。

标签:
化学分析
辽宁 - 大连 来源:中冶有色网 2023-03-19
对可溶性抗体进行纯化的方法

本发明公开了一种对可溶性抗体进行纯化的方法。具体步骤为:首先将优化条件下诱导表达的600mL菌液离心后收集菌体,PBS重悬超声裂解(80W,30min),离心收集裂菌上清,经ProteinL柱纯化,10%SDS-PAGE监测纯化的效果;10%SDS-PAGE分离纯化的抗人大肠癌P-gp21Fab抗体,电转至PVDF膜;以HRP标记的山羊抗鼠IgG抗体震荡孵育后;ECL化学发光显影,定影;同时将人大肠癌P-gp21经10%SDS-PAGE电泳,电转至NC膜;纯化的Fab抗体作一抗,AP标记的马抗小鼠IgG抗体为二抗,BCIP/NBT显色。阴性对照为pComb3裂菌上清,阳性对照为抗Histag抗体。本发明的有益效果是,实验数据准确,可以定性、定量分析,同时为后续展开的人源化提供依据和支持。

标签:
化学分析
辽宁 - 大连 来源:中冶有色网 2023-03-19
电工硅钢导电金相样品制备方法

一种电工硅钢导电金相样品制备方法,其制备步骤如下:冲裁打磨样品;②制备导电电极;③粘贴导电胶带;④镶嵌。本发明提供的一种电工硅钢导电金相样品制备方法,其优点是:制备简便、快速、成本低、技术稳定可靠,不需要使用专门设备,在普通实验室内即可完成,镶嵌后的样品可以进行电化学抛光和金相、SEM和EBSD分析测试。

标签:
化学分析
辽宁 - 大连 来源:中冶有色网 2023-03-19
用尘埃等离子体在常温下沉积碳化硅薄膜的装置

本发明属于低温等离子体化学技术领域。本发明由不包含基片的温度测控的等离子体辅助沉积碳化硅薄膜的装置加上尘埃颗粒的监控部分组成,其特征是:由激光器和光具组来照明尘埃颗粒,由记录设备和计算机来记录和分析尘埃颗粒的状况,沉积碳化硅薄膜的反应室设计成透明的或开一个以上观察窗口,用微凹的驱动极,直流负偏压电源,从反应室外向反应室内投入尘埃颗粒的部件来控制尘埃颗粒。本发明的效果和益处是能克服传统方法中由于高温所致的种种缺点,能够在常温下沉积碳化硅薄膜,可广泛用于需要沉积碳化硅薄膜的各种领域,改变工作介质,还可沉积其他类型的薄膜。

标签:
化学分析
辽宁 - 大连 来源:中冶有色网 2023-03-19
移动式全集成土壤淋洗快速修复系统

本发明公开了一种移动式全集成土壤淋洗快速修复系统,包括筛选破碎模块、化学淋洗模块、能源供应模块、化学试剂输送模块、检测模块、泥浆泵送模块和电气控制柜;所述化学试剂输送模块包括化学试剂储藏箱、化学试剂搅拌罐、计量泵、液压站及干粉送料箱;所述检测模块包括进料检测器与出料检测器。本发明增加了化学试剂输送模块、检测模块、泥浆泵送模块、电气控制柜及自动控制装置,并集成在一台运输车上,形成了一套高度集成、独立完整的土壤修复设备,可以根据需要,随时开赴到需要进行土壤修复的场地。同时能够在进行土壤修复时,实时对土壤进行检测,既能更好地控制化学试剂的用量,节约原材料;同时又能确保修复的土壤达到处理要求。

标签:
化学分析
辽宁 - 大连 来源:中冶有色网 2023-03-19
带定位装置的层析缸
带定位装置的层析缸 807     
 0

本实用新型涉及一种借助于测定材料的化学或物理性质来测试或分析材料的实验器具,尤其涉及一种带定位装置的层析缸。其结构包括缸盖及由U型槽和两块侧板组成的缸体,其特征在于还包括薄层层析板的定位装置,所述的定位装置包括支架结构和定位滑道;支架结构包括支撑棒、支撑棒托板和定位卡子,定位卡子套在两根支撑棒上并可自由滑动,两根支撑棒并排架在两端的支撑棒托板上并粘结固定;定位滑道由上沿和下沿所组成,中间留出插入托板的间隔,滑道上沿和下沿水平粘在所述层析缸的侧板内壁;支架结构通过两块托板插入缸体侧板的定位滑道内。它结构简单,稳固性好,极有效地防止了TLC板在实验过程中的意外倾倒,避免了不必要的浪费及损失。

标签:
化学分析
辽宁 - 大连 来源:中冶有色网 2023-03-19
流通槽装置
流通槽装置 1140     
 0

本实用新型公开了一种流通槽装置,包括流通槽,所述流通槽的左侧中下部连接有进样管,且所述流通槽的内壁上端设有COD传感器,所述COD传感器通过导线与水质监测分析仪电性连接,所述流通槽的底部固定有排样管,所述排样管连接于排污管,所述流通槽的右侧上部固定有溢流管,所述溢流管与排污管连通。该流通槽装置,其流通槽尺寸与COD传感器尺寸相匹配,通过进样管连续进样,COD传感器能够实时监测流通槽内液体的化学需氧,且进样速度大于排样速度,多余水样通过溢流管溢流出去然后从排污管排放到排污池中;本实用新型设计合理,结构简单,其流通槽任意拆卸,便于清洗,在化工行业中具有很好的利用前景。

标签:
化学分析
辽宁 - 大连 来源:中冶有色网 2023-03-19
纳米镨、纳米氮化镨及其制备方法

本发明公开了一种纳米镨、纳米氮化镨及其制备方法。在100~300℃、常压条件下,将纳米氢化镨在真空热解得到纳米镨。经透射电镜电子选区衍射测定基结构为属面心立方晶系,颗粒尺寸小于100nm。纳米镨活性高,在常压、(300~400℃)条件下与氮气反应24-48小时生成纳米氮化镨,产品经XRD衍射分析属于面心立方结构;透射电镜测试表明颗粒直径小于100nm,最小直径为1nm。纳米氮化镨能使苯选择加氢生成环己烯。纳米镨、纳米氮化镨化学反应活性高,将在材料、能源、化工等领域中有重要的应用价值。本项发明设备简单、操作条件易于控制、生产成本低廉、得到的纳米镨、纳米氮化镨粉末分散度好、纯度高。

标签:
化学分析
辽宁 - 大连 来源:中冶有色网 2023-03-19
同步评价污水好氧工艺中有机磷酸酯去除及其毒性消减的方法

本发明属于化学品环境风险评价技术领域,公开了一种同步评价污水好氧工艺中有机磷酸酯去除及其毒性消减的方法。方法基于发现污水厂好氧污泥脱氢酶与有机磷酸酯作用存在Hormesis效应,包括海洋发光菌培养、污染物急性毒性测试、污水处理厂污泥稳定度测定、评价污水处理工艺中污染物的毒性消减效果。通过剂量—效应关系和联合毒性混合毒物分析,挖掘二者之间相互关系。建立同步评价有机磷酸酯去除和毒性消减双反馈机制,有利推进和实现污水处理工艺的智能化调控。

标签:
化学分析
辽宁 - 大连 来源:中冶有色网 2023-03-19
线形共聚焦紫外拉曼光谱仪

一种线形共聚焦紫外拉曼光谱仪,该光谱仪的组成主要包括:紫外激光探测光源、可见激光泵浦光源、柱形光发生器、陷波滤光器、共聚焦及显微成像系统、单光栅色散系统、信号探测器、谱图采集和图像处理系统;该光谱仪采用线形共聚焦信号产生和收集方式、陷波滤光去除瑞利散射干扰、单光栅色散方式,以及通过共振增强原理极大地提高拉曼信号捕获的灵敏度,从技术上弥补拉曼散射信号较弱的缺点,同时避免样品受到强激光单点照射而发生损伤。此外,泵浦光的引入并调控与探测光的空间距离实现对样品状态的动态跟踪。该光谱分析技术适用于生物、药物、有机化学和高分子材料领域。

标签:
化学分析
辽宁 - 大连 来源:中冶有色网 2023-03-19
安全与智能化的实验数据管理系统及方法

本发明提供一种安全与智能化的实验数据管理系统及方法。本发明包括:研究分中心数据管理子系统、数据资源中心子系统、安全控制子系统、数据智能分析子系统、数据可视化子系统、用户管理子系统、数据核查子系统。本发明通过一键式的安装及数据上传功能,极大地减轻了科研人员的安装、上传的负担,通过数据资源中心子系统对来自不同研究分中心的不同格式的化学、物理实验结果进行分类存储,拓宽了数据储存系统的多元性,方便在未来的数据核查的过程中分门别类的可视化检阅,通过在网络、操作系统和应用端均设置的安全控制子系统,有效地保证实验数据的真实可靠性,极大地降低了学术造假的可能。本发明可在实验数据管理技术领域广泛推广。

标签:
化学分析
辽宁 - 大连 来源:中冶有色网 2023-03-19
评定ASME核一级容器用钢板的方法

一种评定ASME核一级容器用钢板的方法,属于普通碳钢板的评定领域。技术解决方案主要是:按照ASME规范第III卷NCA分卷NCA-3855.5的要求,通过材料或库存材料获得普通碳钢钢板后,首先证明该钢板上没有进行过任何焊接操作,然后进行化学成分分析,执行材料(SA516-485)技术规格书中要求的所有检验和试验项目,最后由制造厂出具认证材料试验报告,证明该材料符合核一级SA516-485的所有要求,则该钢板可以用于ASME核一级设备上;其有益效果是:既可以节约成本,又可以缩短采购周期,进而缩短设备的制造周期。

标签:
化学分析
辽宁 - 大连 来源:中冶有色网 2023-03-19
上转换及近红外发射荧光体及其制备方法

本发明涉及一种用于红外光激发上转换及近红外发射铝酸盐荧光体及其制备方法,属于发光材料技术领域。本发明铝酸盐上转换及近红外发射荧光体的化学表达式为MLn1-x-yAlO4:Rex,Yby,其中,M=Ca,Ba,Sr;Ln=Y,Gd,La;Re=Er,Tm,Ho,Nd,Pr,其中,0<x≤0.2,0<y≤0.2。本发明按化学表达式MLn1-x-yAlO4:Rex,Yby计量比称取定量分析纯的Al(NO3)3·9H2O、碱土金属硝酸盐以及稀土金属硝酸盐,采用共沉淀法合成制得,沉淀剂为K2CO3。本发明的制备方法简单,合成的铝酸盐荧光体具有上转换及近红外发光亮度高的优点,是应用在显示、激光防伪和红外探测上的理想荧光材料。

标签:
化学分析
辽宁 - 大连 来源:中冶有色网 2023-03-19
高效上转换发射荧光体及其制备方法

本发明涉及一种用于红外光激发高效上转换发射锌酸盐荧光体及其制备方法,属于发光材料技术领域。本发明锌酸盐高效上转换发射荧光体的化学表达式为M5Ln8(1-x-y)Zn4O21:Re8x,Yb8y(M=Ca,Ba,Sr;Ln=Gd,Y,La;Re=Er,Ho,Tm)。本发明按化学表达式M5Ln8(1-x-y)Zn4O21:Re8x,Yb8y计量比称取定量分析纯的ZnO、碱土金属碳酸盐和稀土金属氧化物,采用固相法合成制得。本发明的制备方法简单,合成的锌酸盐荧光体具有上转换发光亮度高的优点,是应用在显示、激光防伪和红外探测上的理想荧光材料。

标签:
化学分析
辽宁 - 大连 来源:中冶有色网 2023-03-19
金花茶黄酮苷及其制备方法和用途

本发明涉及一种从金花茶花中分离的抗癌化合物金花茶黄酮苷A及其制备方法和用途。本发明从金花茶花95%乙醇提取物的乙酸乙酯萃取物中分离得到的单体化合物和馏分经定性、定量测定表明主要为黄酮类成分,并经现代光谱技术分析确定了该化合物的化学结构,化学名为:槲皮素-7-O-(6″-O-E-咖啡酰基)-β-D-葡萄糖苷。经体外抗肿瘤实验表明,该化合物能明显抑制肿瘤细胞增殖,并具有诱导肿瘤细胞凋亡的活性。该发明产物具备抗肿瘤药物的开发潜力。

标签:
化学分析
辽宁 - 大连 来源:中冶有色网 2023-03-19
观察尘埃斑图的装置
观察尘埃斑图的装置 828     
 0

本发明属于低温等离子体化学技术领域。本发明由反应生成尘埃等离子体的装置加上尘埃斑图的监控部分组成,其特征是:由激光器和光具组来照明尘埃斑图,由记录设备和计算机来存储和分析尘埃颗粒的状况,形成尘埃斑图的反应室设计成透明的圆筒状,用微凹的驱动极,直流负偏压电源,调控反应室内的气压,电源的输出功率来控制尘埃斑图。本发明的效果和益处是能直观地观测尘埃斑图的形成和演化,能够通过对尘埃斑图的分析来研究尘埃颗粒的生长,运动等规律,可广泛用于大中专院校的物理实验设置中。

标签:
化学分析
辽宁 - 大连 来源:中冶有色网 2023-03-19
基于可视化质谱信息的中药特异成分的查找方法

一种基于可视化质谱信息的中药特异成分的查找方法。包括步骤:首先对样本进行液‑质联用分析,获取样本中化合物的质量信息,保留信息和信号强度;画出样本的质量‑时间图,每个可测化合物在该图中均有特定的空间位置;以面积的大小代表信号强度(I)的图形,生成的m/z‑t‑I图形适用于计算机识别,从图形中抽提轮廓信息等空间信息,以进行样本特征的获取及不同样本之间的比较;建立方法得到每个中药中重复出现的化学成分群;扣减参与比较的两种药材中上述化学成分群中的重叠成分,获得每个中药区别于对照中药的特异成分群;以上述特异成分为目标化合物进行二级质谱碎裂,通过数据库匹配鉴定上述特异成分。

标签:
化学分析
辽宁 - 大连 来源:中冶有色网 2023-03-19
基于硅杯结构的热分布式微流体流量传感器

本发明属于分析化学中的微全分析系统研究技术领域,用以在生化反应和分离过程中监测微反应体系在运行过程中液体样品的流动分布和变化状况。其特征是利用热分布式微流体流量传感器的工作原理,采用MEMS技术,将金属薄膜式微型加热器和温度传感器制作在硅杯上,并使之与石英微管道组合构成热分布式微流体流量传感器;以硅杯作为微型加热器和温度传感器的载体。本发明的效果和益处是有效防止了加热器和温度传感器与硅衬底之间的热交换,提高了微流体流量传感器的测量灵敏度;设计了弯曲蛇形多抽头温度传感器,以获得在某一确定流速情况下,上下游温度传感器间的最大温差。

标签:
化学分析
辽宁 - 大连 来源:中冶有色网 2023-03-19
上一页 11 12 13 14 15 ... 34 下一页
共34页    到第

中冶有色为您提供最新的辽宁大连有色金属化学分析技术理论与应用信息,涵盖发明专利、权利要求、说明书、技术领域、背景技术、实用新型内容及具体实施方式等有色技术内容。打造最具专业性的有色金属技术理论与应用平台!

全国热门有色金属设备推荐
展开更多 +
全国热门有色金属技术推荐
展开更多 +

 

江西省隆恩特环保设备有限公司
宣传

报名参会
更多+

报告下载

有色专家
更多+

北京科技大学
教授
洛阳有色矿业集团有限公司
生产技术部经理
云南锡业集团(控股)有限责任公司
副总经理
中南大学
教授
昆明冶金研究院有限公司
党委书记、执行董事
赤泥综合利用研究报告2025
推广

热门技术
更多+

推荐企业
更多+

福建省金龙稀土股份有限公司
宣传

发布

在线客服

公众号

电话

顶部
咨询电话:
010-88793500-807