青岛垚鑫智能科技有限公司
宣传

位置:北方有色 >

有色技术频道 >

> 化学分析技术

分类:
全部
矿山技术
冶金技术
材料制备及加工技术
环境保护技术
分析检测技术
 
全部
物理检测技术
化学分析技术
力学检测技术
无损检测技术
失效分析技术
环境检测技术
地区:
全部
北京
天津
上海
重庆
河北
山西
辽宁
吉林
黑龙江
江苏
浙江
安徽
福建
江西
山东
河南
湖北
湖南
广东
海南
四川
贵州
云南
陕西
甘肃
青海
内蒙
广西
西藏
宁夏
新疆
其他
其他
展开
 
全部
沈阳
大连
鞍山
抚顺
本溪
丹东
锦州
营口
阜新
辽阳
盘锦
铁岭
朝阳
葫芦岛

辽宁大连有色金属化学分析技术理论与应用

免费发布技术信息>>
气相色谱差分离子迁移谱仪及其气路控制方法

本发明属于分析化学仪器领域,具体涉及一种气相色谱差分离子迁移谱仪及其气路控制方法。所述进样分为两路:一路样品从进样口进入富集解吸模块进行富集,多余样品通过第二采样泵排出,空气吹扫富集解吸样品,并载带样品进入快速气相色谱,经气相色谱分离后的样品通过膜装置的膜内侧进入差分离子迁移谱进行检测;另一路进样从进样口进入膜装置的膜外侧进入差分离子迁移谱进行检测,多余气体经第一采样泵排出。本发明将富集解吸气相色谱、膜进样差分离子迁移谱联用,根据样品的性质,通过切换气路,选择适用的进样方式进行检测,方法简单,现场适用性强,可以准确识别复杂基质中目标物,并节省样品使用量。

标签:
化学分析
辽宁 - 大连 来源:北方有色网 2023-03-19
宽带可调谐的光纤表面等离激元传感探针

本发明属于微纳光子学及光纤传感技术领域,提出了一种宽带可调谐的光纤表面等离激元传感探针,利用光学胶将三层的光栅耦合结构集成到光纤端面上。在光栅衍射的作用下,入射光可以在金属膜的内表面和外表面分别激发出表面等离激元,使反射谱中出现两个共振峰,利用反射谱中的两个共振峰飘移可以分别实现对生物分子和超声波的检测。该传感器的优势在于,通过改变纳米光栅的周期,两个反射共振峰的位置可以在可见光和近红外范围内连续调谐,这突破了传统光纤表面等离激元激发波长难以扩展到近红外波长的问题,在生物检测、化学分析、以及超声波检测等方面有着广泛的应用前景。

标签:
化学分析
辽宁 - 大连 来源:北方有色网 2023-03-19
氧化锌/多壁碳纳米管修饰电极及其制备方法和应用

本发明涉及一种氧化锌/多壁碳纳米管修饰电极及其制备方法和应用,属于电化学分析检测技术领域,所述制备方法包括如下步骤:①纳米氧化锌的制备、②氧化锌/多壁碳纳米管分散液的配制、③氧化锌/多壁碳纳米管修饰电极的制备,本发明有益效果为与现有玻碳电极比,本发明所述氧化锌/多壁碳纳米管修饰电极应用于检测盐酸克伦特罗具有明显的电催化效应,峰电流有很大的提高,检测灵敏度也有很大的提高。

标签:
化学分析
辽宁 - 大连 来源:北方有色网 2023-03-19
基于表面等离子体共振的低成本分光成像系统

本发明提供了一种基于表面等离子体共振的低成本分光成像系统,属于光纤传感生化检测技术领域。利用低成本的光盘材料、发光LED、网络摄像头与光纤相结合,代替传统光纤光谱仪进行光谱探测功能。利用发光LED代替卤光灯光源,通过多模光纤进行光信号传输,利用光盘和网络摄像头代替光纤光谱仪,作为光信号的接收装置,通过USB线将网络摄像头与电脑相连,进行数据的采集和处理。该发明利用简单的光电器件即可代替昂贵的光学精密仪器进行生化样品检测。该发明无需抛光研磨,激光加工,化学腐蚀等手段,制作工艺简单,价格低廉,实现了低成本,方便快捷的生化样品检测分析。

标签:
化学分析
辽宁 - 大连 来源:北方有色网 2023-03-19
光电子后电离的电离源及其应用

本发明涉及分析仪器中的电离源,具体地说是一种基于光电发射的光电子后电离的电离源及其应用,这种光电发射电离源利用了紫外光照射金属产生的光电效应以及照射载气产生的光化学反应。它主要包括:紫外光源、金属栅网A、样品腔、金属栅网B、一次离子源、质谱检测器。紫外光照射金属栅网电极A上能够产生低能量的光电子,光电子与中性分子反应产生样品离子。将光电子后电离的电离源用于地质样品分析,能够提高样品的电离效率,实现地质样品的准确定量分析,有利于地质年代的准确分析。

标签:
化学分析
辽宁 - 大连 来源:北方有色网 2023-03-19
用于快速鉴别质谱样本聚乙二醇污染的方法

本发明公开了一种利用极坐标散点灰度图、基于肯德里克质量(Kendrick mass,KM)、肯德里克质量亏损(Kendrick mass defect,KMD)及保留时间(retention time,RT)相互关系来判断质谱分析样本中是否含有聚乙二醇(PEG)聚合物的方法,属于分析化学应用研究领域。该方法适用于评价待质谱分析的临床或生物样本在采集及制备过程中是否存在PEG污染。该方法的检测过程基于高效液相色谱‑质谱联用技术(LC‑MS)来完成,在得到质谱分析样本的LC‑MS数据后,通过构建数据的KM‑KMD‑RT极坐标散点灰度图即可判定样本中PEG峰及其碎片离子的存在情况。本方法有助于评估质谱样本的质量、采集耗材的质量及制备方法的可靠性,进而保证了代谢组学等高通量质谱数据的质量。

标签:
化学分析
辽宁 - 大连 来源:北方有色网 2023-03-19
菠菜中四种六六六农药残留实物标准样品及其制备方法

本发明提供一种菠菜中四种六六六农药残留实物标准样品及其制备方法,属于分析化学技术领域。将含有α‑六六六、β‑六六六、γ‑六六六、δ‑六六六的农药喷施到菠菜叶片上,采集叶片,经均质匀浆,真空冷冻干燥,过筛装瓶封装,得到含有四种六六六农药的菠菜标准样品。该方法制得的标准样品为实物标准样品,均匀稳定,无防腐剂及抗氧化剂,易保存,使用方便,水化后净化方法与日常分析样品相同,可用于六六六类农药残留测试项目的能力验证、检测方法的验证、测试仪器的校准、测试结果的质量控制与考核。

标签:
化学分析
辽宁 - 大连 来源:北方有色网 2023-03-19
智能响应性聚合物修饰的多孔膜材料及其制备方法和应用

本发明涉及材料分析化学、生物化学和有机化学领域,提供一种智能响应性聚合物修饰的多孔膜材料及其制备方法,该多孔膜材料包括多孔膜和接枝到所述多孔膜的孔道内表面的智能响应性聚合物。制备方法主要利用原子转移自由基聚合反应机制,将智能响应性聚合物接枝到多孔膜的孔道内表面得到多孔膜材料。通过皮安计测量孔道电流的变化最终实现了对环磷酸腺苷及其类似物超灵敏性检测,对生物、化学和材料学,尤其是生物传感领域及生物分离领域都有着十分重要的理论和实际意义。

标签:
化学分析
辽宁 - 大连 来源:北方有色网 2023-03-19
间隙流场多参数金属腐蚀装置

本发明涉及流体腐蚀测试试验装置,具体为一种间隙流场的金属腐蚀试验装置,解决现有技术中间隙流动下电化学腐蚀特性的原位表征监测困难等问题。该装置设有金属腐蚀电极、辅助电极、参比电极、反应釜体、反应釜盖、转子、旋转组件、旋转电机、外部循环水管、循环水控温釜体、循环泵等,能实现间隙流体及间隙多相流环境下的腐蚀评估与检测,通过安装在反应釜表面的金属腐蚀电极、辅助电极和参比电极配合电化学工作站实现电化学腐蚀特性测试与分析。本装置可模拟屏蔽电机、水润滑轴承、钻杆等不同几何构件,在不同温度、流速等间隙流体环境中的腐蚀行为,为相关部件选材和腐蚀寿命评估提供试验支撑。

标签:
化学分析
辽宁 - 大连 来源:北方有色网 2023-03-19
兔肉中己烯雌酚、己二烯雌酚、己烷雌酚标准样品、制备方法及应用

本发明提供一种兔肉中己烯雌酚、己二烯雌酚、己烷雌酚标准样品的制备方法及应用,属于分析化学技术领域。用含有己烯雌酚、己二烯雌酚和己烷雌酚的饲料饲喂兔,使兔体内组织中含有己烯雌酚、己二烯雌酚和己烷雌酚,给药结束后宰杀取肌肉,均质匀浆,制成肉糜,真空冷冻干燥,过筛装瓶封装,得到含有己烯雌酚、己二烯雌酚和己烷雌酚的兔肉标准样品。该方法解决了目标物和基体结合情形与真实检测样品不完全一致而导致提取、净化等处理结果与日常分析样本存在较大差异的问题,标准样品为实物标准样品,均匀稳定,无防腐剂及抗氧化剂,易保存,用于非甾体类同化激素类药物残留测试项目的能力验证、检测方法的验证、测试仪器的校准、测试结果的质量控制与考核。

标签:
化学分析
辽宁 - 大连 来源:北方有色网 2023-03-19
鸡肉中氯羟吡啶标准样品、制备方法及应用

本发明提供一种鸡肉中氯羟吡啶标准样品的制备方法及应用,属于分析化学技术领域。用含有氯羟吡啶的饲料饲喂鸡,使活鸡体内组织中含有氯羟吡啶,给药结束后,将鸡处死,除去毛皮,给药结束后宰杀取肌肉,均质匀浆,制成肉糜,真空冷冻干燥,过筛装瓶封装,得到含有氯羟吡啶的鸡肉冻干粉标准样品。该方法解决了目标物和基体结合情形与真实检测样品不完全一致而导致提取、净化等处理结果与日常分析样本存在较大差异的问题,标准样品为实物标准样品,均匀稳定,无防腐剂及抗氧化剂,易保存,用于氯羟吡啶类药物残留测试项目的能力验证、检测方法的验证、测试仪器的校准、测试结果的质量控制与考核。

标签:
化学分析
辽宁 - 大连 来源:北方有色网 2023-03-19
鸡肉中链霉素标准样品、制备方法及应用

本发明提供一种鸡肉中链霉素标准样品的制备方法及应用,属于分析化学技术领域。用含有链霉素的饲料饲喂鸡,使活鸡体内组织中含有链霉素,给药结束后,将鸡处死,除去毛皮,给药结束后宰杀取肌肉,均质匀浆,制成肉糜,真空冷冻干燥,过筛装瓶封装,得到含有链霉素的鸡肉冻干粉标准样品。该方法解决了目标物和基体结合情形与真实检测样品不完全一致而导致提取、净化等处理结果与日常分析样本存在较大差异的问题,标准样品为实物标准样品,均匀稳定,无防腐剂及抗氧化剂,易保存,用于链霉素类药物残留测试项目的能力验证、检测方法的验证、测试仪器的校准、测试结果的质量控制与考核。

标签:
化学分析
辽宁 - 大连 来源:北方有色网 2023-03-19
猪肉中氯霉素、甲砜霉素、氟甲砜霉素标准样品、制备方法及应用

本发明提供一种猪肉中氯霉素、甲砜霉素、氟甲砜霉素标准样品的制备方法及应用,属于分析化学技术领域。用含有氯霉素、甲砜霉素和氟甲砜霉素的饲料饲喂猪,使猪体内组织中含有氯霉素、甲砜霉素和氟甲砜霉素,给药结束后宰杀取肌肉,均质匀浆,制成肉糜,真空冷冻干燥,过筛装瓶封装,得到含有氯霉素、甲砜霉素和氟甲砜霉素的猪肉冻干粉标准样品。该方法解决了目标物和基体结合情形与真实检测样品不完全一致而导致提取、净化等处理结果与日常分析样本存在较大差异的问题,标准样品为实物标准样品,均匀稳定,无防腐剂及抗氧化剂,易保存,用于氯霉素类药物残留测试项目的能力验证、检测方法的验证、测试仪器的校准、测试结果的质量控制与考核。

标签:
化学分析
辽宁 - 大连 来源:北方有色网 2023-03-19
鲤鱼肉中孔雀石绿及其代谢物标准样品、制备方法及应用

本发明提供一种鲤鱼肉中孔雀石绿及其代谢物标准样品及制备方法,属于分析化学技术领域。对鲤鱼进行孔雀石绿灌服饲养,使鲤鱼体内含有孔雀石绿及其代谢物,在不含药物的水中饲养待体内药物浓度达到稳定代谢状态后,捕捞鲤鱼,将鲤鱼处死取背部两侧肌肉,制成鱼糜,真空冷冻干燥,过筛装瓶封装,得到含有孔雀石绿及代谢物的鲤鱼粉标准样品。该方法解决了目标物和基体结合情形与真实检测样品不完全一致而导致提取、净化等处理结果与日常分析样本存在较大差异的问题,标准样品为实物标准样品,均匀稳定,无防腐剂及抗氧化剂,易保存,用于孔雀石绿残留测试项目的能力验证、检测方法的验证、测试仪器的校准、测试结果的质量控制与考核。

标签:
化学分析
辽宁 - 大连 来源:北方有色网 2023-03-19
黄芪中二硫键多肽的纯化和鉴定方法

本发明涉及一种从黄芪中富集多肽并进行鉴定的方法,是将经鉴定无误的干燥黄芪切片经醇液超声提取、过滤、浓缩、萃取、有机试剂富集黄芪中的多肽并通过烷基化处理、质谱分析及De Novo分析鉴定其中的二硫键多肽。本发明成功地将传统的植物化学分析方法、生物化学方法及质谱方法相结合进行多肽富集及检测,无需脱盐、超滤分离、特殊色谱柱填料等操作,步骤少、操作简便,为现代植物多肽的研究提供了技术参考及指导。

标签:
化学分析
辽宁 - 大连 来源:北方有色网 2023-03-19
一类双波长发射、双异核金属配合物及其制备方法和应用

本发明提供了一类双波长发射、双异核金属配合物,其制备方法及应用。该类双异核金属配合物具有结构通式:(L1L2)M-L3-M’(L4L5)Ym,其中:M、M’各自独立地选自Ru、Os、Ir、Re,但M与M’不同时为同一种金属。该类双异核金属配合物可作为电致化学发光物质,其自身或与胺类作为共反应物,既可以分别在各自的发射波长下进行单波长ECL检测,也可以实现双发射波长下的比例ECL检测。特别是,当M、M’其中之一为Ir时,该类双异核金属配合物只对RNA进行专一染色,染色后荧光明显增强,可用于RNA定性、定量检测,以及核酸标记、临床医疗诊断、血细胞分析、免疫分析检测、癌症治疗等相关领域。

标签:
化学分析
辽宁 - 大连 来源:北方有色网 2023-03-19
碳热还原过程中原位产生气体的表征方法

本发明公开了一种碳热还原过程中原位产生气体的表征方法。在配备热传导和质谱双检测器的化学吸附仪上,进行催化剂在惰性气体氛围中碳热还原过程的模拟,并对原位产生的气体进行监测;并结合自行设计的化学吸收装置对还原过程中产生的气体进行吸收滴定等定性定量的分析,进一步对碳热还原过程进行原位监测分析。该方法适用于催化剂制备处理过程的监测以及气体反应等方面的过程监测表征。

标签:
化学分析
辽宁 - 大连 来源:北方有色网 2023-03-19
判断用于科学研究的血液样本采集质量的方法

本发明公开了一种通过两个内源性小分子代谢物判断生物样本库中血液样本质量的方法,属于分析化学应用研究领域。该组代谢标志物适用于判断供各种科研使用的血清(或血浆)样本的质量。其检测方法基于高效液相色谱-质谱联用技术的代谢组学技术,在获取血清代谢组数据后,根据样品不同分组内次黄嘌呤(Hypoxanthine)以及鞘胺醇磷酸(Sphingosine1-phosphate)的相对含量即可判定该血样采集过程中是否有因过长时间的室温暴露导致的样本质量问题。本发明的方法有助于提高科研应用中的血液样本的质量,保证后续科研工作所取得的成果,避免由于样本问题带来人力物力的浪费。目前尚未有同类方法报道。

标签:
化学分析
辽宁 - 大连 来源:北方有色网 2023-03-19
大麻药中抗肿瘤活性组分大麻药黄酮A的提取方法

药用植物大麻药中具有明显抗肿瘤活性化合物大麻药黄酮A(DOLICHNINA)的提取方法。包括(1)药材提取:乙醇热提取2~3次,合并提取液,减压浓缩至浸膏;(2)粗提物制备:大孔树脂吸附,乙醇洗脱,合并近似组分,蒸出乙醇(3)所得粗提物的高速逆流色谱分离纯化,由正己烷、乙酸乙酯、甲醇、水构成固定相、流动相的溶剂体系,色谱仪柱中充满固定相,柱子转动后将流动相泵入柱内,进样。根据检测谱图接收目标成份,经一步洗脱得到高纯度的产物。工艺合理有效,特别、简便、快速。同时,经过分析测试,确定其化学结构式,证明是从未见过报道的全新化合物。另外,为抗肿瘤药物提供一个具有良好应用前景的新品种。

标签:
化学分析
辽宁 - 大连 来源:北方有色网 2023-03-19
4,5-双取代-1,8-萘酰亚胺类化合物及其应用

本发明提供了一类以萘酰亚胺为发色团母体,在4,5-位引入相同或不同的芳胺(或芳杂环胺)取代基作为受体的4,5-双取代-1,8-萘酰亚胺类荧光化合物;该类荧光化合物是以4-溴-5-硝基-1,8-萘酐为原料,在有机溶剂中,4,5-位分别被芳胺或芳杂胺基取代,制得对称或不对称型系列化合物,作为比率荧光探针,可在缓冲溶液中对铜离子进行比率荧光检测,表现出高灵敏度和高选择性。并在细胞、膜等生物微环境、环境科学、医药中的铜离子分析检验以及金属催化化学中有重要应用价值。

标签:
化学分析
辽宁 - 大连 来源:北方有色网 2023-03-19
PM2.5颗粒对人肺细胞内自由基代谢通路影响的评估方法

本发明公开了一种PM2.5全化学组分颗粒对细胞内自由基代谢影响的评估方法。通过PM2.5全化学组分颗粒对人肺‑支气管上皮细胞的暴露,利用液相色谱质谱(LC‑MS)对细胞内小分子代谢产物进行能有效分析,结合生物学检测方法对酶活性进行快速分析,整合与胞内自由基代谢相关的小分子代谢产物的变化以及能量代谢中起关键作用的限速酶的活性变化,综上,基于分子生物学构建了一套评估细胞受外源性污染毒作用暴露后细胞内氧自由基代谢干扰的新方法。该方法能直观的分析污染物对细胞内自由基代谢路径的影响,同时本发明具有前处理方法简单,检测快速,重复性好,获得信息量全面等优点。

标签:
化学分析
辽宁 - 大连 来源:北方有色网 2023-03-19
无水醇及低含水醇含水量的快速鉴定方法

本发明公开了无水醇及低含水醇含水量的快速鉴定方法,包括化学合成铁醇盐作分析试剂;将其滴入待测无水醇或低含水醇溶液中,观察混合体系中的变化:10秒内,其中出现脑状团聚物,则所测醇的含水量>0.3%;10~30秒内,其中逐渐出现絮状沉淀,则所测醇的含水量为(0.2%,0.3%﹞;30~60秒内,其失去原来的透明性和流动性变为浑浊分散系或呈现易破碎的凝胶状分散系,则所测醇的含水量(01.%,0.2%﹞;超过60秒,其中没有变化或渐渐失去原来的透明性和流动性变为浑浊分散系或呈现易破碎的凝胶状分散系,则所测醇的含水量≤01.%。本发明方法简单,易于操作,尤其适用工业生产在线快速检测或鉴定。

标签:
化学分析
辽宁 - 大连 来源:北方有色网 2023-03-19
基于In2O3纳米线的气体传感器气敏膜的制备方法

本发明涉及一种基于In2O3纳米线的气体传感器气敏膜的制备方法。是以两步化学转化法合成多孔半导体In2O3纳米材料,经过初步分离纯化后得到纯度较高的In2O3纳米线,并以此作为气敏性材料,组装成半导体气体传感器。该气体传感器的工作原理是根据半导体In2O3纳米线材料暴露在空气和待测气体中电信号(电阻、电压、电流等)的变化来进行检测和分析的。气体传感器能够对乙醇、丙酮、甲醛等常见的有机挥发性气体(VOCs)及氨气、硫化氢等有毒有害环境污染性气体有较好的响应,而且其响应程度(即灵敏度)与待测气体的浓度(或含量)直接相关,可用于气体的在线检测。

标签:
化学分析
辽宁 - 大连 来源:北方有色网 2023-03-19
氨基化合物的衍生化方法及其应用

本发明公开了一种氨基化合物的衍生化方法及其应用,所述衍生化方法至少包括:将含有氨基化合物、衍生化试剂的混合物进行衍生化反应,得到衍生化产物;衍生化试剂为吡喃盐。本发明通过化学修饰技术对氨基化合物进行衍生化处理,改变其物理化学特性,从而提高液相色谱‑质谱联用检测中的离子化效率,降低基质干扰;同时减少无机盐及内源性杂质的干扰,改善被分析物的信号强度,便于色谱分离和质谱检测,使得采用液相色谱‑质谱联用技术分析对衍生化产物检测,能实现对氨基化合物的定性、定量分析。

标签:
化学分析
辽宁 - 大连 来源:北方有色网 2023-03-19
开关型锌离子荧光探针及其制备方法和应用

本发明提供了一种开关型锌离子荧光探针及其制备方法和应用,其结构为:该探针以罗丹明染料为发光团,识别基团对锌离子具有专一的选择性和较高的灵敏度,通过罗丹明开关环使得探针与锌离子结合后荧光增强96倍。该探针制备方法简单,适合放大合成和实际应用。能够用于化学分析检测领域中细胞内锌离子的检测,对于其他生物样本中锌离子的检测具有广阔的应用前景。

标签:
化学分析
辽宁 - 大连 来源:北方有色网 2023-03-19
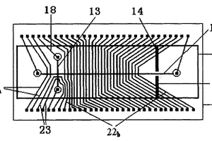
光纤嵌入式低电压驱动毛细管电泳芯片

本发明一种光纤嵌入式低电压驱动毛细管电泳芯片涉及分析化学中的微全分析系统研究技术领域,特别涉及毛细管电泳芯片的制作。光纤嵌入式低电压驱动毛细管电泳芯片,由玻璃基片和玻璃盖片组成;在玻璃基片上嵌入了进行信号检测的检测光纤,并将低电压驱动阵列电极式毛细管电泳芯片与检测光纤集成在一块芯片上,即将玻璃基片上的十字形沟道及检测光纤与玻璃盖片上的铂阵列电极组合在一起。在玻璃基片上,采用化学腐蚀的方法,刻蚀出与分离沟道相垂直的激光导入光纤通道和传输激发荧光的光纤通道。降低了进样和分离电压,简化了检测光路,缩小了毛细管电泳芯片检测系统的体积,提高了检测灵敏度,实现了检测仪的微型化和集成化。

标签:
化学分析
辽宁 - 大连 来源:北方有色网 2023-03-19
离子迁移谱专用采样薄片的处理方法

本发明公开了一种离子迁移谱专用采样薄片的处理方法,其特征在于:将采样薄片在含有化学添加剂的溶液中浸泡后,挥干溶剂即可。本发明不仅优化了一种简单、可行的净化采样薄片的前处理方法;同时在干净的采样薄片上直接添加化学添加剂,优化了离子迁移谱采样背景,化学添加剂信号不仅可以覆盖原来的试剂离子峰(RIP),而且可以形成新的化学添加剂的检测信号峰,同时使样品检测信号强度增强;当这样的采样薄片应用于多种样品分析时,化学添加剂具有以下多种作用:(1)优化离子迁移谱检测样品峰型;(2)提高样品检测信号峰的强度,从而提高了检测灵敏度;(3)可使像三聚氰胺这些在离子迁移谱内直接分析没有响应的样品,通过与采样薄片上的化学添加剂结合形成新的生成物而获得检测信号。

标签:
化学分析
辽宁 - 大连 来源:北方有色网 2023-03-19
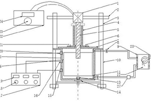
反应器床层温度测量系统

本实用新型公开了一种反应器床层温度测量系统,属于化工设备及仪表技术领域。所述系统由上旋转轮、热电偶、毛细钢管、床反应器、下旋转轮、电机和PLC控制单元组成。该系统克服了传统采用单点和多点热电偶只可以测量固定点温度的问题,避免了大直径的热电偶对固定床内化学反应的影响,PLC控制单元通过编程可以实现各种想要的功能,实现自动化操作,几乎无易损件,因此长期运行成本很低。

标签:
化学分析
辽宁 - 大连 来源:北方有色网 2023-03-19
基于异质图的药物-蛋白质靶向作用预测方法

本发明公开一种基于异质图的药物‑蛋白质靶向作用预测方法,包括:S1.通过获取来自Drugbank、SIDER等数据库的药物,靶点以及疾病等信息,与已有的公开数据集进行匹配整合,构建药物和靶点相关的异质图,并通过RDKit计算和基于成对的Smith‑waterman得分获得药物化学结构信息和蛋白质序列信息。S2.结合节点表示与图级表示之间的互信息以及子结构表示与图级表示之间的互信息,从异构信息中学习精确的和可解释的特征嵌入,提出了一个端到端的多视图自动编码器模型完成链路预测的任务。本发明对于药物重定向具有有益的科学指导作用,有利于发现潜在的药物‑蛋白质靶点有效链接,加快旧药新用的节奏。

标签:
化学分析
辽宁 - 大连 来源:北方有色网 2023-03-19
适用于研究金属材料应力腐蚀的多通道腐蚀监测系统

本发明提供一种适用于研究金属材料应力腐蚀的多通道腐蚀监测系统,包括:实现水浴加热的多通道四点应力加载的三电极系统,所述三电极系统连接控制通道切换的电路板,集合成一组三电极连接电化学工作站;所述四点应力加载的试样与多通道应力应变仪连接,监测每组试样施加的应力;所述实现水浴加热的多通道四点应力加载三电极系统包括:水浴箱、加热棒、电解液箱、四点弯曲应力加载装置、参比电极、对电极和气泡石。本发明可以合理有效地实现对海洋工程领域中在结构力学响应、温度以及阴极保护等联合作用下多通道的金属材料腐蚀及其失效机理开展研究。

标签:
化学分析
辽宁 - 大连 来源:北方有色网 2023-03-19
上一页 13 14 15 16 17 ... 34 下一页
共34页    到第

北方有色为您提供最新的辽宁大连有色金属化学分析技术理论与应用信息,涵盖发明专利、权利要求、说明书、技术领域、背景技术、实用新型内容及具体实施方式等有色技术内容。打造最具专业性的有色金属技术理论与应用平台!

全国热门有色金属设备推荐
展开更多 +
全国热门有色金属技术推荐
展开更多 +

 

江西省隆恩特环保设备有限公司
宣传

报名参会
更多+

报告下载

有色专家
更多+

郑州大学
校长/党委书记
长沙矿冶研究院有限责任公司
中国工程院院士
广西大学
处长/教授
长沙矿冶研究院
总经理
矿冶科技集团有限公司工程公司
副总经理
赤泥综合利用研究报告2025
推广

热门技术
更多+

推荐企业
更多+

福建省金龙稀土股份有限公司
宣传

发布

在线客服

公众号

电话

顶部
咨询电话:
010-88793500-807