青岛垚鑫智能科技有限公司
宣传

位置:北方有色 >

有色技术频道 >

> 化学分析技术

分类:
全部
矿山技术
冶金技术
材料制备及加工技术
环境保护技术
分析检测技术
 
全部
物理检测技术
化学分析技术
力学检测技术
无损检测技术
失效分析技术
环境检测技术
地区:
全部
北京
天津
上海
重庆
河北
山西
辽宁
吉林
黑龙江
江苏
浙江
安徽
福建
江西
山东
河南
湖北
湖南
广东
海南
四川
贵州
云南
陕西
甘肃
青海
内蒙
广西
西藏
宁夏
新疆
其他
其他
展开
 
全部
沈阳
大连
鞍山
抚顺
本溪
丹东
锦州
营口
阜新
辽阳
盘锦
铁岭
朝阳
葫芦岛

辽宁大连有色金属化学分析技术理论与应用

免费发布技术信息>>
可调谐中红外光纤SPR生物传感器

本发明属于光纤传感技术领域,一种可调谐中红外光纤SPR生物传感器,主要由红外光源、传输光纤、传感元件、探测器、光纤固定及微位移平台、以及计算机组成。本发明的可调谐中红外光纤SPR生物传感器对于不同的生物分子,可以通过光纤固定及微位移平台调节传感元件受到应力的大小,进而改变传感器的工作波长,实现对不同生物分子的检测。与现有光纤SPR传感技术相比,本发明通过与中红外吸收光谱技术相结合,可以在检测生物分子结合与反应信息的同时,检测生物分子结构信息,在生物、化学、医学领域具有广泛的前景。

标签:
化学分析
辽宁 - 大连 来源:北方有色网 2023-03-19
四环素分子印迹聚合物膜电极的热聚合制备方法

本发明涉及四环素分子印迹聚合物,以及制备四环素分子印迹聚合物膜电极的方法。将模板分子四环素、功能单体甲基丙烯酸、交联剂乙二醇二甲基丙烯酸酯、引发剂偶氮二异丁腈、致孔剂甲醇或氯仿或甲苯超声溶解形成均匀的溶胶状复合物,在温度为55~65℃的恒温条件下,通过热聚合反应、洗脱模板分子在电极基体表面形成四环素分子印迹聚合物膜。本发明的四环素分子印迹聚合物膜电极可以作为电化学法检测水体中四环素的工作电极,便于实现现场快速检测,其检测范围为0.1~10MG/L,检出限为0.026MG/L。

标签:
化学分析
辽宁 - 大连 来源:北方有色网 2023-03-19
多滤光片集成式框架装置

本实用新型涉及滤光片集成装置,特别是一种用于固定波长光学检测器的多滤光片集成式框架装置,包括外框、封装于外框内的N个具有相同光学特性及外形尺寸的滤光片及(N+1)个封装垫圈,其中封装垫圈用于将滤光片封装于框架内,并将相邻的滤光片分隔开以避免刮伤。相对于传统的单个封装滤光片,本实用新型具有较高的透过率/截止效率比,因而可有效提高所在光学检测器的灵敏度,并降低了滤光片受灰尘及潮湿干扰的几率;同时结构简单、体积小巧、使用方便,尤其适用于光学检测特别是吸收型及荧光、磷光、化学发光等采用固定波长的光学检测仪器。

标签:
化学分析
辽宁 - 大连 来源:北方有色网 2023-03-19
可排气补液的聚合物锂离子电池化成工艺

一种可排气补液的聚合物锂离子电池化成工艺,属于聚合物锂离子电芯制备封装领域。技术方案如下:电芯封装前,将补液管路沿电池极片底端插入电芯内部,将排气管路沿电芯顶封测通至电芯边缘;进行注液,注液后对带气袋电芯进行初步封装,真空放置待电解液浸润极片;设置压力和温度,进行加压化成,通过单相排气管路直接将气体导出至尾气处理系统;化成过程中,注入略高于计算值的剩余电解液;化成过程结束后,电芯降温后取出,检查、密封预置管路,入库存放。有益效果是:本发明所述的可排气补液的聚合物锂离子电池化成工艺能降低成本、简化工艺、提升安全性能与电化学性能,为实现废旧电芯的梯次利用和容量恢复提供了可能性。

标签:
化学分析
辽宁 - 大连 来源:北方有色网 2023-03-19
用于智慧多变量数据处理的数据批载入方法

本发明公开了一种用于智慧多变量数据处理的数据批载入方法,属于分析化学计量学领域。本发明通过对异常复杂情况下数据文件的整合分析,完整解决数据批载入中涉及的各种问题,包括:数据文件类型和数据分隔、数据与字符、数据头文件、数据转置、数据坐标与响应、数据等坐标化与等长化、已被加载数据的各种情形和处理等,从而实现基于文件夹形式的数据批载入,辅助“三高”数据(高维、高通量与高复杂度)的智慧分析处理与信息提取挖掘;具有广泛的应用前景。

标签:
化学分析
辽宁 - 大连 来源:北方有色网 2023-03-19
银杏叶及其提取物与制剂的质量评价方法

一种银杏叶及其提取物与制剂的质量评价方法,其属于中药材的质量检测技术领域。本发明通过构建银杏化学成分的高效液相指纹图谱,借助一测多评方法,计算校正因子,实现对银杏中多种黄酮类化学成分含量的测定。该方法操作简便,稳定性好,既可以客观、全面、准确地评价银杏叶及其提取物与制剂的品质,并用于其质量控制,又可解决因对照品缺乏而无法客观合理地控制药材及其提取物或制剂质量的问题,对控制质量和保证疗效具有重要意义。

标签:
化学分析
辽宁 - 大连 来源:北方有色网 2023-03-19
基于生态系统完整性的河流水生态健康评价方法及其应用

本发明公开了一种基于生态系统完整性的河流水生态健康评价方法及其应用。本发明方法确立了鱼类生物完整性、物理完整性、化学完整性以及生境完整性四部分,共50个指标体系以反映水生态健康状况。通过对候选指标的主成分分析筛选出对评价结果贡献率高的指标,通过Pearson相关性分析,选取指标间相互独立、信息重叠程度低、相关系数小的指标作为构建生态完整性评价体系的核心指标,并对核心指标进行标准化,运用层次分析法分别赋予权重,加和平均得出水生态健康评价的最终得分及评价。本发明弥补了传统的水体理化性质指标仅能反应河流水质状况的弊端,也同样弥补了通过河流生物特性评价河流健康状况的不足,能够体现人为干扰对生境破坏的长期累计效果。

标签:
化学分析
辽宁 - 大连 来源:北方有色网 2023-03-19
中药中酚酸类成分的分离方法

本发明为一种中药中酚酸成分的分离方法,属分析化学领域,涉及中药样品中酚酸类成分的分离方法,具体涉及一种基于二元酸酐修饰氨基的两性离子亲水色谱固定相的银杏黄酮和金银花中有机酸类有效成分的分析方法。该方法采用如下结构示意图所示的材料,优化流动相条件,建立了中药中黄酮类、有机酸类的分析方法。所建立的方法与常用的反相C18色谱柱及其他亲水色谱柱具有不同的分离选择性,适用于中药复杂体系的正交分离。

标签:
化学分析
辽宁 - 大连 来源:北方有色网 2023-03-19
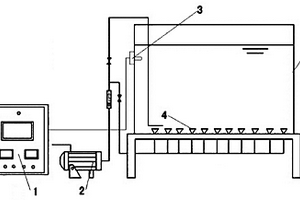
危化品洗消装置
危化品洗消装置 1161     
 0

本实用新型公开了一种危化品洗消装置,包括旋流雾化器和泵,所述旋流雾化器的内部安装有喷淋管,所述旋流雾化器的右侧设有流化床吸附装置,所述流化床吸附装置的上下两端分别安装有活性炭储料仓和旋转供料器,所述第二管道的顶端左侧安装有第一气体浓度检测装置,所述第十管道的顶端右侧安装有第二气体浓度检测装置。该危化品洗消装置,通过旋流雾化器和流化床吸附装置与第一气体浓度检测装置和第二气体浓度检测装置的配合,通过化学吸收将空气中的气态危化品净化去除,实际工作效果十分理想,且可根据第一气体浓度检测装置和第二气体浓度检测装置对气体进行检测合格后在进行排放,其实际使用效果十分理想。

标签:
化学分析
辽宁 - 大连 来源:北方有色网 2023-03-19
基于HPLC-MS的去除代谢物离子峰表中假阳性质谱特征的方法

本发明以基于HRLC‑MS的代谢组学为背景,提供一种基于HPLC‑MS的去除代谢物离子峰表中假阳性质谱特征的方法,属于分析化学和代谢组学领域。该方法依据离子色谱图的信息熵指标和相关性系数来判别质谱中真实的化学信号,分别利用空白和实际样本的质谱原始数据去除对应非样本源化合物和噪声的假阳性特征。本发明可以减少噪声和非样本源化合物对代谢组学中分类模型的构建、生物标志物筛选以及代谢物定性的干扰,应用于化学计量学和代谢组学中质谱特征的处理。另外,本发明可以通过计算机程序自动化实现,不需要重复的化学实验以及肉眼判断等人工干预。

标签:
化学分析
辽宁 - 大连 来源:北方有色网 2023-03-19
基于双控制技术的曝气池

本实用新型公开了一种基于双控制技术的曝气池,包括用于承放污水的池体,还包括曝气风机、与曝气风机相连通的鼓风曝气头,曝气风机由可编程逻辑控制器控制转速,池体内设有化学传感器检测装置,化学传感器检测装置信号线连接于可编程逻辑控制器。本实用新型根据污水曝气传质因素,如温度、pH值、表面活性剂等来调整曝气风机的功率,调整到合适的流程内额湍流程度,道道气泡搅拌和机械搅拌的最佳耦合,使气泡停留时间长,充氧率最高,以最低能耗取得最佳的曝气效果,适用于污水处理。

标签:
化学分析
辽宁 - 大连 来源:北方有色网 2023-03-19
河豚痕量标识方法
河豚痕量标识方法 1186     
 0

本发明公开了一种河豚痕量标识方法,本发明的标识方法为将超细铁粉与蜂蜜搅拌混合,各成份的重量配比为,超细铁粉1~3份,蜂蜜1~1.5份;用注射器吸入标识混合液,将标识液注入待标识河豚鱼的指定注射位,待标识河豚鱼的注射位根据不同待标识河豚鱼选定,可选定胸鳍根部、头部皮下、背鳍基部等部位作为注射位;用检测器确定是否被标识。本发明采用的标识混合液的原料组成简单、化学性质稳定,原料易得价廉,标识速度很高,适合规模生产要求。

标签:
化学分析
辽宁 - 大连 来源:北方有色网 2023-03-19
复合纳米发光纤维材料的制备方法

一种复合纳米发光纤维材料的制备方法,将稀土配合物或稀土掺杂纳米晶与聚合物单体反应形成核-壳结构的复合物;将此复合物破乳、分离、干燥,得到稀土配合物-聚合物或稀土掺杂纳米晶-聚合物复合纳米粒子粉末;将上述复合纳米粒子粉末配置成电纺溶液,静电纺丝法制备复合纳米发光纤维材料。本发明开辟了一条获得分散性好、取向性高、化学稳定性强、发光效率高的稀土有机-无机复合纳米纤维材料的新途径。这些纤维将在光通讯、激光、交通运输、航海消防、雨天作业、生物检测与生物芯片、海底信号传输以及太阳能光伏电池领域具有重要的应用价值。

标签:
化学分析
辽宁 - 大连 来源:北方有色网 2023-03-19
威士忌内酯的制备方法

本发明提供了一种威士忌内酯的制备方法,该方 法是以正戊醛与巴豆酸为原料,在氮气保护下,通过引发剂和 助催化剂进行游离基加成反应生成酮酸,将经过冷却、洗涤、 干燥、蒸馏得到的酮酸,在雷尼镍催化剂存在下与氢气进行氢 化反应,过滤、加热蒸馏过程中脱水环化,得到威士忌内酯。 产率为87%,折光指数 ND 20为1.441~1.447,产品经过色-质谱联用检测 为顺式和反式两种异构体,顺式体为主,总含量为98%以上。 本发明与用硼氢化钠化学还原法相比,不仅提高了产率,简化 了工艺,减少废水排放,而且有利环境保护,降低生产成本。

标签:
化学分析
辽宁 - 大连 来源:北方有色网 2023-03-19
构建中性葡萄糖燃料电池电极的方法

本发明属于电化学检测技术领域,公开了一种构建中性葡萄糖燃料电池电极的方法,以PDMS为基底,均匀涂抹银纳米线,采用计时电流法沉积金和循环伏安法沉积钯,从而制备出钯金合金纳米电极,研究其中性条件下对葡萄糖氧化性能的影响。本发明利用了PDMS柔韧性和银纳米线以及钯金合金的高比表面积、高导电性和高催化活性,制得的电极对葡萄糖的催化效果好、灵敏度高和选择性好,同时其性能稳定,检测限低,这些优异的性能使Pd‑Au‑AgNWs电极在电化学传感器领域具有广阔的应用前景。

标签:
化学分析
辽宁 - 大连 来源:北方有色网 2023-03-19
可用于FRET荧光探针供体的聚合物通用荧光平台及其应用

一种可用于FRET荧光探针供体的聚合物通用荧光平台及其应用,属于有机化学和高分子材料化学技术领域。本发明将甲基丙烯酸甲酯与4‑烯丙氧基苯甲醛通过合理配比聚合,并进一步通过高效的希夫碱反应引入香豆素荧光团制备本发明中的通用聚合物蓝光平台MS‑1。MS‑1通过MS‑1和MS‑2分步制备得到。本发明利用香豆素荧光团制备得出的聚合物通用荧光平台原料易得,合成简单易行,成本低廉。当与成熟的长波长荧光探针组合后,可实现对目标分子的比例荧光检测,甚至可通过颜色实现肉眼直观检测。

标签:
化学分析
辽宁 - 大连 来源:北方有色网 2023-03-19
烯酰吗啉半抗原及其制备方法和应用

本发明涉及生物技术领域,公开了一种烯酰吗啉半抗原及其制备方法和应用。本发明提供的烯酰吗啉半抗原既最大程度地保留了烯酰吗啉的化学结构,又通过化学合成,引入了可以与蛋白质偶联的含氮基团,合成方法简单,产物纯度、得率较高;使用该半抗原作为原料制备适合动物免疫的抗原体系,制备的单克隆抗体特异性、亲和力、抗体效价均较好,可用于制备酶联免疫试剂盒,检测成本低、检测方法快速、高效、准确,适用于蔬菜、水果中烯酰吗啉残留的现场监控和大量样本筛查。

标签:
化学分析
辽宁 - 大连 来源:北方有色网 2023-03-19
具有多层结构的阅读器

本发明公开了一种具有多层结构的阅读器,平均粒径范围20NM~1ΜM;其最内层为光频率转换材料,在其外为包覆一层含OH基团的活化层,在活化层外通过物理吸附或化学共价形式连接一层含有胺基、羧基、硫氢基、醛基的功能基团层;在其功能基团层外层,通过生物分子固定技术,将生物分子与该阅读器连接。通过检测光频率转换材料光频率的变化,达到“阅读”被固定在该阅读器上的生物分子。本发明的有益效果是,发光强度高,斯托克斯位移大,发射峰的半高宽小;作为“阅读”技术的分子或颗粒尺寸小,并且具有较好的生物兼容性;“阅读”技术的载体无自发荧光和光漂白;本身无毒。

标签:
化学分析
辽宁 - 大连 来源:北方有色网 2023-03-19
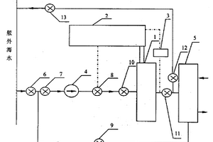
船舶压载水电解处理系统

本发明属于电化学氧化技术领域,为一种船舶压 载水电解处理系统,通过将船舶压载水在电解处理器1中直接 电解,产生高效氧化剂,包括氯气 Cl2,次氯酸HClO分子,二氧化 氯ClO2,游离的氧O·,羟基 OH·中的一种或多种物质,连同电场的作用,将船舶压载水 中的生物杀灭或抑活。在进行电解处理时,在线检测元件测量 电解产生的氧化剂浓度,并发送电信号给电源控制箱,电源控 制箱可根据此信号对施加的电解电压作出调整或在压载泵为 离心泵时,通过改变阀的开度调节处理流量,从而保持氧化剂 浓度在合适的范围内。本发明有效地去除海水中的磷酸盐,而 且降低了海水COD和TOC的含量,并增加了海水的溶解氧。 改善了海水的性质。

标签:
化学分析
辽宁 - 大连 来源:北方有色网 2023-03-19
石英谐振子超精密加工方法及装置

本发明属于机械加工技术领域,尤其涉及一种石英谐振子超精密加工方法及装置。首先采用普通成型方法加工出石英谐振子的外表面,然后使用专用砂轮进行粗磨、半精磨、化学机械抛光,结合先进的在线测量技术,对抛光后的表面进行检测,对超出允差范围的点位进行修抛至满足要求;采用专用夹具固定加工好的外表面,再对谐振子内表面进行成型磨削化学机械抛光及检测加工。本发明的专用夹具与砂轮的特点为中空伞状,砂轮磨削部分与被加工面形状一致,加工过程设防护装置及抛光液回收装置,可保证加工过程绿色环保,此外,本发明提供的加工方法和装置,具有加工效率高,加工同轴度好,加工表面损伤层低等优点。

标签:
化学分析
辽宁 - 大连 来源:北方有色网 2023-03-19
基于原子转移自由基聚合的磷脂酶C传感器制备方法

本发明公开一种基于原子转移自由基聚合的磷脂酶C传感器制备方法,其工作电极以特定的ATRP聚合液在光照条件下制备聚甲基丙烯醛修饰电极,再将银纳米粒子有效引入MVL ATRP分子链用于电化学传感器工作电极的信号放大,所制备的电化学生物传感器检测PLC十分灵敏,磷脂酶C浓度的线性检测范围为1‑106 mU/L,检出限为0.1032 mU/L(S/N=3)。与以往方法相比具有灵敏度高,可操作性强等优点。此外,本发明背景信号低、选择性高,可以避免假阳性结果的干扰、成本低、效益高。

标签:
化学分析
辽宁 - 大连 来源:北方有色网 2023-03-19
在纯水溶液中制备氟代联芳类化合物的方法

一种在纯水溶液中制备氟代联芳类化合物的方法,其属于催化化学技术领域。该方法通过卤代芳环化合物与氟代芳基硼酸的Suzuki交叉偶联反应制备氟代联芳类化合物的方法。它是将卤代芳环化合物、芳基硼酸、碱、催化剂和配体按摩尔比为0.5∶0.75∶1.0∶0.0005~0.0025∶0.001~0.005加到1~2ml水中,在氮气保护下于80~100℃反应1~4小时,反应结束后,在反应混合物中加入2ml乙醚萃取,室温下静置分相,含催化剂的水相循环使用,乙醚相加入饱和食盐水,并用乙酸乙酯萃取反应产物,合并有机相,滤液浓缩,用柱层析分离,得到分析纯的氟代联芳类化合物。该方法的特点是反应在绿色溶剂纯水中进行,无需加入任何有机溶剂;解决了纯水溶剂体系中非水溶性底物反应困难的问题;采用温控配体实现了催化剂的分离回收与重复使用。

标签:
化学分析
辽宁 - 大连 来源:北方有色网 2023-03-19
多维气相色谱毛细管柱切换开关

本发明是一种多维气相色谱分析用的毛细管柱 连接元件。它具有连接死体积小,化学稳定性好和便 于制造等优点,克服了已有技术安装毛细管柱麻烦的 缺点,并适用于包括内径在0.2毫米以下的各种薄壁 毛细管柱。

标签:
化学分析
辽宁 - 大连 来源:北方有色网 2023-03-19
烟酰胺腺嘌呤二核苷酸类似物及其合成方法与应用

本发明公开了一种烟酰胺腺嘌呤二核苷酸(NAD+)类似物及其合成方法与应用。NAD+类似物的结构通式为其中,以羧基为1位碳,类似物2位碳原子手性中心的立体构型为S,取代基R为C1‑C5的烷基或C1‑C5中的H被‑OH、‑COOH、‑CONH2、‑SCH3中的一种取代的烷基,取代位置为烷基的末端或次末端碳原子上;NAD+类似物是利用1‑(2’,4’‑二硝基苯基)‑3‑氨甲酰基吡啶和L‑α‑氨基酸为原料,在碱催化下合成的;NAD+类似物可以作为NAD(P)依赖型氧化还原酶的辅酶。本发明方法具有以下优点:合成NAD+类似物的反应条件温和,原料简单易得,反应产物完全保留原料L‑α‑氨基酸的立体结构,不发生消旋。本发明得到的NAD+类似物可用于生物催化、生物分析化学、代谢工程和合成生物学研究中。

标签:
化学分析
辽宁 - 大连 来源:北方有色网 2023-03-19
多功能交联剂及其制备方法和应用

本发明涉及一种多功能交联剂及其制备方法和应用,属于有机合成技术领域。本交联剂具有生物素富集单元,实现交联肽高通量、高灵敏度分析;具有偶氮二苯基化学断裂单元,实现交联剂富集后的高效且温和的释放,提高质谱数据鉴定精准度;具有琥珀酰亚胺酯结构单元,生理条件下与蛋白质、多肽赖氨酸残基末端或N端氨基发生酰胺化反应,实现蛋白质的化学交联;具有光活性基团,实现真实的细胞原位蛋白质结构及相互作用信息的解析。本发明交联剂应用于细胞质膜蛋白质组学领域,为实现细胞质膜蛋白质复合体的规模化分析、细胞质膜蛋白质的三维空间结构解析、细胞质膜蛋白质‑蛋白质相互作用解析提供重要的技术支撑。

标签:
化学分析
辽宁 - 大连 来源:北方有色网 2023-03-19
自动阀控制系统
自动阀控制系统 966     
 0

本发明的目的在于提供一种阀自动控制系统,可以从PC端、移动端应用系统对实验室的各化学分析仪器的多路阀进行精确控制、监控阀状态、以及在试验过程中对阀进行准确、及时和有效的控制,保证试验步骤准确执行,实现化学分析实验的完全自动化、高效性和准确性。其特征在于,包括阀、电磁阀、执行设定模块、数据传输管理模块、状态监控模块、执行队列模块。

标签:
化学分析
辽宁 - 大连 来源:北方有色网 2023-03-19
制备铬盐的方法
制备铬盐的方法 778     
 0

本发明公开了一种制备铬盐的方法。其特征在于:将含铬氧化物的原料(铬矿或者铬渣)和碳酸钠充分均匀混合,在含氧量大于20%的气氛下,采用微波作为热源进行氧化焙烧,焙烧温度为900℃到1100℃,保温时间为0.5-2.5h,利用水浸焙烧产物,从浸出液中制备铬盐,化学分析熟料及浸渣,不溶性废渣含铬(按三氧化二铬计)小于5%。本发明不仅减少了外排铬渣中的铬含量,提高了铬盐生产过程中的铬的利用率,有效节约了铬矿资源,而且用微波作为热源替代了传统的煤炭及天然气加热,资源节约及环保优势显著。

标签:
化学分析
辽宁 - 大连 来源:北方有色网 2023-03-19
核壳结构的聚合物微球及其制备和应用

本发明属高分子材料和分析技术领域,涉及一种单分散核壳结构聚合物纳米粒子及其制备和应用。单烯类功能单体与多烯类交联单体通过聚合制得的聚合物粒子为核,然后通过聚合物表面的残留双键和半胱氨酸的巯基之间发生的巯基与双键的点击化学(thiol-ene)技术在核表面修饰上半胱氨酸单体,形成表面光滑且带有氨基和羧基亲水性功能基团核壳结构的聚合物纳米粒子。本发明在材料表面通过thiol-ene反应接枝半胱氨酸引入氨基和羧基等亲水基团,不仅克服了传统后修饰方法反应效率低、步骤繁琐以及副反应多等缺点,而且提高表面功能基团的键合量。本发明的聚合物纳米粒子可用于分离或富集糖肽、糖蛋白,在蛋白质组学等领域有较好的实用价值和应用前景。

标签:
化学分析
辽宁 - 大连 来源:北方有色网 2023-03-19
苯硼酸亲和整体柱的制备方法

本发明属于分析化学领域,更具体地涉及一种苯硼酸亲和整体柱的制备方法。具体步骤如下:(1)将功能单体4-(3-烯丁基砜)苯硼酸(SPBA)与交联剂溶于溶剂中,涡旋、超声混合均匀;(2)经涡旋、超声混合均匀后,加入适量引发剂,再次涡旋、超声混合均匀,将该均匀溶液灌注到离心管、毛细管柱或高效液相色谱常规柱中,将模具密封,在50℃~90℃的温度下,恒温反应6-36小时,反应结束后,将产物采用甲醇索氏提取的方法提取,或将毛细管柱或高效液相色谱柱接入到注射泵或高效液相色谱体系中,用甲醇等有机溶剂冲洗整体材料,即得本发明的亲水性的苯硼酸功能化多孔整体材料。

标签:
化学分析
辽宁 - 大连 来源:北方有色网 2023-03-19
超细内径毛细管整体柱及其制备和应用

本发明涉及一种用于单细胞分析的超细内径毛细管整体柱及其制备方法。所述的超细内径毛细管整体柱是在内径为10‑30μm的毛细管中通过烯基三甲(乙)氧基硅烷类和仲胺基桥联三甲(乙)氧基硅烷类的溶胶凝胶反应原位制备仲氨基桥联杂化整体材料基质,然后通过“硫巯‑烯”点击化学反应修饰功能基团制备而得。此超细内径毛细管整体柱具有以下优点:(1)与填充的方法相比,基于原位溶胶凝胶反应和表面化学反应的方法制备超细内径毛细管柱简单易行;(2)与超细内径填充柱相比,此超细内径毛细管整体柱通透性好,反压小;(3)骨架结构上的仲胺基可有效抑制残留硅羟基的非特异性吸附,从而提高了单细胞蛋白质组样品分离的峰容量和分析的灵敏度。

标签:
化学分析
辽宁 - 大连 来源:北方有色网 2023-03-19
上一页 9 10 11 12 13 ... 34 下一页
共34页    到第

北方有色为您提供最新的辽宁大连有色金属化学分析技术理论与应用信息,涵盖发明专利、权利要求、说明书、技术领域、背景技术、实用新型内容及具体实施方式等有色技术内容。打造最具专业性的有色金属技术理论与应用平台!

全国热门有色金属设备推荐
展开更多 +
全国热门有色金属技术推荐
展开更多 +

 

江西省隆恩特环保设备有限公司
宣传

报名参会
更多+

报告下载

有色专家
更多+

矿冶科技集团有限公司
所长/研究员级高工
任灵宝金源矿业股份有限公司
技术发展部经理
中国矿业大学
副院长/教授
长沙有色冶金设计研究院有限公司
正高级工程师/中国铝业首席工程师/全国有色金属行业设计大师/国家注册采矿工程师
中南大学
教授
赤泥综合利用研究报告2025
推广

热门技术
更多+

推荐企业
更多+

福建省金龙稀土股份有限公司
宣传

发布

在线客服

公众号

电话

顶部
咨询电话:
010-88793500-807