青岛垚鑫智能科技有限公司
宣传

位置:中冶有色 >

有色技术频道 >

> 无损检测技术

分类:
全部
矿山技术
冶金技术
材料制备及加工技术
环境保护技术
分析检测技术
 
全部
物理检测技术
化学分析技术
力学检测技术
无损检测技术
失效分析技术
环境检测技术
地区:
全部
北京
天津
上海
重庆
河北
山西
辽宁
吉林
黑龙江
江苏
浙江
安徽
福建
江西
山东
河南
湖北
湖南
广东
海南
四川
贵州
云南
陕西
甘肃
青海
内蒙
广西
西藏
宁夏
新疆
其他
其他
展开
 
全部
广州
韶关
深圳
珠海
汕头
佛山
江门
湛江
茂名
肇庆
惠州
梅州
汕尾
河源
阳江
清远
东莞
中山
潮州
揭阳
云浮

广东深圳有色金属无损检测技术理论与应用

免费发布技术信息>>
材料残余应力检测方法、系统及存储介质

本发明公开了一种材料残余应力检测方法、系统及存储介质,该方法应用于材料残余应力检测装置,材料残余应力检测装置包括相互平行设置的两机械臂,待检材料夹在两机械臂之间,该方法包括:获取通过旋转机械臂使得待检材料发生弯曲时的数据信息,其中,数据信息至少包括待检材料的长度L、待检材料的厚度w、机械臂弯曲的旋转角度Δθ,对机械臂施加的力F;根据数据信息获取材料弯曲过程中的弯矩‑曲率关系;根据弯矩‑曲率关系,通过对弯曲实验数据的拟合,利用逆程序预测待检材料中的残余应力分布。本发明实现了在无损的情况下快速准确预测待检材料的残余应力分布,相对于现有技术所采用的残余应力分布预测方案,本发明操作简单、检测时间快、检测成本低。

标签:
无损检测
广东 - 深圳 来源:中冶有色网 2023-03-19
屏幕内部缺陷的检测装置

本实用新型公开了一种屏幕内部缺陷的检测装置,包括贴合机、热压机和OCT检测仪,OCT检测仪包括OCT扫描探头、OCT光路集成模块和系统控制模块,OCT扫描探头包括第一扫描探头和第二扫描探头,第一扫描探头设置在贴合机上并与贴合机固定,第二扫描探头设置在热压机上并与热压机固定,第一扫描探头和第二扫描探头分别通过第一光纤和第二光纤与OCT光路集成模块的输入端连接,OCT光路集成模块的输出端与系统控制模块连接。本装置通过OCT检测仪对屏幕贴合过程中产生的气泡缺陷进行实时成像,从而提高了屏幕缺陷检测的通用性、准确率和精度,检测效率高,具有非接触性、无损、高分辨率、实时的检测优点。

标签:
无损检测
广东 - 深圳 来源:中冶有色网 2023-03-19
水果质量检测装置
水果质量检测装置 839     
 0

本发明公开了一种水果质量检测装置,包括检测箱体,所述检测箱体内具有用于放置待测水果的可封闭腔体;图像采集部,设置于所述检测箱体的顶部,以用于对所述待测水果进行图片拍摄;激光检测部,设置于所述检测箱体的一侧,以用于朝向所述待测水果发射设定波长的激光;信息处理部,设置于所述检测箱体的底部,并与所述图像采集部和所述激光检测部连接,所述信息处理部能够接收所述图像采集部传入的图片和所述激光检测部传入的携带待测水果糖度信息的光信号,以经过信息处理后输出所述待测水果的检测信息。该装置能够实现水果的无损检测,避免繁琐的预处理操作,并引入糖度作为内部品质评价指标,实现水果内外品质的同步检测。

标签:
无损检测
广东 - 深圳 来源:中冶有色网 2023-03-19
滚动式定位板
滚动式定位板 802     
 0

本实用新型公开一种滚动式定位板,其刹车驱动机构包括一滑动地穿设于底板部件上的刹车主轴,支撑轮、导向轮分别转动地连接于刹车主轴的两侧,支撑轮刹车机构设置于支撑轮与刹车主轴之间并安装于底板部件上,其一端与支撑轮可分离地抵触,另一端与一刹车传动杆的一端相铰接;导向轮刹车机构设置于导向轮与刹车主轴之间并安装于底板部件上,其一端与导向轮可分离地抵触,另一端与另一刹车传动杆的一端相铰接;各刹车传动杆的另一端均铰接于刹车主轴上;通过操作刹车主轴而使刹车传动杆摆动,从而推动支撑轮刹车机构、导向轮刹车机构往复运动而对支撑轮、导向轮产生制动力以进行刹车定位;能够实现精准定位,且高度整合,结构简单紧凑,节省占用空间。

标签:
无损检测
广东 - 深圳 来源:中冶有色网 2023-03-19
砂浆中氯离子含量的检测方法、装置、终端及存储介质

本申请适用于材料检测技术领域,提供了一种砂浆中氯离子含量的检测方法、装置、终端及存储介质,所述检测方法包括:获取砂浆试件在不同干湿循环周期下的直达波振幅和待测砂浆的直达波振幅;获取砂浆试件在同一干湿循环周期下的不同砂浆深度与氯离子含量的第一对应关系;根据砂浆试件在不同干湿循环周期下的第一对应关系,确定砂浆试件在对应干湿循环周期下的候选参数;建立砂浆试件在同一干湿循环周期下的直达波振幅与候选参数的第二对应关系;根据待测砂浆的直达波振幅、砂浆试件在不同干湿循环周期下的第一对应关系和第二对应关系,确定待测砂浆中每一砂浆深度的氯离子含量。上述方案实现了对砂浆中氯离子含量的无损检测。

标签:
无损检测
广东 - 深圳 来源:中冶有色网 2023-03-19
多频太赫兹检测装置和系统

本实用新型涉及一种多频太赫兹检测装置和系统。该装置包括:用于发射不同频率的太赫兹波、出光端口设置有准直透镜的多频太赫兹发射装置;设置于多频太赫兹发射装置的太赫兹波发射路径上、用于反射太赫兹波至被测物品以对被测物品进行扫描的扫描装置;设置于被测物品的透射光路方向上的成像装置;设置于被测物品至成像装置的传输光路方向上、用于可疑物品检测时将被测物品透射的不同频率的太赫兹波反射至功率检测模块的反射装置;设置于被测物品透射的不同频率的太赫兹波的反射光路方向上的功率检测装置。通过上述多频太赫兹检测装置,无需对被测物品进行拆封处理,实现了对被测物品的无损检测。

标签:
无损检测
广东 - 深圳 来源:中冶有色网 2023-03-19
简易光谱检测器
简易光谱检测器 1098     
 0

本实用新型公开了一种简易光谱检测器,包括:环形避光海绵、环形LED灯组、收光组件、分光组件、光传感器阵列、ARM微型计算机以及壳体,所述环形LED灯组设置在检测口下方,环形LED灯组包括六组不同波段的LED灯组;所述收光组件垂直于检测口设置在壳体内,收光组件为一个石英棒;所述分光组件由七个不同波长的窄带滤光片组成,分光组件下方设置光传感器阵列,所述光传感器阵列由七个敏感区处于近红外段的硅光电池组成。本实用新型利用近红外光谱无损检测技术,使光谱采集装置经济、简单、高效,采用了对水果内部品质敏感的特定波长的近红外LED灯配合不同滤光组件的形式,解决了光源发热对检测的影响,提高了检测仪的实用价值和通用性。

标签:
无损检测
广东 - 深圳 来源:中冶有色网 2023-03-19
射线成像检测装置
射线成像检测装置 1166     
 0

本申请公开了一种射线成像检测装置,该射线成像检测装置包括导向机构、射线发生器、探测器和驱动机构。导向机构沿物料传输线的传输方向延伸,射线发生器活动设置于导向机构,用于向物料传输线上的待检测物料发出检测射线。探测器活动设置于导向机构,探测器与射线发生器相对设置,用于接收穿透待检测物料的检测射线,并生成检测图像。在进行检测工作时,通过驱动机构驱动射线发生器和探测器在导向机构上与待检测的物料同步运动,使得射线发生器和探测器在检测过程中与待检测的物料保持相对静止,从而在不停止物料传输线的前提下,实现对待检测物料的无损检测,有利于提高物料的传输效率。

标签:
无损检测
广东 - 深圳 来源:中冶有色网 2023-03-19
PCB板检测装置
PCB板检测装置 842     
 0

本实用新型涉及PCB主板检测领域,公开了一种PCB板检测装置及具有该装置的多工位PCB板检测机,所述PCB板检测装置包括载板、翻转块、限制元件、回位手柄、检测探针、探针块、电池盒模组、滑动件;所述翻转块一端固定于载板上;所述限制元件包括固定部与活动部两部分;其中固定部固定于翻转块一侧,活动部固定于载板上;所述回位手柄固定于翻转块上并贯穿所述探针块;所述电池盒模组固定于所述探针块上;所述检测探针固定于所述电池盒模组底端并贯穿所述探针块及翻转块;所述滑动件底端固定于所述电池盒模组第一部分的一侧,本实用新型提供的PCB板检测装置能实现PCB板无损、快速检测,旨在提高生产效率、降低生产成本。

标签:
无损检测
广东 - 深圳 来源:中冶有色网 2023-03-19
三自由度自适应小车
三自由度自适应小车 1036     
 0

本实用新型公开一种三自由度自适应小车,包括主机架部件、滚轮支撑部件及适应导向机构。主机架部件包括底板、顶板及压簧顶升机构;压簧顶升机构包括导向柱、导向套筒及支撑压簧,导向柱固定于底板与顶板的其中一者,导向套筒固定于底板与顶板中的另一者,导向柱插接于导向套筒内,支撑压簧套设于导向柱及导向套筒且两端分别顶推底板与顶板。滚轮支撑部件包括安装块及滚轮,滚轮滚动支撑于轨道。适应导向机构包括导向芯块,顶板的上端设置有横向导轨或横向导槽,导向芯块滑动设置于横向导轨或横向导槽,导向芯块与作业检测部件通过圆形凸台及圆形凹槽转动配合。本三自由度自适应小车能够在三个自由度上进行自我调整,满足作业及检测需求。

标签:
无损检测
广东 - 深圳 来源:中冶有色网 2023-03-19
用于半导体缺陷检测的系统

为克服现有半导体样品缺陷检测系统检测效率低、精确度差以及有损的问题,本发明提供了一种用于半导体缺陷检测的系统,包括第一光源,用于使半导体样品产生散射光,第二光源,用于使半导体样品产生第一反射光,第三光源,用于使半导体样品产生第二反射光和光致发光;光致发光检测组件,用于检测半导体样品上单个发光单元的荧光光谱以及荧光图像;散射光检测组件,用于检测散射光的图像;反射光检测组件,用于检测第一反射光和第二反射光的图像。本发明提供的检测系统能够同时、快速、无损的进行半导体外表面缺陷、次表面缺陷以及器件缺陷检测,检测准确度高,适用Mini LED、Micro LED的缺陷检测和质量分析。

标签:
无损检测
广东 - 深圳 来源:中冶有色网 2023-03-19
钢丝绳检测系统
钢丝绳检测系统 954     
 0

本实用新型涉及一种钢丝绳检测系统,用于对钢丝绳缺陷进行无损在线检测;包括:漏磁通信号采集装置,用于在接收到采集信号时采集钢丝绳上漏磁通信号采集装置所在位置的漏磁通信号;与钢丝绳连接的测距装置,用于对钢丝绳的移动距离进行检测并在钢丝绳每移动目标距离时产生中断信号;微处理器,分别与漏磁通信号采集装置和测距装置连接;微处理器用于在每接收到所述中断信号时产生采集信号给漏磁通信号采集装置。该钢丝绳检测系统采用等空间采样方式对钢丝绳的漏磁通信号进行采样,因此能够保证钢丝绳测量位置的准确性。同时整个钢丝绳检测系统不需要人为参与,实现了对钢丝绳的完全在线自动检测。

标签:
无损检测
广东 - 深圳 来源:中冶有色网 2023-03-19
混凝土管道内壁检测系统

本发明公开了一种混凝土管道内壁检测系统,包括用于进入管道内进行探测工作的探测器以及用于对探测器进行控制的主控系统,所述探测器包括探头以及封装箱,所述封装箱上设置有用于带动所述探头移动的伸缩机构和旋转机构;所述主控系统用于控制通过所述探头向管道内壁发出激光,产生管壁等离子体和管壁振动波,并收集和分析所述管壁等离子体的光谱和管壁振动波。本申请的检测系统,无须对待测管道进行预处理,管道内壁微损甚至无损,可实现多种元素的同时快速定量分析,可通过管壁声波的分析实现管壁缺陷检测和定位,并且声波信号可重复,整个检测过程操作安全可靠、简单高效,可实现水下混凝土管道内壁全方位的检测。

标签:
无损检测
广东 - 深圳 来源:中冶有色网 2023-03-19
电机转子磁场分布工艺检测方法

本发明属于电机转子磁场分布工艺检测领域,具体涉及一种电机转子磁场分布工艺检测方法。本发明通过设计磁场分布工艺检测模式,首先检测出电机转子的磁极对数,然后根据电机转子的磁极对数获取电机转子在电气零位时的机械角度,最后根据电机转子在电气零位时的机械角度分析电机转子的磁场分布均匀情况;本发明提供的一种检测电机转子磁场分布的方法,步骤流程简单,不需要增加过多的检测装置即可实现快速、无损对电机转子磁场分布均匀性的检测,节约了检测成本,提高了检测效率,有助于改善工艺和筛选不良品,提高了产品质量。

标签:
无损检测
广东 - 深圳 来源:中冶有色网 2023-03-19
报文检测方法和装置
报文检测方法和装置 1002     
 0

本发明实施例公开了一种报文检测方法,包括:提取待检测报文的行为特征的实际值;将所述行为特征的实际值按转换规则生成元数据;将所述元数据插入到所述待检测报文中;利用所述元数据搜索状态机,所述元数据以对所述待检测报文进行识别;所述状态机是将样本报文的行为特征按所述规则进行正则转换编译得到的。相应地,本发明实施例还公开了一种报文检测装置,通过以上技术方案为行为特征检测提供统一的检测流程,使行为特征的变化无损升级,简化行为特征的逻辑处理,提升行为特征检测性能,提高了行为特征的可维护性和可靠性。

标签:
无损检测
广东 - 深圳 来源:中冶有色网 2023-03-19
基于大数据平台的高光谱物质检测识别系统及方法

本发明公开了一种基于大数据平台的高光谱物质检测识别系统及方法,系统包括:系统管理员账户模块、系统用户账户模块、高光谱图像数据库模块、高光谱图像数据上传模块、高光谱图像数据标定模块、高光谱图像数据分类及检测识别模块。该系统获取用户上传的待测高光谱图像文件及用户选择目标检测算法或有监督分类算法;基于大数据平台中已标注的高光谱数据,利用选择算法,结合大数据的分布式并行算法,对待测高光谱图像文件做物质检测识别及分类。通过利用大数据平台的数据共享,实现单一机构或企业所无法完成的物质高光谱数据采集及标定工作,结合目标检测算法及有监督分类算法实现快速、简单、低成本、可重复且无损耗的定性物质检测识别。

标签:
无损检测
广东 - 深圳 来源:中冶有色网 2023-03-19
发电机定子槽楔松紧度检测方法、设备和存储介质

本申请属于发电机技术领域,具体涉及一种发电机定子槽楔松紧度检测方法、设备和存储介质,其中的方法包括:S10、获取待检测槽楔被敲击后由声音传感器采集得到的原始声波数据;S20、对所述原始声波数据进行预处理,得到敲击声波数据;S30、对所述敲击声波数据进行目标特征提取,得到声波特征值;其中,所述目标特征包括频带幅值面积、频谱质心、波形因子、第三峰值频率、第五峰值频率;S40、将所述声波特征值输入到训练好的分类器中进行敲击声波特征分类,得到发电机定子槽楔松紧度检测结果。本申请提出的方法对发电机定子槽楔松紧度无损检测,不仅提高了检测效率和准确率、还降低了检测成本。

标签:
无损检测
广东 - 深圳 来源:中冶有色网 2023-03-19
光声传感器、检测装置及光声传感器的制作方法

本申请提供了一种光声传感器、检测装置及光声传感器的制作方法,其中,该光声传感器包括:结合层,用于贴设于待检测件的表面;复合层,设置在结合层上,复合层是采用聚二甲基硅氧烷和烛灰碳纳米颗粒制成,复合层用于吸收外部入射激光,并向外辐射超声波,对待检测件进行无损检测。本申请提供的光声传感器能够直接贴设于待检测件的表面,因而可有效增强入射的激光超声信号,且能够有效避免该激光超声信号对待检测件表面造成烧蚀或氧化,进而拓宽了采用该光声传感器进行激光超声检测的应用范围。

标签:
无损检测
广东 - 深圳 来源:中冶有色网 2023-03-19
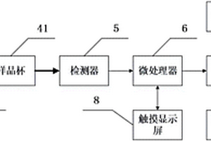
基于近红外光谱检测面粉品质的装置

本发明提供一种基于近红外光谱检测面粉品质的装置,包括壳体,所述壳体内设置有IR光源、分束器、检测器、微处理器、旋转台、无线传输模块、电源装置,所述壳体外侧设置有触摸显示屏,所述旋转台上放置有样品杯,所述旋转台上方设置有通过活页与壳体连接的翻盖。所述IR光源发射近红外光经分束器后,得到的干涉光穿过样品杯被检测器检测到,所述分束器得到的干涉光的中轴线穿过样品杯,并且与检测器中轴线在一条水平线上。本发明可快速无损的检测面粉的品质,并且得出影响面粉品质的滑石粉和过氧化苯甲酰的含量,具有无需复杂的前处理、检测成本低、自动化检测、检测速度快的优点。

标签:
无损检测
广东 - 深圳 来源:中冶有色网 2023-03-19
基于透过率的在线检测CdS薄膜厚度的系统

本发明公开了一种基于透过率的在线检测CdS薄膜厚度的系统,包括:单色光源发生器、光强检测系统、若干传感器、控制器及能将透过率数据转换为膜厚数据的计算机;传感器用于检测CdS薄膜的位置,并将检测发送信号发送给控制器;控制器接收到传感器信号后,控制单色光源发生器及光强检测系统工作;单色光源发生器及光强检测系统用于在线检测CdS薄膜的透过率;光强检测系统将检测数据传输至计算机,获得膜厚数据。本发明采用CdS薄膜吸收敏感波段,检测分辨率能够达到纳米级别。此外,该系统还具有无损、检测速度快等特征,能够嵌入生产线。

标签:
无损检测
广东 - 深圳 来源:中冶有色网 2023-03-19
手持或车载全自动智能型的电池检测系统

本实用新型提供了一种手持或车载全自动智能型的电池检测系统,所述电池检测系统包括待检测的电池、控制器电源、控制器、恒流源、脉冲电路、第一滤波采样电路和第二滤波采样电路,所述电池检测系统包括等效内阻检测电路和虚压检测电路;所述等效内阻检测电路包括所述控制器、所述恒流源、所述脉冲电路、所述待检测的电池、所述控制器电源、所述第一滤波采样电路,所述虚压检测电路包括所述控制器、所述恒流源、所述脉冲电路、所述待检测的电池、所述控制器电源、所述第二滤波采样电路。本实用新型同时检测电池交流成分和直流成分电压,能更好的判别电池的好坏,检测过程中使用小电流检测,可以做到对电池无损检测。

标签:
无损检测
广东 - 深圳 来源:中冶有色网 2023-03-19
当归样品的检测方法和系统

本发明涉及一种当归样品的检测方法和系统,用于当归检测,所述当归样品的检测方法包括以下步骤:以太赫兹光照射当归标准品和当归待测试样品,获得待测试当归样品吸收谱;将待测试当归样品吸收谱和当归标准品吸收谱进行比较,判断待测试当归样品真伪;如果所述待测试样品为真,则根据所述吸收谱确定所述待测试当归样品中当归的浓度,以浓度高低判定当归样品优劣。一种当归样品的检测系统包括:太赫兹时域光谱仪装置,用于测得当归样品的太赫兹时域光谱数据;处理器,用于执行所述的当归样品检测方法。上述检测方法和系统,操作简单快速,对样品无损伤,更有效的确定当归样品的真伪以及根据待测样品的浓度高低判定当归样品优劣。

标签:
无损检测
广东 - 深圳 来源:中冶有色网 2023-03-19
基于物联网的人、车、柜分离的纳米波检测系统

本发明提供了一种基于物联网的人、车、柜分离的纳米波检测系统,其包括:检测装置、用户端以及云端;所述检测装置用于同一场地对人、车、柜分别采用纳米波、毫米波或金属探测器进行无损的分离检测,将检测数据发送至用户端,通过用户端对数据进行分析,将分析结果及未处理的数据发送至云端,云端对分析结果进行存储及管理及对未处理数据进行检测,并将检测结果反馈至用户端。本发明通过检测装置对人、车、柜分别采用纳米波、毫米波或金属探测器的分离检测,并采用云端对用户端无法处理的疑难物质进行分析,实现了利用物联网云计算系统对分布式的各检测装置进行信息化系统管理,提高了对车辆内部货柜车内部的危险品、违禁品的识别的准确性。

标签:
无损检测
广东 - 深圳 来源:中冶有色网 2023-03-19
钢丝绳磨损的检测方法及装置

本发明适用于图像处理技术领域,提供了一种钢丝绳磨损的检测方法及装置,所述方法包括:获取待检测钢丝绳的初始处理图像;对所述待检测钢丝绳的初始处理图像进行canny边缘检测算法处理;识别所述canny边缘检测效果图中的钢丝绳边缘轮廓线、钢股线、及钢股中的钢丝线;对所述canny边缘检测效果图中所有的钢股线的斜率进行混乱程度进行统计量的计算,生成熵值S;依据所述熵值S输出描述所述钢丝绳磨损程度的磨损评估数W;本发明实施例解决了现有钢丝绳检测技术中人工检测劳动强度大,效率低下,精度不高,无损探伤检测设备复杂,成本高昂贵的问题。

标签:
无损检测
广东 - 深圳 来源:中冶有色网 2023-03-19
周围血管疾病热像检测装置

本实用新型公开了一种周围血管疾病热像检测装置,包括检测台、检测装置、底座、中央处理器、预处理器和主控台,所述检测台的内部安装有金属网板,所述检测台的一侧设有底座,底座上固定有立柱,立柱的顶端通过支撑杆安装有横杆,所述检测装置的内部安装有中央处理器、CMOS图像传感器、预处理器和控制器,所述检测装置的底部设有第一开孔、第二开孔以及第三开孔,所述第一开孔和第三开孔处的检测装置内部均安装有脉冲加热灯,所述第二开孔处的检测装置内部安装有红外热像仪。本实用新型结构简单、操作方便,在检查时无需和人体接触,检查过程无损伤,且检查效率高,适合对较大规模人群进行疾病预警筛查。

标签:
无损检测
广东 - 深圳 来源:中冶有色网 2023-03-19
种子含水量检测系统和方法

本发明提供一种种子含水量检测系统,包括太赫兹时域检测装置和信号分析装置;所述太赫兹时域检测装置包括飞秒激光器、分束器、太赫兹辐射模块、太赫兹探测模块;所述信号分析装置,与所述太赫兹探测模块连接,用于接收所述太赫兹波和所述探测光、并对所述太赫兹波和所述探测光进行处理生成太赫兹时域光谱。此外,还提供一种种子含水量的检测方法。通过太赫兹时域检测装置对种子的检测,达到了无损检测的效果,并且不会改变种子的物理及化学性质,进一步优化了农业生产过程。更进一步地,通过建立预测模型的方式,使得后续只需获取种子的太赫兹时域光谱数据,即可得到种子的含水量。

标签:
无损检测
广东 - 深圳 来源:中冶有色网 2023-03-19
海上平台管道智能检测系统

本发明公开了海上平台管道智能检测系统,包括检测小车和检测管道,检测小车的底部转动安装有车轮,检测小车通过车轮转动在检测管道内部行走,检测小车上设有驱动机构,驱动机构包括第一驱动组件和第二驱动组件,第一驱动组件和第二驱动组件分别设置在检测小车相对的两侧上,第一驱动组件上设有第一检测机构和清理机构,第二驱动组件上设有第二检测机构和修复机构,有益效果:清理组件和除尘机构避免管道内壁污垢、灰尘对检测的阻碍,提高检测准确度,修复机构改善缺陷处的耐腐蚀等性能,将管道检测与修复结合,第二检测机构对修复处管道二次无损伤探测及影像检测、定位标记,一次全面检测和二次重点检测相结合,提高检测可靠性。

标签:
无损检测
广东 - 深圳 来源:中冶有色网 2023-03-19
翻转开合装置及可折叠电子产品检测设备

本申请实施例涉及可折叠电子产品无损检测领域,尤其涉及一种翻转开合装置及可折叠电子产品检测设备。翻转开合装置包括成对布置的驱动组件,驱动组件包括转动驱动单元、摆臂单元与夹持单元。将可折叠电子产品的两个折叠部通过不同的夹持单元固定在相应的摆臂单元上,使可折叠电子产品的转轴机构与转动驱动单元的输出轴两者轴线尽量接近,通过不同的转动驱动单元驱动相应摆臂单元转动,转动驱动单元中的输出轴运动参数可调控,两个摆臂单元可独立转动,从而实现两个折叠部不同的运动方式。该翻转开合装置结构简单,操作方便,结合常规的射线检测装置,能对开合过程中的可折叠电子产品内部结构进行无损动态观测,实现内部结构运动影像可视化。

标签:
无损检测
广东 - 深圳 来源:中冶有色网 2023-03-19
叠片电池x-ray在线检测仪

本实用新型涉及一种叠片电池x‑ray在线检测仪及其使用方法,包括取料机构、横移模组、接料机构、整形机构、增强器、旋转照射装置、光管装置、操作平台、分选流水线、下料顶升装置、横移托盘、下料模组、顶料机构和机架,操作平台设置在机架左上棱角处,取料机构与横移模组连接,接料机构设置在取料机构上侧,下料模组与整形机构连接,横移托盘设置在下料模组上,增强器设置在下料模组左侧,旋转照射装置与光管装置连接,分选流水线设置在下料顶升装置上侧,顶料机构设置在横移托盘下侧,本实用新型能够对外形尺寸比较大的电池进行无损检测,X光管的多方位运动性,使其可对大型电池进行全方位的检测,主要应用于比较大型的电池或零件的无损检测。

标签:
无损检测
广东 - 深圳 来源:中冶有色网 2023-03-19
供水系统检测装置及其数据采集器

本实用新型属于市政供水技术领域,提供了一种供水系统检测装置及其数据采集器,包括:供电模块、主控模块、压力数据采集模块以及模数转换模块;所述供电模块与所述主控模块连接,所述压力数据采集模块与所述模数转换模块连接,所述模数转换模块与所述主控模块连接;所述供电模块为所述数据采集器提供工作电压;通过压力数据采集单元采集供水系统管道的监测点的压力数据,并根据该压力数据分析所述供水系统的健康状况。能够无损、快速且准确地检测供水系统的健康状态,有效地解决了现有的市政供水系统行业内无法实现的无损、快速、精准地检测供水系统健康状况的问题。

标签:
无损检测
广东 - 深圳 来源:中冶有色网 2023-03-19
上一页 9 10 11 12 13 ... 19 下一页
共19页    到第

中冶有色为您提供最新的广东深圳有色金属无损检测技术理论与应用信息,涵盖发明专利、权利要求、说明书、技术领域、背景技术、实用新型内容及具体实施方式等有色技术内容。打造最具专业性的有色金属技术理论与应用平台!

全国热门有色金属设备推荐
展开更多 +
全国热门有色金属技术推荐
展开更多 +

 

江西省隆恩特环保设备有限公司
宣传

报名参会
更多+

2025年10月15日 ~ 17日
2025年10月17日 ~ 19日
2025年10月31日 ~ 11月02日
2025年11月07日 ~ 09日

报告下载

有色专家
更多+

昆明理工大学
教授
洛阳有色矿业集团有限公司
生产技术部经理
任灵宝金源矿业股份有限公司
技术发展部经理
北京科技大学、中国科学院
院士
北京工业大学、中国工程院
中国工程院 院士
赤泥综合利用研究报告2025
推广

热门技术
更多+

推荐企业
更多+

福建省金龙稀土股份有限公司
宣传

发布

在线客服

公众号

电话

顶部
咨询电话:
010-88793500-807