青岛垚鑫智能科技有限公司
宣传

位置:中冶有色 >

有色技术频道 >

> 通用技术

分类:
全部
矿山技术
冶金技术
材料制备及加工技术
环境保护技术
分析检测技术
 
全部
探矿技术
采矿技术
选矿技术
通用技术
地区:
全部
北京
天津
上海
重庆
河北
山西
辽宁
吉林
黑龙江
江苏
浙江
安徽
福建
江西
山东
河南
湖北
湖南
广东
海南
四川
贵州
云南
陕西
甘肃
青海
内蒙
广西
西藏
宁夏
新疆
其他
其他
展开
 
全部

有色金属通用技术理论与应用

免费发布技术信息>>
具有磁选功能的离心选矿机

本实用新型公开了一种具有磁选功能的离心选矿机,包括底座,所述第一转动轴底端固定连接有离心腔,所述底座顶部中间位置固定连接有防护箱,所述第二转动轴两侧固定连接有均匀分布的搅拌叶且搅拌叶均位于离心腔内部,所述收集箱底部固定连接有斜板,所述收集箱右侧贯穿并固定连接有选矿箱。本实用新型中,第一电机通过第一转动轴带动离心腔转动,第二电机通过第二转动轴带动搅拌叶转动,通过搅拌叶和离心腔可在矿石离心时同时对矿石进行搅拌破碎,提高矿石的成分,通过斜板上的第一滤孔可将灰尘和杂质进行过滤,矿石沿着斜板到达选矿箱处,筛分的同时对离心产生的粉尘和杂质进行清理,值得大力推广。

标签:
通用技术
江西 - 赣州 来源:中冶有色网 2023-03-18
促进稀土矿迹地土壤团聚的方法

本发明公开了一种促进稀土矿迹地土壤团聚的方法。本发明方法包括以下步骤:S1.按1‑4g结冷胶、60‑240g湿污泥、60‑240g堆置污泥与1L水的比例混合,进行破壁粉碎处理,过筛,回收滤渣,留下初悬浊液;初悬浊液静置分层后,将上清液回收,留下层悬浊液备用;S2.按每千克稀土矿采矿迹地土壤添加120‑200mL悬浊液的比例加入悬浊液,且控制土壤相对含水量为60%~80%,搅拌混合,然后静置培养5‑8天;然后重复上述操作1‑3次。本发明方法工艺简单、原材料简单且能实现城市污泥安全资源利用,有效的促进了稀土矿迹地土壤团聚形成更多大团聚体。

标签:
通用技术
广东 - 广州 来源:中冶有色网 2023-03-18
由锂矿石制备锰硅合金并富集锂的方法

本发明公开一种由锂矿石制备锰硅合金并富集锂的方法,将锂矿石、碳质还原剂、锰源、钙质添加剂破碎后进行配料,混合料加入到密闭矿热炉中进行高温还原反应,在矿热炉的烟尘净化系统中收集富锂灰、出铁口得到锰硅合金、出渣口回收富氧化铝渣;本发明具有工艺流程简单、成本低、资源综合利用率高、无环境污染和固体废弃物排放等特点。

标签:
通用技术
云南 - 昆明 来源:中冶有色网 2023-03-18
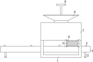
矿石成分检测装置
矿石成分检测装置 1067     
 0

本发明公开的一种矿石成分检测装置,包括装置主体,所述装置主体内左右贯通的设有开口向前的通槽,所述通槽内转动设有皮带轮,所述皮带轮上连接有输送带,开采后的矿石放在所述输送带上端进行运输,所述皮带轮后端固连有输送轴,所述通槽后侧内壁内设有传动腔,所述传动腔内设有驱动结构,所述输送轴后端连接于所述驱动结构,本发明不需要将岩石破碎粉磨成粉磨后再进成分检测,直接在岩石上钻孔取粉末样本来进行检测成分,进而能够快速的鉴定出有价值的矿石,进而能够提高采矿的效率,并且能够节省大量的人力物力。

标签:
通用技术
浙江 - 台州 来源:中冶有色网 2023-03-18
用氧化锰-碳酸锰混合矿石生产炉料的方法及其应用

本发明涉及用氧化锰‑碳酸锰混合矿石生产炉料的方法,包括以下步骤:A.将矿石破碎、磨成粉后浆化,然后鼓入二氧化硫气体,加入浓硫酸,或加入亚硫酸铵溶液,后加入浓硫酸,调节溶液pH至6.0‑6.4,除杂、压滤后固液分离得到硫酸锰溶液和压滤块A;B.硫酸锰溶液静置后分离上清液和沉淀,将沉淀压滤,压滤块A加入步骤A的浆化工序;上清液于38‑42℃温度下加入碱搅拌调节pH至8.5‑9,将得到的沉淀压滤后固液分离,得到氢氧化锰压滤块B和硫酸铵溶液,调节硫酸铵溶液的pH至11‑12,压滤,得到氢氧化镁压滤块和压滤液;C.将氢氧化锰压滤块B水洗后压滤,得到氢氧化锰压滤块C;氢氧化锰压滤块C烧结得到炉料。该方法能够有效除去锰矿中的有害杂质,富集锰元素,提高了选矿效率。

标签:
通用技术
重庆 - 重庆 来源:中冶有色网 2023-03-18
对称组合式螺旋形磨矿筒体及其设计方法

本发明涉及一种对称组合式螺旋形磨矿筒体及其设计方法,包括筒体、分别与所述筒体端部连通的进料喉管、出料喉管以及传动齿轮,所述进料喉管与出料喉管的中部外壁上分别套装有机架左支撑与机架右支撑,所述筒体由若干个偏心筒对接组合而成;所述偏心筒包括内柱面、外柱面,所述内柱面的轴线与外柱面的轴线之间存在偏心距。本发明在磨矿过程中物料与磨介之间可以获得更高的相对速度和更大的碎磨力,具有更高的磨矿效率;同时由于采用分段式的组合结构,可以降低大型组合磨矿筒体的生产制造、运输和拆装维修的难度。

标签:
通用技术
江西 - 赣州 来源:中冶有色网 2023-03-18
尾矿渣免烧陶粒渗氮技术及工艺

本发明是以尾矿渣二次将开发,以免烧陶粒生产工艺和渗氮养护技术,制成的陶粒具有良好的轻质高强、防水、储水、保温过滤等性能的轻质材料,经检测各项技术指标均符合国际GB/T17431.2‑2010标准。废弃尾矿渣免烧陶粒生产工艺:矿渣库‑‑‑破碎‑‑‑研磨‑‑‑筛选‑‑‑配料‑‑‑混合‑‑‑造粒‑‑‑渗氮养护‑‑‑包装‑‑‑成品库。本发明以废弃尾矿渣免烧陶粒的生产工艺,发明了渗氮养护技术。避免了蒸压一蒸养一自然干燥等养护工艺的缺陷。提高产品质量、可控产品品质,便于流水线和规模化生产。

标签:
通用技术
湖北 - 武汉 来源:中冶有色网 2023-03-18
提取多金属共伴生钽铌矿中钽铌及稀土元素的方法

一种提取多金属共伴生钽铌矿中钽铌及稀土元素的方法,包括以下步骤:将多金属共伴生钽铌矿磨碎,并按钽铌矿∶浓硫酸∶硫酸钠∶硫酸铵=1∶0.1~4∶0.1~4∶0.1~4的质量比配料;将配料混合均匀,在200~400℃下焙烧0.5~5h;将焙烧好的物料在30~100℃下进行水浸,浸取时间为0.5~4h,过滤,钽铌和稀土元素进入溶液;滤渣在30~100℃下利用草酸溶液进行酸浸,草酸溶液浓度为5~100g·L-1,浸取时间为0.5~4h,过滤并洗涤,滤渣中的钽和铌进入溶液。本发明能同时高效提取多金属共伴生钽铌矿中钽铌及稀土元素,钽和铌的浸出率均>95%,稀土元素的浸出率接近100%。

标签:
通用技术
北京 - 北京 来源:中冶有色网 2023-03-18
铅锌共生矿处理方法
铅锌共生矿处理方法 960     
 0

本发明涉及一种铅锌共生矿处理方法,属于湿法冶金技术领域,本发明将铅锌共生矿破碎、磨细,加入硫酸铵溶液和硫酸溶液搅拌后过滤,得到浸出液和浸出渣,浸出液用P204萃取出锌,萃余液返回用于浸出锌;剩下的浸出渣与氯化铵溶液混合搅拌过滤,得到浸出液和浸出渣,浸出液用硫化钠沉铅,过滤得到的铅渣作为铅冶炼原料,沉铅后液返回用于浸出铅;浸出渣中仍然含有少量锌和铅,利用浮选法回收剩余的硫化铅和硫化锌,可以充分的回收浸出渣中剩余的锌和铅,本发明采用选冶结合,可以处理氧化程度不高的铅锌共生矿,采用萃取和沉淀的方法回收两种浸出液中的锌和铅,有效减少杂质元素的浸出,从而减少处理杂质工艺,最大化的使铅锌共生矿中铅和锌浸出。

标签:
通用技术
云南 - 曲靖 来源:中冶有色网 2023-03-18
铜矿石的处理工艺
铜矿石的处理工艺 816     
 0

本发明提供一种适用于难选、难浸矿石的铜矿石的处理工艺,其工艺工序分为:浸出工序、萃取工序、电积工序,将粉碎后的矿石加入到浸出槽中,将浸出液泵入浸出槽中,经过一个浸出周期后将浸出液排入低位储槽中,再经过滤装置过滤后泵入高位储槽中,高位储槽中的浸出液自流进入萃取反萃箱,萃余液返回浸出系统循环使用,反萃液流入电积槽中,电尾液流入电尾液储槽中。本发明选用复合浸出剂,具有强的适应性和生命力,适用于各种铜矿资源的浸出;还用Lix54-199碱性铜萃取剂进行萃取,使得设施设备无需作防腐处理,减少了投资,浸出剂可循环使用,节省了成本,避免环境污染。

标签:
通用技术
天津 - 天津 来源:中冶有色网 2023-03-18
矿山铲、运、排动态台效优化系统及方法

本发明属于采矿技术领域,尤其是涉及矿山铲、运、排动态台效优化系统及方法,其中矿山铲、运、排动态台效优化系统,包括铲装设备的GSP系统、汽运设备的动态称重系统、排岩设备的破碎机及皮带控制系统,采用排队论模型来计算单位时间内系统的负载队列长度,同时使用数学优化的方法,计算出车辆、铲装设备最佳配比,实现皮带在单位时间内稳定的高效率,自动调度车辆和铲装设备,控制皮带的给矿量,提高生产效率,降低损耗,给生产指挥带来极大方便,有很强的实用性。

标签:
通用技术
辽宁 - 鞍山 来源:中冶有色网 2023-03-18
由伊利石黏土矿生产伊利石粉的方法

一种由伊利石黏土矿生产伊利石粉的方法,属于化学工程与工艺技术领域,包括步骤一、取伊利石黏土矿,置于伊利石黏土矿水力打浆机中,通过高压水冲击将伊利石黏土矿打碎,分离其中的大颗粒杂质,获得小颗粒的伊利石浆体;步骤二、将伊利石浆体置于板框过滤机中,获得含水量20%~30%的湿粉,湿粉经干燥机干燥获得干粉;或者将伊利石浆体置于多出口旋液分离器中,获得不同粒度的浆体,再经膜分离器、板框过滤机以及干燥设备获得粉末物料。本发明使用先进的设备,使工艺流程更合理,更紧凑,能耗更小,环境污染更低,可以更大效率的提高生产效益。

标签:
通用技术
吉林 - 长春 来源:中冶有色网 2023-03-18
氧化锰矿石的酚还原浸出方法

一种氧化锰矿石的酚还原浸出方法,涉及一种还原浸出提取氧化锰矿石特别是海洋锰结核中有价金属的方法。其特征在于采用多元酚类化合物作还浸出剂。在常温常压下,将氧化锰矿粉碎制浆,加入酸和多元酚类化合物,在常规浸出槽中直接浸出,固液分离,丢弃浸渣,浸出液送金属回收。由于用多元酚还原酸浸氧化锰矿石反应的动力学特性很好,反应速度快,浸出率高,设备简单,因此是一种有实际应用前景的方法。

标签:
通用技术
北京 - 北京 来源:中冶有色网 2023-03-18
炼铜转炉渣回收铜的筛分、浮选联合工艺选矿方法

本发明公开了一种炼铜转炉渣回收铜的筛分、浮选联合工艺选矿方法,该方法是将转炉渣破碎后给入球磨机,磨矿后进入筛分分级,通过二次筛分,+2mm筛上粒级产品作为返砂返回球磨机再磨;-2mm筛下、+0.1mm筛上粒级产品可直接作为铜精矿产品;-0.1mm筛下粒级产品经过调浆、添加浮选药剂进入浮选;经三次粗选,一次扫选,得铜精矿产品;本方法采用筛分、浮选联合工艺,使粗粒明铜得到提前、有效回收;适用范围广,操作方便,成本低,不仅直接提高企业效益,也同时解决了高品位铜转炉渣的资源开发利用。

标签:
通用技术
湖北 - 黄石 来源:中冶有色网 2023-03-18
精制铝土矿的方法
精制铝土矿的方法 1008     
 0

本发明涉及一种精制铝土矿的方法,该方法包括以下步骤,将粉碎的铝土矿与浓度为1-10%的酸反应,反应温度为0-100℃,反应时间为30-120分钟,反应结束后,进行固液分离,洗涤分离出的固体,即可得到精制的铝土矿。本发明的方法工艺简单,成本低廉,酸液可以采用工业生产的废弃酸、混合酸进行配置,并且可以循环使用,无环境污染。铝土矿采用本发明的方法精制后,大大提高了后续产品的质量,简化了后续工艺,降低了除杂成本。

标签:
通用技术
河南 - 焦作 来源:中冶有色网 2023-03-18
皮江法炼镁工艺及部分替代萤石的含硼矿化剂

本发明涉及一种皮江法炼镁工艺及部分替代萤石的含硼矿化剂,其特点是,包括如下步骤:以煅烧白云石为原料、硅铁为还原剂和矿化剂一起进行计量配料,其中矿化剂由占球团总重量0.5-3.0%的萤石和0.3-3.1%的含硼原料组成,而硅铁占球团总重量的12-18%,余量为煅烧白云石,再粉碎后压制成块装入还原罐中,加热到1150-1250℃,内部抽真空,保温后冷却收集粗镁即可。本发明工艺与现有技术相比具有以下优点:本发明矿化剂中含硼化合物工业产品价格虽比萤石高,但其用量比萤石少,且降低了氟对环境的污染,另外现有的设备和工艺条件不需要改变;其次本发明工艺得到的改质后的镁渣具有较好的胶凝活性。

标签:
通用技术
宁夏 - 银川 来源:中冶有色网 2023-03-18
用金尾矿制造的黑色微晶玻璃板材及其制造方法

一种用金尾矿制造的黑色微晶玻璃板材,它是由以下各原料按质量份配比而成:金尾矿60~90份,石英砂8~20份,方解石0.5~2份,霞石1~2份,纯碱2~5份,硼砂1~2份,碳酸钡1~8份,硝酸钠2~6份,三氧化二钴0.1~0.5份,制造方法为:将金尾矿、石英砂、方解石和霞石破碎、筛选;用离子交换法去除金尾矿中的氰化物;将各原料按比例称量并配制成混合料;在1250℃~1350℃下溶化成玻璃液;溶化后的玻璃液直接流入水中水淬成玻璃颗粒料;玻璃颗粒料平铺在耐火模具中进行晶化处理;得到的黑色微晶玻璃样品研磨切割。本发明产品质量优于现有黑色微晶玻璃,具有莫式硬度高,弯曲强度强,化学稳定性强,颜色纯正的优点。

标签:
通用技术
陕西 - 宝鸡 来源:中冶有色网 2023-03-18
煤矿开采用多级煤块研磨装置

本实用新型公开了一种煤矿开采用多级煤块研磨装置,包括研磨仓,研磨仓上侧设有进料口,进料口左右两侧设有粉碎电机,粉碎电机下侧设有粉碎轴,粉碎轴外侧设有若干粉碎杆,粉碎杆外侧设有粉碎锤,粉碎轴下侧设有支撑板,支撑板下侧左右两端设有液压缸,液压缸下侧设有滚动球,研磨仓下侧设有缓冲座,缓冲座内部设有旋转电机,旋转电机上侧设有旋转轴,旋转轴上侧设有研磨盘,研磨仓下端右侧设有托辊,运输带右侧设有筛选室,筛选室上端设有初级筛选网,初级筛选网下侧设有设有次级筛选网,筛选室下端左侧设有出料口。本实用新型通过粉碎锤、研研磨盘、初级筛选网和次级筛选网的设置,可以对煤粉进行有效的筛选,从而达到所需要的煤粉。

标签:
通用技术
安徽 - 淮北 来源:中冶有色网 2023-03-18
锰铁矿采选冶废渣处理方法

本发明公开了一种锰铁矿采选冶废渣处理方法,包括如下步骤:将锰铁矿废渣破碎研磨成粉状,并通过吹扫装置将浮尘与聚沉物分离,得到锰铁矿浮粉与锰铁矿聚沉颗粒,并通过对锰铁矿浮粉与锰铁矿聚沉颗粒的单独处理,增加回收利用率,减少整体制备过程中,产生的催化剂损耗;本方案中,通过对锰铁矿浮粉与锰铁矿聚沉颗粒的单独处理,增加了处理过程中杂质过多影响反应速率的情况,且通过分散处理的方式,增加了处理过程中,催化物与反应物的使用,减少了处理成本,且利用制备后的ph数值同步调节,保证了混合液的ph调试数值的准确性,增加了铁锰矿料渣的回收率。

标签:
通用技术
云南 - 昆明 来源:中冶有色网 2023-03-18
磷矿粉造粒成型焙烧方法

一种磷矿粉造粒成型焙烧方法,磷矿经破碎、筛分、烘干和均化预处理的磷矿粉,送入球磨机磨细,加入圆盘造粒机,按比例均匀加入二水物法湿法磷酸生产的中间产物酸渣制成的粘结剂,使磷矿粉相互粘结,制成粒度达到20~30mm的磷矿球团,磷炉尾气通入链篦式焙烧机,在850~950℃温度下焙烧,经空气冷却降温,即制成供黄磷生产使用的磷矿球团。本发明充分利用生产流程的中间产物加工后作为辅料直接回用于生产流程,无需新增其它原辅料及焦炭粉等能源的消耗,利用磷炉尾气,采用独特的焙烧和空气冷却工艺,将磷矿粉球团中P2O5的含量提高了8~10%,且不增加磷矿球团中的硅钙比(酸度系数Mk),实现了磷矿资源的高效综合利用。

标签:
通用技术
云南 - 昆明 来源:中冶有色网 2023-03-18
处理红土镍矿还原焙烧镍铁废渣的清洁生产方法

本发明涉及有色金属冶金技术领域,具体地,本发明涉及一种处理红土镍矿还原焙烧镍铁废渣的清洁生产方法。本发明包括以下步骤:1)将红土镍矿还原焙烧镍铁废渣破碎研磨后,进行磁选分离得到富含Ni的磁选精矿和富含Cr的磁选尾矿;2)将富含Cr的磁选尾矿进行湿式球磨后将固体碱与富含Cr的磁选尾矿进行干混后压块;3)将压块混合料进行碱熔焙烧反应后进行研磨制样;4)将研磨熟料用清水洗涤过滤,得到碱性滤液,其中水洗温度控制在30~95℃;5)将碱性滤液制得的氧化铬;6)由富含Ni的磁选精矿提取Ni。本发明提供一种具有工业操作性且环境友好的红土镍矿还原熔炼镍铁废渣清洁处理方法,为红土镍矿资源的综合利用提供了一条有效的途径。

标签:
通用技术
北京 - 北京 来源:中冶有色网 2023-03-18
从金绿宝石型铍矿石中提取铍的方法

本发明公开了一种从金绿宝石型铍矿石中提取铍的方法,属于矿物加工工程和湿法冶金技术领域,包括矿石的破碎磨矿、硫化矿及含钙矿物的浮选、浮选尾矿的脱水、碱性条件下的微波焙烧、水洗、酸浸、萃取及反萃取、煅烧等步骤。本发明采用浮选法脱除含铍原矿中的硫化矿和萤石、方解石等含钙矿物,有效提高了进入铍提取工序中铍矿原料的BeO品位;用微波对矿石进行碱性条件下的焙烧,为后续铍浸出工艺创造了有利条件;用硫酸对焙烧后的含铍矿物进行湿法浸出,解决了金绿宝石型铍矿石中铍的分离和富积问题。

标签:
通用技术
湖南 - 湘潭 来源:中冶有色网 2023-03-18
高碳石煤钒矿的脱碳方法

本发明涉及一种高碳石煤钒矿的脱碳方法,该方法包括以下步骤:(1)将石煤钒矿原矿破碎后,进行湿式磨矿,得到含矿粉矿浆;(2)含矿粉矿浆经分级机溢流进入搅拌槽,混匀后的矿浆进入加药搅拌桶,同时向加药搅拌桶中添加浮选药剂,使矿浆与浮选药剂充分混合,得到混合矿浆;(3)将混合矿浆给入浮选粗选作业,充气浮选后,得到泡沫产品A和底流产品A精矿;(4)泡沫产品A经过一段扫选作业后,得到泡沫产品B和底流产品B,底流产品B返回浮选粗选作业;泡沫产品B进入二段扫选作业后,得到泡沫产品C和底流产品C,底流产品C返回一段扫选作业;泡沫产品C进入三段扫选后,得到尾矿和底流产品D,底流产品D返回二段扫选作业。本发明操作简单、稳定。

标签:
通用技术
甘肃 - 嘉峪关 来源:中冶有色网 2023-03-18
矿化二氧化碳制砖工艺

本发明公开了一种矿化二氧化碳制砖工艺,包括以下步骤:将制砖原料和助剂粉碎后按比例混合得到原粉干料;配制矿化CO2的吸收液;将吸收液加入原粉干料中且同时通入CO2气体进行预混合得到浆料;预混合后的浆料经均化处理得到制砖原料,均化处理过程中通入CO2气体;将制砖原料浇筑为成型砌块;成型砌块经静置、脱模、预养护、切割后得到成型砖;成型砖送入CO2气体氛围中养护,养护压力≥0.1MpaG,养护时间≥1小时,CO2气体氛围中CO2的含量≥10vol%;矿化二氧化碳制砖工艺降低了养护过程中所需CO2的压力,缩短了养护时间,也降低养护所需成本,节约了成本,扩大了CO2矿化制砖的适用范围。

标签:
通用技术
四川 - 成都 来源:中冶有色网 2023-03-18
烟气通过粉磨矿渣除尘脱硫脱硝的系统设备

本发明提供一种烟气通过粉磨矿渣除尘脱硫脱硝的系统设备,涉及脱硫脱硝技术领域,解决了实际应用过程中存在着无法将大颗粒的矿渣进行自主粉碎操作,因此需先将矿渣进行粉磨处理后才能进行使用,因此会造成使用不便,以及无法对矿渣粉磨时起到较为有效的保护作用,容易造成设备损坏的问题,包括支撑机构,所述支撑机构的内部固定连接有粉磨罐,本发明中,通过分别调整两处夹紧板与固定板之间的间距对罐体的外壁进行夹紧,在当夹紧板与固定板将罐体的外壁夹紧完成后再通过使用限位螺母拧接到调节轴的外周面上即可对夹紧板进行固定限位作用,该设计可根据所需夹紧的罐体的厚度不同做出适时调整,以达到适用于不同厚度规格的罐体的夹紧操作。

标签:
通用技术
浙江 - 温州 来源:中冶有色网 2023-03-18
采矿用多轴跳跃式滚动筛选机

一种采矿用多轴跳跃式滚动筛选机,本发明涉及矿石筛选设备技术领域。本发明为了解决现有技术中采用简单的网筛进行筛选,筛出矿石的碎块多,杂质大,需要再次筛选,导致筛选效率低,劳动强度大的问题。本发明包括机架、动力机构、2套传动机构和一组菱型筛选单元,所述一组菱型筛选单元平行并列安装在所述机架的两侧板之间,安装在机架上的动力机构通过2套传动机构带动各个菱型筛选单元一起转动,每个菱型筛选单元由轴和固定安装在轴上的一组菱型轮构成,相邻所述轴上安装的两组所述菱型轮相互错开布置,动力机构通过2套传动机构控制相邻2组所述轴反向转动。本发明用于筛选矿石。

标签:
通用技术
黑龙江 - 七台河 来源:中冶有色网 2023-03-18
粉煤灰低硅尾矿加气蒸压砖及其生产方法

本发明公开了一种粉煤灰低硅尾矿加气蒸压砖,按照以下原料质量配比制得:粉煤灰混合料60%‑70%,水30%‑35%,脱硫石膏2%‑4%,铝粉0.05%‑0.15%;其中,粉煤灰混合料原料及质量配比为:粉煤灰40%‑45%,低硅尾矿25%‑30%,碎石粒10%‑15%,生石灰10%‑15%,水泥5%‑15%。本发明还公开了该粉煤灰低硅尾矿加气蒸压砖的生产方法。本发明工艺简单,生产成本低,可以使粉煤灰和低硅尾矿得到重复利用,缓解其对环境的污染。本发明制备的蒸压砖结构强度高、成本低,经济效益高。

标签:
通用技术
广东 - 汕头 来源:中冶有色网 2023-03-18
利用花岗岩废石及低硅铁尾矿制备高强混凝土的方法

本发明公开了一种利用花岗岩废石及低硅铁尾矿制备高强混凝土的方法,该方法将花岗岩废石进行破碎、整形处理,将5~20mm粒径的花岗岩废石用作混凝土粗骨料,0.15‑5mm的花岗岩废石粉用作混凝土细骨料;将低硅铁尾矿颗粒进行分级;将小于150μm花岗岩废石粉和小于150μm低硅铁尾矿颗粒通过粉磨得到预混料,将预混料、电石渣及磷石膏进行混磨得到复合胶凝材料,将混凝土粗骨料、混凝土细骨料、复合胶凝材料和≥150μm粒径的低硅铁尾矿混合,得到混合料,加入减水剂和水,然后进行搅拌、浇筑、成型、脱模和标准养护,制备得到高强混凝土。本发明节约了水泥,减少温室气体的排放量,对环境及经济产生积极效益。

标签:
通用技术
北京 - 北京 来源:中冶有色网 2023-03-18
矿山开采用带防护顶结构的横向旋进钻掘机械

本发明公开了一种矿山开采用带防护顶结构的横向旋进钻掘机械,包括导向轨和掘进轴,所述导向轨的表面设置有导向槽,且导向轨的上表面中间安装有液压缸,所述掘进轴的外壁固定有螺旋刀盘,且掘进轴分别位于导向轨的左右两侧。该矿山开采用带防护顶结构的横向旋进钻掘机械通过掘进轴的设置,完成对矿山山体的一级掘进工作,利用螺旋分布的螺旋刀盘完成一级掘进的挖掘工作,利用副切刀提高一级掘进过程中山体断口边缘的整齐度,携料筒的设置保证了设备能够对矿山山体进行二级掘进工作,旋齿具有一定的切削隔断能力,能够对渣石进行一定程度的粉碎处理,携料网利用自身的交叉分布结构,对渣土进行抓取裹挟,在掘进过程中起到较好的排渣辅助效果。

标签:
通用技术
浙江 - 丽水 来源:中冶有色网 2023-03-18
用于试验研究铁矿粉制粒性能的方法

一种用于试验研究铁矿粉制粒性能的方法:将铁矿石破碎并筛分粒级:将粒度为1~3mm的作为核粒子,将粒度≤0.5mm的作为粘附粒子;将核粒子与粘附粒子混合至均匀;在圆盘机上制粒;烘烤;将其制粒进行分级;根据粒度分布和粘附比对制粒的性能进行分析判断。本发明与现有技术相比:试验制粒设备简单,易于操作,实验结果与实际生产吻合度大,能对实际生产进行指导,且试验用料量少;可比性强,能便捷地判断制粒时的成球机理,及分析影响制粒效果的因素,为烧结混合料制粒提供优化的技术方向;适应性强,可用于任何铁矿粉制粒性能的研究,铁矿粉搭配方案可任意选择。

标签:
通用技术
湖北 - 武汉 来源:中冶有色网 2023-03-18
上一页 521 522 523 524 525 ... 1945 下一页
共1945页    到第

中冶有色为您提供最新的有色金属通用技术理论与应用信息,涵盖发明专利、权利要求、说明书、技术领域、背景技术、实用新型内容及具体实施方式等有色技术内容。打造最具专业性的有色金属技术理论与应用平台!

全国热门有色金属设备推荐
展开更多 +
全国热门有色金属技术推荐
展开更多 +

 

江西省隆恩特环保设备有限公司
宣传

报名参会
更多+

2025年10月15日 ~ 17日
2025年10月17日 ~ 19日
2025年10月31日 ~ 11月02日
2025年11月07日 ~ 09日

报告下载

有色专家
更多+

西北稀有金属材料研究院宁夏有限公司
党委书记 / 董事长
矿冶科技集团有限公司
中国工程院院士
矿冶科技集团
副所长/研究员
石家庄铁道大学
团委书记/副教授
中南大学
院长/教授
赤泥综合利用研究报告2025
推广

热门技术
更多+

推荐企业
更多+

福建省金龙稀土股份有限公司
宣传

发布

在线客服

公众号

电话

顶部
咨询电话:
010-88793500-807