青岛垚鑫智能科技有限公司
宣传

位置:中冶有色 >

有色技术频道 >

> 探矿技术

分类:
全部
矿山技术
冶金技术
材料制备及加工技术
环境保护技术
分析检测技术
 
全部
探矿技术
采矿技术
选矿技术
通用技术
地区:
全部
北京
天津
上海
重庆
河北
山西
辽宁
吉林
黑龙江
江苏
浙江
安徽
福建
江西
山东
河南
湖北
湖南
广东
海南
四川
贵州
云南
陕西
甘肃
青海
内蒙
广西
西藏
宁夏
新疆
其他
其他
展开
 
全部

有色金属探矿技术理论与应用

免费发布技术信息>>
煤矿带压注水爆破工艺
煤矿带压注水爆破工艺 1059     
 0

一种煤矿带压注水爆破工艺,属于煤矿炮掘工作面爆破工艺。其特征在于先在炮掘工作面的迎头打出注水孔,用封孔器进行封孔带压注水,使压力水充满放炮范围内煤体的孔隙和裂缝,再进行爆破。另一种煤矿带压注水爆破工艺,方法是在于先在炮掘工作面的迎头打出注水孔,用封孔器进行封孔带压注水,使压力水充满放炮范围内煤体的孔隙和裂缝,带压注水的过程中进行打眼放炮。煤矿带压注水爆破工艺能在爆破前强迫煤层释放瓦斯等易爆气体,在爆破时使易爆气体与火源有效隔开,使爆炸条件不能形成,彻底杜绝了爆炸事故的发生。同时爆破范围内的煤体被充分湿润,其原生粉尘和地质作用的次生粉尘被粘结,使爆破落煤时的粉尘大大降低。

标签:
探矿技术
山东 - 泰安 来源:中冶有色网 2023-03-04
煤矿巷道锚杆支护智能设计方法

一种煤矿巷道锚杆支护智能设计方法,属于煤矿巷道锚杆支护设计方法。该设计方法包括收集巷道基本情况资料,测试巷道围岩物理力学性质及地应力水平,建立锚杆支护设计基础数据库;利用智能专家系统进行围岩地质力学评估,获得锚杆支护设计所需参数;利用智能专家系统建立锚杆支护方案及参数推理、计算、优化模型,确定初始设计方案;在现场施工、监测,将监测信息实时反馈到智能专家系统中;利用智能专家系统判断初始设计方案的合理性,进行必要的修正,修正后的设计再次循环进行现场施工、监测和验证,直至最终设计形成。本方法解决了煤矿支护材料浪费严重、巷道安全性差等问题,能够面向现场工程技术人员,有广泛的实用性。

标签:
探矿技术
江苏 - 徐州 来源:中冶有色网 2023-03-04
打井新方法
打井新方法 1069     
 0

本发明提出了一种打井新方法,能够通过下压装置将钢管打入流沙层或地下水层,这样可以在流沙和地下水多的土质进行打井。而对于流沙层和地下水层位于地表的粘土层之下的地质环境,又可以先进行挖掘和浇注井壁,然后在流沙层和地下水层之上挖出一个井下工作间,并在井下工作间内设置下压装置和钢管再继续进行挖掘。本发明可以有效地克服流沙和地下水对挖井造成的影响,使得管壁不会塌陷。

标签:
探矿技术
河北 - 邢台 来源:中冶有色网 2023-03-04
井水自动热交换系统
井水自动热交换系统 913     
 0

本发明涉及一种井水自动热交换系统,通常水空调,地源能空调,化工、纺织、塑料行业都用摄氏15℃左右的井水来防暑降温,它们都用既易损又费电的水泵来抽水。调查研究得知,地下水因地质构成不同而分层储存,地下35米以上因靠近地面,水分渗透快、更新时间短、储量丰富,深100多米的下层井水,靠自然渗透必须经上百年时间,此层井水因长期超汲,普遍成匮乏枯竭势态,甚至引起地面沉降,因此我国政府已明令封井禁采,实施回灌补水,来增加地下水的储量。本发明用创建地下水流通道,巧用上层水对下层水的虹吸水流能量,使井水自动上升循环进行热交换,实现了地热、水能两利用,既节约了电力,又增加了地下水的储量。

标签:
探矿技术
江苏 - 常州 来源:中冶有色网 2023-03-04
钻探压水试验/灌浆装置

本发明涉及地质勘探中的压水试验装置,同时也是灌浆装置。本发明所述的钻探压水试验/灌浆装置由空气压缩机/手压泵(1)、气管(3)、定位接头(8)、气囊(11)、下封头(17)、连通气管(14)、花管(15)、封闭气囊(16)、高压胶管(4)和注水/注浆泵(7)构成,定位接头位于气囊上方,与气囊固定连为一体,所述的空气压缩机/手压泵通过气管穿过定位接头与气囊连通,气囊的下端与下封头固定连接,所述的注水/注浆泵(7)通过高压胶管(4)穿过定位接头、气囊和下封头与花管连通,封闭气囊位于气囊下方,两端均由封头封闭,连通气管穿过下封头和封闭气囊上方的封头,将气囊和封闭气囊连通。

标签:
探矿技术
云南 - 昆明 来源:中冶有色网 2023-03-04
分析卤水溶液饱和度及化学平衡的方法及其应用

本发明属于地质勘探研究领域中对多组分水盐(岩)体系溶解平衡分析,尤其涉及一种对高卤水溶液或碳酸盐溶液,通过计算活度积与溶度积对比,用以判断溶液化学平衡进行的方向。本发明要求输入的是各离子的浓度,以及温度等数据,这对于普通的技术人员来说更加具体直观形象,容易实现。

标签:
探矿技术
北京 - 北京 来源:中冶有色网 2023-03-04
灌注钢筋混凝土桩的工艺方法

本发明涉及一种灌注钢筋混凝土桩的方法:钻孔至预定深度,通过钻头内的喷嘴向孔内喷水灰比为0.5~0.7的水泥浆液,在钢筋笼放置好后,向孔内投放搅拌好的混凝土,投放的混凝土2~3米深为一层,振捣后灌注到桩高为止,使用本方法能在流沙、地下水、淤泥、沙砾石等不利地质条件下顺利成桩,既保证桩体与土体的紧密结合,又能节约原材料,而桩的承载力也有提高。

标签:
探矿技术
黑龙江 - 哈尔滨 来源:中冶有色网 2023-03-04
模拟小口径钻探孔底复杂工况钻进试验装置

一种模拟小口径钻探孔底复杂工况钻进试验装置,包括钻机部分、钻井液管汇部分、模拟钻进部分和控制部分,钻机部分设有电机,电机经传动机构连接钻杆,钻杆外部设有套管;模拟钻进部分设有油缸和卡钻机构,油缸活塞杆上端经受力组件接触钻杆下端;卡钻机构设置在套管中部,卡钻机构经卡钻油缸对钻杆施加横向力;钻井液管汇部分设有水箱和钻井液输入管路、钻井液回流管路;控制部分设有装置综合控制箱和人机界面,装置综合控制箱与人机界面电连接。本发明可模拟地质岩心钻探立轴式岩心钻机的钻进过程遇到的各种孔内复杂事故,还可实现对钻进过程钻压、钻头转速的实时控制,实现对钻速、进尺的实时监控。模拟状态准确、逼真,装置操作方便。

标签:
探矿技术
天津 - 天津 来源:中冶有色网 2023-03-04
基于超前预加固的隧道全断面一次成型施工方法

本发明公开了一种基于超前预加固的隧道全断面一次成型施工方法,属于隧道施工技术领域。一种基于超前预加固的隧道全断面一次成型施工方法,包括以下步骤:S1:做好施工准备,配齐相应机械设备;S2:进行超前地质预报作业,并对围岩进行分级;S3:根据围岩级别进行超前预加固;S4:开挖洞身,根据爆破设计采用凿岩台车对已加固的掌子面连仰拱同时爆破开挖,并一次成型;S5:做初期支护,同时对围岩的变形情况进行监控量测;S6:施作仰拱填充;S7:安装纵、环向排水盲道以及铺设土工布和防水板。本发明的爆破开挖带仰拱同时进行,对隧道延伸方向的断面一次开挖成型,减少对围岩扰动,相邻工序可平行作业,提高施工速度。

标签:
探矿技术
四川 - 泸州 来源:中冶有色网 2023-03-04
智能的采煤机切割模式识别系统

本发明公开了一种智能的采煤机切割模式识别系统,该系统由传感模块和控制模块组成。传感模块测量采煤机工作时的电机的运行速度、电流和电压,并将这些数据传到控制模块。控制模块结合参数智能优化算法和GBDT分类器根据运行数据智能地识别出当前地质条件,并将结果传输到采煤机使采煤机及时调节切割模式。本发明克服目前采煤机切割模式识别中检测设备复杂、识别准确度不够高的不足,以电机的运行速度、电流和电压为检测信号,检测设备简单且检测信号与切割模式之间有着可靠的对应关系;选用GBDT算法作为分类器,识别准确性高;使用改进的优化算法对分类器的参数进行优化,进一步提高识别的准确性。

标签:
探矿技术
浙江 - 杭州 来源:中冶有色网 2023-03-04
基于空间降尺度回归模型的耕地资源生产潜力测算方法

本发明涉及计算机技术领域,具体为一种基于空间降尺度回归模型的耕地资源生产潜力测算方法,其方法包括:收集与耕地资源生产潜力测算技术相关的数据;进行县级耕地资源生产潜力测算;村镇耕地资源生产潜力测算指标筛选,村镇耕地资源生产潜力测算指标体系构建;空间降尺度回归模型构建;基于空间降尺度回归模型的村镇耕地资源生产潜力测算;测算结果验证与精度分析。本发明采用基于空间降尺度回归模型的耕地资源生产潜力测算方法实现了村镇尺度耕地资源生产潜力的快速精准估算,为耕地资源保护与可持续发展提供科学依据,提高了我国耕地快速估产和耕地质量管控的效率和精度。

标签:
探矿技术
海南 - 海口 来源:中冶有色网 2023-03-04
确定矿井多含水层系统地下水混合模式及比例的方法

本发明涉及煤矿防治水技术领域,公开了一种确定矿井多含水层系统地下水混合模式及比例的方法,包括以下步骤:S1、收集整理矿井生产期间各个充水含水层的水化学数据、水位数据和各个充水含水层矿物组成,并绘制矿井开采前后的水位趋势图;S2、依据水位趋势图分析矿井含水层的水位变化,结合各个充水含水层的水位变化特点和混合特征得到各个含水层之间的补给关系,最后确定矿井多含水层系统地下水的混合模式。本发明提出的方法能够全面的确定地下水混合模式和比例,且本发明同时结合矿井实际水位变化数据和水化学数据等水文地质资料,有效的提升地下水混合识别的准确性。

标签:
探矿技术
安徽 - 淮北 来源:中冶有色网 2023-03-04
地铁隧道施工方法
地铁隧道施工方法 1126     
 0

本发明公开了一种地铁隧道施工方法,包括如下步骤:S1:前期勘察,根据测得的地质调查报告和环境调查报告的结果确定整个工程的支护施工方案;S2:确定施工方案后,准备支撑隧道支架的支护机构,与两个用于支护机构导向用的导向轨;S3:确定隧道开挖位置,通过钻爆法进行开挖,然后通过压力设备将支护机构送入开挖土质内,工作人员将支护机构内的土质全部挖出;S4:通过支护机构与导向轨的配合使用进行隧道挖掘;S5:在已完成隧道挖掘的洞壁上进行加固处理与防水处理;S6:继续沿隧道布设方向进行支护机构的移动;S7:重复S5‑S6步骤,直至隧道施工完毕。本发明能够在确保安全施工的前提下,有效地提升隧道施工效率。

标签:
探矿技术
广东 - 深圳 来源:中冶有色网 2023-03-04
包含角度域照明补偿的直接包络反演方法

本发明公开的包含角度域照明补偿的直接包络反演方法,具体为:S1、采集观测数据;S2、构建矩形网格地质模型;S3、给定速度模型的初始速度模型,得到计算数据;S4、求取局部照明矩阵;S5、求取局部分辨率函数;S6、求取观测数据的包络与计算数据的包络;S7、给定直接包络反演阶段待优化的目标函数;S8、得到直接包络反演的速度梯度;S9、得到补偿后的直接包络反演的速度梯度;S10、得到速度模型的长波长分量;S11、给定新的待优化目标函数;S12、得到全波形反演的速度梯度;S13、得到补偿后的全波形反演速度梯度;S14、利用对速度模型进行更新得到精细的速度结构。该方法能够更好地用于强散射速度模型的反演。

标签:
探矿技术
陕西 - 西安 来源:中冶有色网 2023-03-04
滑坡地表变形空间区域权重的计算方法

本发明提供了一种滑坡地表变形空间区域权重的计算方法,属于工程地质技术领域。该方法首先从滑坡监测系统中获取各个监测点的变形数据,将监测点的变形数据按照其空间分布处理为不同通道的时间序列数据输入到卷积神经网络(CNN)模型中进行处理;将经过卷积神经网络(CNN)模型处理后的数据作为输入数据,输入到改进的卷积注意模块(ICBAM)中进行计算,最后输出滑坡各个监测点的位移预测值以及各个监测点所在区域在滑坡地表变形中所占的权重。本发明根据监测数据计算出监测点所在区域在滑坡位移预测中所占的权重,根据权重大小判断出该区域对滑坡位移预测的影响程度,最后能有效地进行滑坡位移预测。

标签:
探矿技术
陕西 - 西安 来源:中冶有色网 2023-03-04
具有倾倒预警功能的电力铁塔辅助支护装置

本发明属于电力铁塔技术领域,尤其是一种具有倾倒预警功能的电力铁塔辅助支护装置,包括铁塔本体,铁塔本体包括有第一支撑基座。该具有倾倒预警功能的电力铁塔辅助支护装置,通过设置监测控制机构和防倾倒支撑机构,在使用时,通过第一监测控制管和第二监测控制管内的第一接触控制开关、第二接触控制开关、第三接触控制开关和第四接触控制开关对四个防倾倒液压缸进行控制,对电力铁塔进行支撑防护,并进行声光报警,从而解决了现有的电力铁塔在使用时没有便利使用的辅助支护装置,常常出现因地基受雨水冲刷等自然灾害或外部施工,导致混凝土基座下方出现地质沉降,导致铁塔出现倾斜,存在倾倒的风险的问题。

标签:
探矿技术
重庆 - 重庆 来源:中冶有色网 2023-03-04
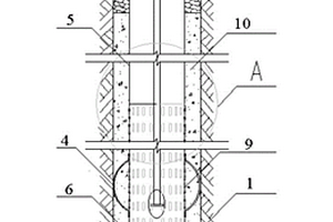
勘探井抽水试验用止水装置

本申请涉及一种勘探井抽水试验用止水装置,属于地质勘探领域,其包括套管和止水器,井内形成有抵接台阶,抵接台阶与套管的端面抵接,止水器包括注浆管和连接管,注浆管位于套管内,连接管与注浆管固定连接,注浆管和套管与井壁之间的缝隙通过连接管连通,套管上开设有供连接管对准的注浆孔,止水器还包括相互连通的通气管和充气管,通气管与注浆管固定连接,充气管外接气源,套管上且位于注浆孔远离抵接台阶的一侧开设有充气孔,套管与井壁之间且位于充气孔处固定连接有限位气囊。本申请通过限位气囊对灌充的水泥进行限位拦截,使水泥在指定位置充满套管与井壁之间的缝隙内,凝固后的水泥分布均匀且封堵效果好。

标签:
探矿技术
北京 - 北京 来源:中冶有色网 2023-03-04
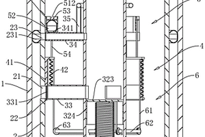
勘察用钻孔取样器
勘察用钻孔取样器 1019     
 0

本发明公开了一种勘察用钻孔取样器,属于钻孔取样技术领域,包括底座,底座上设有一支撑柱,支撑柱的侧壁上安装有一驱动控制器,支撑柱的顶部安装有用于调节取样机构竖直方向移动的调节机构,取样机构安装在调节机构的底部,底座上位于取样机构的正下方开设有取样孔,调节机构与底座之间还活动连接有用于放置样品的存放机构,底座的底部对称设有四个用于固定整个装置的固定机构;本发明通过钻孔机构、调节机构以及存放机构的相互配合,可直接对不同层次的土壤进行钻孔取样,能在不同的地质环境下使用,且可对采取的不同层次的土壤进行有序放置,避免不同层次的土壤之间相互混杂,便于后续的实验测试。

标签:
探矿技术
广东 - 佛山 来源:中冶有色网 2023-03-04
隧道突涌水灾害预测方法、装置、电子设备及存储介质

本发明提供了一种隧道突涌水灾害预测方法,包括S1、雷达遥感反演土壤水信息:S2、综合物探解译隧道区断层和节理信息:S3、GIS提取地形起伏度和地表洼地信息:S4、基于钻孔数据的三维地质建模获取岩性、倾角、褶皱、水头等信息:S5、构建多因素评价标准,对各影响因子进行赋值评分:S6、采用AHP方法确定评价因子权重:S7、建立GIS评价模型进行突涌水灾害预测。本发明所述的隧道突涌水灾害预测方法建立科学、全面、可视化的隧道突涌水灾害模型,为隧道突涌水预测提供新技术和新方法。

标签:
探矿技术
天津 - 天津 来源:中冶有色网 2023-03-04
人工源面波勘探方法、面波勘探装置及终端设备

一种人工源面波勘探方法,适用于地质勘探技术领域,该方法包括:通过预设台站处的检波器采集从震源传播过来的面波数据;基于矢量波数变换算法,并根据所述面波数据计算得到频散能量图;从所述频散能量图中提取频散曲线,所述频散曲线包括基阶面波频散曲线和高阶面波频散曲线;根据所述基阶面波频散曲线和所述高阶面波频散曲线建立初始地层模型,并根据所述初始地层模型对所述基阶面波频散曲线和所述高阶面波频散曲线进行联合反演,得到地层结构的反演数据。通过上述方法,有效提高了面波勘探结果的准确率。还提供一种面波勘探装置及终端设备。

标签:
探矿技术
广东 - 深圳 来源:中冶有色网 2023-03-04
适用于寒区贫瘠环境下提升土体基质肥力的微生物菌肥

本发明公开了一种适用于寒区贫瘠环境下提升土体基质肥力的微生物菌肥,它包括以下重量份的原料:菌糠28‑32份、谷糠13‑17份、微生物菌剂3‑5份、钾长石3‑5份、磷灰石0.8‑1.1份、角闪石4‑6份;所述微生物菌剂由埃氏慢生根瘤菌、根瘤菌、嗜冷乳糖节杆菌、嗜酸寡养单胞菌、滋养节杆菌、成团泛菌和缺陷短波单胞菌构成。本发明的菌肥引入功能微生物,促进土壤促生菌群的构建,促进先锋植物快速定植,提高新鲜地质体生态恢复成功率。

标签:
探矿技术
四川 - 成都 来源:中冶有色网 2023-03-04
软土地基预制梁台座反拱设置方法

本发明提供了一种软土地基预制梁台座反拱设置方法,包括以下步骤:现场调研和资料收集,以获取软土地基土层地质情况信息,确定地基加固范围和处治措施,获得复合地基加固桩相关技术参数;获得预制梁台座受力特点;根据预制梁台座结构尺寸和钢筋构造;计算得到地基受到的最大应力和预制梁台座两端地基受到的应力;得到软土地基预制梁台座变形沉降曲线Y1;得到反拱设计圆曲线或二次抛物线Y2;得到实际反拱设置曲线Y3;根据得到的实际反拱设置曲线Y3进行预制梁台座反拱施工。本发明加入对地基受到的最大应力和预制梁台座两端地基受到的应力的考虑,以分析地基出现变形沉降的可能,从而减少按照设计理论值或者经验参数值进行反拱设置。

标签:
探矿技术
江西 - 南昌 来源:中冶有色网 2023-03-04
断层模拟装置及模拟方法

本发明提供一种断层模拟装置及模拟方法,涉及构造地质学物理模拟技术领域,包括第一平台、第二平台、斜滑台板与驱动机构,所述斜滑台板包括第一台板与第二台板,所述第一台板与所述第一平台连接,所述第二台板与所述第二平台连接;所述第一台板与所述第二台板相贴合,所述第一台板与所述第二台板之间的贴合面相对于所述第一平台的第一台面相倾斜;所述驱动机构用于驱动所述第一平台与所述第二平台沿所述贴合面相对线性位移、相对扭转位移或相对线性叠加扭转位移。本发明通过设置第一平台、第二平台、斜滑台板与驱动机构,以模拟存在先存断层的情况下张扭变形、压扭变形、枢纽断层变形等,以及张扭、压扭与枢纽断层间相互叠加的变形。

标签:
探矿技术
北京 - 北京 来源:中冶有色网 2023-03-04
基于离散卷积残差网络的含水层结构反演识别方法

一种基于离散卷积残差网络的含水层结构反演识别方法,包括以下步骤:根据含水层结构先验资料,建立含水层结构单个训练样本;基于单样本,训练神经网络含水层结构生成模型;依据场地资料,准备正演替代模型训练集;对训练集数据归一化处理;训练正演替代模型;对观测数据进行归一化处理;基于训练后的地质生成模型和正演替代模型,利用观测数据,对含水层结构生成模型的输入参数进行反演;将反演后的参数输入到含水层结构生成模型中,获取对应的后验含水层结构。本发明仅需要基于单个含水层结构训练样本,就可以利用观测资料对含水层结构进行反演,极大地提高含水层结构的反演速度,降低了含水层结构的不确定性。

标签:
探矿技术
吉林 - 长春 来源:中冶有色网 2023-03-04
自适应迭代的位场分离方法、系统、设备及计算机可读存储介质

本发明公开了一种自适应迭代的位场分离方法、系统、设备及计算机可读存储介质,所述方法包括以下步骤:分析频谱与功率谱以确定计算滤波器所需参数的选择区间;迭代开始,用二分法从参数的选择区间自动搜索最优参数值并计算滤波器;根据滤波器进行频率域位场分离;对分离得到的异常进行位场反演计算;计算位场反演结果与先验信息之间的误差;判断误差是否满足迭代停止条,若满足,迭代停止,若不满足,则回到步骤4重新选择参数以达到自适应滤波。本发明能够根据给定的先验信息进行自适应迭代的位场分离,并得到与给定的先验信息相关的目标地质体的异常分离结果。

标签:
探矿技术
北京 - 北京 来源:中冶有色网 2023-03-04
数据与物理模型联合驱动的测井储层评价方法及装置

本申请提供的一种数据与物理模型联合驱动的测井储层评价方法及装置,包括:获取神经网络模型构建请求,包括输入数据和输出数据,并根据输入数据和输出数据,构建对应的神经网络模型;利用地质信息和岩石物理知识构建地层模型与井筒模型,并根据构建的地层模型和井筒模型,选择添加到神经网络模型中的岩石物理约束;根据岩石物理约束和初始配置的数据损失函数,获取总损失函数,利用总损失函数对神经网络模型进行迭代训练,获取储层分析模型;获取储层分析请求,根据储层分析请求,采用储层分析模型对待分析的测井数据进行分析处理,以获取测井解释结果。解决了现有数据驱动储层分析方法预测结果不准确的问题。

标签:
探矿技术
北京 - 北京 来源:中冶有色网 2023-03-04
带桩锚的斜坡掏挖基础

本发明公开了一种带桩锚的斜坡掏挖基础,方形柱体插入放大脚的预留杯口中,用结构砂浆填充方形柱体与杯口之间的空隙,线塔支脚通过地脚螺栓固定于方形柱体的上端;拉锚穿过柱体之上的预留孔道,将垫板和锥孔锚环套在拉锚的外露端,并通过千金顶拉紧拉锚后,将夹片打入锥孔锚环中,用以楔紧所述的拉锚;用结构砂浆注满预留孔道。放大脚与掏挖基础通过现场绑扎成钢筋笼后再整体浇筑混凝土完成的,两者埋设于持力层中。该基础结构简单,操作简便,能有效地提高输电塔基的整体稳定性,可提高输电塔基在复杂地质条件的山区斜坡上的抗拔、抗倾覆能力。

标签:
探矿技术
湖北 - 武汉 来源:中冶有色网 2023-03-04
基于人工智能算法的水资源优化配置方法

本发明公开了一种基于人工智能算法的水资源优化配置方法,包括下述步骤:利用收集到的水文气象、土地利用类型、DEM、水文地质作为地表水、地下水模拟模型的输入数据,并利用实测数据对相关参数进行率定和验证,确定相关模型参数,构建地表水‑地下水耦合模拟模型;本发明结合未来气候情景数据,预测未来区域水资源供给和需求量,以此作为多目标规划模型的输入值,利用NSGA‑II对构建的多目标优化模型求解,最终得到未来气候变化情景下合理的水资源优化配置方案,具有十分重要的现实意义和实用性。

标签:
探矿技术
广东 - 广州 来源:中冶有色网 2023-03-04
防治海水入侵和陆源污染的变渗透地下帷幕及其施工方法

本发明提供了一种防治海水入侵和陆源污染的变渗透地下帷幕及其施工方法,根据滨海地区的水文地质条件,确定相关区域;根据海水入侵范围,在距离海岸线1/3海水入侵的位置作为变渗透地下帷幕建设位置;变渗透地下帷幕的上部为隔水墙体结构,下部为可渗透性墙体结构。通过本发明的技术方案,可以用来防治海水入侵,增大地下淡水资源量;同时,减少上游地下水源地的污染物富集,从而改善滨海地区地下水质量,并增加地下淡水排泄通量。

标签:
探矿技术
山东 - 青岛 来源:中冶有色网 2023-03-04
封闭式箱型栈桥及其施工方法

本发明涉及一种封闭式箱型栈桥及其施工方法,属于栈桥技术领域,该封闭式箱型栈桥,包括多个箱体、灌排水机构和多个搭板;多个箱体沿纵向排成一排,箱体内设有用于承载压载水的腔室,箱体设有与腔室相连通的灌排口,箱体的顶面设有用于通行的桥面;灌排水机构连接于灌排口,用于在安装封闭式箱型栈桥时向空腔内注入压载水以使箱体沉于水底,并在拆除封闭式箱型栈桥时向外排出空腔内的压载水以使箱体上浮;两两相邻的两个箱体之间均设置有搭板,搭板的纵向一端铰接于一个箱体顶部的桥面上,搭板的纵向另一端搭接于相邻的另一个箱体顶部的桥面上。该封闭式箱型栈桥适合于地质复杂且地形高差变化大的海岸区域,而且,其稳定性好,可满足重载交通。

标签:
探矿技术
天津 - 天津 来源:中冶有色网 2023-03-04
上一页 491 492 493 494 495 ... 500 ... 1546 下一页
共1546页    到第

中冶有色为您提供最新的有色金属探矿技术理论与应用信息,涵盖发明专利、权利要求、说明书、技术领域、背景技术、实用新型内容及具体实施方式等有色技术内容。打造最具专业性的有色金属技术理论与应用平台!

全国热门有色金属设备推荐
展开更多 +
全国热门有色金属技术推荐
展开更多 +

 

江西省隆恩特环保设备有限公司
宣传

报名参会
更多+

报告下载

有色专家
更多+

中南大学
中国工程院 院士
中南大学
中国工程院院士
江西理工大学
副校长/教授
洛阳有色矿业集团有限公司
生产技术部经理
任灵宝金源矿业股份有限公司
技术发展部经理
赤泥综合利用研究报告2025
推广

热门技术
更多+

推荐企业
更多+

福建省金龙稀土股份有限公司
宣传

发布

在线客服

公众号

电话

顶部
咨询电话:
010-88793500-807