青岛垚鑫智能科技有限公司
宣传

位置:中冶有色 >

有色技术频道 >

> 化学分析技术

分类:
全部
矿山技术
冶金技术
材料制备及加工技术
环境保护技术
分析检测技术
 
全部
物理检测技术
化学分析技术
力学检测技术
无损检测技术
失效分析技术
环境检测技术
地区:
全部
北京
天津
上海
重庆
河北
山西
辽宁
吉林
黑龙江
江苏
浙江
安徽
福建
江西
山东
河南
湖北
湖南
广东
海南
四川
贵州
云南
陕西
甘肃
青海
内蒙
广西
西藏
宁夏
新疆
其他
其他
展开
 
全部
郑州
开封
洛阳
平顶山
安阳
鹤壁
新乡
焦作
濮阳
许昌
漯河
三门峡
商丘
周口
驻马店
南阳
信阳
济源

河南有色金属化学分析技术理论与应用

免费发布技术信息>>
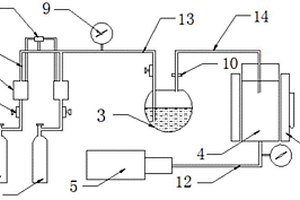
化学气相沉积陶瓷保护膜反应装置

本实用新型涉及化工反应设备技术领域,尤其是一种化学气相沉积陶瓷保护膜反应装置,包括CH4储存罐、H2储存罐、蒸发器、CVD反应室和真空抽气泵, CH4储存罐和H2储存罐上均连接有支管,支管上且位于阀门的上方均设有流量计,支管另一端均连接有主管道,主管道上设有压力表和气体检测仪,主管道另一端连接有蒸发器,述蒸发器上通过设有的出气管道连接有CVD反应室,CVD反应室两侧均设有高温炉,CVD反应室底端通过抽气管道连接有真空抽气泵,有益效果在于:通过气相化学反应形成固体物质沉积,不易受到外部环境影响;真空条件下进行沉积,提高获得沉积物效率,通过控制反应气体流量,从而控制涂层的密度,通过调节反应室内的真空压力从而有效控制涂层纯度。

标签:
化学分析
河南 - 郑州 来源:中冶有色网 2023-03-19
单人份磁微粒化学发光试剂条

本发明公开了一种单人份磁微粒化学发光试剂条,包括试剂条主体和测光单元,测光单元卡装在试剂条主体上,其具有测光孔和第一底物孔;试剂条主体自第一底物孔向另一端依次具有第一孔、第二孔、夹爪孔、第三孔、反应孔、第四孔、第一洗液孔和磁珠清洗孔,第一孔、第二孔、第三孔、反应孔和所述第四孔的孔口轮廓相同;夹爪孔靠近试剂条主体的中部位置。本发明的测光孔位于试剂条主体的最左端,避免加样和取样过程中反应试剂污染测光孔而引起测光误差,提高了检测结果的可靠性;磁珠清洗孔位于试剂条主体的另一端,为磁铁提供进出空间,以实现清洗过程中磁珠的吸附,确保清洗步骤的正常进行;统一了各个孔的孔口轮廓,便于统一刺破。

标签:
化学分析
河南 - 郑州 来源:中冶有色网 2023-03-19
微波等离子体化学气相沉积装置放取样系统

一种微波等离子体化学气相沉积装置放取样系统,包括机架和升降放取机构,升降放取机构包括支撑座及置于支撑座上的支撑底板,且支撑底板与支撑座沿水平方向滑动配合;支撑底板上方还设有用于放置沉积物的石英钟罩,实现石英钟罩伴随支撑底板在竖直方向上的升降;机架上还设有用于检测石英钟罩位置的定位装置。该微波等离子体化学气相沉积装置放取样系统,通过升降放取机构、支撑座以及与支撑座水平滑动配合的支撑底板的结构布设,使放样、取样过程中操作空间不再受限制,放样、取样过程简单无妨碍,可有效的避免由于操作空间有限而导致损坏石英钟罩情况的发生。

标签:
化学分析
河南 - 郑州 来源:中冶有色网 2023-03-19
化学发光仪用试管架
化学发光仪用试管架 955     
 0

本实用新型提供一种化学发光仪用试管架,包括支撑座和开设在支撑座上的多条试管固定通道,多条试管固定通道沿直线等间距排布;多条所述试管固定通道的顶部均安装有套管,所述套管中心开设有通孔;所述套管包括底部卡环和连接在底部卡环顶部的上部固定环,所述底部卡环的内壁与所述上部固定环的内壁上下贯通设置;所述底部卡环的外周面底部与试管固定通道的内壁相接触;所述底部卡环的外周面顶部还设置有卡槽。该试管架利用套管与样本试管之间的配合来固定试管,由于套管自身不会产生变形,从而可以保证试管能够每次处于试管固定通道的中心位置,避免由于试管偏移造成的检测探针触碰试管壁的现象,提高了检测准确性。

标签:
化学分析
河南 - 郑州 来源:中冶有色网 2023-03-19
防治矿井巷道底臌的化学方法

本发明公开了一种防治矿井巷道底臌的化学方法,包括以下步骤:(1)、对软岩巷道内的岩样进行采集,至少采集三个矿井的典型水敏性岩石作为岩样;(2)、对软岩巷道内岩样的岩性进行分析;(3)、以室内实验为基础,分析黏土稳定剂对岩样膨胀变形的控制规律,确定黏土稳定剂的配方;(4)、采用黏土稳定剂在底臌的软岩巷道现场施工作业;(5)、对施工效果进行考察。本发明通过价格低廉的黏土稳定剂直接作用于软岩岩石,改变软岩岩石的膨胀性能,同时辅以抽采卸压孔,卸压孔一方面引导黏土稳定剂的渗流,一方面为后期巷道底板的变形提供变形空间,进而达到防治巷道底臌的作用。

标签:
化学分析
河南 - 焦作 来源:中冶有色网 2023-03-19
精炼炉快速调整钢种化学成分的方法

本发明涉及一种精炼炉快速调整钢种化学成分的方法,通过精炼第一样分析来样后成分,根据钢种内控成分要求,控制在三个样成分调整合适,以此来达到精炼炉高合金钢成分快速调整到位,加快精炼炉冶炼速度、降低成本的目的,本发明通过“减本身法”合金计算公式、并把高合金钢成分调整分成三步来完成,第一步调整大成分下限,第二步按目标值中限调整成分,第三步对成分进行微调达到或接近目标成分,根据高中低碳合金残余元素的含量,合理控制来达到合金元素快速调整到位,残余元素又不超标的目的,仅用于钢铁行业精炼炉快速调整钢种化学成分所用。

标签:
化学分析
河南 - 济源 来源:中冶有色网 2023-03-19
基于强化学习和攻防博弈的智能防御决策方法及装置

本发明属于网络安全技术领域,特别涉及一种基于强化学习和攻防博弈的智能防御决策方法及装置,该方法包含:在有限理性约束下构建攻防博弈模型,并生成用于提取博弈模型中网络状态与攻防动作的攻防图,该攻防图设定为以主机为中心,攻防图节点提取网络状态,攻防图边分析攻防动作;防御者在网络状态转移概率未知时,通过在线学习得到防御收益使得防御者面对不同攻击者时自动做出最优防御策略的选择。本发明有效压缩博弈状态空间,降低了存储和运行开销;防御者在与攻击者对抗中依据环境反馈进行强化学习,在面对不同攻击时能自适应做出最优选择;提升防御者学习速度,提高了防御收益,减少对历史数据依赖,有效提升防御者决策时的实时性和智能性。

标签:
化学分析
河南 - 郑州 来源:中冶有色网 2023-03-19
银-聚多巴胺-石墨烯修饰的电化学传感器及其制备方法

本发明公开了一种银-聚多巴胺-石墨烯纳米复合物修饰的电化学传感器,它主要特征为在玻碳电极表面覆有银-聚多巴胺-石墨烯复合膜。其制法为将银-聚多巴胺-石墨烯加入二甲基甲酰胺中分散均匀,得到银-聚多巴胺-石墨烯分散液,然后将分散液涂覆到玻碳电极表面,蒸发溶剂既得所需传感器。银-聚多巴胺-石墨烯复合物的制备仅需将各反应物混合,室温下搅拌即可。方法简单,反应条件温和。本发明制备的电化学传感器具有灵敏度高、检出限低等优点,能实现鸟嘌呤和腺嘌呤的快速灵敏测定,操作简单,绿色环保。传感器的制备方法简单,成本低。

标签:
化学分析
河南 - 信阳 来源:中冶有色网 2023-03-19
铝合金壳体用彩色化学氧化装置

本实用新型公开了一种铝合金壳体用彩色化学氧化装置,包括反应池、水管、PH检测仪、稀醋酸池、过滤网、支撑架、固定框、连接杆、推拉板和氨水池,反应池内部安装水管,反应池的两侧外壁分别安装稀醋酸池和氨水池,反应池的侧壁位于稀醋酸池的下方固定安装PH检测仪;反应池的顶端安装支撑架,支撑架的中间滑动连接竖直的连接杆,连接杆的顶端与推拉板固定连接,连接杆的底部与固定框固定连接,反应池的顶部固定安装过滤网。本实用新型的有益效果是:提高反应效率,避免杂质落入反应池内,通过PH检测仪精确把控染色液的酸碱度,保证染色池内的反应环境,夹持件对铝合金固定效果好,不会掉落。

标签:
化学分析
河南 - 洛阳 来源:中冶有色网 2023-03-19
适体传感器用电极材料,电化学适体传感器及其制备方法

本发明涉及一种适体传感器用电极材料,电化学适体传感器及其制备方法。该适体传感器用电极材料由包括以下步骤的方法制备而成:1)将钴盐、铁氰酸盐在溶剂中反应,制备固相钴铁配合物;2)将钴铁配合物、钴盐、镍盐、2‑甲基咪唑在溶剂中搅拌反应,制备固相包覆材料;3)将固相包覆材料在保护气氛下于300℃以上进行煅烧处理,即得。本发明提供的适体传感器用电极材料,由于框架的固有空腔以及不同金属氧化物和NiCo2O4尖晶石之间的协同作用,该电极材料可固定大量的适体链,从而有利于提高相应电化学适体传感器的检测性能。

标签:
化学分析
河南 - 郑州 来源:中冶有色网 2023-03-19
以三重改性的TiO2纳米线阵列为支架的电化学免疫传感器的构建方法

本发明涉及一种以三重改性的TiO2纳米线阵列为支架的电化学免疫传感器的构建方法,首先通过水热法合成出致密、整齐的TiO2纳米线阵列,然后对其改性,改性过程中Mo元素被成功掺杂入TiO2纳米线阵列以促进其电子转移能力;MoS2片也被成功沉积于电极表面;然后将壳聚糖溶液滴加于改性TiO2纳米线阵列电极表面,使用双氨基交联剂BS3将捕获抗体Ab1共价结合于电极表面。同时用水热法制备出圆柱形TiO2一维纳米材料,并将其氨基化,然后用BS3作交联剂将辣根过氧化物酶HRP和信号抗体Ab2共同修饰于TiO2纳米柱表面以得到信号抗体标记物。采用该方法制备所得的电化学免疫传感器能够快速的测定癌胚抗原CEA,且灵敏度较高、线性范围较大、检测限较低。

标签:
化学分析
河南 - 开封 来源:中冶有色网 2023-03-19
用于药物化学实验的废液处理装置

本实用新型公开了一种用于药物化学实验的废液处理装置,属于废液处理装置技术领域,包括废液缓冲池,所述废液缓冲池顶部设有进液口,所述废液缓冲池底部与第一管体连通,所述第一管体另一端与处理池连通,所述处理池顶部开设有处理剂进口,所述处理池下方设有检测口,所述检测口设有检测阀门,所述处理池下方还设有第二管体,所述第二管体上设有出液阀门,所述第二管体另一端与过滤池连通,所述过滤池内设有过滤层,所述过滤池下方设有排液口,所述排液口上设有排液阀门;本实用新型能够有效地对废液进行处理,且精准控制处理剂的使用量,避免浪费。

标签:
化学分析
河南 - 商丘 来源:中冶有色网 2023-03-19
基于电化学的污水处理方法

本发明公开一种基于电化学的污水处理方法,包括如下步骤:(a)利用光催化污水单元对污水中的有机物进行分解和降解,同时测定污水中重金属离子的浓度;(b)根据步骤(a)中检测到的重金属离子浓度设置电化学污水处理单元通电时的电流密度,然后利用置换的方式将污水中的重金属离子置换出来;(c)将经步骤(b)处理后的污水进行曝气和气浮处理;(d)经步骤(c)处理后的水接入清水回路内循环使用。本发明利用光催化、曝气、气浮相结合除去水体中的有机污染物,不仅可以提高有机污染物去除效率,还可以提高有机污染物去除速度,同时利用电解、曝气以及气浮去除污水中的重金属离子。

标签:
化学分析
河南 - 焦作 来源:中冶有色网 2023-03-19
可自动滴定新型化学滴定装置

本实用新型公开了一种可自动滴定新型化学滴定装置,包括底座、固定架和滴定液自动输入器,所述固定架上设有滴定平台,所述滴定平台上设有玻璃滴管,所述底座上表面设有可调节磁力搅拌器,所述可调节磁力搅拌器表面放置有锥形瓶,所述锥形瓶位于玻璃滴管下方,所述滴定液自动输入器内设有可调节蠕动泵和液池,所述可调节蠕动泵和液池之间连接有第二抗腐蚀胶管。本实用新型通过设置可调节蠕动泵,并在底座上设置可调节磁力搅拌器,可以开起蠕动泵调节滴定速度至稳定状态,同时开启磁力搅拌器并调整至合适速度,快速简便,可操作性强,滴定液流速可调节,数据稳定性且重现性好,适用于大多数的化学滴定试验等,对样品进行化学品定性、定量分析。

标签:
化学分析
河南 - 许昌 来源:中冶有色网 2023-03-19
适用于化学短纤维后处理联合机集束架的集束装置

一种适用于化学短纤维后处理联合机集束架的集束装置,其特征在于:它包括固定安装在左右集束机架上的右墙板、左墙板,采用贴壁轴承支撑于左、右墙板之间、中间部位的由呈三角形布置的三根导丝辊组成的导丝组件,以及设置在所述导丝组件前后方的前后两套导丝架组件;在位于导丝组件上方的左、右墙板之间安装有丝束检测组件;在左、右墙板前端安装有张力组件。由于本实用新型把导丝组件、丝结检测组件、张力组件集中设置,节省空间,便于操作。该装置设置在集束架中部,使各丝条的引出长度差异减小,减少了尾丝长度,提高了丝束的利用率。张力、丝结在线检测,适应大容量、高速化、自动化的要求,有效的提高了丝束质量。

标签:
化学分析
河南 - 郑州 来源:中冶有色网 2023-03-19
大豆苷元分子印迹电化学传感器及其制备方法

本发明涉及电化学传感技术领域,公开了一种大豆苷元分子印迹电化学传感器及其制备方法。本发明以大豆苷元为模板分子,盐酸多巴胺为功能单体,通过简单的一锅煮方法制备了负载有PtNPs‑Cu@Cu2O复合纳米多孔材料的大豆苷元分子印迹聚合物。利用滴涂的方式将负载有PtNPs‑Cu@Cu2O复合纳米多孔材料的大豆苷元分子印迹聚合物与电化学传感器结合在一起,构建了大豆苷元分子印迹电化学传感器,该传感器实现了对大豆苷元快速、灵敏的特异性识别,并可用于实际葛根样品中大豆苷元的检测。

标签:
化学分析
河南 - 郑州 来源:中冶有色网 2023-03-19
以类石墨相g-C3N4-TiO2纳米片复合材料为酶分子固定支架的光电化学葡萄糖氧化酶传感器的构建方法

本发明公开了一种以类石墨相g?C3N4?TiO2纳米片复合材料为酶分子固定支架的光电化学葡萄糖氧化酶传感器的构建方法,其首先通过热聚合法制备出g?C3N4, 然后再通过水热法制备g?C3N4?TiO2复合材料,最后将合成的g?C3N4?TiO2复合材料以Nafion作为粘合剂,和葡萄糖氧化酶(GOD)共同修饰在ITO电极表面,构建GOD传感器。采用本发明方法制备所得的光电化学葡萄糖传感器能够快速地测定葡萄糖,且具有灵敏度较高、线性范围较大和检测限较低等优点。

标签:
化学分析
河南 - 开封 来源:中冶有色网 2023-03-19
多巴胺-黑色素纳米微球电化学传感器及其制备方法和应用

本发明公开了一种多巴胺-黑色素纳米微球修饰的电化学传感器,它主要特征为在玻碳电极表面涂有多巴胺-黑色素纳米微球敏感膜。其制法为将多巴胺-黑色素纳米微球加入蒸馏水中并超声分散均匀,得到多巴胺-黑色素纳米微球分散液,然后将多巴胺-黑色素纳米微球分散液涂覆到玻碳电极表面,氮气干燥既得所需电化学传感器。本发明电化学传感器的制备材料为全固态的、不含对人体有毒的。污染环境的无机纳米材料,制备方法简单、快速、成本低。制备的电化学传感器具有稳定性好、灵敏度高、重现性好等优点。利用该传感器可实现扑热息痛的高灵敏测定,检出限可达到2×10-8mol/L。

标签:
化学分析
河南 - 信阳 来源:中冶有色网 2023-03-19
Py-M-COF及其电化学传感器和应用

本发明公开了一种新型共价有机骨架Py‑M‑COF及其电化学传感器和应用,将1,3,6,8‑四(4‑甲酰苯基)芘溶解在二甲基亚砜中,然后加入三聚氰胺在180℃的温度条件下热浴三天,热浴过后的产物用四氢呋喃和乙醇反复洗涤后,在60℃烘箱中干燥,得到Py‑M‑COF。本发明的新型共价有机骨架Py‑M‑COF,高比表面积和多孔骨架可以为生物分子固定提供大的表界面;适体链不仅可以通过π‑π堆积和氢键作用附着在COF基质上,而且可以通过端氨基官能团与带负电的适体之间的通过静电相互作用结合;拓展的π共轭骨架结构能够促进电荷的传输,并提高检测灵敏度;Py‑M‑COF对适体链具有高的生物亲和性,对痕量抗生素的检测具有超灵敏性和选择性,对抗生素恩诺沙星的最低检测限低至6.068fg·mL‑1

标签:
化学分析
河南 - 郑州 来源:中冶有色网 2023-03-19
拖拉机提升性能检测装置及检测方法

一种拖拉机提升性能检测装置及其检测方法,包括:底座固定总成、提升加载总成、驻车块、前牵引机构总成、液压站以及控制电箱;底座固定总成与提升加载总成之间通过B导轨与B导轨滑块实现滑动副连接;驻车块通过化学螺栓固定于地面上;前牵引机构总成通过前牵引带固定于拖拉机前端。本装置机械结构紧凑,安装方便,装置无需配备砝码,加载力可实现无级调整。拖拉机前端张紧机构可针对不同机型施加不同张紧力,实现自动张紧。本装置挂接点可在上下、左右、前后三个方向六个自由度上实现运动,完全满足各种机型要求,且本装置试验噪声小,挂接方便,试验准确度、自动化程度更高,试验方法操作步骤简单,为拖拉机提升性能检测试验提供了良好条件。

标签:
化学分析
河南 - 洛阳 来源:中冶有色网 2023-03-19
硫化钼-石墨烯电化学传感器及其制备方法与应用

本发明公开了一种硫化钼-石墨烯纳米复合物修饰的电化学传感器,它主要特征为在玻碳电极表面覆有硫化钼-石墨烯复合膜。其制法为将硫化钼-石墨烯加入蒸馏水中分散均匀,得到硫化钼-石墨烯分散液,然后将硫化钼-石墨烯分散液涂覆到玻碳电极表面,蒸发溶剂既得所需传感器。本发明电化学传感器的制备材料为全固态的、不含对人体有毒的、污染环境的无机纳米材料。制备的电化学传感器具有稳定性好、灵敏度高、重现性好等优点。利用该传感器可实现多巴胺、扑热息痛和抗坏血酸的同时、灵敏测定,使其检出限分别达到1.0×10-8?mol/L、2.0×10-8?mol/L和5.0×10-8mol/L,三者氧化峰电位的差值>190mV。

标签:
化学分析
河南 - 信阳 来源:中冶有色网 2023-03-19
环境工程用化学污水处理装置

本发明属于化学污水处理装置领域,具体的说是一种环境工程用化学污水处理装置,包括进水箱与分隔板,所述进水箱的内侧设置有过滤网,且进水箱的边侧安装有第一抽水泵,所述第一抽水泵的外侧设置有第一连接套,且第一抽水泵的端部设置有处理箱,所述处理箱的边侧设置有化合剂罐,且化合剂罐的顶部设置有轴承板,所述轴承板的内侧设置有转动轴,且转动轴的边侧设置有搅和板,并且搅和板的内侧开设有方形槽,所述化合剂罐的端部设置有出水管;本发明便于对化学污染水源进行初步过滤处理,便于对水源的便捷自动化输送处理,便于对化学药剂进行充分搅拌处理,便于通过电解方法进行污水处理,便于对处理后的水源进行采样检测。

标签:
化学分析
河南 - 开封 来源:中冶有色网 2023-03-19
学生用化学实验残留药液处理装置

本实用新型公开了一种学生用化学实验残留药液处理装置,包括壳体,所述壳体内腔底部设有pH值检测仪,所述pH值检测仪一侧设有转杆,所述转杆上设有搅拌板,所述壳体内腔顶部设有防腐蚀液位计,所述壳体顶部设有防护腔,所述防护腔内部设有酸碱罐,本实用新型通过设有pH值检测仪、酸罐和碱罐,以便于将残留药液倒入后,pH值检测仪实时检测药液的酸碱度并向控制器发送信号,控制器根据药液酸碱度控制酸性电池阀或碱性电池阀打开,酸性液体或碱性液体由第一连接管或第二连接管落入壳体中,从而使原先呈酸性或碱性的液体变为中性,便于后期处理,避免酸性残留液或碱性残留液对人体造成危害的情况发生,具有较高的安全性。

标签:
化学分析
河南 - 南阳 来源:中冶有色网 2023-03-19
光电化学生物传感器
光电化学生物传感器 975     
 0

本发明涉及一种光电化学生物传感器,属于生物传感器技术领域。本发明的光电化学生物传感器包括电极、涂覆在电极表面的电极材料以及锚定在所述电极材料表面的核酸适配体;电极材料的制备方法包括:将聚合物‑金属有机框架材料和In3+盐在In3+盐的良溶剂中分散均匀后,去除溶剂,将所得固体在500~800℃进行碳化处理,即得;聚合物‑金属有机框架材料由Ce3+离子和配体自组装形成;配体包括均苯三甲酸以及重复单元含苯环的聚合物配体。光电化学生物传感器采用的电极材料具有更显著的光生电子和空穴的分离能力、分步更加均匀的金属纳米颗粒以及对适配体链的高生物亲和力,在检测致病性大肠杆菌等食源性致病菌方面表现出巨大的潜力。

标签:
化学分析
河南 - 郑州 来源:中冶有色网 2023-03-19
化学医药废液处理装置

本实用新型公开了一种化学医药废液处理装置,包括过滤箱、消毒箱和检测箱,所述混凝剂箱的顶部固定安装有混凝剂泵,所述过滤层底部的过滤箱内部固定安装有潜水排污泵,所述过滤箱的另一侧固定安装有杂质箱,所述电机底部的消毒箱内部活动安装有搅拌轴,所述消毒箱一端的杂质箱顶部固定安装有第一水泵,所述检测箱的顶部固定安装有第二水泵,所述检测箱的表面固定安装有水质检测器。本实用新型通过设置有滑块,可以通过滑块将过滤层取出,便于工作人员进行安装与维护,设置有垃圾盒,可以将净化后产生的杂质进行储存,方便工作人员取出处理,设置有检测箱,可以对净化后的废水进行检测,增加了废水的净化程度。

标签:
化学分析
河南 - 信阳 来源:中冶有色网 2023-03-19
化学反应性小分子及其凝胶的制备方法

本发明公开了一种化学反应性小分子及其凝胶的制备方法,所述的化学反应性小分子为一种含有噻吩基团的异噁唑酯类衍生物,采用三步反应一锅合成法,步骤简捷高效,合成产物以晶体形式析出化学反应性小分子具有可快速凝胶化及耐热性等特性,通过向其甲醇溶液加入氢氧化锂静置,溶液即可迅速转变为凝胶,该小分子凝胶剂具有化学反应响应特性,有望应用于化学检测、分子识别、催化反应、电池能源等领域。

标签:
化学分析
河南 - 郑州 来源:中冶有色网 2023-03-19
生物化学法制备高粘度淀粉胶黏剂技术

本发明涉及到一种生物化学法制备高粘度淀粉胶黏剂技术,其步骤为:(1)选择糯米淀粉、玉米淀粉、小麦淀粉、马铃薯淀粉为原料,并检测各原料中的直链淀粉含量,一定的比例混合添加去离子水并搅拌。(2)根据淀粉种类的配比和原料特性添加淀粉分支酶,使淀粉分子进一步聚合,聚合反应结束后进行离心,弃上清。(3)取乙酸、氢氧化钠、中间介质、去离子水混合均匀,然后添加离心后的淀粉乳,再次混合均匀后进行化学反应。(4)反应结束后离心、干燥并添加硼砂后进行包装得到成品。本发明利用生物和化学相结合的方法制备了高粘度的淀粉胶黏剂,该淀粉胶黏剂可以广泛用于壁纸、木材等行业辅料粘合剂,为淀粉的进一步深加工利用提供了途径。

标签:
化学分析
河南 - 郑州 来源:中冶有色网 2023-03-19
化学液体自动喷洒装置

一种化学液体自动喷洒装置,包括:一用以存储化学液体的主体;一可向马桶盆体内喷洒化学液体的喷洒部;一连接该喷洒部与主体的流道部;一动力装置,该动力装置可驱使主体内的化学液体经由所述喷洒部向外喷出;一控制装置,所述控制装置连接至少一个用以检测马桶钵体中是否有水流通过的水流感应器,所述控制模块根据水流感应器反馈的信号决定是否向所述动力装置输出控制信号;一电源,用以给所述控制装置和所述动力装置供电。该装置可通过若干个电容感应器采集信号,判断诸如马桶上是否有人体,是否有用户手持等信息,然后综合水流感应器采集到的信息判断并决定是否给出控制信号到喷洒动力装置进行喷洒动作。

标签:
化学分析
河南 - 周口 来源:中冶有色网 2023-03-19
以TNS-MWCNT复合材料为抗体和示踪标记物载体的电化学免疫传感器构建方法

本发明公开了一种以TiO2纳米片(TNS)?多壁碳纳米管(MWCNT)复合材料为抗体和示踪标记物载体的电化学免疫传感器构建方法,首先通过水热法制备出TNS?MWCNT复合材料并氨基化,然后将其分散于Nafion溶液中并滴加在电极表面。以氨基交联剂BS3为双氨基交联剂将捕获抗体(Ab1)共价结合在NH2?TNS?MWCNT表面,用于三明治型夹心测定。同时,BS3还被用于将辣根过氧化物酶(HRP)和信号抗体(Ab2)固定在NH2?TNS?MWCNT表面以制备示踪标记物。采用本发明方法制备所得的电化学免疫传感器能够快速地测定α?甲胎蛋白,且灵敏度较高、线性范围较大、检测限较低。

标签:
化学分析
河南 - 开封 来源:中冶有色网 2023-03-19
4-氯酚分子印迹电化学传感器及其制备方法

本发明涉及电化学传感技术领域,公开了一种4‑氯酚分子印迹电化学传感器及其制备方法。本发明以4‑氯酚为模板分子,盐酸多巴胺为功能单体,通过简单的一锅煮法制备了负载有Cu@Cu2O复合纳米多孔材料的4‑氯酚分子印迹聚合物。利用滴涂的方式将负载有Cu@Cu2O复合纳米多孔材料的4‑氯酚分子印迹聚合物与电化学传感器结合在一起,构建了4‑氯酚分子印迹电化学传感器,该传感器实现了对4‑氯酚快速、灵敏的特异性识别,并可用于实际水样的检测。

标签:
化学分析
河南 - 郑州 来源:中冶有色网 2023-03-19
上一页 44 45 46 47 48 ... 62 下一页
共62页    到第

中冶有色为您提供最新的河南有色金属化学分析技术理论与应用信息,涵盖发明专利、权利要求、说明书、技术领域、背景技术、实用新型内容及具体实施方式等有色技术内容。打造最具专业性的有色金属技术理论与应用平台!

全国热门有色金属设备推荐
展开更多 +
全国热门有色金属技术推荐
展开更多 +

 

江西省隆恩特环保设备有限公司
宣传

报名参会
更多+

报告下载

有色专家
更多+

武汉科技大学
校学术委员会主任 / 教授
有研资源环境技术研究院(北京)有限公司
副总经理/教授级高工
北京科技大学
副院长/教授
云南锡业集团(控股)有限责任公司
副总经理
郑州大学
副校长
赤泥综合利用研究报告2025
推广

热门技术
更多+

推荐企业
更多+

福建省金龙稀土股份有限公司
宣传

发布

在线客服

公众号

电话

顶部
咨询电话:
010-88793500-807