青岛垚鑫智能科技有限公司
宣传

位置:中冶有色 >

有色技术频道 >

> 无损检测技术

分类:
全部
矿山技术
冶金技术
材料制备及加工技术
环境保护技术
分析检测技术
 
全部
物理检测技术
化学分析技术
力学检测技术
无损检测技术
失效分析技术
环境检测技术
地区:
全部
北京
天津
上海
重庆
河北
山西
辽宁
吉林
黑龙江
江苏
浙江
安徽
福建
江西
山东
河南
湖北
湖南
广东
海南
四川
贵州
云南
陕西
甘肃
青海
内蒙
广西
西藏
宁夏
新疆
其他
其他
展开
 
全部
杭州
宁波
温州
绍兴
湖州
嘉兴
金华
衢州
台州
丽水
舟山

浙江有色金属无损检测技术理论与应用

免费发布技术信息>>
超声检测装置多点监测布控系统

本实用新型涉及超声检测技术领域,提供了一种超声检测装置多点监测布控系统,包括检测系统、接口板组、超声处理装置和用户终端;检测系统包括检测装置和温度传感装置;检测装置包括超声波探头;接口板组包括接口板,接口板与超声波探头连接。本实用新型可远程实时检测每个被测对象的预紧力,并可得知检测时的温度;通过接口板组可精确定位至每一个被测对象,超声波处理装置可便携到室外或现场使用,超声波无损检测技术对于大多数介质而言穿透能力比较强,在一些金属材料中穿透能力可达数米,并且不对被测对象产生任何损伤。

标签:
无损检测
浙江 - 杭州 来源:中冶有色网 2023-03-19
检测组织活性的实时测量方法和仪器

本发明涉及一种检测组织活性的实时测量方法和仪器。本发明通过设置由若干光纤组成的光纤束,所述若干光纤前端形成一个直径为数毫米的圆分布于探头外周,若干光纤沿圆周依次间隔地分别接上光源模块中的光源和光探测元件,从而分别构成光源光纤组和测量光纤组;同时设置有电子控制模块控制所述视频摄像头和光源模块中复数个LED灯的开关以及控制光检波器,将每个光源光纤组和测量光纤组中的每个光纤以排列组合的方式检测皮下从可见光到红外光的光反应,再用检测采集的数据训练一个神经网络,这样对应于使用不同波长和强度的光源的每次测量,都对应一个正确的输出值,利用经过训练的神经网络可做到实时测量,并且无需切片,达到无损检测的目的。

标签:
无损检测
浙江 - 温州 来源:中冶有色网 2023-03-19
基于电磁涡流检测的无接触式球形金属导体特性参数测量方法

本发明涉及一种基于电磁涡流检测的无接触式球形金属导体特性参数测量方法,包括步骤:将阻抗分析仪的输出端口接入励磁线圈两端,将阻抗分析仪的接收端口接入接收线圈两端;阻抗分析仪的输出端口产生交变电流,阻抗分析仪中FPGA模块的数字合成模块产生激励信号,向励磁线圈提供电磁涡流信号的激励来源。本发明的有益效果是:本发明利用电磁涡流信号仅在管壁近表面传输的趋肤效应,结合单一频率电磁涡流检测技术可以抑制提离效应带来的非线性变化,实现工业中对球形金属导体的高精度和高性能的相关参数检测,例如用于检测金属导体平面的厚度。本发明主要适用于精度要求高,必须进行无损检测的球形金属件。

标签:
无损检测
浙江 - 杭州 来源:中冶有色网 2023-03-19
超声检测装置多点监测布控系统及布控方法

本发明涉及超声检测技术领域,提供了一种超声检测装置多点监测布控系统,包括检测系统、接口板组、超声处理装置和用户终端;检测系统包括检测装置和温度传感装置;检测装置包括超声波探头;接口板组包括接口板,接口板与超声波探头连接。本发明可远程实时检测每个被测对象的预紧力,并可得知检测时的温度;通过接口板组可精确定位至每一个被测对象,超声波处理装置可便携到室外或现场使用,超声波无损检测技术对于大多数介质而言穿透能力比较强,在一些金属材料中穿透能力可达数米,并且不对被测对象产生任何损伤。

标签:
无损检测
浙江 - 杭州 来源:中冶有色网 2023-03-19
具有故障检测功能的电子式同步检查继电器

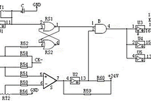
本实用新型涉及继电器技术领域,具体为一种具有故障检测功能的电子式同步检查继电器,包括全损坏条件检测电路和单损坏条件检测电路;所述全损坏条件检测电路包括锁存器RS1,锁存器RS2,电阻R57,电阻R58和电阻R52;所述锁存器RS1的输入引脚3与所述锁存器RS2的输出引脚4连接,所述锁存器RS2的输入引脚5与所述锁存器RS1的输出引脚1连接;所述电阻R57的第一端输入检测电压CK+。本申请的电子式同步检查继电器能够通过全损坏条件检测电路判定隔离变压器是全损坏条件还是单损坏条件/全无损条件,当隔离变压器不是全损坏条件时还能够通过单损坏条件检测电路判定隔离变压器是单损坏条件还是全无损条件,从而能够提高同步检查继电器输出的并网合闸信号的准确性。

标签:
无损检测
浙江 - 杭州 来源:中冶有色网 2023-03-19
铜块的铜品位检测方法及其检测系统

本发明公开了一种铜块的铜品位检测方法,包括:(1)采集图像,提取ROI;(2)对ROI进行纹理特征提取;(3)对ROI进行质量评判;(4)计算出颜色矢量角;(5)确定待测铜块的类别;(6)计算出铜品位。本发明方法能够自动完成复杂背景下铜块截面定位和ROI获取,并能基于纹理特征筛选出质量合格的ROI,最终根据ROI颜色特征通过混合高斯回归快速地估计出铜品位,精度较高。本发明还对应公开了一套铜品位检测系统,其基于ARM+DSP双核芯片的嵌入式平台,通过工业摄像机采集图像,携带方便,极大地降低了成本,非常适合产品化,具有全自动、不接触、无损伤、连续、实时、精度高的优点。

标签:
无损检测
浙江 - 杭州 来源:中冶有色网 2023-03-19
用于检测混凝土结构腐蚀状况的微波检测装置

本发明展示了一种用于检测混凝土结构腐蚀状况的微波检测装置,包括微波信号发生模块、扫描模块和腐蚀识别模块,所述微波信号发生模块包括矢量网络分析仪,所述扫描模块与所述矢量网络分析仪之间设有同轴线,所述腐蚀识别模块包括处理器和显示器,所述处理器内设有数据分析软件,所述处理器与所述矢量网络分析仪相连接,所述扫描模块包括用于安放混凝土的平台,所述平台上设有两个支架,所述两个支架处于混凝土两侧,所述支架上设有电动滑台,所述电动滑台上设有喇叭天线,所述平台内设有绕线盘,所述平台上设有出线孔和进线孔,所述同轴线两端设有限位块,该微波检测装置可以对混凝土进行无损检测。

标签:
无损检测
浙江 - 金华 来源:中冶有色网 2023-03-19
基于高光谱成像和人工神经网络的水稻种子发芽能力的检测方法

本发明公开了一种基于高光谱成像和人工神经网络的水稻种子发芽能力的检测方法,该方法包括:获取原始高光谱成像数据;数据预处理;发芽试验,获得分组数据;选取特征波长,提取特征波长下的高光谱数据;进行标准归一化处理;利用主成分分析法进行降维;构建人工神经网络模型,得到预测模型;采集待测水稻种子的高光谱图像,得出待测水稻种子发芽能力的预测结果。本发明方法利用高光谱成像技术获取水稻种子的高光谱数据,再结合多次数据处理实现特诊波段的提取和数据降维,提取出最能够反应水稻种子发芽能力的高光谱数据,然后利用人工神经网络有效提高预测准确性,实现水稻种子品质的无损检测。

标签:
无损检测
浙江 - 杭州 来源:中冶有色网 2023-03-19
基于多腔式电生理微纳检测的神经类器官芯片及检测方法

本发明公开了一种基于多腔式电生理微纳检测的神经类器官芯片及检测方法,神经类器官芯片包括微电极阵列芯片、类器官培养腔,微电极阵列包括6组工作电极和4个参比电极;类器官培养腔包括培养腔本体和多腔式零件,培养腔本体为内部挖去一个圆柱体的方块式结构,封装在传感器芯片上;多腔式零件主体呈桶状,底部具有6个圆柱形通孔,对应微电极阵列的6组工作电极,两侧为悬臂结构,搭配螺钉和螺母调整多腔式零件位置,有效控制类器官聚集分布在电极阵列区域,增加类器官与工作电极的接触概率。本发明可以实现对神经类器官电生理活动的监测,尤其适用于嗅觉类器官气味响应信号的获取和记录,具有实时无损、灵敏度高、稳定性高、重现性好等特点。

标签:
无损检测
浙江 - 杭州 来源:中冶有色网 2023-03-19
关于铜加工过程铜品位的检测方法及其检测系统

本发明公开了一种关于铜加工过程铜品位的检测方法,包括:(1)实时采集待测铜液样本的可见光图像和非可见光红外图像;(2)提取出待测铜液样本的红外线强度;(3)提取出待测铜液样本的颜色向量角;(4)估算待测铜液样本的铜品位。本发明通过引入高温铜液的红外信息对熔融铜样的温度变化做出修正,并与铜液的颜色特征信息融合后实现对铜品位的实时精确检测,具有不接触、无损伤、连续、实时、精度高的优点;本发明还公开了一种关于铜加工过程铜品位的检测系统,包括:图像采集单元、红外检测单元和图像处理单元,实时提取待测铜液样本的颜色信息和红外信息,在线评估出铜液的铜品位质量指标,在保证测量精度的前提下缩减了相应的检测成本。

标签:
无损检测
浙江 - 杭州 来源:中冶有色网 2023-03-19
用于机柜保险丝在线检测的接插结构及检测装置

本公开属于核电维修技术领域,具体涉及一种用于机柜保险丝在线检测的接插结构及检测装置。本公开实施例的用于机柜保险丝在线检测的检测装置该检测接插件,可以在不打开刀闸、保险丝带电的情况下对保险丝端子进行连接,将保险丝端子上的信号无损传输给检测电路,不会对运行的控制系统造成影响,有利于排除控制系统运行时的隐患,提高稳定性。此外,在检测时,探针的尖端可以刺破保险丝端子的表面氧化层,紧密与接线螺丝接触。

标签:
无损检测
浙江 - 嘉兴 来源:中冶有色网 2023-03-19
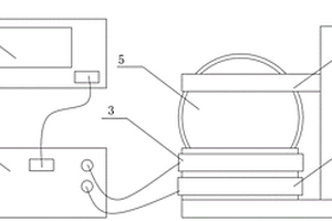
用于弹性波检测的轴向力加载装置及弹性波检测系统

本发明涉及无损检测领域,具体公开了一种用于弹性波检测的轴向力加载装置及弹性波检测系统。其中的轴向力加载装置,包括安装板,及设置在安装板上的导轨和进给装置,所述的导轨上滑动连接有中间块,所述的进给装置驱动中间块相对于导轨滑动;还包括一级调整机构,所述的一级调整机构包括设置在安装板上并相对于中间块左右对称分布的导向杆,所述的导向杆相互平行并平行于导轨的长度方向,所述的导向杆上滑动连接有调整板,并在调整板和导向杆之间设有第一弹簧。以上所述的轴向力加载装置通过调整机构,确保轴向力准确均匀地施加在转轴端面上,提高弹性波检测系统工作的稳定性和安全性,有效的保证了弹性波检测数据的准确性。

标签:
无损检测
浙江 - 杭州 来源:中冶有色网 2023-03-19
用于水果原位品质检测的柔性机械手和检测方法

本发明涉及一种用于水果原位品质检测的柔性机械手和检测方法。柔性机械手包括至少一根手指,每根手指包括根端连接装置、正压层、传感层和负压层,传感层安装在正压层和负压层之间,传感层、正压层和负压层构成手指的主要部分;根端连接装置安装在正压层的根端,作为手指的根部;柔性机械手通过品质检测模块进行水果内部近红外检测和外部形状的检测,完成检测后将成熟的水果通过柔性抓取模块进行采摘。本发明能够实现对水果内部品质的近红外光谱主动检测和水果的柔性抓取,同时结合传感层的传感器,能够得到水果的外形尺寸。本发明结构简单,操作便捷,减少了水果采摘时的损伤,同时又能够实现水果的无损原位检测。

标签:
无损检测
浙江 - 杭州 来源:中冶有色网 2023-03-19
曲面胶厚检测装置及曲面胶厚逐点检测方法

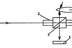
本发明公开了一种曲面胶厚检测装置及曲面胶厚逐点检测方法。该曲面胶厚检测装置包括激光发射器、导轨、分光棱镜、第一光功率计、第二光功率计和透镜,分光棱镜设置于导轨上,激光发射器发出的光线照射在分光棱镜上,经过分光棱镜后的透射光线照射在第一光功率计上,经过分光棱镜后的反射光线照射在透镜上,经过透镜的光线沿被检样品的胶层曲面球心方向入射,光线在被检胶层曲面反射后沿入射光路返回,依次经过透镜和分光棱镜后照射在第二光功率计上。本发明可实现无损地对曲面基底上的光刻胶厚度及分布进行逐点测量。

标签:
无损检测
浙江 - 杭州 来源:中冶有色网 2023-03-19
曲面胶厚全场检测装置及其检测方法

本发明公开了一种曲面胶厚全场检测装置及其检测方法。该检测装置包括可调谐激光器、透镜、分光棱镜、透镜和光电探测面阵CCD,可调谐激光器的出射光线经过透镜后经过分光棱镜反射向透镜,光线经过透镜后在被检表面反射,在被检表面反射后的光线沿原光路返回,依次经过透镜和分光棱镜,照射在光电探测面阵CCD上。根据光电探测面阵CCD5上得到的反射光能量比变化值计算得出胶层厚度分布;依据测量原理求出胶层反射比,从而计算得到胶层厚度分布。本发明可无损地测得曲面基底的光刻胶全场厚度分布,适用于用光刻方法加工曲面基底微结构时的胶厚检测,也适用于其它曲面基底的膜厚测量。

标签:
无损检测
浙江 - 杭州 来源:中冶有色网 2023-03-19
灌浆套筒灌浆密实性能检测装置及其检测方法

本发明公开了一种灌浆套筒灌浆密实性能检测装置,包括以下配件:密封组件、加压装置、压力容器、压力指示表、第一阀门和第二阀门,该检测装置可以快速、便捷、定量地检测出灌浆套筒内灌浆料的饱满度,以此判断灌浆料密实性能;另,本发明还公开了一种灌浆套筒灌浆密实性能检测方法,该种方法操作简易,可准确、快速检测复杂结构的灌浆套筒灌浆料的饱满度,且对原结构无损坏、无影响。

标签:
无损检测
浙江 - 宁波 来源:中冶有色网 2023-03-19
液压千斤顶气密性检测装置和检测方法

本发明涉及无损检测领域,具体公开了一种液压千斤顶气密性检测装置和检测方法。其中的液压千斤顶气密性检测装置包括机架和位于机架上方的工作台,所述的机架和工作台之间设有若干导向杆;还包括与导向杆滑动连接的升降台,所述的工作台上设有驱动升降台沿导向杆滑动的第一驱动装置;所述升降台面向机架的一侧固定连接有托板,并在托板与升降台之间形成测试空间;所述升降台上设有用于压紧待测千斤顶的压紧机构;所述机架的上表面设有与托板对应的液槽,所述的液槽内设有检测液;还包括设置在机架上的加压装置。以上所述的液压千斤顶气密性检测装置实现了更便捷准确的对千斤顶焊缝的质量进行检测。

标签:
无损检测
浙江 - 嘉兴 来源:中冶有色网 2023-03-19
带检测管的灌浆套筒及其灌浆饱满度检测与补浆方法

本发明公开了一种带检测管的灌浆套筒及其灌浆饱满度检测与补浆方法,该灌浆套筒包括若干检测管,所述检测管包括纵向检测管和横向检测管;所述纵向检测管与筒体长度相同,并被纵向设置在筒体外壁上且与所述筒体顶端和底端齐平,纵向检测管的侧壁开有多个第一横向开口,其中纵向检测管的顶端侧壁和底端侧壁必须开有第一横向开口;所述横向检测管与所述纵向检测管侧壁相连通,横向检测管顶端出口高于所述出浆管外侧上沿;所述筒体上设有与第一横向开口一一对应的第二横向开口,第一横向开口和第二横向开口相连通。本发明可以在现场无损检测灌浆套筒的密实程度,并在发现套筒密实程度不符合要求时,进行补浆。

标签:
无损检测
浙江 - 杭州 来源:中冶有色网 2023-03-19
激光超声激发与检测系统及其检测方法

本发明涉及一种激光超声激发与检测系统及其检测方法,属于无损探伤技术领域。该装置包括连续激光器,激光分束装置,光电调制结构,光学干涉光路系统,光束调制光路,反光镜,信号处理电路,计算机,被检测件。利用激光分束装置组中的分光板的不同数量和不同间隔的组合实现激光的阵列激发和阵列检测。本发明系统和方法采用一个连续激光器同时实现激光超声的激发和检测,显著降低激光超声检测系统的成本;阵列激发和检测显著提高超声信号的信噪比和检测效率。

标签:
无损检测
浙江 - 杭州 来源:中冶有色网 2023-03-19
基于太赫兹成像的肉制品异物在线检测系统及检测方法

本发明涉及太赫兹检测领域。目的是提供一种基于太赫兹波谱成像技术的肉制品异物在线检测系统及其用于肉制品异物检测的方法,能够对肉制品这类成分复杂食品基质中混入的金属异物和非金属异物进行检测,具有适用范围广、检测精度高、安全快速无损的特点。技术方案是:一种基于太赫兹波谱成像技术的肉制品异物在线检测系统,其特征在于:该系统包括依照被检物运动方向依次排列的可见光成像单元与太赫兹波谱成像单元,还包括对被检物的运动以及可见光成像单元与太赫兹波谱成像单元进行控制的运动控制单元;所述可见光成像单元包括视觉暗箱、LED灯带、相机以及视觉图像处理装置,其中LED灯带均布在视觉暗箱四周内壁上,相机固定于视觉暗箱顶部。

标签:
无损检测
浙江 - 杭州 来源:中冶有色网 2023-03-19
平整度检测装置及检测方法

本发明涉及一种平整度检测装置及检测方法,所述平整度检测装置,包括检测架,所述检测架上端设有使被测物品纵向移动的输送装置,输送装置上方设有若干探头以及分别与探头连接并且可使各探头横向往复移动的传动机构构成。优点:本发明具有由定点取点改进成移动式取点,可以在物体同一方向的表面取更多的点,组成的模拟平整度连续曲线,能更精确更真实反映物体的表面平整度;可以不停机检测,通过采集卡采集数据速度快,满足生产要求;非接触测量,对产品无损伤。

标签:
无损检测
浙江 - 杭州 来源:中冶有色网 2023-03-19
基于机器视觉的U型粉管的检测方法及其检测系统

本发明公开了一种基于机器视觉的U型粉管的检测方法,其通过图像采集、ROI提取、纹理特征提取、Chi-square距离计算,最终判定粉管涂粉质量;故利用关键点定位与滑动窗口检测能有效检出产品中的瑕疵点,从而提高了产品检测效率,可以满足实际工业生产中的灯管检测要求,能够实现对U型节能荧光管粉管涂粉质量的高速、无损、定性检测,检测速度可达6个/秒钟。本发明还公开了一种基于上述方法的检测系统,其通过在光电传感器的配合下,利用合理放置的背光源与高速工业相机能有效采集荧光管粉管图像,能够实现U型粉管涂粉效果的实时精确测量。

标签:
无损检测
浙江 - 杭州 来源:中冶有色网 2023-03-19
基于弹性波检测的旋转主轴裂纹检测装置

本发明涉及无损检测领域,具体公开了一种基于弹性波检测的旋转主轴裂纹检测装置。该基于弹性波检测的旋转主轴裂纹检测装置包括安装板,所述的安装板上可拆连接有驱动模块、弹性波激发模块和弹性波接收模块;所述的安装板包括底板和转轴固定架;所述的弹性波激发模块包括激波器、激波杆和激波头,所述激波杆的一端与激波器连接,另一端与激波头连接;所述的激波头上设有轴套孔;所述的轴套孔内旋转活动连接有轴套;所述的轴套上轴孔。以上所述的基于弹性波检测的旋转主轴裂纹检测装置,在转轴高速转动状态下,实现了准确、持续的宽频带弹性波激发,为转轴裂纹的准确检测奠定了基础。

标签:
无损检测
浙江 - 杭州 来源:中冶有色网 2023-03-19
连杆检测系统的检测架

本实用新型公开了一种连杆检测系统的检测架,包括底板,底板的底部焊接连接有支撑脚,底板的顶部分别固定设置有检测箱、滑槽和立柱,检测箱的正面分别电性连接有显示屏和操作板,检测箱的侧面电箱连接有检测夹板,立柱的内侧分别固定设置有滑轨和照明灯,滑轨的顶部活动连接有滑块,滑槽的内侧活动连接有安装柱,检测箱的内部通过螺栓分别固定安装有风机、无损探伤仪和扫描仪,滑块的底部固定设置有探头,安装柱的底部活动连接有滚轮,安装柱的正面固定设置有连接板,连接板的顶部贯穿有摇柄,摇柄的底部固定设置有胶垫,该种连杆检测系统的检测架,通过设置的滑槽、安装柱和摇柄解决了该检测架不能够安装不同尺寸连杆的问题。

标签:
无损检测
浙江 - 台州 来源:中冶有色网 2023-03-19
同时检测滚子倒角和端面的检测装置

本发明公开了一种同时检测滚子倒角和端面的检测装置,它包括高速相机和环形光源,环形光源位于高速相机的正下方,所述环形光源正下方设有球积分光源,所述球积分光源由半球体和大环形光源组成,所述半球体上开有供滚子插入的缺口,由下到上依次排列的滚子、半球体、大环形光源、环形光源以及高速相机同轴线。这种同时检测滚子倒角和端面的检测装置,具有以下优点:解决了原始检测轴承滚子上、下端面以及倒角时存在的检测盲区,实现了对轴承滚子上、下端面以及倒角进行全方位全角度的无损检测,通过高速相机拍摄的照片很快检测存在缺陷的轴承滚子,检测效率高,不存在检测误差。

标签:
无损检测
浙江 - 杭州 来源:中冶有色网 2023-03-19
厚壁承压设备的插入式角焊缝的检测装置和检测方法

本发明公开了一种厚壁承压设备插入式管座角焊缝的检测方法和检测装置,适用于承压设备的无损检测技术领域。检测装置包括发射相控阵阵列探头、接收相控阵阵列探头、楔块组、超声检测仪和手动扫查架。基于此检测装置的检测方法可检测管座角焊缝的各类型缺陷,特别是横向裂纹等面积型缺陷。插入式管座角焊缝的检测方法,将检测装置置于接管内进行周向扫查,发射和接收双相控阵探头通过一发一收超声信号减小检测盲区,通过电子扫描技术提高信噪比,通过TOFD技术解决横向裂纹的检测难题。

标签:
无损检测
浙江 - 杭州 来源:中冶有色网 2023-03-19
钻头折损检测装置及其检测方法

本发明涉及钻头的检测,是一种钻头折损检测装置及其检测方法,该钻头折损检测装置包括电感测量头,以及与电感测量头连接并反应电感量变化的控制电路,且电感量变化对应控制电路的至少两种信号状态输出,所述感应测量头的探头与初始工作位置的钻头感应相对。检测方法为:当所述钻头无损时,所述电感测量头感应钻头的电感量不变,所述控制电路的输出信号不变,故判定钻头无损;当钻头有损时,所述电感测量头感应钻头的电感量变化,所述控制电路的输出信号改变,判定为钻头有损。本发明能有效实现对钻头折损的检测,检测方式简单,检测结果准确、可靠,适合作为各类钻头的折损检测装置使用。

标签:
无损检测
浙江 - 宁波 来源:中冶有色网 2023-03-19
新型肉类新鲜度检测装置及方法

本发明涉及一种新型肉类新鲜度检测装置及方法。解决现有技术中对肉类新鲜度检测存在主观不准确,以及存在检测设备检测过程复杂的问题。装置包括座体,在座体上设置有浮池,在浮池内漂浮有托盘,托盘通过磁力控制移动,在座体上方设置有调整支架,调整支架上设置有照射光源,座体内还设置有控制单元。控制单元通过对样品反射光谱数据进行分析,判断肉类新鲜度。本发明的优点是采用光谱检测方式,能对样品进行无损检测;装置结构合理,座体移动阻力小,不会卡壳,操作和维护方便,检测数据准确。

标签:
无损检测
浙江 - 杭州 来源:中冶有色网 2023-03-19
玻璃幕墙结构胶状态的检测装置及其检测方法

本发明提出一种玻璃幕墙结构胶状态的检测装置及其检测方法,该检测装置包括激励装置、信号采集装置和处理器,激励装置安装在待测玻璃上,用于使待测玻璃产生振动,信号采集装置采集待测玻璃的振动信号,信号采集装置将信号传递给处理器。解决了现有技术对玻璃幕墙结构胶安全性能的检测方法,只停留在观察检查,或破坏性检查等方法。观察检查无法察觉结构胶内部连接和老化情况,而破坏性检查更是破坏玻璃幕墙本身,会对玻璃幕墙造成不可挽回性破坏,危害人身和财产安全。本发明研发出一种适用于检测玻璃幕墙结构胶状态的无损检测方法,能过在无损的情况下,对玻璃幕墙结构胶进行检测。

标签:
无损检测
浙江 - 衢州 来源:中冶有色网 2023-03-19
旋转轴表面裂纹在线检测系统及检测方法

本发明涉及一种旋转轴表面裂纹在线检测系统及检测方法,所述的检测方法包括以下步骤:激光频率控制器根据轴的转速,控制激光脉冲发射的频率;将空气耦合接收探头放置在与激光超声激发源周向90度位置和轴向共线的位置,接收激光激发的周向超声波和轴向超声波;运用信号处理方法提取轴向和周向超声信号的特征值,并判断裂纹存不存在以及严重程度,当判断某一位置存在裂纹时,计算机自动存储裂纹的位置和接收的时刻,并做出轴向和周向超声信号的时间-幅值-位置的三维图形,可视化旋转轴该位置处的裂纹状况。本发明能够无损、非接触、远距离、在线检测旋转轴的裂纹状况,能够快速确定裂纹的横向、纵向形态和位置,检测精度高。

标签:
无损检测
浙江 - 杭州 来源:中冶有色网 2023-03-19
上一页 28 29 30 31 32 ... 47 下一页
共47页    到第

中冶有色为您提供最新的浙江有色金属无损检测技术理论与应用信息,涵盖发明专利、权利要求、说明书、技术领域、背景技术、实用新型内容及具体实施方式等有色技术内容。打造最具专业性的有色金属技术理论与应用平台!

全国热门有色金属设备推荐
展开更多 +
全国热门有色金属技术推荐
展开更多 +

 

江西省隆恩特环保设备有限公司
宣传

报名参会
更多+

报告下载

有色专家
更多+

中南大学
常务副校长
矿冶科技集团有限公司工程公司
副总经理
中冶沈勘秦皇岛工程技术有限公司
原矿山院院长/教授级高工
中国矿业大学
副院长/教授
中国有色金属工业协会
副会长兼秘书长
赤泥综合利用研究报告2025
推广

热门技术
更多+

推荐企业
更多+

福建省金龙稀土股份有限公司
宣传

发布

在线客服

公众号

电话

顶部
咨询电话:
010-88793500-807