青岛垚鑫智能科技有限公司
宣传

位置:中冶有色 >

有色技术频道 >

> 化学分析技术

分类:
全部
矿山技术
冶金技术
材料制备及加工技术
环境保护技术
分析检测技术
 
全部
物理检测技术
化学分析技术
力学检测技术
无损检测技术
失效分析技术
环境检测技术
地区:
全部
北京
天津
上海
重庆
河北
山西
辽宁
吉林
黑龙江
江苏
浙江
安徽
福建
江西
山东
河南
湖北
湖南
广东
海南
四川
贵州
云南
陕西
甘肃
青海
内蒙
广西
西藏
宁夏
新疆
其他
其他
展开
 
全部
广州
韶关
深圳
珠海
汕头
佛山
江门
湛江
茂名
肇庆
惠州
梅州
汕尾
河源
阳江
清远
东莞
中山
潮州
揭阳
云浮

广东广州有色金属化学分析技术理论与应用

免费发布技术信息>>
细胞培养装置及制备方法

本发明提出一种细胞培养装置,包括细胞培养皿或细胞培养板,和具有三维微纳米结构的基底,基底由具有可塑性和化学惰性的高分子材料制成;基底与细胞培养皿或细胞培养板可拆卸式键合;本发明满足研究细胞和三维微纳米结构相互作用的要求,可用于研究细胞和三维微纳米结构界面相互作用。要求包括基底具有生物惰性,基底表面三维微纳米结构多样且可控;基底可用于细胞培养,即基底可消毒,消毒过程不会影响材料物理化学性质,基底具有浸泡稳定性,在实验过程中不会溶胀或降解,基底具有生物安全性;基底可用于细胞形态学表征,基底成分不影响相关细胞检测结果,可用于细胞黏附,增殖,迁移,分化等细胞检测。本发明还提供所述细胞培养装置的制备方法,工艺简单,过程温和,成本低廉,可以实现大规模批量生产。

标签:
化学分析
广东 - 广州 来源:中冶有色网 2023-03-19
聚集诱导发光化合物及其制备方法与应用

本发明公开了聚集诱导发光化合物及其制备方法与应用,所述化合物为螺二芴的咔唑衍生物,由三苯乙烯衍生物与螺二芴母核连接构成;该结构中螺二芴基团的存在使得该化合物具有高的发光效率,具有垂直的单体形成的刚性结构,有利于改善分子光电性能,同时,咔唑基团是富电子基,对电子受体物质具有良好的检测效果。本发明还提供了上述化合物的制备方法及其应用,该化合物具有良好的电化学活性,可以通过电化学的方法聚合成膜,应用在溶液中检测硝基芳香爆炸物,荧光传感器或发光器件中,对螺二芴有机发光材料的进一步研究及开发具有重要的现实意义。

标签:
化学分析
广东 - 广州 来源:中冶有色网 2023-03-19
苯并噻唑2-乙腈类染料及其应用

本发明涉及一种苯并噻唑2?乙腈类染料,其化学结构如下式(I)所示。本发明所述的苯并噻唑2?乙腈类染料是将4?(二苯胺)苯甲醛与苯并噻唑2?乙腈?2?乙腈反应得到。本发明所述的苯并噻唑2?乙腈类染料可以用来检测氰根离子。

标签:
化学分析
广东 - 广州 来源:中冶有色网 2023-03-19
通用两电极型修饰电极单元及其制备方法和应用

本发明公开了一种通用两电极型修饰电极单元及其制备方法和应用。本发明通过光刻法制备导电电极材料基底,用聚二甲基硅氧烷基片作为贮液池,阴极和阳极分别使用电化学方法沉积惰性金属保护膜和还原氧化石墨烯进行修饰,得到的修饰电极单元。该修饰电极单元具有出色的电催化活性和稳定性,在检测过氧化氢和抗坏血酸等生物分子时具有很好的灵敏度和再现性,并可并联成电极组用于批量检测,或串联成隔离式双极电极应用于双极电化学发光等领域。

标签:
化学分析
广东 - 广州 来源:中冶有色网 2023-03-19
基于生物分子的金属有机框架材料及其制备方法与应用

本发明提供了一种基于生物分子的金属有机框架材料及其制备方法与应用,所述金属有机框架材料的通式为{(X)a[Znb(L1)cd‑O)e(L2)f]}n,其中:X为抗衡离子,L1为第一配体,所述第一配体为嘌呤或嘌呤衍生物,L2为第二配体,所述第二配体为含氨基的羧酸。本发明采用对羧酸配体的功能性化学修饰,赋予配体发荧光的性质,为后续搭建的框架创造了更多结构与功能上的可能性;通过引入第二配体嘌呤或嘌呤衍生物,可实现对环境与生物样本的友好型;本发明报道的材料在合成方法上简单易操作,在结构上呈现有规律的孔道,在功能上可实现对甲醛的特异性与灵敏性检测。

标签:
化学分析
广东 - 广州 来源:中冶有色网 2023-03-19
<Sup>18</Sup>F标记的EGFR正电子显像剂及其制备方法与应用

本发明属于药物化学与核药学技术领域,公开了18F标记的EGFR正电子显像剂及其制备方法与应用。该18F标记的EGFR正电子显像剂具有式(II)所示结构,式(II)。其示踪效果好,具有较好的特异性,能阳性识别表皮因子受体(EGFR)高表达或变异肿瘤;同时,该化合物体外稳定性好,主要经肠、胆、肾代谢,体内清除快,肌肉、骨骼、心脏、肺、肝脏等背景脏器和组织背景摄取低,可用于肿瘤PET显像剂、EGFR表达水平检测剂、EGFR抑制剂筛选剂。

标签:
化学分析
广东 - 广州 来源:中冶有色网 2023-03-19
基于炔酮中间体的共轭高分子聚合物及其制备方法与应用

本发明属于有机高分子光电材料技术领域,公开了一种基于炔酮中间体的共轭高分子聚合物及其多组分串联聚合制备方法与其应用。所述制备方法为:在Pd-Cu(I)共催化并加入缚酸剂的条件下,芳基二炔与芳基二酰氯发生偶联反应生成炔酮低聚物;然后原位加入亲核试剂,发生串联反应第二步生成具有共轭结构的聚合物;将反应完的聚合物溶液在不良溶剂中沉降并收集,干燥既得共轭高分子聚合物。本发明所述方法聚合反应条件温和,室温下即可高效进行;且聚合单体简单易得,聚合物产率高,分子量高,具有较高的立体选择性,原子经济性高,成模性较好。所得共轭高分子聚合物具有特殊的光电性能,在生物和化学荧光检测领域具有广泛运用。

标签:
化学分析
广东 - 广州 来源:中冶有色网 2023-03-19
二乙氧基硫代磷酸酯类有机磷农药半抗原及其制备方法

本发明公开了一种二乙氧基硫代磷酸酯类有机磷农药半抗原及其制备方法。所述半抗原为二乙氧基硫代磷酰氯与带羧基的苯酚衍生物或氨基酸亲核取代后的产物。本发明针对一类有机磷农药的共有结构-二乙氧基硫代磷酸酯提供了一系列半抗原,所述半抗原在分子结构、立体化学和电子分布上与含二乙氧基硫代磷酸酯共有结构有机磷农药对应体相似,在二乙氧基硫代磷酰酯氧原子上分别引入了长短不同的带有羧基的苯酚衍生物手臂,便于连接载体蛋白,本发明为抗二乙氧基硫代磷酸酯类有机磷农药抗体制备和快速检测产品开发提供了技术基础。

标签:
化学分析
广东 - 广州 来源:中冶有色网 2023-03-19
聚集诱导发光化合物及其制备方法与应用

本发明公开了一种聚集诱导发光化合物及其制备方法与应用。该化合物为芘的咔唑衍生物,芘基团的存在使得该化合物具有高的发光效率,而咔唑基团具有稳定的平面共轭刚性结构和优良的光电性能,有利于改善分子光电性能。该分子具有良好的光学性能,具有聚集诱导发光的特性,同时,咔唑基团是富电子基,对电子受体物质具有高效灵敏的检测效果。本发明的化合物具有电化学活性,可以通过电化学的方法聚合成膜得到薄膜材料,应用在TNT气氛的检测,荧光传感器或发光器件中,并且该薄膜材料具有循环使用的性能。

标签:
化学分析
广东 - 广州 来源:中冶有色网 2023-03-19
温控发光变化的金属超分子凝胶材料及其合成方法和应用

本发明公开了一种温控发光变化的金属超分子凝胶材料及其合成方法和应用。这种金属超分子材料,其结构式如通式(1)所示:式(1)中,R1为H、C(CH3)3、C9H19、CH2O(C2H4O)3CH3中的至少一种;R2为H、CH3中的至少一种;R3为C12H25、C18H37中的至少一种。同时也公开了这种金属超分子材料的合成方法。还公开了一种包括该金属超分子材料的凝胶材料,也公开了这种凝胶材料的制备方法。本发明还公开了这种的金属超分子凝胶材料的应用。本发明方法制备工艺简单,容易纯化,所得金属超分子凝胶材料具有对温度响应的特异性,随着温度的变化,表现出发光颜色的变化,适用于刺激响应温敏光变材料、化学生物检测、生物成像、防伪等领域。

标签:
化学分析
广东 - 广州 来源:中冶有色网 2023-03-19
共轭聚嘧啶类化合物及多组分串联聚合制备该化合物的方法与应用

本发明属于高分子材料的技术领域,公开了一种共轭聚嘧啶类化合物及多组分串联聚合制备该化合物的方法与应用。所述共轭聚嘧啶类化合物的结构为式Ⅰ或式Ⅱ;其中,x,y为2~200的整数,R1为相同或不同的有机基团。方法为:(1)以有机溶剂为介质,在催化剂的作用下,将二元炔基化合物进行炔基偶联反应,得到偶联反应产物;(2)将偶联反应产物、有机溶剂、盐酸胍和碳酸铯混合,反应,沉淀,静置,过滤,干燥,得到共轭聚嘧啶类化合物;反应气氛为大气氛围、氧气氛围或惰性气体氛围。本发明的工艺简单,聚合效率高;共轭聚嘧啶类化合物的热稳定性、可加工性好,同时具有特殊的光电性能,在生物和化学荧光检测领域的应用。

标签:
化学分析
广东 - 广州 来源:中冶有色网 2023-03-19
具有白藜芦醇分子印迹的自组装电极及其制备方法

本发明提供了一种具有白藜芦醇分子印迹的自组装电极,该电极由ITO玻璃、硅氧烷单分子层和厚度为0.1~1ΜM的白藜芦醇分子印迹层按顺序覆盖构成,所述的硅氧烷单分子层以Γ-(甲基丙烯酰氧)丙基三甲氧基硅烷为硅烷化试剂通过自组装方法形成;所述的白藜芦醇分子印迹层通过热引发聚合形成的具有白藜芦醇印迹空间的聚合物;所述印迹层通过聚合物中的交联剂的烯键和Γ-(甲基丙烯酰氧)丙基三甲氧基硅烷中的烯键反应形成共价键与硅氧烷单分子层连接。本发明电极对白藜芦醇具有很好的识别选择性,可用于白藜芦醇的高灵敏度和高选择性的快速电化学检测。

标签:
化学分析
广东 - 广州 来源:中冶有色网 2023-03-19
核壳结构的纳米复合材料Fe3O4@PS@Ag及其制备方法

本发明公开了一种核壳结构的纳米复合材料及其制备方法。材料以Fe3O4为核,Fe3O4核包裹有纳米聚苯乙烯层,纳米聚苯乙烯层外包裹有纳米银层。本发明的新型核壳结构的纳米复合材料Fe3O4@PS@Ag,具有优异的光学性质与磁学特性。可作为优异磁光催化剂,在单分子检测、生物诊断及治疗等方面存在应用潜力。本发明方法制备得到的核壳结构的纳米复合材料Fe3O4@PS@Ag粒径分布均匀,化学稳定性好。所选用的原料广泛易得,操作简单,易于大规模生产。

标签:
化学分析
广东 - 广州 来源:中冶有色网 2023-03-19
纳米银笼及其制备方法与应用

本发明公开了一种纳米银笼及其制备方法与应用。本发明采用AgNO3、Na2CO3和没食子酸进行常温避光反应即可获得纳米银笼,所得纳米银笼具有空心、开口的结构。本发明制备简单,通过银纳米粒子的无模板自组装即可合成具有中空超结构的银纳米材料,且制备效果好,无毒无污染,符合绿色化学理念。本发明通过调控银笼空间和开口的大小,可以匹配不同的目标物质并进行有效接触、空间限位和富集,更好地拓宽了本材料在催化、抗菌、检测等领域的应用范围。

标签:
化学分析
广东 - 广州 来源:中冶有色网 2023-03-19
金纳米粒子/三维氧化锰/聚吡咯修饰玻碳电极的制备方法及应用

本发明公开了一种金纳米粒子/三维氧化锰/聚吡咯修饰玻碳电极的制备方法以及使用该电极电化学检测苯烯莫德的方法。所述的制备方法包括在氯金酸溶液中通过循环伏安法将金纳米粒子沉积到玻碳电极表面,水热合成法合成三维氧化锰,将三维氧化锰修饰到金纳米粒子修饰的玻碳电极表面,再通过电化学聚合的方法在三维氧化锰表面电沉积上聚吡咯,得到金纳米粒子/三维氧化锰/聚吡咯修饰玻碳电极。采用微分脉冲伏安法检测苯烯莫德,线性范围宽,灵敏度高,电极可多次使用,操作方便。

标签:
化学分析
广东 - 广州 来源:中冶有色网 2023-03-19
2-(1-芘基)-苯并咪唑的制备方法及其应用

本发明公开了2-(1-芘基)-苯并咪唑的制备方法及其应用。2-(1-芘基)-苯并咪唑可以作为铁离子的荧光探针,本发明还公开了2-(1-芘基)-苯并咪唑作为铁离子探针时的循环利用的方法。2-(1-芘基)-苯并咪唑作为荧光探针化学稳定性好,对三价铁离子具有良好的选择性,而对其他常见的金属离子均无响应,灵敏度高,水溶性好,能够实现在线定性和定量检测三价铁离子;且操作简便,易回收,环保,有利于此探针的实际应用。

标签:
化学分析
广东 - 广州 来源:中冶有色网 2023-03-19
钌-硒配合物及其在制备荧光探针和抗肿瘤药物中的用途

本发明公开了一种钌-硒配合物及其合成方法和应用。本发明配合物的分子式为[Ru(phen)2p-MOPIP]2+,化学名称为二-邻菲罗啉-1,10-菲罗啉硒二唑合钌配合物,其结构如通式(I)所示。本发明钌-硒配合物可以作为识别肿瘤细胞的荧光探针,识别细胞膜上的受体,并可进入细胞质,最终富集在细胞核区域内。本发明钌-硒配合物作为荧光探针,与肿瘤细胞作用30min后,荧光强度即显著增强,随着时间的延长,其荧光强度会进一步增强,但在正常细胞中荧光微弱或没有荧光。因此本发明钌-硒配合物可以用于肿瘤细胞的检测和活体荧光成像,还可用于制备预防或治疗癌症的药物。

标签:
化学分析
广东 - 广州 来源:中冶有色网 2023-03-19
靶向线粒体G-四链体DNA的荧光探针及其制备方法和应用

本发明公开了一种靶向线粒体G‑四链体DNA的荧光探针及其制备方法和应用。所述荧光探针的结构如式(Ⅰ)所示;其中,R1为H、F、Cl、Br或I;R2为‑O(CH2)n三苯基磷,其中n为2~10中任意一个整数;R3为N‑甲基哌嗪、‑NR4R5或‑NH(CH2)mR6,其中m为1~8中任意一个整数,R4和R5各自独立地为氢、C1~8烷基或C1~8卤代烷基,R6为胺基、C1~8烷胺基或C1~8烷氧基取代胺基;A为N甲基化阴离子、卤离子、对甲苯磺酸离子或三氟甲磺酸离子。所述荧光探针可特异性地检测识别线粒体G‑四链体DNA结构,不受其他组分的干扰;同时其具有较好的化学稳定性、光稳定性、溶解性和生物兼容性,在线粒体G‑四链体DNA生物学功能研究上具有广阔的应用空间。

标签:
化学分析
广东 - 广州 来源:中冶有色网 2023-03-19
玫红色荧光碳点及其制备方法与应用

本发明公开了一种玫红色荧光碳点及其制备方法与应用。本发明以入侵杂草蟛蜞菊为碳源,采用一步水热或溶剂热法制备得到玫红色荧光碳点。本发明所制备的碳点粒径小而均一,水分散性良好,荧光性能优异,稳定性高、水溶性好、细胞毒性低、生物相容性好。反应条件温和、制备工艺简单易行,绿色经济,且具有变废为宝的特点,符合绿色化学理念。本发明所制备的玫红色荧光碳点,具有长波发射特点,表面官能团丰富,可特异性荧光响应Cu2+。本发明所制备的玫红色荧光碳点用作荧光探针,具有制备方法简单,水分散性好,荧光稳定性高,低毒,生物相容性好,在Cu2+检测中具有操作简单、灵敏度和选择性高等优点。

标签:
化学分析
广东 - 广州 来源:中冶有色网 2023-03-19
高含油率麻疯树的引种栽培方法

本发明公开了一种高含油率麻疯树的引种栽培方法,包括种子的精选、消毒处理,营养袋育苗以及移栽、定植等步骤。本发明在对原产地的种子进行优选的基础上,通过对种子进行物理和化学处理,使高含油率麻疯树优良品种种子的萌发率达97%以上;营养袋育苗技术,不仅可根据种苗数量和季节需要,有效地提供优质种苗,也可为从事麻疯树种植的农户或公司提供技术支持,也为充分利用土地资源,实现规模化种植奠定可靠的基础;同时充分考虑到立地条件对麻疯树产量形成和品质保证的影响,培育出高产、稳定、含油率高的良种,所结的果实(种籽)经检测发现,理化性质及脂肪酸组成与原产地相差不大,基本保持了原产地的优良经济性状。

标签:
化学分析
广东 - 广州 来源:中冶有色网 2023-03-19
用于虾肉样本非靶向代谢组学和非靶向脂质组学研究的样品制备方法

本发明属于分析化学技术领域,公开了一种用于虾肉样本非靶向代谢组学和非靶向脂质组学研究的样品方法,取微量冻干的虾肉样本于预冻的提取溶液中,经均质及水浴超声后,离心取得上清液用于分析。采取溶液的溶剂添加策略同时使用三种极性差异较大的溶剂形成三溶剂单相系统同时提取亲水性及亲脂性化合物,并省略了两相提取方法中必需的相分离步骤,继而不需要两相提取方法中两相的分别收集和分析的步骤,实现了亲水性及亲脂性化合物在同一提取液且在同一次仪器分析过程中进行分析。明显改善了化合物覆盖,提高了样品通量,并避免了两相提取方法中部分化合物同时分布于两相和存在于界面的技术问题,及不同分析平台数据整合的步骤。

标签:
化学分析
广东 - 广州 来源:中冶有色网 2023-03-19
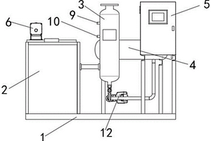
物化水处理装置
物化水处理装置 860     
 0

本实用新型公开了物化水处理装置,涉及污水处理的技术领域,为解决管路结垢的问题,包括机架,所述机架顶部固定安装有PE药桶、电子水处理仪、储水仓和控制箱,所述电子水处理仪顶部设置有进水口,所述电子水处理仪一侧设置有加药口和电导率检测口,所述电子水处理仪底部固定安装有自动排污球阀,所述PE药桶顶部固定安装有计量泵,所述计量泵的输入端与PE药桶连接,所述计量泵的输出端与加药口连接。本实用新型在电导率检测口中设置电导率测试仪,实时反馈水质情况,根据水质情况调整设备参数,通过自动排污球阀将除污后的污垢排出,通过PE药桶增加了化学加药装置,通过化学法,改变水质,增加除垢性能,通过压差控制器实现自动反洗排污功能。

标签:
化学分析
广东 - 广州 来源:中冶有色网 2023-03-19
复方血栓通制剂生物活性色谱指纹图谱的构建方法

本发明公开了一种复方血栓通制剂生物活性色谱指纹图谱的构建方法,包括如下步骤:(1)配制复方血栓通制剂供试品溶液,精密吸取10μl复方血栓通制剂供试品溶液,注入双泵双梯度高效液相色谱仪,得到复方血栓通制剂HPLC标准指纹图谱;(2)配制混合对照品溶液,精密吸取10μl复方血栓通制剂供试品溶液,注入双泵双梯度高效液相色谱仪,得到对照品HPLC指纹图谱;(3)利用对照品对照法,采用RRLC/MS/MS技术手段指证指纹图谱中21个化学成分。(4)分析21个化学成分与生物活性差异关联性,阐明生物活性成分群,建立复方血栓通制剂生物活性色谱指纹图谱。本发明通过复方血栓通制剂HPLC指纹图谱与谱效分析得到的生物活性成分群相结合,构建复方血栓通制剂生物活性色谱指纹图谱,全面监控原料药材、半成品、成品的安全性、有效性、质量均一性。

标签:
化学分析
广东 - 广州 来源:中冶有色网 2023-03-19
罗丹明荧光纳米复合粒子及其制备方法和应用

本发明属于生物医学荧光分析技术领域,公开了一种罗丹明荧光纳米复合粒子及其制备方法和应用。该荧光纳米复合粒子的制备包括以下步骤:先将罗丹明6G溶解于蒸馏水中,再用巯基化学物功能化得到罗丹明6G巯基功能化的化学物,利用硅源前驱物在高温和高压下水解与缩合,制备得到罗丹明荧光纳米复合粒子。该荧光复合物不易泄露,经过多次水洗,仍有较强的荧光特性。通过改变硅源前驱物、NH3·H2O两者的比例可以制备出不同粒径大小的二氧化硅包覆荧光素。本发明的复合荧光物其外壳二氧化硅有生物亲和性,可以用于蛋白质的标记,成为纳米生物标记的新型材料。该荧光纳米颗粒的标记方法也为生物医学和分子生物学提供了一种新型的分析方法。

标签:
化学分析
广东 - 广州 来源:中冶有色网 2023-03-19
多功能营养液
多功能营养液 795     
 0

一种多功能营养液,涉及保健品。包括大蒜洋葱生姜浓汁、荞麦浓汁及糯米浓汁,按重量计,大蒜洋葱生姜浓汁为400~500份,荞麦浓汁为100~200份,糯米浓汁为10~100份;大蒜洋葱生姜浓汁、荞麦浓汁及糯米浓汁用含臭氧的水中浸泡制得。从养发护肤的机理出发,选用人们经常食用的原料,药食兼用,保健功效非同一般:利用臭氧的强氧化性促使原料中一些化学成分分解,促使有益成分析出。试验证实,采用臭氧水浸泡而制取的养发护肤品的保健效果大大增强。本发明的用途很广,既是产品,也是原料,以本发明为原料,能配制多种保健品,如养发品、护肤品、化妆品、洗面液、沐浴露、防癌变保健品、防糖尿病保健品、防衰老保健品等。

标签:
化学分析
广东 - 广州 来源:中冶有色网 2023-03-19
镰刀菌菌株及其应用
镰刀菌菌株及其应用 1035     
 0

本发明属于生物工程技术领域,具体公开一种镰刀菌菌株及其应用。通过ITS基因序列鉴定为镰刀菌Fusarium sp.其保藏编号为CCTCC M 2016582。本发明利用失活FP‑JCCW菌体研究其对铊的吸附行为,得出最佳吸附条件:pH5.0,初始浓度100mg/L,接触时间90min,转速150r/min,生物量2.5g/L。且其吸附更符合Langmuir等温模型和二级动力学方程,为单分子层吸附,以化学吸附为主。FT‑IR、SEM、XRD表征分析显示,FP‑JCCW表面多孔隙,其对铊的吸附主要依靠细胞壁上的羟基、羰基等,且吸附前后菌体晶体结构发生变化。由此推断,失活微生物菌体FP‑JCCW吸附铊是通过静电吸附和表面络合完成。本发明提供的失活微生物FP‑JCCW可作为经济环保、可持续性的吸附剂处理重金属铊污染。

标签:
化学分析
广东 - 广州 来源:中冶有色网 2023-03-19
高温高压密闭消解装置及其消解方法

一种应用于化学分析仪器中的高温高压密闭消解装置及其消解方法,其特征在于:包括消解池、压紧固定机构、过温保护器件和温度传感器,所述压紧固定机构包括压紧旋钮、内旋钮、弹簧、压头、固定部件、导杆、上部高压电磁阀、下部高压电磁阀、固定支撑侧板以及透明防护盖,其中:所述压紧旋钮、内旋钮、弹簧、压头、固定部件、导杆及上部高压电磁阀组成上部压紧机构,所述固定支撑侧板和透明防护盖组成中部连接支撑机构,所述下部高压电磁阀构成下部消解池基座。

标签:
化学分析
广东 - 广州 来源:中冶有色网 2023-03-19
九节茶水提物的质量控制方法

九节茶水提物的质量控制方法,涉及药品化学分析方法。是一种采用高效液相色谱法建立的指纹图谱控制产品质量,标准指纹图谱应有八个以上特征指纹峰,以异嗪皮啶的色谱峰的保留时间为1计算相对相对保留时间,各特征峰相对保留时间分别为0.22±0.01、0.27±0.01、0.49±0.01、0.55±0.01、1.00(S)、1.12±0.03、1.23±0.01、1.45±0.01;供试品指纹图谱与标准指纹图谱的相似度不得小于0.90。该方法可以有效地控制产品的质量,重现性、稳定性好,操作方法简便、精密度高。

标签:
化学分析
广东 - 广州 来源:中冶有色网 2023-03-19
反式十八硼烷衍生物及其制备方法和应用

本发明提供一种反式十八硼烷衍生物及其制备方法和应用。该衍生物化学式为B18C18H34N2,分子式为B18H20(NC9H7)2,结构式为:制备方法的路线为:本发明以异喹啉和反式十八硼烷为原料合成出异喹啉取代anti‑B18H22类有机硼烷衍生物,通过对其结构、吸收特性和荧光特性进行分析,发现了其具有优异的聚集诱导发光特性。

标签:
化学分析
广东 - 广州 来源:中冶有色网 2023-03-19
来源于病毒巨噬细胞炎性蛋白的CXCR4受体拮抗活性多肽及其应用

来源于病毒巨噬细胞炎性蛋白的CXCR4受体拮抗活性多肽是生物信息学分析的基础上,得到病毒巨噬细胞炎性蛋白与CXCR4受体的结合位点,然后通过化学合成法或基因工程技术手段获得;其具有特异结合某一趋化因子受体的作用,是一个高效而特异的趋化因子受体拮抗剂。能结合趋化因子受体,却不引起淋巴细胞趋化活动以及钙离子流动,可以用于治疗HIV/艾滋病感染,恶性肿瘤的转移,重症贫血,干细胞动员,动脉粥样硬化等CXCR4趋化因子受体相关疾病以及促进干细胞的成熟与迁移等方面。

标签:
化学分析
广东 - 广州 来源:中冶有色网 2023-03-19
上一页 24 25 26 27 28 ... 78 下一页
共78页    到第

中冶有色为您提供最新的广东广州有色金属化学分析技术理论与应用信息,涵盖发明专利、权利要求、说明书、技术领域、背景技术、实用新型内容及具体实施方式等有色技术内容。打造最具专业性的有色金属技术理论与应用平台!

全国热门有色金属设备推荐
展开更多 +
全国热门有色金属技术推荐
展开更多 +

 

江西省隆恩特环保设备有限公司
宣传

报名参会
更多+

报告下载

有色专家
更多+

太原理工大学
院长/教授
中南大学
常务副校长
有研科技集团有限公司
中国工程院 院士
广东省科学院资源利用与稀土开发研究所
教授
北京科技大学
主任/教授
赤泥综合利用研究报告2025
推广

热门技术
更多+

推荐企业
更多+

福建省金龙稀土股份有限公司
宣传

发布

在线客服

公众号

电话

顶部
咨询电话:
010-88793500-807