青岛垚鑫智能科技有限公司
宣传

位置:中冶有色 >

有色技术频道 >

> 化学分析技术

分类:
全部
矿山技术
冶金技术
材料制备及加工技术
环境保护技术
分析检测技术
 
全部
物理检测技术
化学分析技术
力学检测技术
无损检测技术
失效分析技术
环境检测技术
地区:
全部
北京
天津
上海
重庆
河北
山西
辽宁
吉林
黑龙江
江苏
浙江
安徽
福建
江西
山东
河南
湖北
湖南
广东
海南
四川
贵州
云南
陕西
甘肃
青海
内蒙
广西
西藏
宁夏
新疆
其他
其他
展开
 
全部

有色金属化学分析技术理论与应用

免费发布技术信息>>
水文地质化学检验用移液装置

本实用新型公开了一种水文地质化学检验用移液装置,包括承载框、输气管、矩形块、矩形腔、矩形板、气缸、排气管、手柄、移液管、充气泵、圆形固定块、LED紫外线灯、传导口、过滤板、气囊和电磁阀。本实用新型设计合理,通过便于移液防尘结构,达到自动吸液的效果,避免了工作人员长时间工作,造成大拇指酸痛的情况,更加的省时省力,提高了移液的效率,同时防止空气中的灰尘等杂质,从传导口进入矩形腔的内腔,提高了水文地质化学检验的质量,通过便于固定杀菌结构,使气囊鼓起抵触在移液管的内侧壁上,达到便于固定的效果,且填充了移液管和传导口内的缝隙,达到密封的效果,同时可对移液管的内腔进行杀菌,达到杀菌的效果。

标签:
化学分析
山西 - 临汾 来源:中冶有色网 2023-03-19
化工化学抽样检查用手推车

本发明公开了一种化工化学抽样检查用手推车,包括车架主体,所述车架主体底部的左右两侧对称设有连接套筒,所述连接套筒的内部设有弹簧,所述连接套筒中还插接有支腿,所述支腿和弹簧的连接处还设有限位块,所述支腿的底部连接有万向轮,所述车架主体的右侧设有挂钩板,所述挂钩板套接有第一挂钩,通过刹车的设置,可以起到对车架主体随时固定的作用,通过分割槽的设置可以将不同剂量不同体积的所需要抽查检验的试剂放入试剂盘内,通过垃圾桶的设置起到回收垃圾的作用,通过第二挂钩的设置起到将一些小物品分门别类的作用,通过夹子可以方便取拿记录板,通过第一储物柜并第二储物柜的设置,起到将不同化学试剂分门别类的作用。

标签:
化学分析
广西 - 桂林 来源:中冶有色网 2023-03-19
临床化学检验用液体质控血清

本发明涉及临床化学检验用液体质控血清。具体地说,本发明涉及乙二醇和丙二醇的组合在制备液体质控血清中的用途,使用乙二醇和丙二醇的组合来稳定液体质控血清的方法,包含作为保护剂的乙二醇和丙二醇的液体质控血清,以及制备所述液体质控血清的方法。根据本发明制备的液体质控血清在-20℃下保存稳定性可达至少1年,在2~8℃下保存使用稳定性至少达2周,在室温存放下能稳定4小时并且某些质控指标优于现有技术制备的或者市售的液体质控血清。

标签:
化学分析
北京 - 北京 来源:中冶有色网 2023-03-19
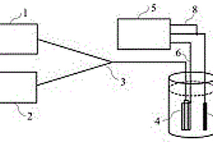
化学检验用移液装置
化学检验用移液装置 1122     
 0

本实用新型公开了一种化学检验用移液装置,工作箱内设置有取液筒,取液筒内滑动连接有活塞拉杆,活塞拉杆穿出取液筒的一端设置有推板,工作箱的内壁一端设置有伸缩杆,伸缩杆的伸缩端连接推板,取液筒的一侧设置有输液机构,取液筒的一端设置有取液管,取液管的一段设置有第一控制阀,先将第一控制阀打开,然后启动伸缩杆向上拉动推板,带动活塞拉杆在取液筒内向上滑动,将原料瓶内的液体抽取到取液筒内,然后关闭第一控制阀,打开第二控制阀,并启动伸缩杆向下推动推板,将取液筒内的液体通过滴液头滴入取样瓶内,来完成用于化学检验的移液作业,效避免移液过程中出现溶液泄漏的问题。

标签:
化学分析
陕西 - 西安 来源:中冶有色网 2023-03-19
用于燃料电池工作状态下单电极电化学测试的测试装置

本实用新型公开了一种用于燃料电池工作状态下单电极电化学测试的测试装置,包括依次装配在一起的一个端板、一个绝缘垫片、一个集电板、一个极板、两个固定垫片、另一个极板、另一个集电板、另一个绝缘垫片和另一端板,固定垫片中部形成有限位槽,两个极板中部形成有工作腔室,膜电极夹紧固定于两个极板的两个栅栏结构之间,两个极板中至少一个为单电极测试板,单电极测试板一侧形成有电极插孔,电极插孔连通工作腔室,电极插孔内表面形成有绝缘涂层;极板上还形成有连通工作腔室的腔室进口和腔室出口。本实用新型能够在燃料电池工作状态下,对燃料电池的单电极的电极电势进行测试,从而准确检测燃料电池实际工作状态下单电极的性能参数。

标签:
化学分析
江苏 - 苏州 来源:中冶有色网 2023-03-19
测定高氯化物样品的化学需氧量(COD)的方法

本发明提供了一种测定具有高浓度氯化物的样品的化学需氧量(COD)的方法。所述方法包括:获得样品,测定样品中的氯化物浓度以得到样品中的已知氯化物浓度,将一定量的样品、酸和氧化剂给料至容器中以得到分析物,加热含有分析物的容器,在分析装置中光度测定分析物的初步化学需氧量(COD),和使用氯化物校正来校正高浓度氯化物以得到化学需氧量(COD)。

标签:
化学分析
其他 - 其他 来源:中冶有色网 2023-03-19
使用传感器的定量分析方法和定量分析装置

本发明提供一种定量分析方法,该方法使用具有含有与液体试样中的被检测成分发生反应的试剂的试剂层(30)和在该试剂层(30)上施加电压用的第一和第二电极(22、23)的传感器,向试剂层(30)导入液体试样、用电化学的方法测定被检测成分的浓度。此方法包括在第一电极(22)和第二电极(23)之间施加电压,测定流经该第一和第二电极(22、23)之间的电流的电流测定工序、基于测定的电流导出参数的参数导出工序、和基于这些参数判断导入试剂层(30)中的液体试样是否不足的判断工序,多次进行包括电流测定工序、参数导出工序和判断工序的一连串工序,在该多个判断工序中全都判断为所述液体试样不足的情况下,最终确定为导入所述试剂层中的所述液体试样不足。

标签:
化学分析
其他 - 其他 来源:中冶有色网 2023-03-19
基于太赫兹的高危化学品探测的装置和方法

本发明涉及一种基于太赫兹的高危化学品探测装置,所述装置包括太赫兹波产生单元、太赫兹波收发单元、回波分析单元;所述太赫兹波产生单元用于产生太赫兹探测信号、太赫兹参考信号和太赫兹本振信号;所述太赫兹波收发单元用于将所述太赫兹探测信号以及所述太赫兹参考信号发送至待测高危化学品,并接收携带待测高危化学品信息的太赫兹回波信号;所述回波分析单元用于对所述太赫兹回波信号和所述太赫兹本振信号进行分析,得到待测高危化学品的信息。通过本申请所述装置实现了对高危化学品的远距离现场探测,从而快速、准确、安全的对高危化学品进行监测预警。

标签:
化学分析
北京 - 北京 来源:中冶有色网 2023-03-19
PCB化学锡药水的生产检验装置

本实用新型涉及检验装置附属装置的技术领域,特别是涉及一种PCB化学锡药水的生产检验装置,可以在取样时精确抽取PCB化学锡药水,降低了检验装置在进行取样时容易出现取样过多造成浪费或取样过少需要二次取样的概率,包括反应罐和电机,电机安装在反应罐顶端中部,电机的输出端设置有搅拌机构,还包括第一导管、抽筒、活塞杆、橡胶塞和第二导管,反应罐内部设置有反应腔,反应腔的前端上侧和右端下侧分别设置有进料口和出料管,出料管的输出端设置有第一阀门,反应腔的左端下侧设置有取样管,第一导管的输入端与取样管连接,反应罐的左端下侧设置有放置板。

标签:
化学分析
江西 - 吉安 来源:中冶有色网 2023-03-19
脱硫检修用化学清洗液搅拌装置

本实用新型公开了一种脱硫检修用化学清洗液搅拌装置,包括装配支架、搅拌套环、电机支架、电机和操作扶手,所述电机的输出轴固定连接有搅拌支架,所述搅拌支架的一端固定连接有螺旋搅拌叶,所述搅拌套环的一侧开设有螺纹孔,所述螺纹孔的内部螺纹连接有丝杆,所述丝杆的一端固定连接有扭杆,所述丝杆的另一端固定连接有轴承座,所述轴承座的一侧固定连接有活动夹块。该脱硫检修用化学清洗液搅拌装置,通过装配支架、电机支架、电机、操作扶手、搅拌支架和螺旋搅拌叶的设置,减少了工作人员的劳动强度,保证了药液浓度增加了搅拌效果,同时避免工作人员站在凳子上或者比较高的地方搅拌造成一定的安全隐患。

标签:
化学分析
宁夏 - 银川 来源:中冶有色网 2023-03-19
应用于化学发光测定仪的测光机构

本实用新型公开一种应用于化学发光测定仪的测光机构,包括基板、第一支架和第二支架,基板上装有驱动机构带动第一支架做水平来回运动,第二支架连接在第一支架上可沿第一支架做竖向移动,第一支架上装有第一电机,第一电机的驱动轴沿水平分布且装有凸轮,第二支架上设置有一接触块与凸轮相配合使得凸轮转动时第二支架做上下移动;第二支架上设置有光子探测器,光子探测器设有一探测管,探测管的探测端朝下设置;进一步,所述探测管的探测端套有一阶梯圆柱形套管;本实用新型检测效率较高,且结构紧凑。

标签:
化学分析
江苏 - 苏州 来源:中冶有色网 2023-03-19
便于检修的化学储能蓄电池簇机柜

本实用新型公开了一种便于检修的化学储能蓄电池簇机柜,包括机柜本体,以及固定安装于机柜本体正面内部左右两侧的导向滑杆;所述机柜本体的内部顶面左右两侧均通过轴承横向贯穿设置有驱动蜗杆;还包括:所述机柜本体正面内部左右两侧导向滑杆的外壁等距离滑动贯穿设置有导向滑块;其中,机柜本体内部顶面驱动蜗杆的左右两端外壁均通过固定连接的扭力弹簧连接于机柜本体的内壁。该便于检修的化学储能蓄电池簇机柜,通过人为拉动设置于机柜本体正面的翻折密封挡板,使得翻折密封挡板将机柜本体正面开启,同时带动侧边的侧开式检修门进行开启,便于检修人员通过大面积的开合进行检修操作。

标签:
化学分析
山东 - 济南 来源:中冶有色网 2023-03-19
临床生物化学检验用试管架

本实用新型公开了一种临床生物化学检验用试管架,包括烘干箱,烘干箱的顶部均对称固定开设有凹槽,烘干箱的表面固定设置有控制面板,放置装置包括多个放置板,多个放置装置的内腔分别活动套接有第一试管、第二试管、第三试管、第四试管和第五试管,控制面板包括定时器,定时器的上表面固定设置有数值显示屏,定时器的下表面固定设置有时间按钮,烘干箱内腔的底部固定设置有电热板,本实用新型涉及生物化学应用技术领域。该临床生物化学检验用试管架,解决了试管进行使用后需要进行清洗,清洗后在进行放置,使其自然晾干,但自然晾干的速度非常慢,造成试管内壁会存在水珠,导致急需的时候无法使用的问题。

标签:
化学分析
河南 - 漯河 来源:中冶有色网 2023-03-19
用纳米二氧化钛粉体测定水体化学需氧量的方法

一种用纳米二氧化钛粉体测定水体化学需氧量(COD)的方法,属化学分析技术领域,操作步骤包括:第一步反应液制备;第二步光催化降解;第三步测定吸光度A;第四步求出COD值;有价格低廉,无危险,无污染或低污染,测定时间较短(仅需5~15分钟),操作简单,测定准确度高的优点,特别适于用来测定水体,即水或废水的化学需氧量。

标签:
化学分析
上海 - 上海 来源:中冶有色网 2023-03-19
三联吡啶钌电化学发光测定血浆钙的方法

本发明涉及三联吡啶钌电化学发光测定血浆钙的方法,属于血浆钙测定技术领域。本发明所采用的技术方案为:先在50~100微升血浆中加入过量草酸溶液(浓度大于5毫摩尔/升),使草酸和血钙充分反应,然后通过离心机进行离心使草酸钙和血中的大分子沉至底部,取含有草酸的上层清液与pH在5至7.5之间的三联吡啶钌溶液混合,然后进行电化学发光测定以得到血浆钙的含量。该方法具有选择性好、分析速度快、需要样品少和分析仪器相对便宜等优点。

标签:
化学分析
吉林 - 长春 来源:中冶有色网 2023-03-19
铝合金型材化学成分检验用取样装置

本实用新型提供一种铝合金型材化学成分检验用取样装置,主要涉及检验用取样设备领域。一种铝合金型材化学成分检验用取样装置,包括底板,所述底板顶面一侧安装L型板,所述L型板底面通过两根左右分布的伸缩杆安装横板,所述横板底面四角均安装安装第一链轮,四个所述第一链轮之间通过链条啮合连接,每个所述第一链轮底面均安装钻杆,所述横板顶面安装电机。本实用新型的有益效果在于:本实用新型结构简单,使用方便,通过电机提供动力,在第一链轮、第二链轮与链条的配合下,能够同时带动四根钻杆转动,进而实现对型材的取样,减少了取样时间,提高了取样效率,降低了操作人员的体力劳动,给铝合金型材取样带来方便。

标签:
化学分析
山东 - 济南 来源:中冶有色网 2023-03-19
基于深度强化学习的人工智能胶囊内镜检查方法及系统

本发明公开了一种基于深度强化学习的人工智能胶囊内镜检查方法及系统,该方法包括:胶囊内镜采集胃腔环境的图像,提取图像的特征值;将图像特征值输入预先训练的深度强化学习模型中,得到可执行的最大价值动作;利用深度强化学习模型输出的最大价值动作,根据胶囊内镜的状态生成相应的控制指令,控制胶囊内镜在复杂的胃腔环境中进行自主运动;自主运动动作完成后,根据实际完成情况获取回报值;并判定胶囊内镜是否到达终点位置。本发明旨在通过训练,使胶囊内镜能在复杂的高度动态的胃腔环境中,作出正确的决策;能控制胶囊内镜在复杂的胃腔环境中进行自主运动,智能化地、高效地、不遗漏地实现对全胃的检查。

标签:
化学分析
湖北 - 武汉 来源:中冶有色网 2023-03-19
电化学高频开关电源效率的预测方法

本发明公开了一种电化学高频开关电源效率的预测方法,即根据电化学高频开关电源的特殊性,建立它的损耗模型,由此对电化学高频开关电源的各个部分进行损耗测量,最终得出整台电源的损耗。本发明针对电化学高频开关电源软开关模式和硬开关模式两种不同的工作情况,提出一个软开关因子,从而对于工作于软开关模式的电化学高频开关电源,只需计算出电化学高频开关电源硬开关工作模式下的损耗,再乘上这个软开关因子,就可得出电化学高频开关电源软开关工作模式下的损耗,避免了软开关工作模式下损耗分析和测量的复杂性,本发明适合于大功率、复杂开关电源效率预测。

标签:
化学分析
广东 - 广州 来源:中冶有色网 2023-03-19
金属有机物化学气相沉积设备中实时测量薄膜温度的方法及测量装置

金属有机物化学气相沉积设备中实时测量薄膜温度的方法及测量装置,在气相沉积工艺过程中,监测外延片的热辐射通过喷淋孔的辐射光,通过对辐射光进行滤波分离来检测两个或两个以上不同波长的薄膜辐射光能量,本发明的测量装置包括分光机构、光学探测器和数据采集系统,本发明简化掉现有在线测量采用单波长光学测温技术中首先测量薄膜表面发射率的步骤,消除了接收探测器立体接收角的变化和探测器与被测物距离变化所带来的误差,极大地提高了MOCVD在线温度测量仪器的使用范围和测量精度,通过本发明方法进行处理获得更准确的薄膜温度。

标签:
化学分析
湖北 - 武汉 来源:中冶有色网 2023-03-19
化学侦检车用滤毒通风装置

本发明公开了一种化学侦检车用滤毒通风装置,包括两个相对称设立的滤毒通风机构以及配合安装于滤毒通风机构外部的防护箱体,所述防护箱体前端固定连通有控制器。本发明提供一种化学侦检车用滤毒通风装置,通过设置有防护箱体,在实际使用时,可在舱外将滤毒通风机构以及防护箱体进行组装,组装完成后,经由第一安装板安装至舱内;通过滤毒通风机构的设置,可对舱内外的空气进行净化后置换,并将污染物质经由加热器加热后通过双向风机排出舱外,延长滤毒时间,有利于舱内人员采样的进行。

标签:
化学分析
上海 - 上海 来源:中冶有色网 2023-03-19
基于强化学习的多无人机与多无人船巡检控制系统

本发明涉及一种基于强化学习的多无人机与多无人船巡检控制系统,属于机器人控制领域。本系统包括若干无人机和若干无人船;在巡检过程中,利用无人机搭载的深度相机感知异常点,离异常点最近的无人机作为领航者将采集的数据进行信息融合,领航者发送融合后的位置信息给未感知到异常点的无人机并进行基于事件触发的有限时间编队控制。随着部分无人船搭载的激光雷达感知到异常点,领航者将再次把激光雷达和深度相机两者感知信息进行融合,从而驱动所有无人船协同趋近异常点。利用无人机或无人船配置的执行机构处理异常点。本发明采用异构多智能体组合,运用深度学习、强化学习和信息融合技术进行巡检作业,直接实现无人化水域监控、异常情况处理。

标签:
化学分析
重庆 - 重庆 来源:中冶有色网 2023-03-19
测定全血样本中特定成分的组合物和电化学测试条

一种测定全血样本中特定成分或所述特定成分发生反应后的中间产物的组合物和电化学测试条,包括氧化脱氢酶、表面活性剂和电子媒介体,所述电子媒介体选自吩噻嗪衍生物或吩噁嗪衍生物。本发明所述组合物及其测试条测定特定成分能产生明显的电流梯度且测试的背景电流较低,让检测结果更为准确。

标签:
化学分析
浙江 - 杭州 来源:中冶有色网 2023-03-19
基于机械密封的电化学地震检波器及其封装方法

本发明公开了一种基于机械密封的电化学地震检波器及其封装方法,所述电化学地震检波器包括:固定圈、外壳、弹性膜和电极敏感核心;所述电极敏感核心置于两个所述外壳之间,且所述电极敏感核心与外壳之间通过柔性密封垫圈密封;所述弹性膜置于每个所述外壳与固定圈之间,以实现固定圈与外壳之间的密封,所述外壳与所述固定圈之间通过机械方式固定。电极敏感核心采用MEMS加工技术制造出来后,将其密封在小的密封件中,再将小的密封件密封在大的外壳中,最后用螺丝加固完成整个检波器的封装。所有的硬接触面之间均放置一层软垫,螺丝加固时,软垫发生形变,实现机械密封。

标签:
化学分析
北京 - 北京 来源:中冶有色网 2023-03-19
无需参考电极的电化学电势感测

本发明涉及一种用于确定分析物(100)中带电颗粒浓度的方法,所述方法包括以下步骤:i)确定表面电势对界面温度曲线(c1、c2、c3、c4)的至少两个测量点,其中从所述第一离子敏感电介质(Fsd)和分析物(100)之间的第一界面和第二离子敏感电介质(Ssd)和分析物(100)之间的第二界面之间的温度差来获得所述界面温度,并且从其上分别设置了所述第一离子敏感电介质(Fsd)和第二离子敏感电介质(Ssd)的第一电极(Fe)和第二电极(Se)之间的电势差来获得所述表面电势;以及ii)根据所述曲线(c1、c2、c3、c4)的至少两个测量点的位置来计算所述带电颗粒浓度。仍然是电势电化学测量方法的这种方法使用了分析物中的离子敏感电介质的表面电势的温度依赖性。本发明还提出了一种电化学传感器,用于确定分析物中的带电颗粒浓度。本发明还提出了可以用于确定带电颗粒浓度的各种传感器,即EGFET和EIS电容器。

标签:
化学分析
其他 - 其他 来源:中冶有色网 2023-03-19
高尔基体蛋白73的测定试剂盒及其化学发光测定方法

本发明公开了一种高尔基体蛋白73的测定试剂盒及其化学发光测定方法,涉及生物技术领域,具体而言,该测定试剂盒包括有磁微粒试剂、GP73结合抗体以及GP73标记抗体,其将磁微粒技术与吖啶酯标记技术相结合,有效缩短了高尔基体蛋白73的检测时间,且检测的灵敏度高,特异性强,稳定性好。

标签:
化学分析
北京 - 北京 来源:中冶有色网 2023-03-19
多阵列、多特异性的电化学发光检验

提供了用于产生成图案的、多阵列、多特异性表面的材料和方法,所述表面可用电子激发而用于基于电化学发光的检验。提供了用于化学和/或物理控制导电区域及试剂沉积的材料和方法,所述化学和/或物理控制导电区域及试剂沉积用于平板显示器以及多特异性检验方法。

标签:
化学分析
其他 - 其他 来源:中冶有色网 2023-03-19
用于瓶装化学品管理的巡检系统及工作方法

一种用于瓶装化学品管理的巡检系统及工作方法,该系统由镶嵌于化学品包装的底部的射频识别电子标签、自动巡检装置、无线充电装置、电路板和上位机控制系统组成;工作方法为:无线充电发射模块对超级电容组充电,上位机控制系统发出指令,该指令传输至同步带滑台使可移动滑块移动,移动到指定位置后读取信息并传输至上位机控制系统。优越性:该系统能够实现仓库中货物的智能盘点、定位,从而达到化学品仓库实时监控的目的。

标签:
化学分析
天津 - 天津 来源:中冶有色网 2023-03-19
基于迁移学习和近红外光谱的烟叶烘烤过程化学成分在线预测方法

本发明属于烟叶烘烤过程分析技术领域,具体涉及一种基于迁移学习和近红外光谱的烟叶烘烤过程化学成分在线预测方法;包括如下步骤:获取烟叶烘烤过程中的烟叶光谱;获取所述烟叶的化学成分值,所述化学成分值包括水分、淀粉、蛋白质和总糖;将所述烟叶光谱和烟叶烘烤化学成分构建预测模型;利用迁移成分分析方法最小化训练集烟叶样本与待预测特征数据集之间的差异,采用偏最小二乘算法对迁移成分分析方法处理后的数据进行多次迭代训练烘烤过程烟叶化学成分预测模型;利用更新后的新模型对烟叶烘烤过程进行在线预测并评价预测结果;可预测烟叶烘烤过程中的关键化学成分的变化趋势,为烟叶烘烤过程的精准调节提供依据。

标签:
化学分析
云南 - 昆明 来源:中冶有色网 2023-03-19
电化学和光纤传感联用的血糖连续测量装置和方法

本发明公开了一种电化学和光纤传感联用的葡萄糖连续测量装置和方法。本测量装置主要包含电化学阻抗分析部分和光纤传感部分两部分。其中电化学阻抗分析部分依次包括阻抗分析模块(或者电化学工作站)、工作电极、对电极和参比电极等三电极;光纤传感部分主要包括光源、光探测器、Y型光纤和光纤传感探头;其中光纤传感探头表面包覆有包含导电材料和葡萄糖氧化酶的导电敏感层,导电敏感层与工作电极导通,可作为工作电极的一部分。本发明的测量装置将电化学分析技术和光纤传感技术联用起来,克服了电化学方法灵敏度低的缺点和光纤传感无法实现葡萄糖连续测量的缺点,具有较高的测量精度和可靠性。

标签:
化学分析
北京 - 北京 来源:中冶有色网 2023-03-19
自适应快速化学需氧量(COD)在线测定法

本发明涉及水质分析领域中自适应快速化学需氧量(COD)在线测定法,其内容如下:将反应试剂酸、氧化剂以及其它试剂配制成具有高氧化能力的均一稳定的混合试剂后,通过化学需氧量在线分析仪中的注射泵及定量装置将上述混合试剂与一定量的水样加入到消解池中,然后开始升温。当消解池温度升至消解反应所需的温度后,微机处理模块开始采集此消解反应过程中一定数量的连续化学需氧量测量值,并计算出该组数据的重复性误差。当重复性误差大于所需的精度要求时,微机处理模块继续采样和计算,直到所得的重复性误差小于等于所需的精度要求,则最后一次采样时间点即为消解反应终止时间点。此方法的优点是大幅度缩短了水样的测量周期以及降低了仪器的损耗。

标签:
化学分析
浙江 - 杭州 来源:中冶有色网 2023-03-19
上一页 1996 1997 1998 1999 2000 ... 2305 下一页
共2305页    到第

中冶有色为您提供最新的有色金属化学分析技术理论与应用信息,涵盖发明专利、权利要求、说明书、技术领域、背景技术、实用新型内容及具体实施方式等有色技术内容。打造最具专业性的有色金属技术理论与应用平台!

全国热门有色金属设备推荐
展开更多 +
全国热门有色金属技术推荐
展开更多 +

 

江西省隆恩特环保设备有限公司
宣传

报名参会
更多+

2025年10月15日 ~ 17日
2025年10月17日 ~ 19日
2025年10月31日 ~ 11月02日
2025年11月07日 ~ 09日

报告下载

有色专家
更多+

太原理工大学
院长/教授
中国矿业大学(北京)
院长/教授
长沙矿冶研究院
总经理
矿冶科技集团有限公司工程公司
副总经理
湖南科技大学
所长/教授
赤泥综合利用研究报告2025
推广

热门技术
更多+

推荐企业
更多+

福建省金龙稀土股份有限公司
宣传

发布

在线客服

公众号

电话

顶部
咨询电话:
010-88793500-807