青岛垚鑫智能科技有限公司
宣传

位置:中冶有色 >

有色技术频道 >

> 化学分析技术

分类:
全部
矿山技术
冶金技术
材料制备及加工技术
环境保护技术
分析检测技术
 
全部
物理检测技术
化学分析技术
力学检测技术
无损检测技术
失效分析技术
环境检测技术
地区:
全部
北京
天津
上海
重庆
河北
山西
辽宁
吉林
黑龙江
江苏
浙江
安徽
福建
江西
山东
河南
湖北
湖南
广东
海南
四川
贵州
云南
陕西
甘肃
青海
内蒙
广西
西藏
宁夏
新疆
其他
其他
展开
 
全部

有色金属化学分析技术理论与应用

免费发布技术信息>>
化学检验用多功能样品存储柜

本实用新型公开了一种化学检验用多功能样品存储柜,涉及化学检验技术领域,包括柜体、气体净化机构和防爆机构,所述柜体的前端面转动连接有两个对称分布的柜门,所述柜体的上表面开设有通槽,且通槽上连接有气体净化机构,所述柜门与柜体之间设有防爆机构,本实用新型通过防爆机构从而提升了装置的安全性能,当柜体内的化学药剂意外发生爆炸时,会对压板冲击,压板会压动楔形块,楔形块会带动插杆向外移动,从而使得插杆插设在固定板内的插槽中,达到了稳定的效果,避免柜门意外爆开,提升了装置的安全性能,且由于弹簧回弹力的存在,从而并不会导致插杆向外滑动,方便日常使用。

标签:
化学分析
山东 - 东营 来源:中冶有色网 2023-03-19
磺基异硫氢酸苯酯作化学修饰剂在多肽序列测定中的应用

本发明涉及磺基异硫氢酸苯酯作化学修饰剂的应用。将磺基异硫氢酸苯酯溶解在pH7.2-8.2缓冲液中,制备成浓度1-10mg/ml的溶液,取5-15ul于0.2mlEP管中,将载有待测样品的ZipTip柱经加样器,使修饰剂溶液保持在柱上,经50℃保温,洗脱过量的修饰剂溶液,用质谱分析洗脱液洗脱下衍生物得质谱分析。本发明应用在采用质谱源后衰变(PSD)技术进行蛋白质及多肽的序列测定前的化学修饰,修饰后肽片段的PSD图谱中只出现y+离子系列。该修饰方法可以解决常用的MS/MS以及PSD技术在进行序列测定时所得肽片段的图谱较复杂、谱图解析较困难的问题,是一种在微量蛋白质和多肽的序列测定中有应用价值的方法。

标签:
化学分析
湖南 - 长沙 来源:中冶有色网 2023-03-19
阀门铸件化学检验装置

本实用新型提供一种阀门铸件化学检验装置,包括检验箱,箱盖,支撑板,溶液腔,卡边,扣盖,流量阀和密封塞,所述检验箱的上端盖设有箱盖,在箱盖的上表面塞嵌有密封塞;所述箱盖的上表面并位于密封塞的一侧设置有支撑板,在支撑板的一侧表面安装有溶液腔,在溶液腔的上端环设有卡边,在卡边的上表面卡扣有扣盖,在溶液腔的底端旋接有一流量阀。本实用新型溶液腔,检验箱和流量阀的设置,通过固定容量装配在化学实验装置的上端,实现控制滴落,避免人工滴露产生的滴落误差,搭配控制结构实现自行滴落,避免现有结构需要人工滴落产生人力消耗的问题。

标签:
化学分析
天津 - 天津 来源:中冶有色网 2023-03-19
同时手性分离分析山茛菪碱、阿替洛尔和美托洛尔的方法

本发明提供了一种同时手性分离分析山茛菪碱、阿替洛尔和美托洛尔的方法,包括:将山茛菪碱样品、阿替洛尔样品和美托洛尔样品投入毛细管电泳电化学发光检测联用仪器的样品池中,施加进样电压,使所述样品进入所述仪器的毛细管;施加分离电压,使所述样品在所述毛细管内进行电泳分离,所述毛细管为含有羧甲基-β-环糊精的分离溶液,所述分离溶液的pH值为3.0-6.0;分离后的样品进入所述仪器的检测池,施加检测电压进行检测,所述检测池内为含有三联吡啶钌的检测溶液,所述检测溶液的pH值为6.0-9.0。与现有技术相比,本发明提供的手性分离分析方法试剂使用较少、检测成本较低、分离效率较高、检测灵敏度较高。

标签:
化学分析
吉林 - 长春 来源:中冶有色网 2023-03-19
毒品及易制毒化学品快速初检器

毒品及易制毒化学品快速初检器属化学检验用装置技术领域。包括带两个螺旋盖的透明塑料U型管,以及能放入U型管内的封装有液体试剂的带球泡玻璃管,螺旋盖设内螺纹而U型管的管口设外螺纹,每个螺旋盖中部还固设有一能插入U型管内的短柱。U型管可与加固板联为一体,加固板的边缘设有一能沿凹槽撕下的小勺,以方便使用时取少许可疑的固体化学品放入U型管内。本装置结构简单成本低廉,使用可靠、快捷、简便、实用性强。

标签:
化学分析
云南 - 昆明 来源:中冶有色网 2023-03-19
测定熔敷金属化学成分的方法

本发明公开了一种X-射线荧光光谱法测定熔敷金属化学成分的方法,包括以下步骤:1)绘制工作曲线;2)熔敷金属试样的制备;3)熔敷金属试样中元素含量的测定。本发明具有分析速度快、操作简单、测量数据准确度高的特点,该方法的应用拓宽了荧光分析的应用范围,同时可以避免由于传统化学分析产生的废弃物的排放,减少环境污染,达到了节能减排的目的,具有明显的社会效益。

标签:
化学分析
湖北 - 武汉 来源:中冶有色网 2023-03-19
利用表面增强拉曼散射原位监测化学反应的分级纳米锥阵列及其制备方法

一种利用表面增强拉曼光谱原位监测化学反应的分级纳米锥阵列及其制备方法,属于表面增强拉曼光谱材料技术领域。本发明涉及胶体微球界面组装方法、掩模刻蚀方法以及物理气相沉积方法。整个过程低耗高效,且可控性强。通过结合胶体刻蚀与物理气相沉积技术,可以制备具有大面积原位表面增强拉曼光谱研究活性位点的分级纳米锥阵列,在其表面可实现分析物的痕量检测,其所提供的强表面等离子体共振效应对催化降解有机染料分子也具有重要应用价值。进一步结合其固有的超灵敏监测性质和催化性能,该结构可实现等离子体诱导光催化降解反应的原位表面增强拉曼光谱研究。

标签:
化学分析
吉林 - 长春 来源:中冶有色网 2023-03-19
临床化学检验用粉剂药物溶解振荡装置

本发明公开了一种临床化学检验用粉剂药物溶解振荡装置,包括有底座,底座的基面固定连接有柱形壳体,柱形壳体中安装有震荡驱动机构,震荡驱动机构上安装有设置于柱形壳体上方的震荡盘,震荡驱动机构包括有固定设置于柱形壳体外壁的电机和设置于柱形壳体内部的转动杆,电机的输出端轴接有设置于柱形壳体内部的驱动盘,驱动盘的侧壁偏心滑动穿接有T型杆,T型杆的端部固定连接有活动套,两个连接板之间均固定连接有连接杆,本发明涉及临床化学检验技术领域。本发明,解决了临床化学检验过程中,为了加快试管或容器中的药物溶解速度,工作人员通常会手拿着试管晃动,或者对容器中的药物进行搅拌,操作起来都不方便,且效率很低的问题。

标签:
化学分析
安徽 - 合肥 来源:中冶有色网 2023-03-19
检验用化学助剂溶解装置

本实用新型提出了一种检验用化学助剂溶解装置,包括溶解瓶,所述溶解瓶的内部设置有主动轴和从动轴,所述主动轴和所述从动轴上分别设置有第一粉碎辊和第二粉碎辊,所述主动轴的一端贯穿所述溶解瓶,且端部设置有摇把,所述溶解瓶的顶部设置有进料道,所述溶解瓶的底部安装有旋转轴,所述旋转轴的顶部设置有第二转向齿轮,所述旋转轴上方设置有传动轴,所述传动轴上设置有第一转向齿轮,本实用新型通过第一粉碎辊和第二粉碎辊对固体化学助剂进行粉碎,并通过旋转轴和搅拌叶片对溶剂进行搅拌,提高化学助剂的溶解效率,而且本实用新型体积小,方便携带,无需电力,人工驱动搅拌,适合用于少量固体化学助剂的检验。

标签:
化学分析
广东 - 揭阳 来源:中冶有色网 2023-03-19
测定诃子中化学成分含量的方法

本申请提供了一种测定诃子中化学成分含量的方法,采用超高效液相色谱‑质谱联用,快速检测诃子中阿江榄仁酸、山楂酸、科罗索酸、诃子次酸、1,2,3,4,6‑O‑五没食子酰葡萄糖、柯里拉京、鞣花酸、没食子酸、没食子酸甲酯、没食子酸乙酯、原儿茶酸、诃子鞣酸、槲皮素、诃子林鞣酸、芦丁的含量。本申请提供的方法操作简单、灵敏度高、分析速度快、专属性强,可以用于诃子的质量控制。

标签:
化学分析
天津 - 天津 来源:中冶有色网 2023-03-19
化学检验用试管振荡装置

本实用新型公开了一种化学检验用试管振荡装置,包括底板和振荡装置,所述底板的顶端右侧焊接有支撑柱,且支撑柱的顶端外壁衔接有顶板,所述支撑柱的右侧外壁安置有储水箱,且储水箱的顶端中部开设有进水口,所述储水箱的内壁粘接有吸附块,所述顶板的顶端中部安装有传动机构,所述底板的内壁设置有减震装置,所述振荡装置位于底板的顶端中部。该化学检验用试管振荡装置通过机箱的设置,可以将推板进行推动,同时可以使驱动杆达到旋转的目的,当推板将驱动杆下降至试管内部时,停止升降,同时驱动杆转动使得毛刷顺时针进行旋转对试管内壁进行刷洗,防止因试管内壁化学药物残留影响下次使用,节约了人工清洗的时间。

标签:
化学分析
黑龙江 - 佳木斯 来源:中冶有色网 2023-03-19
化学试剂生产用质检取样装置

本发明公开了一种化学试剂生产用质检取样装置,包括基座、安装座、夹持槽、托架、减速电机、转动座、支承座、滑动块、升降驱动组件、安装板、取样座、滑动槽、取样部、活塞,升降驱动组件驱动滑动块向下移动,进而使取样部伸入其中一个储装化学试剂的试管内,同时活塞由竖直安装在安装板上的升降气缸驱动其竖直移动,使活塞在滑动槽内竖直滑动,进而将试管内的化学试剂吸入滑动槽内。本发明通过升降驱动组件驱动滑动块下移,使取样部伸入试管内,再由升降气缸驱动活塞上移,进而使化学试剂被抽入取样座的滑动槽内,在此过程中,无需人力方式进行操作,因此至少一定程度上降低了劳动强度,提升工作效率。

标签:
化学分析
湖南 - 衡阳 来源:中冶有色网 2023-03-19
薄层印章法检验合金的化学性质

本发明涉及一种可快速检验合金抗腐蚀性能和化学成分含量多寡的方法。该方法的步骤有:在合金表面铺上一层可吸水的薄层,在薄层上滴加或喷洒电解质溶液,用可导电的印章盖住薄层,以合金为正极,印章为负极,通电一定的时间,翻开薄层,通过观察薄层上金属离子的本色或金属离子与指示剂螯合后的颜色,判断合金的抗腐蚀性能及合金之间化学成份的多寡。

标签:
化学分析
湖北 - 武汉 来源:中冶有色网 2023-03-19
利用激光力细胞学的改进生物物理和生物化学细胞监测和定量

本发明针对进行生物物理和生物化学细胞监测和定量的智能算法、方法、计算机实施方法,本发明通过使用基于流体力和光学力的测量,实现改进感染力试验的增强性能和客观分析,改进感染力试验包括中和试验和外源因子检测。

标签:
化学分析
其他 - 其他 来源:中冶有色网 2023-03-19
便于抽检的化学实验室试剂混合设备

本实用新型涉及实验室设备技术领域,且公开了一种便于抽检的化学实验室试剂混合设备,包括支座,所述支座的内部活动安装有升降机构,所述支座的内部活动安装有一端与升降机构传动连接的横板,所述横板的内部活动安装有中空板,所述中空板的顶部活动安装有一端与支座固定安装的集气管,所述横板的顶部固定安装有一端与中空板传动连接的驱动机构,所述中空板的底部固定安装有连接板。该便于抽检的化学实验室试剂混合设备,解决了传统的便于抽检的化学实验室试剂混合设备在使用时,人工混合试剂较为费时费力且效率不高,而试剂混合过程中产生的废气容易对人员的身体造成伤害,防护性能不高,实用性不强的问题。

标签:
化学分析
湖北 - 武汉 来源:中冶有色网 2023-03-19
用于检验物体绝缘性的电化学装置

本实用新型公开了一种用于检验物体绝缘性的电化学装置,包括底板与锥形溶液罐,所述底板的上端一侧固定安装有检验箱,所述检验箱的前端外表面固定安装有显示表,且检验箱前端外表面显示表的下方固定安装有检验指示灯,所述检验箱的一端外表面设置有检修门,且检验箱一端外表面检修门的下方固定安装有外置连接管,所述锥形溶液罐的前端外表面活动安装有卡箍。本实用新型所述的一种用于检验物体绝缘性的电化学装置,设有锥形溶液罐、称重台和导电端子,能够便于在后期将溶液快速的排放和更换,并能将检验物体的重量计算出来,以便更加精准的检验物体的绝缘性能,且还能够增强物体的导电性,提高检验效率,带来更好的使用前景。

标签:
化学分析
山东 - 东营 来源:中冶有色网 2023-03-19
用于燃料电池工作状态下单电极电化学测试的测试板

本发明公开了一种用于燃料电池工作状态下单电极电化学测试的测试板,测试板的正面中部形成有燃料腔室,燃料腔室的开口上形成有栅栏结构,测试板的一侧形成用于插置参比电极的电极插孔,电极插孔连通燃料腔室,电极插孔内表面形成有绝缘涂层;测试板上还形成有燃料进口和燃料出口,燃料进口及燃料出口连通燃料腔室。本发明测试板能够用于在燃料电池工作状态下,对燃料电池的单电极的电极电势进行测试,以准确检测燃料电池实际工作状态下单电极的性能参数。

标签:
化学分析
江苏 - 苏州 来源:中冶有色网 2023-03-19
2-酮基-L-古龙酸含量的分析方法

一种2-酮基-L-古龙酸含量的分析方法,其特征在于酸性溶液中2-酮基-L-古龙酸与金属弱氧化剂发生氧化还原反应,过量的金属弱氧化剂将碘负离子氧化成碘,用硫代硫酸盐标准溶液滴定溶液中生成的碘,根据反应的化学计量数比例求出样品中古龙酸的实际质量,进而测得古龙酸在样品中的百分含量。本发明的优越性在于:1)解决了当前技术中存在的通过测定2-酮基-L-古龙酸转化成维生素C的数量来得到2-酮基-L-古龙酸的含量,数据重现性差的问题;2)克服了HPLC的操作繁琐、条件苛刻、劳动强度大、分析时间长等缺点;3)具有测试精确、误差小、操作简单、原料价廉等优点,可用于工业化生产中半成品或成品的检测。

标签:
化学分析
天津 - 天津 来源:中冶有色网 2023-03-19
化学检验用移液管
化学检验用移液管 1002     
 0

本实用新型公开了化学检验用移液管,包括管体、球阀和针头,所述管体的下端安装有球阀,且球阀的下端设置有针头,并且针头通过球阀与管体相互连接,所述管体的内侧设置有密封塞,且密封塞的上方安装有竖杆,并且竖杆位于管体的内侧,所述竖杆的外侧安装有驱动杆,所述竖槽开设于管体的管壁内部,且驱动杆通过竖槽与管体相互连接,所述驱动杆上安装有推杆,且推杆位于调节槽的内侧,所述调节槽开设于管体的表面,且管体的表面设置有刻度。该化学检验用移液管,方便精确控制化学液体的吸取量,避免产生液体取用不精确的现象,同时,只需通过推动推杆对化学液体进行吸取,避免需要进行反复按压,提升了液体进行转移的便捷性。

标签:
化学分析
青海 - 海西蒙古族藏族自治州 来源:中冶有色网 2023-03-19
存储器、危险化学品事故案例检索方法、装置及设备

本发明公开了存储器、危险化学品事故案例检索方法、装置及设备,其中所述方法包括步骤:在构建危险化学品事故案例库时,将危险化学品事故案例的文本文件设置为至少包括有事故原因的多个内容板块;事故原因的描述内容包含事故类型描述、致灾要素描述和受灾对象描述;对将初始目标文本进行分词处理并将其转换为标准目标文本;转换为标准目标文本包括替换化学品英文名称和/或设备名称重组及识别;通过引入针对性的影响因子并综合计算候选关键词权重,实现对标准目标文本特征关键词的有效提取。本发明减少了用于提取特征关键词的目标文本的文本长度,因此降低了候选关键词的维度以及无关候选关键词的引入,从而提高了危险化学品事故案例的特征关键词提取计算效率和精确性。

标签:
化学分析
北京 - 北京 来源:中冶有色网 2023-03-19
电化学电势感测
电化学电势感测 746     
 0

本发明涉及一种用于确定分析物(100)中带电颗粒浓度的方法,所述方法包括以下步骤:i)确定表面电势对界面温度曲线(c1、c2、c3、c4)的至少两个测量点,其中将所述界面温度定义为测量电极和分析物(100)之间界面的温度,其中在所述界面处限定所述表面电势;以及i?i)根据所述曲线(c1、c2、c3、c4)的至少两个测量点的位置来计算所述带电颗粒浓度。仍然是电势电化学测量方法的这种方法使用了测量电极的表面电势的温度依赖性。本发明还提出了一种电化学传感器和电化学传感器系统,用于确定分析物中的带电颗粒浓度。本发明还涉及可以用于确定带电颗粒浓度的各种传感器,即EGFET和EIS电容器。

标签:
化学分析
其他 - 其他 来源:中冶有色网 2023-03-19
多功能检验型化学实验台

多功能检验型化学实验台,属于化学实验用具技术领域。本实用新型的技术方案是:包括操作试验台,在操作试验台前侧设置有密封储存柜,密封储存柜前侧设置有密闭玻璃窗,密闭玻璃窗后侧设置有器皿存放架,器皿存放架上侧设置有实验烧杯,操作试验台右侧设置有电源线,电源线下侧设置有三线插头,操作试验台左侧设置有实验冲洗池,实验冲洗池后侧设置有清洁器固定架,清洁器固定架前侧设置有冲洗清洁器,冲洗清洁器前侧设置有旋转清洁开关。本实用新型结构简单,使用方便,在对化学实验器皿进行气密检查时,科学有效,操作准确,保障了化学实验顺利进行。

标签:
化学分析
山东 - 临沂 来源:中冶有色网 2023-03-19
检验化学品船甲板单元模块F型集管制作精度的方法

本发明公开了一种检验化学品船甲板单元模块F型集管制作精度的方法,属于船舶建造技术领域,该方法通过在钢制水平平台上绘制格子基准线,并在格子内开孔,按照F型集管标准尺寸在钢制平台内绘制基准线,选取F型集管一号法兰面基准线为绝对基准线,将F型集管按线装配到钢制水平平台上,待F型集管固定在平台后,不锈钢三角尺量取待检验的F型集管需要检验的尺寸数据再与F型集管标准尺寸进行对比,还涉及到一种检验化学品船甲板单元模块F型集管制作精度装置。本发明的方法和装置能提高现场F型集管制作精度,减少返修,提高工作效率。同时也便于现场工人开展自检工作,提高一次交验合格率,具有较强的实用性。

标签:
化学分析
上海 - 上海 来源:中冶有色网 2023-03-19
用于开关柜局部放电实时监测的电化学氧传感器

本实用新型涉及一种用于开关柜局部放电实时监测的电化学氧传感器,其技术特点是:包括可充电锌空气电池、可调恒压源及警报灯,所述的可调恒压源、可充电锌空气电池及警报灯串联在一起组成氧传感器回路,在该氧传感器回路上串联一电流运放单元用于采集氧传感器输出的放电电流If,该可调恒压源的控制端与外部控制信号相连接。本实用新型设计合理,其能够自动检测开关柜局放电过程中氧气浓度的变化并将变化信息转化为放电电流,并通过外部监控设备对放电电流进行进行分析得出有无放电、放电是否严重以及放电点离传感器的距离等结果,避免了电磁波或超声波存在的抗干扰能力差等问题,具有抗干扰能力强、快速准确、性能稳定等特点。

标签:
化学分析
北京 - 北京 来源:中冶有色网 2023-03-19
生物化学检验器皿消毒装置

本实用新型公开了一种生物化学检验器皿消毒装置,包括两对结构相同的承载杆,两对所述承载杆上安装有消毒结构;所述消毒结构,其包括:消毒槽、筛网板、铰链、上盖、一对结构相同的紫外线杀菌灯、两对结构相同的安装杆、两对结构相同的套筒、一对结构相同的电动推杆、一对结构相同的滑条、接水槽、暖风机以及按钮开关;本实用新型涉及生物化学检验技术领域,该生物化学检验器皿消毒装置结构合理,使用方便,具有干燥和消毒功能,且通过暖风机将清洗后残余在器皿上的积水蒸发并吹出,多余的积水流到接水槽内,便于清理。

标签:
化学分析
内蒙 - 呼伦贝尔 来源:中冶有色网 2023-03-19
中药化学药品检验用蒸馏装置

本发明公开了一种中药化学药品检验用蒸馏装置,包括蒸馏箱,所述蒸馏箱的顶部固定安装有固定框,固定框内活动安装有升降板,升降板的顶部固定安装有双轴步进电机,双轴步进电机的下输出轴转动贯穿至升降板的下方并固定连接有活动杆,且活动杆的底端活动贯穿至蒸馏箱内。本发明提供的一种中药化学药品检验用蒸馏装置,在蒸馏过程可以快速的对蒸馏箱内的化学药品与水进行充分混合,且只需要一个双轴步进电机的工作,即可实现搅拌杆的旋转搅拌、以及搅拌杆的上下移动混合和弹性振动叶片的上下振动混合,最终能够大大促进药品与水之间的流动性,有利于加快混合的速度,减少了搅拌时长,大大提高了整体的工作效率。

标签:
化学分析
山东 - 威海 来源:中冶有色网 2023-03-19
阴道分泌物的形态学与干化学一体检验装置

本实用新型涉及形态学与干化学检验设备,特别涉及一种阴道分泌物的形态学与干化学一体检验装置,其包括有显微镜、开关电源、固态继电器、电磁阀、步进驱动器、底板、中间继电器、柱塞泵、可编程逻辑控制器、滑块遮挡板、数字摄像头、加热片、放大器、直线导轨、摄像头支架;本实用新型提高了形态学与干化学检验的自动化程度,实现了阴道分泌物的形态学与干化学一体式检验、出单,极大地提高了检验效率。

标签:
化学分析
山东 - 济南 来源:中冶有色网 2023-03-19
汞元素形态分析装置及其分析方法

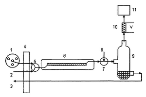
本发明是一种分析化学领域中使用的汞元素形态分析仪器及其分析方法,包括进样部件、介质选择进入控制部件、光诱导蒸汽发生器、气液分离器和检测器;所述进样部件和介质选择进入控制部件与所述光诱导蒸汽发生器一端连接,所述光诱导蒸汽发生器的另一端和气液分离器连接,经过气液分离器后的气体输入检测器11进行检测。本发明的有益效果是采用顺序注射-光诱导-选择性汞蒸气发生进样系统,使汞元素的不同形态选择性发生,实现了不同形态汞的有效分离;同时检测器设计采取原子化器(吸收池)、荧光激发、荧光检测一体化设计,增大了荧光检测面积、缩短了检测器和原子化器之间的距离,提高了测定灵敏度。

标签:
化学分析
北京 - 北京 来源:中冶有色网 2023-03-19
化学检验室用试管振荡装置

本实用新型涉及化学检验设备技术领域,且公开了一种化学检验室用试管振荡装置,包括箱体,所述箱体内腔的底部固定安装有底板,所述底板的中部固定套装有电机,所述电机输出轴的一端贯穿并延伸至底板的上方且固定套接有传动轴,所述传动轴的外表面固定套装有固定盘,所述固定盘的外沿固定安装有支板,所述支板的数量为四个。通过拨杆沿滑槽向套筒的内部滑动,带动推杆向内挤压压缩弹簧,利用压缩弹簧发生弹性形变而产生的反向作用力,实现推杆的弹性收放,便于套块与推杆的套接,从而对试管放置架进行安装和拆卸,有利于提高该装置的清洁便捷性,避免化学药剂遭到遗留药剂的污染,从而提高检验结果的准确性。

标签:
化学分析
安徽 - 蚌埠 来源:中冶有色网 2023-03-19
用于化学综合检验的工作台装置

本实用新型公开了一种用于化学综合检验的工作台装置,涉及化学设备技术领域。包括工作台,工作台的上表面开设有放置槽,放置槽的数量为两个,两个放置槽内壁的两侧面均固定镶嵌有第一轴承,第一轴承的内表面固定连接有螺纹杆,螺纹杆的表面螺纹连接有活动块,且活动块活动连接在放置槽的内部。该用于化学综合检验的工作台装置,通过设置螺纹杆、转杆、第一锥齿轮和第二锥齿轮,在检验的过程中需要对化学检验工具进行夹持时,旋转旋钮带动转杆和第一锥齿轮转动,第一锥齿轮带动第二锥齿轮和螺纹杆转动,从而带动活动块向左或者向右移动根据检验工具的规格来调整夹板的位置,从而便于操作人员的工作。

标签:
化学分析
湖南 - 衡阳 来源:中冶有色网 2023-03-19
上一页 1997 1998 1999 2000 2001 ... 2305 下一页
共2305页    到第

中冶有色为您提供最新的有色金属化学分析技术理论与应用信息,涵盖发明专利、权利要求、说明书、技术领域、背景技术、实用新型内容及具体实施方式等有色技术内容。打造最具专业性的有色金属技术理论与应用平台!

全国热门有色金属设备推荐
展开更多 +
全国热门有色金属技术推荐
展开更多 +

 

江西省隆恩特环保设备有限公司
宣传

报名参会
更多+

报告下载

有色专家
更多+

南方科技大学
外籍院士
江西理工大学
教授
西安建筑科技大学
院长/教授
中南大学、中国工程院
院士
南京理工大学、中国科学院
院士
赤泥综合利用研究报告2025
推广

热门技术
更多+

推荐企业
更多+

福建省金龙稀土股份有限公司
宣传

发布

在线客服

公众号

电话

顶部
咨询电话:
010-88793500-807