青岛垚鑫智能科技有限公司
宣传

位置:中冶有色 >

有色技术频道 >

> 化学分析技术

分类:
全部
矿山技术
冶金技术
材料制备及加工技术
环境保护技术
分析检测技术
 
全部
物理检测技术
化学分析技术
力学检测技术
无损检测技术
失效分析技术
环境检测技术
地区:
全部
北京
天津
上海
重庆
河北
山西
辽宁
吉林
黑龙江
江苏
浙江
安徽
福建
江西
山东
河南
湖北
湖南
广东
海南
四川
贵州
云南
陕西
甘肃
青海
内蒙
广西
西藏
宁夏
新疆
其他
其他
展开
 
全部

有色金属化学分析技术理论与应用

免费发布技术信息>>
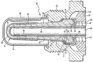
带有自由电位式探测元件的电化学测量传感器及其制造方法

一种由化学测量传感器(10),用于测量废气中的氧含量,尤其是测量燃气发动机中废气的氧含量,它具有一个自由电位式探测元件(14)。该探测元件具有一个传导氧离子的固态电解质体(23),其形状为一端封闭的管,它具有一个设在外表面的同时带有沿外表面延伸的连接一侧的导带(27)的测量电极(25)并通过一个密封环(20)安装在金属壳体(11)内。探测元件(14)至少在密封环(20)区段内具有一绝缘层(21),它至少向壳体方向覆盖导带。绝缘层(21)由非金属晶体料和玻璃形成料的混合料组成。绝缘层(21)在制备时要在玻璃形成料的熔点以上进行热处理,其绝缘层(21)形成一由非金属晶体相填充的搪瓷。

标签:
化学分析
其他 - 其他 来源:中冶有色网 2023-03-19
亚化学计量UO<sub>2-x</sub>燃料中铀含量的测量方法

本发明属于核燃料分析技术领域,涉及一种亚化学计量UO2‑x燃料中铀含量的测量方法。所述的测量方法包括如下步骤:(1)对所述的亚化学计量UO2‑x燃料进行破碎过筛与干燥处理;(2)对破碎过筛干燥后的所述的亚化学计量UO2‑x燃料进行首次脱氢处理;(3)对首次脱氢后的所述的亚化学计量UO2‑x燃料中的金属铀进行氢化处理;(4)对氢化后的所述的亚化学计量UO2‑x燃料进行二次脱氢处理,收集产生的气体,通过测量气体中氢气的含量计算金属铀的含量。利用本发明的亚化学计量UO2‑x燃料中铀含量的测量方法,能够准确的测量UO2‑x燃料中金属铀的含量,进而可更好的分析评价UO2‑x燃料的使用性能。

标签:
化学分析
北京 - 北京 来源:中冶有色网 2023-03-19
用于测量电镀溶液的化学浓度的系统和方法

本发明提供一种电化学电镀系统,包括:一个或多个用于储存电镀溶液的电镀池液池和与所述一个或多个电镀池液池流体连通的化学分析器。所述化学分析器配置来测量所述电镀溶液的化学浓度。该电镀系统还包括管道系统,所述管道系统配置来提供所述一个或多个电镀池液池和所述化学分析器之间的所述流体连通,并且将所述化学分析器与由所述一个或多个电镀池液池中的一个或多个电镀池产生的电噪音基本隔离。

标签:
化学分析
其他 - 其他 来源:中冶有色网 2023-03-19
基于强化学习的对抗性视频时刻检索方法、装置、计算机设备和存储介质

本发明提供一种基于强化学习的对抗性视频时刻检索方法、装置、计算机设备和存储介质,输入完整视频和查询语句作为强化学习代理的环境信息;提取所述环境信息的查询语句特征、全局视频特征、位置特征和局部视频特征构成当前的视频时刻片段的状态;所述强化学习代理根据所述状态作出在所述时序边界移动的动作,获取执行所述动作的奖励以及根据所述奖励输出若干个更新的时序边界和局部视频特征,所述时序边界为更新后当前的视频时刻候选片段;通过贝叶斯个性化排序方法对所述时序边界和所述查询语句进行匹配,输出匹配分值,并将所述匹配分值作为奖励返回所述强化学习代理;通过对抗学习相互增强,直到收敛,得到对应所述查询语句的视频时刻片段。

标签:
化学分析
湖南 - 长沙 来源:中冶有色网 2023-03-19
用于在体测定骨植入镁或镁合金电化学腐蚀行为的装置

本实用新型涉及用于在体测定骨植入镁或镁合金电化学腐蚀行为的装置。该装置包括体内结构和体外结构,体内结构包括内置的工作电极和铂电极、体液池、盐桥前段,体外结构包括盐桥后段、饱和氯化钾溶液、参比电极、电化学综合测试仪和分析装置。工作电极前端为植入在动物股骨中的镁或镁合金,盐桥前、后段内分别为体液和琼脂,铂电极设置在距离镁或镁合金一定距离的股骨与肌肉之间,参比电极前端插入饱和氯化钾溶液,工作电极、铂电极和参比电极的后端均连接电化学综合测试仪,电化学分析测试仪与分析装置相连。该装置突破了可降解金属材料无法在体内进行电化学腐蚀行为研究的瓶颈,为未来骨植入镁和镁合金耐腐蚀研究提供了一种准确、科学的方法。

标签:
化学分析
辽宁 - 沈阳 来源:中冶有色网 2023-03-19
高尔基体蛋白GP73测定试剂盒及化学发光测定方法

本发明公开了一种高尔基体蛋白GP73测定试剂盒及化学发光测定方法,包括盒身、存放筒,所述盒身连接有用于密封盒身的盒盖,所述存放筒连接有用于驱动存放筒旋转的驱动机构,且存放筒外侧连接有摩擦环,所述盒盖连接有用于存放筒定位的止动机构,所述止动机构包括相对设置的推拉杆、止动块,所述推拉杆用于驱动止动块的升降,所述驱动机构包括电机及控制电机开关的点动按钮,所述盒盖用于控制点动按钮开启及关闭。本发明既能实现存放筒旋转,使试剂瓶处于存储环境的同时同步进行摇匀工作,为后续的检测作业提供良好基础,缩短作业时间,同时也能实现对存放筒的定位,提高存放筒的稳定性,便于医护人员对试剂瓶拿取,操作灵活便利。

标签:
化学分析
江苏 - 镇江 来源:中冶有色网 2023-03-19
化学检验用比色管架
化学检验用比色管架 1246     
 0

本实用新型公开了一种化学检验用比色管架,涉及化学检验技术领域。包括底板,所述底板的顶部固定设置有侧板,所述侧板的一侧固定设置有支撑板,所述侧板的一侧开设有滑槽,所述滑槽的内壁活动设置有滑块,所述滑块的一侧固定设置有横板;所述横板的底部活动设置有卡合件,所述卡合件的外壁活动设置有卡槽。通过设置通孔以及橡胶圈可以限位放置比色管,使得比色管在放置过程中不会出现偏斜以及磨损问题,利用侧板开设的滑槽使得横板通过滑块进行垂直高度的升降,提升适用范围,活动架便于人们持握整体结构,搬运方便,而活动槽和泡沫板的活动设置可以让比色管架得到良好的防护缓冲能力,减少撞击伤害。

标签:
化学分析
云南 - 大理白族自治州 来源:中冶有色网 2023-03-19
危险化学品侦检模拟训练装置

本实用新型公开了一种危险化学品侦检模拟训练装置,包括定位元件、无线通信元件、控制计算机、显示面板;所述定位元件和显示面板均与无线通信元件相连,无线通信元件与控制计算机相连。本实用新型可用于危险化学品侦检专业的操作模拟训练,训练过程中人员不接触有毒及可燃性危险气体,提高了安全性,降低了成本,且具有很好的训练效果。该装置同时具有数据上传功能,可接入大型模拟演练系统中,在联机状态下作为参演单位加入事故处置的模拟演练中,达到战术训练的目的。

标签:
化学分析
河北 - 廊坊 来源:中冶有色网 2023-03-19
基于MEMS的电化学地震检波器电极敏感核心及其制造方法

本发明公开了一种基于MEMS技术的电化学地震检波器电极敏感核心及其制造方法。所述电极敏感核心由多层电极层和绝缘层交替堆叠构成,电极层和绝缘层分别是布满方形通孔或圆形通孔的矩形薄片,其均采用MEMS加工技术制造,可方便地改变电极层和绝缘层通孔的数量和大小以便改变流阻进而调整电化学地震检波器的灵敏度及噪声等特性,适应不同应用需求;基于本发明提出的制造方法能有效降低工艺难度,有利于实现电极敏感核心的批量化制造,制造的电极敏感核心具有良好的一致性。

标签:
化学分析
北京 - 北京 来源:中冶有色网 2023-03-19
用于测定化学需氧量的测定仪

本发明提供一种用于测定化学需氧量的测定仪,包括辅助进样装置、样品试剂添加装置、消解回流装置或消解器、快速冷却装置、颜色滴定装置、人机交互显示装置,其中所述装置包括消解器输出端的热交换盘管、降温导体、半导体制冷片、散热组件,热交换盘管、降温导体封闭在保温外壳内,并且热交换盘管为螺旋式热交换盘管,缠绕在圆柱形降温导体表面,其入口管与消解器输出端相连通,出口管与下游的待检样品池相连通。本发明的测定仪,既克服了制冷片直接接触反应盘管而导致接触面积有限和不能均匀散热的缺点,又增加了平面的制冷片与圆柱形降温导体的接触面积从而实现快速散热的效果,以及极大提高了反应盘管接触降温导体的降温面积和均匀散热。

标签:
化学分析
上海 - 上海 来源:中冶有色网 2023-03-19
电化学敏感元件、其制备方法、应用其的地震检波器

本发明提供了一种电化学敏感元件、其制备方法、应用其的地震检波器。该电化学敏感元件采用两层硅片分别制作电极与流道结构,使得制作电极的硅片上可以正反两面都制作出电极结构,在参数一样的情况下,电极的有效面积增大一倍,从而电化学敏感元件的灵敏度也将增大一倍。

标签:
化学分析
北京 - 北京 来源:中冶有色网 2023-03-19
纳米薄膜制备及化学状态测试系统

本实用新型公开了一种纳米薄膜制备及化学状态测试系统,系统包括制备室以及与制备室连接的分析室,制备室和分析室均为真空,且制备室的真空度小于分析室的真空度;制备室内具有氩离子枪和制备平台;分析室内具有X射线光电子能谱分析仪,X射线光电子能谱分析仪用于对制备室制备得到的薄膜材料的表面原子进行化学状态测试;系统还包括设置在制备室和分析室内的样品输送装置,样品输送装置用于将制备室制备得到的薄膜材料输送至分析室内。本方案中制备的薄膜材料不会经历空气的曝光,不需要用Ar离子枪把薄膜材料表面的氧化层蚀刻掉,从而避免薄膜材料中电子结合能的变化,因此可以提高薄膜材料的表面原子的化学状态的测试的准确度。

标签:
化学分析
广东 - 佛山 来源:中冶有色网 2023-03-19
便于定期维护的实验室检验科化学废水处理设备

本实用新型公开了一种便于定期维护的实验室检验科化学废水处理设备,包括:柜体、柜门和万向轮;所述柜体前部连接有柜门,且柜体可以对设备进行安装,所述柜体底部安装有万向轮,且万向轮可以使柜体进行移动。该便于定期维护的实验室检验科化学废水处理设备,能大量吸附水中分散的微小颗粒,金属粒子及有机大分子,然后计量泵工作可以使PAM加药箱打开,PAM加药箱打开后药剂会进入絮凝反应池的内部,药剂进入絮凝反应池内部时会使内部的杂质进行快速沉淀,进而提高污水处理的效果,使计量泵进行工作,计量泵工作时可以使碱加药箱打开对调节池添加碱,进而提升调节池内部污水的碱度,方便调节池内部污水可以精准添加酸碱剂。

标签:
化学分析
山东 - 潍坊 来源:中冶有色网 2023-03-19
甲醛、甲醇和N,N-二甲基羟胺共存时的分析方法

本发明涉及甲醛、甲醇和N,N-二甲基羟胺共存时的分析方法,属有机化学分析技术领域。本发明的分析方法采用GCX-401填充柱(φ3mm×2m)和氢火焰离子化检测器联用的气相色谱法,同时快速定性定量分析甲醛、甲醇和N,N-二甲羟胺。本发明的分析方法分析时间短,速度快,操作简易方便,分析精确度较高,可同时对共存时的甲醛、甲醇和N,N-二甲基羟胺进行快速分析。

标签:
化学分析
上海 - 上海 来源:中冶有色网 2023-03-19
水体化学需氧量快速测定装置

一种水体化学需氧量快速测定装置,属于化学分析仪器,解决现有的光催化COD测定装置采用粉末TiO2和附着于反应器壁的TiO2薄膜做为催化剂,粉末TiO2易凝聚、难分离、易失活且回收困难,而附着于反应器壁的TiO2薄膜不可再生和更换,以及紫外灯置于样品中增加样品测定所需体积的问题。本发明包括光催化反应器、加热装置、光催化反应器密封件、光催化体、搅拌装置、紫外光源和紫外可见分光光度计,光催化反应器置于加热装置上,搅拌装置带动光催化体对光催化反应器内的样品进行搅拌,紫外光源置于光催化反应器四周。本发明能够促进光催化反应的快速进行,有效解决催化剂重复利用和更换的问题,用于水体化学需氧量测定。

标签:
化学分析
黑龙江 - 哈尔滨 来源:中冶有色网 2023-03-19
具有改进灵敏度的均相化学发光测试方法

本申请公开了在疑似含有分析物的介质中测定分析物的方法。一种方法包括在一定的条件下处理疑似含有分析物的介质,以致于如果存在分析物,分析物能致使光敏剂和化学发光化合物接近。当光敏剂接近时,光敏剂产生单线态氧,活化化学发光化合物。利用单线态氧淬灭剂(SOQ)可降低或抑制单线态氧没有接近时产生的非特异性信号。随后,活化的化学发光化合物产生光,而产生的光的量与介质中分析物的含量相关。利用噪音调节剂显著提高了信噪比和测试的灵敏度。本申请也公开了组合物和试剂盒。

标签:
化学分析
其他 - 其他 来源:中冶有色网 2023-03-19
基于电化学阻抗谱的防腐层剥离测试装置

本发明属于管道防腐技术测试装置领域,公开了一种基于电化学阻抗谱法的防腐层剥离测试装置,包括:电解池组、恒电位仪、数据采集分析系统、电化学工作站、电压测量仪。电解池组盛有模拟土壤溶液,用来模拟埋地钢质管道防腐层产生剥离的实际状况。数据采集分析系统与电化学工作站相连,实时测量电化学阻抗谱,并进行数据处理和分析,对防腐层性能进行定量评价,实时监测防腐层缺陷孔处的剥离状况。本发明所述装置能够有效模拟埋地钢质管道防腐层产生剥离的实际状况,并能对阴极剥离过程进行实时监测,试验结果具有很好的重复性与再现性,操作简便,适用于各种埋地钢质管道防腐层的阴极剥离试验与测试评价。

标签:
化学分析
北京 - 北京 来源:中冶有色网 2023-03-19
化学检验用样品提取装置

本实用新型公开了一种化学检验用样品提取装置,包括支撑架以及安装在支撑架上表面的密封框,所述支撑架的内壁滑动连接有活动板,活动板的上表面固定连接有圆形密封圈,活动板的上表面搭接有样品盒,支撑架的左右两侧均插接有限位插销,密封框的右侧固定连接有安装架,安装架的左侧固定连接有若干个紫外线消毒灯。该化学检验用样品提取装置,将样品盒通过活动板置入密封框内,同时利用两个限位插销对活动板进行定位,圆形密封圈被抵紧后能够确保密封框内为密封状态,同时利用紫外线消毒灯能够为密封框内进行消毒灭菌处理,进而能够确保样品能够在无菌状态下被提取出来,不会让样品收到粉尘细菌的污染,提高了检验准确性。

标签:
化学分析
贵州 - 贵阳 来源:中冶有色网 2023-03-19
铅酸电池电化学性能测试方法

本发明属于电化学测试相关领域,其公开了一种铅酸电池电化学性能快速测试方法,所述铅酸电池电化学性能测试方法包括以下步骤:提供一个铅粉电化学性能测试装置,利用待测试铅粉作为活性物质制备工作电极;将需要测试的电极连接于电化学工作站;设置电化学工作站的参数;按程序OCV→EIS→CV50圈→OCV→EIS→CV50圈→OCV→EIS对所述测试铅粉进行电化学性能测试;对所得的测试结果进行分析,进而评定以所述测试铅粉作活性物质的铅酸电池的充放电性能。本发明的铅酸电池电化学性能测试方法的测试效率较高,可靠性好,且可进行定量测试分析。

标签:
化学分析
湖北 - 武汉 来源:中冶有色网 2023-03-19
用于测量粉末样品化学成分的测试组件

本实用新型涉及一种样品池技术领域,具体涉及一种用于测量粉末样品化学成分的测试组件。包括样品台、按压器和盖片,样品台上设有凹槽和滑槽,按压器包括按压台和按压柱,按压柱横截面与凹槽形状、大小一致,按压柱远离按压台的一侧外围设有水平刻度线,盖片设有凸台,盖片面积大于凹槽面积,凸台与滑槽尺寸相适应。样品台、按压器和盖片的相互配合,使得测试组件既能保证粉末压制的均匀性,同时进行检测时,不影响粉末样品的状态,还能起到保存样品的作用。

标签:
化学分析
山东 - 济南 来源:中冶有色网 2023-03-19
模拟燃料电池原位测试的立式电化学测量池及测试方法

本发明涉及一种模拟燃料电池原位测试的立式电化学测量池及测试方法,该立式电化学池包括电解池本体、电解池盖、夹装组件、密封组件和加压组件,电解池盖上开设测试窗口、电解池气体逸散出口和电解液添加预留口,电解池本体中设有参比电极、对电极和还原气体导管,夹装组件为两片式结构用于夹设测试样品,夹装组件置于测试窗口中,夹装组件底面设有供电解液透过并接触测试样品的槽口,密封组件上设有工作电极,密封组件设置在夹装组件上且工作电极与夹装组件顶面接触,密封组件上设有氧化气体通孔,加压组件固定在电解池盖上方,测试时加压组件向密封组件施加压紧力。与现有技术相比,本发明提供了原位测试条件、提高了测试准确性和测试效率。

标签:
化学分析
上海 - 上海 来源:中冶有色网 2023-03-19
多功能化学仪表检修工作台

本实用新型公开了一种多功能化学仪表检修工作台,具体涉及工作台技术领域,包括台体,所述台体顶部设有除尘机构,所述除尘机构包括吸头,所述吸头底端固定设有喇叭口,所述喇叭口底端固定设有滤网,所述吸头顶端固定设有吸尘管,所述吸尘管一端固定设有储尘箱,所述储尘箱顶端固定设有负压泵。本实用新型通过设置吸头将吸头与储尘箱利用吸尘管相连接,负压泵使得储尘箱产生吸力,吸力传递至吸头,将肯落入仪表中的灰尘吸走,避免其落入仪表中,而后在重新安装前,利用清洁软胶包裹零件,将灰尘吸附在清洁软胶中,而后再进行安装,以此避免了检修化学仪表时灰尘落入仪表中对仪表产生不良的影响。

标签:
化学分析
广东 - 广州 来源:中冶有色网 2023-03-19
UHPLC-MS/MS同时测定防己黄芪汤煎剂中10种化学成分含量的方法

本发明涉及一种使用UHPLC-MS/MS技术同时测定防己黄芪汤煎剂中10种化学成分含量的方法,属于中药成分分析领域。本发明所建立同时测定防己黄芪汤煎剂中10种化学成分含量的分析方法专属性强、快速、灵敏且准确可靠,在完成含量测定的同时又可以准确给出化合物质量数信息达到成分鉴别的效果,该方法可以为防己黄芪汤煎剂全面质量控制提供依据。

标签:
化学分析
江苏 - 南京 来源:中冶有色网 2023-03-19
膜在线化学清洗实时监测系统及方法

本发明公开了一种膜在线化学清洗实时监测系统,该系统包括:取样模块,与被测膜系统的出水端连接,取样模块包括盛样容器,盛样容器用于盛放样品;化学清洗模块,与被测膜系统的进水端连接,化学清洗模块用于向被测膜系统内注入化学清洗剂;监测模块,用于监测样品的有效氯信息或ORP信息或pH信息或TDS信息;分析模块,与监测模块连接,分析模块用于根据有效氯信息或ORP信息或pH信息或TDS信息计算被测膜系统的实际膜通量恢复率,并将实际膜通量恢复率与设定膜通量恢复率对比;该系统能够实时准确地监测膜在线化学清洗的清洗效果。

标签:
化学分析
北京 - 北京 来源:中冶有色网 2023-03-19
化学检验用器皿存放装置

本实用新型涉及化学检验技术领域,且公开了一种化学检验用器皿存放装置,包括存放箱、防尘盖、抽屉盒、定位板、接水盒,所述防尘盖通过合页铰接安装在存放箱的顶部,所述抽屉盒固定安装在存放箱的底部,所述定位板安装在抽屉盒的一侧,所述接水盒紧贴在存放箱的侧壁上且与定位板可拆卸连接;所述存放箱内腔的底部安装有排水板,所述存放箱的顶部开设有第一插孔、第二插孔和第三插孔。本实用新型便于对烧杯、烧瓶和量筒进行倒置存放,摆放有序,而且还能对器皿进行沥水干燥,避免水渍残留,水流经由排水板和排水孔排出到存放箱的外部,再由接水盒进行承接,通过防尘盖的设置,可以对摆放好的器皿进行遮盖防尘。

标签:
化学分析
安徽 - 合肥 来源:中冶有色网 2023-03-19
化学检验用实验工具架
化学检验用实验工具架 1071     
 0

本实用新型涉及化学检验技术领域,尤其是一种化学检验用实验工具架,主柜体背侧固定安装有对称设置的两个伸缩柜体机构,每个伸缩柜体机构包括连接板,连接板内侧面上固定连接有相互平行设置的两个侧板,每个侧板内侧末端均固定连接有一个插柱,每个插柱上均套设并固定有一个套筒,套筒均固定连接主柜体上,一个侧板上固定安装有平行于主柜体长度方向设置的导杆,导杆上套设有一个杆套,另一个侧板上可转动安装有平行于导杆设置的转轴,转轴轴体上开设有螺纹,转轴上螺纹安装有滑块,杆套与滑块之间固定安装有副柜体,两个伸缩柜体机构中的转轴均传动连接在同一个驱动机构上。本实用新型具有使用起来更加方便更可靠的优点。

标签:
化学分析
黑龙江 - 七台河 来源:中冶有色网 2023-03-19
用于化学电离质谱测量大气OH及HO<sub>2</sub>自由基的装置及方法

本发明公开了一种大气OH及HO2自由基在线测量方法,具体地说是基于高灵敏化学电离飞行时间质谱技术实现大气OH与HO2自由基实时、在线分析。包括自由基采样装置、化学电离源以及飞行时间质谱仪,自由基采样装置实现OH及HO2自由基的采样,化学电离源以及飞行时间质谱仪实现OH及HO2自由基的测量。主要测量原理为:通过适量的SO2滴定,把OH及HO2自由基全部转化为H2SO4,再用NO3离子通过化学电离方法把H2SO4电离为HSO4离子,最终利用测量得到的NO3与HSO4离子的强度,完成对OH及HO2自由基实时浓度的计算与分析。本发明所利用的仪器与方法具备高灵敏度、高稳定性、快速响应等显著优点,满足大气自由基实时、在线、动态变化等分析需求,在环境监测等领域具有广阔的应用前景。

标签:
化学分析
辽宁 - 大连 来源:中冶有色网 2023-03-19
利用容量法测量气固化学反应速率的测试装置及测试方法

一种利用容量法测量气固化学反应速率的测试装置及测试方法,属于化学反应工程领域。该测试装置共由待测气系统、真空系统、气体测量系统、气固反应系统、加热系统和数据采集系统六大部分组成。使用真空泵对中间储气罐和气固反应罐抽真空,除去残留其中的气体,关闭真空电磁阀,向中间储气罐通入指定压力的待测气体,计算气体的摩尔数,关闭待测气饿电磁阀,然后对罐内进行控温,当达到反应条件时,打开其均压电磁阀,向气固反应罐内通入反应气体,当压力平衡时,关闭均压电磁阀,通过监测气固反应罐内气体的压力随时间的变化获得化学反应的速率。本发明装置测试过程手动或者自动皆可,控温与测温的精度相对较高,操作容易,实施方便。

标签:
化学分析
北京 - 北京 来源:中冶有色网 2023-03-19
测定金属材料基体内化学成分的方法

本发明涉及一种测定金属材料基体内化学成分的方法,它不同于传统的化学分析方法,属于现代新颖的原子探针测定方法技术领域。本发明的分析测试方法采用三维原子探针和相应的计算机软件对金属材料基体化学成分作定量分析,其特点是可以一次性对金属中所有元素进行定量分析;当存在细小的析出颗粒时,可单独对基体的化学成分作出定量分析。本发明方法分析结果准确可靠,而且重复性好。

标签:
化学分析
上海 - 上海 来源:中冶有色网 2023-03-19
生物化学检验用实验工具架

本实用新型公开了一种生物化学检验用实验工具架,包括工具架主体,所述工具架主体的正面开设有放置槽,所述放置槽的内部设置有试管放置架,所述放置槽的内顶壁固定连接有限位板,所述工具架主体的顶部设置有遮挡板,所述工具架主体正面底部的一侧设置有存放箱,所述工具架主体正面靠近存放箱的一侧设置有废物箱,所述工具架主体的底部固定连接有移动底座,所述移动底座的底部开设有滑轮槽。该生物化学检验用实验工具架,通过存放箱、废物箱和滑轮的设置,利用存放箱可以放置一些体积较大的工具增加工具架的存放空间,废物箱的内部可进行干湿分离,避免长时间浸泡产生异味,底部的滑轮方便在桌面上进行移动。

标签:
化学分析
辽宁 - 大连 来源:中冶有色网 2023-03-19
上一页 1995 1996 1997 1998 1999 ... 2000 ... 2305 下一页
共2305页    到第

中冶有色为您提供最新的有色金属化学分析技术理论与应用信息,涵盖发明专利、权利要求、说明书、技术领域、背景技术、实用新型内容及具体实施方式等有色技术内容。打造最具专业性的有色金属技术理论与应用平台!

全国热门有色金属设备推荐
展开更多 +
全国热门有色金属技术推荐
展开更多 +

 

江西省隆恩特环保设备有限公司
宣传

报名参会
更多+

报告下载

有色专家
更多+

洛阳有色矿业集团有限公司
生产技术部经理
重庆大学
副院长/教授
中南大学
教授
长沙矿山研究院有限责任公司
高级工程师
长沙有色冶金设计研究院有限公司
党委书记、董事长
赤泥综合利用研究报告2025
推广

热门技术
更多+

推荐企业
更多+

福建省金龙稀土股份有限公司
宣传

发布

在线客服

公众号

电话

顶部
咨询电话:
010-88793500-807