青岛垚鑫智能科技有限公司
宣传

位置:北方有色 >

有色技术频道 >

> 复合材料技术

分类:
全部
矿山技术
冶金技术
材料制备及加工技术
环境保护技术
分析检测技术
 
全部
功能材料技术
复合材料技术
新能源材料技术
合金材料技术
加工技术
地区:
全部
北京
天津
上海
重庆
河北
山西
辽宁
吉林
黑龙江
江苏
浙江
安徽
福建
江西
山东
河南
湖北
湖南
广东
海南
四川
贵州
云南
陕西
甘肃
青海
内蒙
广西
西藏
宁夏
新疆
其他
其他
展开
 
全部
南京
无锡
徐州
常州
苏州
南通
连云港
淮安
盐城
扬州
镇江
泰州
宿迁

江苏扬州有色金属复合材料技术理论与应用

免费发布技术信息>>
具有高导热系数的聚丙烯复合材料

本发明属于材料领域,具体涉及一种具有高导热系数的聚丙烯复合材料,按照重量份数计,有以下原料制备而成:聚丙烯30~70份、导热填料30~70份、改性玻璃纤维10~30份、阻燃剂5~10份、光稳定剂0.2~0.5份、偶联剂0.1~0.2份、抗氧剂0.1~0.2份;所述的改性玻璃纤维为玻璃纤维经过多巴胺表面改性后复合氮化铝。本发明利用多巴胺对玻璃纤维表面进改性,从而附着氮化铝微粒,以此提高玻璃纤维的导热性,并将改性的玻璃纤维加入到导热聚丙烯中,在增强导热聚丙烯制品机械性能的同时,并保证导热性的要求。

标签:
复合材料
江苏 - 扬州 来源:北方有色网 2023-03-18
碳酸根离子掺杂羟基磷灰石与聚甲基丙烯酸甲酯共混纳米复合材料的制备方法

一种碳酸根离子掺杂羟基磷灰石与聚甲基丙烯酸甲酯共混纳米复合材料的方法,属于生物仿生骨材料的领域。主要通过采用化学沉积法,以硝酸钙溶液和磷酸盐溶液为反应物,加入碳酸氢钠,调节pH值后,成功制备碳酸根离子掺杂羟基磷灰石。在前期研究的基础上,采用Hakke转矩流变仪共混碳酸根离子掺杂羟基磷灰石/聚甲基丙烯酸甲酯复合骨替代材料。该发明不仅过程简单易行,反应周期不长,原料成本低,适合工业生产,而且该发明为改善康复治疗水平,提高患者生活水平和生命质量,为人类骨疾病的诊断提供准确有效的依据。

标签:
复合材料
江苏 - 扬州 来源:北方有色网 2023-03-18
海胆状硫化铋/大孔石墨烯复合材料、制备方法及其应用

本发明公开了一种海胆状硫化铋/大孔石墨烯复合材料、制备方法及其应用。采用简单的水热法,以硝酸铋作为铋源,以硫脲作为硫源,偏苯三甲酸作为粘结剂,十六烷基三甲基溴化铵作为表面活性剂,二次蒸馏水作为溶剂,制备得到所述的海胆状硫化铋/大孔石墨烯复合物。本发明操作简单,反应条件可控,所制备的硫化铋形貌均一,且成功被负载在大孔石墨烯孔中;大孔石墨烯有效缓冲硫化铋在充放电过程中的体积膨胀压力,循环充放电过程中更好的缩短锂离子和电子扩散路径,极大的改善了电池的循环性能。

标签:
复合材料
江苏 - 扬州 来源:北方有色网 2023-03-18
复合材料汽车内饰件的制作工艺

复合材料汽车内饰件的制作工艺。本发明涉及一种汽车内饰件的制作工艺。它以ABS、PVC为主料制表皮,再按表皮成型面的形状制成型模;接着将表皮置于成型模中,表皮背面朝向加工者,放置服帖;然后配粘合剂,并在表皮背面均匀涂覆一层中间粘合剂,固化,按设计要求重复涂覆粘合剂层、玻璃纤维布层,直至达设计要求;最后在20~40℃温度下,静置2~4小时,从成型模中取出,修边,打磨,制得。本发明采用少量ABS、PVC材料制成薄薄的表皮层,再在表皮层内逐层粘结玻璃纤维布,在表皮下按表皮的形状形成了“骨架”,机械性能好,后续加工工艺方便。此外,添加了针状的增强填料,使成型件的刚性、强度大大增加。

标签:
复合材料
江苏 - 扬州 来源:北方有色网 2023-03-18
碳纤维复合材料门成型方法

本发明公开了一种碳纤维复合材料门成型方法,包括以下步骤:1)门板成型;1‑1)模具准备;1‑2)原材料准备;1‑3)预成型;1‑4)固化成型;1‑5)检测;1‑6)机加工;1‑7)入库;步骤2)门框成型;步骤3)挡雪条成型;步骤4)将门板、门框、挡雪条装配完成,其中,步骤2和步骤3的过程与步骤1基本相同,区别仅为在预成型过程中,解决现有技术中中舱门质量重和不耐腐蚀的问题。

标签:
复合材料
江苏 - 扬州 来源:北方有色网 2023-03-18
基于丙烯腈共聚物基纳米碳纤维复合材料的生物传感器的制备方法

基于丙烯腈共聚物基纳米碳纤维复合材料的生物传感器的制备方法,属于生物传感器的制备技术领域,本发明通过丙烯腈共聚物电纺纤维碳化处理后制备多孔含氮纳米碳纤维,通过预氧化和碳化处理对纳米碳纤维进行改性,共聚组分在碳化时热解生成气体,在纳米碳纤维表面留下孔隙,增加了碳纤维的比表面积和孔积率,同时此种碳纤维表面由于高含量的共聚组分影响了环化反应的进行,其表面具有较高的含氮基团,使碳纤维与酶的相容性能与亲水性能增加,同时碳纤维的引入相较于传统酶固载材料具有更高的电导率,促进底物与电极表面的电子传递,致使此种生物膜电极具有更高的底物响应性能。

标签:
复合材料
江苏 - 扬州 来源:北方有色网 2023-03-18
复合材料管件
复合材料管件 969     
 0

一种复合材料管件,包括基管,基管为硬质合金管,基管内壁设有编织层,编织层外设有陶瓷层,编织层内有不锈钢铁丝编织而成,基管外壁设有耐磨层,耐磨层为铜铁皮层,耐磨层上设有保护层,保护层为防锈漆涂装而成。通过在基管内壁设有编织层,可以保护外壁不受到原料的腐蚀,保护了管件的外壁,防止原料腐蚀到外壁使得外壁出现裂痕,造成原材料的泄露,在支撑件旁设有压块,可以让支撑件的定位更加的牢固,防止定位件在抓举管件的时候出现断裂,影响了管件的正常安装。

标签:
复合材料
江苏 - 扬州 来源:北方有色网 2023-03-18
制备长纤维增强缩聚反应型热塑性复合材料的装置

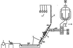
一种制备长纤维增强缩聚反应型热塑性复合材料的装置,属于一种化工设备,它包括粗纱退绕单元(1)、浸润模头单元(4)等,其特征是所述的冷却单元(5)由水平布置的冷却水槽(503)和斜置的喷淋冷却器(501)组成,冷却水槽(503)的一端与牵引单元(6)相对,另一端与喷淋冷却器(501)的一端相对,喷淋冷却器(501)与同角度斜置的浸润模头单元(4)的出口端相对,浸润模头单元(4)的出口端与同角度斜置的浸润腔(408)的出口端相通,浸润腔(408)的进口端与纤维预热单元(2)的出口端相对,浸润腔(408)同时旁接有水平布置的熔体承接口(402),该熔体承接口(402)与熔体供给单元(3)的输出端相通,纤维预热单元(2)的进口端与粗纱退绕单元(1)的出口端相对。具有结构简单,在线伸头使用方便的优点。

标签:
复合材料
江苏 - 扬州 来源:北方有色网 2023-03-18
用于钠离子电池的普鲁士白复合材料及其制备方法

本发明涉及钠离子电池领域,用于解决现有的普鲁士白晶体在生长过程中通常伴随着大量的晶格缺陷和结晶水,晶格中的缺陷和水不利于其在高温环境下的稳定性,而且此类材料的导电性较差,这些问题导致其电化学性能相对较差,限制了普鲁士白正极材料的发展的问题,具体涉及一种用于钠离子电池的普鲁士白复合材料及其制备方法;该普鲁士白是在水溶液中进行球磨法合成,球磨过程中,结晶水可以通过球磨提供的热能和机械能从含水的前驱体中缓慢释放出来,提升普鲁士白的结晶度,提高了普鲁士白的稳定性,通过添加增强改性剂、噻吩能够进一步提升其球磨效果,进一步改善其缺陷,而且能够提高其导电性,增强其电化学性能。

标签:
复合材料
江苏 - 扬州 来源:北方有色网 2023-03-18
汽车门板内饰件生产用的生物基复合材料生产线

本发明属于汽车内饰生产技术领域,具体为一种汽车门板内饰件生产用的生物基复合材料生产线,包括底座,所述底座的顶部四角设置有支架,所述支架的顶部设置有加工台,所述加工台的顶部设置有传输装置,所述加工台的顶部四角设置有立柱,所述立柱的顶部设置有顶座;升降气缸,所述升降气缸设置在底座的顶部左侧,所述升降气缸的顶部设置有载物板,所述载物板的顶部两侧设置有铰接架,所述铰接架的一侧设置有驱动电机,所述铰接架之间设置有放料辊筒,且驱动电机的输出端贯穿铰接架与放料辊筒连接;储液箱,所述储液箱设置在顶座的顶部左侧,其结构合理,在使用的过程中,方便上料下料,同时可以对材料进行切割。

标签:
复合材料
江苏 - 扬州 来源:北方有色网 2023-03-18
用于复合材料运载火箭发动机壳体制造方法

本发明公开了一种用于复合材料运载火箭发动机壳体制造方法,包括以下步骤:步骤1)模具装配,将芯模装置装配好;步骤2)抹石膏层,将分瓣组件的表面均匀涂抹上石膏,并通过刮板组件刮除多出的石膏,得到型面;步骤3)产品铺层,在石膏的表面进行铺层,固化后得到产品;步骤4)产品脱模,将产品内部的芯模装置按照大端轴套、小端轴套、芯轴、连杆、大端锁紧法兰、小端锁紧法兰、大端分瓣、中间分瓣、小端分瓣的顺序将芯模拆除,本发明使产品易于脱模,且不会损伤产品内表面。

标签:
复合材料
江苏 - 扬州 来源:北方有色网 2023-03-18
玄武岩长纤维增强聚丙烯复合材料及其用途

本发明公开了材料领域内的一种玄武岩长纤维增强聚丙烯复合材料及其用途,该材料由改性玄武岩纤维、高熔指聚丙烯PP、相容剂、弹性体和高目数滑石粉共同组成的原材料生产获得;其用于制备汽车电池箱,其制备方法简单,综合性能优越,制得的电池箱具有强度高、抗冲击性能优异、抗蠕变、高尺寸稳定性、优异的抗热、耐疲劳性和耐化学性,且制品的质量轻;可复合金属结构嵌件等生产结构较复杂的高强度产品;生产周期短,生产成本低,玄武岩纤维增强聚丙烯产品可回收利用,环保性好。

标签:
复合材料
江苏 - 扬州 来源:北方有色网 2023-03-18
一板状SMC复合材料篮球板

本实用新型属于篮球设备技术领域,尤其为一种一板状SMC复合材料篮球板,包括篮球板本体,所述篮球板本体的前表面下方安装有篮球框,其特征在于:所述篮球板本体的一端下方安装有固定板,所述固定板的底部安装有电动机;通过电动机使收纳袋进行旋转,从篮球框处掉落的球会在重力的作用下落到收纳袋的内部,当投篮训练完成后,使用人员可以打开出口袋,使篮球会从出口袋处掉落,使用人员可以把广告牌放置在凹槽的内部,然后旋转操作盘,使操作盘一端的转杆进行移动,进而使推板对广告牌进行挤压,使广告牌固定在篮球板本体的内部,然后使用人员即可透过篮球板本体观察广告牌的内容,通这样可以方便工作人员安装广告牌。

标签:
复合材料
江苏 - 扬州 来源:北方有色网 2023-03-18
可控制模压温度的复合材料模压机

本实用新型涉及模压成型的技术领域,特别是涉及一种可控制模压温度的复合材料模压机,其便于提高加工效率,提高加工的自动化程度,节省人力和时间,提高装置的实用性;包括工作台、温度控制器、升降立杆、升降电机、滑块、横梁、加热器、加热模压块和模具,工作台底端对称设置有四组支撑板,温度控制器固定安装在工作台顶端,升降立杆固定安装在工作台顶端并且内部设置有腔室,升降电机固定安装在升降立杆顶端并且输出端可转动穿过升降立杆顶端至升降立杆腔室内,升降立杆腔室内可转动设置有丝杠并且丝杠顶端与升降电机的输出端固定连接,滑块内设置有螺纹孔并依靠自身螺纹孔螺装套设在升降立杆内的丝杠上,升降立杆右端连通腔室设置有右开口。

标签:
复合材料
江苏 - 扬州 来源:北方有色网 2023-03-18
复合材料帐篷用保护性能好的保护套管

本实用新型公开了一种复合材料帐篷用保护性能好的保护套管,包括一个第一保护管,所述第一保护管上端外侧壁边缘处固定连接有一个第一安装块,所述第一安装块上表面中部固定连接有一个第一紧固块,所述第一保护管靠近第一安装块的一侧活动连接有一个第二保护管,所述第,本实用新型的有益效果是:通过设置保护管、紧固块、螺栓、保护箱、弹簧、滑杆、滑槽、合页、夹具和防滑层的相互配合使用,通过螺栓和紧固块以及合页将保护管打开可以用来夹持不同规格的帐篷支撑杆,同时当夹具夹持支撑杆时,夹具上的弹簧由于压缩反弹力会将支撑杆稳定夹紧,同时弹簧和滑槽滑块也可以减少缓冲,防止支撑杆断裂,操作简单、可以夹持保护不同规格的帐篷支撑杆。

标签:
复合材料
江苏 - 扬州 来源:北方有色网 2023-03-18
复合材料液压缸筒
复合材料液压缸筒 1116     
 0

本实用新型公开了一种复合材料液压缸筒,包括外筒,所述外筒的内表面开设有限位槽,所述外筒的内侧设置有内筒,所述内筒的内表面焊接有缸壁,所述内筒的外表面一体化连接有限位块,所述限位块的顶端一体化连接有固定环,所述外筒的上表面开设有连接槽,所述连接槽的内侧设有限位环,所述限位环的外周上开设有凹槽,所述凹槽的内表面开设有卡槽,所述连接槽的内表面设置有簧片。本实用新型生产成本低,采用分体式结构,缸壁拉伤能够更换与维修,降低使用成本,缸壁便于拆卸更换,通过采用分体式结构,使缸壁与外筒能够分开,解决了缸壁拉伤无法更换维修,缸壁加工不合格需要整体报废的问题。

标签:
复合材料
江苏 - 扬州 来源:北方有色网 2023-03-18
复合材料高性能新型土工布

一种复合材料高性能新型土工布,其土工布的下方设有防滑层,防滑层为颗粒状结构,防滑层的厚度小于土工布的厚度,土工布上设有透气孔,透气孔中间设有隔离带,隔离带为长条状结构,隔离带分布在透气孔的两侧,隔离带内固定有加强筋,加强筋为条状加强筋。在土工布上设有保护膜,可以起到保护土工布的作用,防止土工布受到其他污染物的污染,在土工布上设有透气孔,可以增强土工布与土壤之间的空气流通,防止土工布受到水气腐蚀,出现大面积的断裂,影响了土工布的使用效果,在隔离带内设有加强筋,可以进一步保证土工布的强度。

标签:
复合材料
江苏 - 扬州 来源:北方有色网 2023-03-18
长纤维增强MC尼龙复合材料制品的制造方法

本发明公开了属于高分子材料材料制备技术领域的一种长纤维增强MC尼龙复合材料制品的制造方法。该方法是将长纤维如玻璃纤维、金属纤维、芳纶纤维、硼纤维、碳纤维等经表面偶联处理和梳整编织成网格布或者压制成纤维毡,通过嵌入式长纤维固定装置,这种固定装置嵌入于模具的内壁里面,产品成型以后,装置处于产品以外,不会影响产品结构,这种主要起到固定纤维位置及提供预张拉力使得各个纤维的张紧力保持一致的作用。本发明采用增强长纤维与MC尼龙局部复合,避免了短纤维在己内酰胺活性体中的分散问题,而且提高了产品强度和耐磨等性能,从而增强MC尼龙制品的强度的同时满足了电梯、起重机等行业对传动轮的性能要求。

标签:
复合材料
江苏 - 扬州 来源:北方有色网 2023-03-18
用于木塑复合材料的多点超声-气力混粉设备

一种用于木塑复合材料的多点超声‑气力混粉设备,所述的多点超声‑气力混粉设备主要由支撑架、电机、传动机构、出料口、旋转叶片、观察口、过滤网、气压机、输粉管、旋转轴、阀门、导管、开口、齿轮、超声气力喷头、导轨、压力孔、弹簧、气力管道、柱塞组成。所述的多点超声‑气力混粉设备采用了五个工序:输粉管过滤并进料,导管送料,超声‑气力喷头喷洒并初次混粉,叶片高速旋转二次混分,出料口出料。所述的多点超声‑气力混粉设备可以有效提高混分质量,从而减少劳动强度,有利于推动混粉行业的发展。可根据不同的生产要求更换开有不同凹槽的齿轮已达到多种粉末混合的效果。其工作环境在一个密闭的混粉腔中进行,防治粉末在空气中弥漫,对保护环境有重要的意义。

标签:
复合材料
江苏 - 扬州 来源:北方有色网 2023-03-18
用于复合材料运载火箭发动机壳体制造的芯模装置

本实用新型公开了一种用于复合材料运载火箭发动机壳体制造的芯模装置,包括设置在一对支撑座上的芯轴,芯轴上套设有用以夹紧分瓣组件两端的大端夹紧组件和小端夹紧组件,分瓣组件设置有若干瓣,且若干分瓣组件绕芯轴拼装成类球形结构,大端夹紧组件包括套设在芯轴上的大端轴套和大端锁紧法兰,大端轴套与大端锁紧法兰配合将分瓣组件的一端夹紧固定;小端夹紧组件包括套设在芯轴上的小端轴套和小端锁紧法兰,小端轴套与小端锁紧法兰配合将分瓣组件的另一端夹紧固定,本实用新型通过可拆卸的分瓣组件可减小尺寸,且分瓣为骨架式结构,可以大大地减轻重量,同时分瓣组件给产品提供更好的刚度和稳定性。

标签:
复合材料
江苏 - 扬州 来源:北方有色网 2023-03-18
纳米纤维素增强增韧MC尼龙复合材料及其制备方法

本发明公开了一种纳米纤维素增强增韧MC尼龙复合材料及其制备方法。由如下重量份数的原料制成:己内酰胺单体10‑90份,纳米纤维素10‑75份,催化剂0.2‑0.4份,助催化剂2‑5份。本发明采用纳米纤维素作为增强体,己内酰胺单体为树脂基体,利用己内酰胺溶体粘度低、流动性好,以保证己内酰胺对纳米纤维素的浸润,大大提高制品的纳米纤维素含量,具有很高的物理力学性能。

标签:
复合材料
江苏 - 扬州 来源:北方有色网 2023-03-18
氧化石墨和石墨烯/PLA复合材料的制备方法

本发明提供了化学领域内的氧化石墨和石墨烯/PLA复合材料的制备方法,包括以下步骤,(1)在一个带有机械搅拌和油浴加热装置的500mL三口烧瓶中,将PVA颗粒溶解于95°C的去离子水中,制成浓度为0.08g*mL‑1的水溶液;(2)将所需量的氧化石墨分散于50mL离子水,搅拌均匀,然后缓慢倾倒入烧瓶中,在95°C下,充分搅拌3天,在搅拌2天后加入水合肼,然后再持续搅伴1天,水合肼与GO的质量比为1:1;(3)将烧瓶中的混合物倒入模具中,于40°C烘箱放置2天,将形成的薄膜揭下,于8°C充分干燥2天,制成测试所需样品,膜厚度为300±20μm;本发明操作简单,温度控制容易。

标签:
复合材料
江苏 - 扬州 来源:北方有色网 2023-03-18
银三角环纳米颗粒阵列/单层石墨烯薄膜复合材料及其制备方法

本发明公开了一种银三角环纳米颗粒阵列/单层石墨烯薄膜复合材料及其制备方法,其步骤为:在铜箔上生长单层石墨烯膜;其次,组装单层PS球模板并将其转移至附有单层石墨烯的铜箔上;然后,利用热蒸发沉积银,沉积过程中样品保持匀速转动;最后,去除PS球即可获得单层石墨烯膜上的银三角环纳米颗粒阵列。本发明在单层石墨烯上可控生长银纳米环颗粒阵列,结合了银纳米环阵列和单层石墨烯各自优势及二者的协同作用,有优异的SERS性能,同时是在生长石墨烯的铜箔上原位合成的,避免了石墨烯的破损,保证了其完整性和洁净性。

标签:
复合材料
江苏 - 扬州 来源:北方有色网 2023-03-18
氧化石墨和石墨烯/PLA复合材料制备及性能测试方法

本发明提供了化学领域内的氧化石墨和石墨烯/PLA复合材料制备及性能测试方法,包括以下步骤,(1)将湿润状态的石墨烯用四氧呋喃洗涤5次,除去所含水分;(2)将PLA溶解于四氢呋喃中;(3)带机械搅拌的三口烧瓶里,将石墨稀分散于四氢呋喃中,通过超声波和强力搅拌处理2‑3小时,直至浪合物变粘稠;(4)将PLA溶液加入到石墨稀/四氢呋喃混合液中,继续进行超声波处理和强机械搅拌,持续4小时,将混合物倒入敞口容器,在50℃烘箱中干燥10小时,适当将表面的膜状物扯开,以便溶剂蒸发;将制得的膜状固体破碎成颗粒或粉末,在80°C真空供箱干燥6小时;(5)将得到的产物进行性能测试本发明操作简单,温度控制容易。

标签:
复合材料
江苏 - 扬州 来源:北方有色网 2023-03-18
基于金纳米粒子掺杂共价有机骨架复合材料电极的制备方法

一种基于金纳米粒子掺杂共价有机骨架复合材料电极的制备方法,涉及电化学传感器技术领域,先将1,3,5‑三(4‑氨基苯基苯)和2,5‑二甲氧基对苯二甲醛溶于溶剂中,在醋酸的催化下进行反应,取得TAPB‑DMTP‑COF;再将其分散于甲醇中,然后依次加入氯金酸和硼氢化钠甲醇溶液进行反应,取得Au@TAPB‑DMTP‑COF;经分散于水中,取得悬浮液,然后修饰于玻碳电极表面,取得基于共价有机骨架材料修饰玻碳电极。本发明构建了一种电化学传感器用于检测绿原酸,通过将Au@TAPB‑DMTP‑COF修饰玻碳电极,提高了对绿原酸的电流响应。

标签:
复合材料
江苏 - 扬州 来源:北方有色网 2023-03-18
空心介孔二氧化锰管/硫复合材料的制备方法

一种空心介孔二氧化锰管/硫复合材料的制备方法,本发明属于化学电池技术领域,将聚丙烯腈和二甲基甲酰胺混合进行静电纺后,将取得的纳米纤维预氧化、高温煅烧,取得管状纤维;将管状纤维和高锰酸钾溶液混合加热反应,取得空心介孔二氧化锰管;将空心介孔二氧化锰管和硫混合进行热熔融挥硫反应,取得空心介孔二氧化锰管/硫。本发明可以提高硫的导电性,产品比表面较大,可以防止体积膨胀效应,在物理束缚和化学吸附上抑制多硫化物的溶解,具有高容量,倍率性好且循环寿命长的优点。

标签:
复合材料
江苏 - 扬州 来源:北方有色网 2023-03-18
碳包覆纺锤体状氧化铁核壳结构复合材料的制备方法

碳包覆纺锤体状氧化铁核壳结构复合材料的制备方法,涉及电极材料的生产技术领域,依次制备纺锤体状氧化铁纳米颗粒、制备表面包覆有间苯二酚甲醛树脂和二氧化硅的氧化铁纳米颗粒、制备表面包覆有碳和二氧化硅的氧化铁纳米颗粒,最后制备纺锤体状的碳‑氧化铁空心复合纳米材料。本发明制备的纺锤体状空心结构的纳米材料,采用碳对氧化铁进行包覆,来提高导电性和电子传输能力。

标签:
复合材料
江苏 - 扬州 来源:北方有色网 2023-03-18
复合材料安全鞋头的制备工艺

本发明公开了一种复合材料安全鞋头的制备工艺,包括以下步骤:步骤一:启动涂胶设备,将树脂糊涂覆在纳米科技布上,然后再将防水透气膜贴合在纳米科技布的上表面和下表面,然后通过蒸汽加热压辊,压实压平纳米科技布,接着利用烘干设备,对压实后的纳米科技布进行烘干,形成毡片。本发明通过将纤维布替换为纳米科技布,利用纳米科技布产生防暑、隔热、触感凉爽的效果,降低了鞋内的温度,同时还具有防霉、抗菌和透气的优点增加了安全鞋头的透气性,通过在纳米科技布上下两端贴附防水透气膜,不仅可以利用防水透气膜,提升安全鞋头的防水性,而且防水透气膜,具有良好的透气性,进一步增加了安全鞋头的透气性。

标签:
复合材料
江苏 - 扬州 来源:北方有色网 2023-03-18
石墨烯/PLA纳米复合材料制备及其性能测试的方法

本发明提供了化学领域内的石墨烯/PLA纳米复合材料制备及其性能测试的方法,包括以下步骤,(1)将湿润状态的石墨烯用四氧呋喃洗涤5次,除去所含水分;(2)将PLA溶解于四氢呋喃中;(3)带机械搅拌的三口烧瓶里,将石墨稀分散于四氢呋喃中,通过超声波和强力搅拌处理2‑3小时,直至浪合物变粘稠;(4)将PLA溶液加入到石墨稀/四氢呋喃混合液中,继续进行超声波处理和强机械搅拌,持续4小时,将混合物倒入敞口容器,在50℃烘箱中干燥10小时,适当将表面的膜状物扯开,以便溶剂蒸发;将制得的膜状固体破碎成颗粒或粉末,在80°C真空供箱干燥6小时;(5)将得到的产物进行性能测试本发明操作简单,温度控制容易。

标签:
复合材料
江苏 - 扬州 来源:北方有色网 2023-03-18
多壁碳纳米管改性环氧树脂及其复合材料制备方法

本发明公开了一种多壁碳纳米管改性环氧树脂及其复合材料制备方法,包括以下重量份数配比的原料:超高分子量聚乙烯纤维、0.03—0.5gTris、200ml水、0.1—0.8g单宁酸、3—8gNaCl、多壁碳纳米管、无水乙醇、环氧树脂、1,3‑二(氨甲基)苯固化剂。达到了改善树脂性能,还可以通过在树脂和单宁酸的交叉网络中起到增强的作用,提高界面粘结力的效果。本发明制备的多壁碳纳米管改性环氧树脂,工艺简单,成本低,所用的试剂均为常规试剂,不需要特殊设备,因此具有工业化实施容易等特点,本发明制备的多壁碳纳米管改性环氧树脂,通过在环氧树脂加入多壁碳纳米管,多壁碳纳米管不但改善树脂性能,还可以通过在树脂和单宁酸的交叉网络中起到增强的作用,提高界面粘结力。

标签:
复合材料
江苏 - 扬州 来源:北方有色网 2023-03-18
上一页 10 11 12 13 14 ... 28 下一页
共28页    到第

北方有色为您提供最新的江苏扬州有色金属复合材料技术理论与应用信息,涵盖发明专利、权利要求、说明书、技术领域、背景技术、实用新型内容及具体实施方式等有色技术内容。打造最具专业性的有色金属技术理论与应用平台!

全国热门有色金属设备推荐
展开更多 +
全国热门有色金属技术推荐
展开更多 +

 

江西省隆恩特环保设备有限公司
宣传

报名参会
更多+

报告下载

有色专家
更多+

中国科学院赣江创新研究院
院长
中国工程院
院士
蒙纳士苏州校区
中国工程院外籍院士/校长
中南大学
中国工程院院士
中冶沈勘秦皇岛工程技术有限公司
原矿山院院长/教授级高工
赤泥综合利用研究报告2025
推广

热门技术
更多+

推荐企业
更多+

福建省金龙稀土股份有限公司
宣传

发布

在线客服

公众号

电话

顶部
咨询电话:
010-88793500-807