青岛垚鑫智能科技有限公司
宣传

位置:中冶有色 >

有色技术频道 >

> 探矿技术

分类:
全部
矿山技术
冶金技术
材料制备及加工技术
环境保护技术
分析检测技术
 
全部
探矿技术
采矿技术
选矿技术
通用技术
地区:
全部
北京
天津
上海
重庆
河北
山西
辽宁
吉林
黑龙江
江苏
浙江
安徽
福建
江西
山东
河南
湖北
湖南
广东
海南
四川
贵州
云南
陕西
甘肃
青海
内蒙
广西
西藏
宁夏
新疆
其他
其他
展开
 
全部

有色金属探矿技术理论与应用

免费发布技术信息>>
砂砾岩储层任意两井连通砂体的定量表征方法

本发明涉及油气田储层地质分析技术领域,具体涉及砂砾岩储层任意两井连通砂体的定量表征方法。所述方法包括:步骤一、利用截断高斯模拟的方法模拟得到亚相模型,对垂向上储层展布形态进行表征;步骤二、对亚相模型内部各岩相采用随机模拟方法模拟井上数据,建立岩相模型;步骤三、采用相控建模约束,通过岩相控模拟物性参数;步骤四、通过物性下限计算得到NTG模型;步骤五、基于NTG模型计算与井连通的砂体,并实现连接任意两口井的砂体连通性表征。本发明方法能够更准确地描绘出井间连通砂体的平面展布和空间分布情况,实现对任意两井间连通性的定量刻画和表征。

标签:
探矿技术
山东 - 东营 来源:中冶有色网 2023-03-04
基于MT模型的地震波速度参数确定方法、装置及设备

本说明书实施例提供一种基于MT模型的地震波速度参数确定方法、装置及设备。所述方法包括:获取岩石样本在至少两个不同压力下的实测体积模量和实测剪切模量;利用所述实测体积模量和实测剪切模量计算高压模量;基于MT模型下的模量与裂隙密度关系,通过所述高压模量确定对应于所述岩石样本的累积裂隙密度;根据所述累积裂隙密度计算所述至少两个不同压力下的微裂隙孔隙度分布谱;结合岩石样本的孔隙结构参数和所述微裂隙孔隙度分布谱,确定对应于所述岩石样本的地震波速度参数;所述地震波速度参数包括速度频散和衰减。上述方法实现了对于微观孔隙结构主导的地质中的地震波速度频散和衰减的准确计算,有利于实际应用中生产开发的进行。

标签:
探矿技术
北京 - 北京 来源:中冶有色网 2023-03-04
矿井水常量离子特征标识及水源判别的方法

本发明公开了一种矿井水常量特征离子标识及水源判别的方法,属于水文地质及水化学技术领域。本发明方法步骤S1:统计整合矿井主要充水含水层的水质资料;步骤S2:利用聚类分析方法,排除各水源含水层异样水样,明确各水源常量离子的分界阈值;步骤3:确定各水源常量离子的标准浓度、不同水源间常量离子的变异系数以及各水源的常量特征离子;步骤S4:建立二级模糊综合评判数学模型,判别矿井水的水源,并定量计算构成比例。

标签:
探矿技术
江苏 - 徐州 来源:中冶有色网 2023-03-04
矿井地下水调蓄方法及调蓄系统

本发明涉及一种矿井地下水调蓄方法及调蓄系统,属于生态环保技术领域。本发明提供一种矿井地下水调蓄方法,包括如下步骤:S1.进行水文地质勘查;S2.确定矿井涌水的直接充水含水层,选择煤层顶板上的直接充水含水层作为抽水层,将抽水层的地下水抽离出地面,其后将抽离出地面的地下水注入到承压含水层。本发明提供一种矿井地下水调蓄系统,包括:位于地面的抽液泵、抽液井和注液井,抽液井的一端伸入抽液层,抽液井的另一端与抽液泵的进液口A连接;注液井的一端与抽液泵的出液口A连接,注液井的另一端伸入承压含水层。本发明直接充水含水层为未被矿坑污染的地下水,无需建设净化装置,实施水处理,节约成本,安全性高。

标签:
探矿技术
天津 - 天津 来源:中冶有色网 2023-03-04
基于自适应镶嵌的地震剖面数据可视化方法及系统

本发明涉及一种基于自适应镶嵌的地震剖面数据可视化方法及系统,其包括:对不同幅度地震样点对应的网格顶点及顶点之间的像素,用不同颜色进行着色;在像素着色器中计算出下一道上与当前地震样点最相关的样点;将最相关的样点在时间方向上的相对偏移映射为倾斜方式并渲染到纹理,填充顶点索引时,充分考虑同一道上相邻样点的倾斜方式以实现顶点的自适应镶嵌。本发明提出的镶嵌方式能够根据地震样点的倾斜方式进行自适应选择,有效解决了二维地震剖面的三维可视化中网格镶嵌方面存在的镶嵌错误问题,能够有效提高对地震微观结构的显示能力,方便地震数据的解释与分析,对于油气勘探、地质勘探等领域具有重要的意义。

标签:
探矿技术
北京 - 北京 来源:中冶有色网 2023-03-04
基于机器学习算法的随钻伽马测井正演方法

本发明公开了一种基于机器学习算法的随钻伽马测井正演方法,涉及石油井探测技术领域。该方法具体包括:建立不同放射性强度、层厚、密度和不同倾角的地层模型;模拟伽马射线在地层中的输运过程,获取不同地质情况下的随钻伽马探测器计数随深度的响应关系;建立不同地层厚度下探测器深度坐标与随钻伽马探测器计数的响应关系;建立不同地层密度下探测器深度坐标与随钻伽马探测器计数的响应关系;建立不同地层倾角下探测器深度坐标与随钻伽马探测器计数的响应关系;建立不同地层界面距离与随钻伽马计数的响应关系;基于响应关系建立数据库,用神经网络算法对模拟数据进行训练,构建适用于随钻伽马正演的神经网络模型,形成随钻伽马测井快速正演方法。

标签:
探矿技术
甘肃 - 兰州 来源:中冶有色网 2023-03-04
高压预填充溶洞桩基施工方法

本发明公开了一种高压预填充溶洞桩基施工方法,属于坑基溶洞施工领域,其包括如下步骤:S1:地面钻孔:在地面钻取填充孔和观察孔;S2:勘察溶洞内部情况,确定溶洞内部大小;S3:下放管道:填充管通过填充孔下放到溶洞底部,观测管通过观察孔下放到溶洞中;S4:预拌填充料;S5:回填填充料:将填充料注入填充管中,填充料填入溶洞底部,且随着填充料的注入,不断抬高填充管的高度;S6:停止填充,拔出填充管,静待填充料硬化。本施工方法简单方便,能对多层溶洞进行预填充处理,改善不良地质条件,使溶洞满足灌注桩施工要求,提高后期桩基础施工效率,降低施工成本。

标签:
探矿技术
广东 - 广州 来源:中冶有色网 2023-03-04
泡沫注浆法改造海洋泥质粉砂型天然气水合物储层的方法

泡沫注浆法改造海洋泥质粉砂型天然气水合物储层的方法,属于天然气水合物开采领域,该方法通过向天然气水合物层中注入含有泡沫水泥砂浆,可在天然气水合物层中形成比原有天然气水合物层强度和渗透率更高的网状骨架结构。与现有技术相比,本发明一方面通过网状骨架结构增加天然气水合物层稳定性,另一方面通过网状骨架结构中的孔隙提高天然气水合物层的渗透率,从而达到提高单井开采效率,延长开采周期,降低水合物开采过程中地质灾害发生的效果。

标签:
探矿技术
吉林 - 长春 来源:中冶有色网 2023-03-04
粗糙介质模型的时域电磁数据慢扩散成像方法

本发明涉及一种粗糙介质模型的时域电磁数据慢扩散成像方法,目的在于提高时域电磁探测数据的解释成像精度。本发明在获取探测区地质资料基础上,先提取地下的空间均匀粗糙度参数;再推导均匀粗糙介质的广义视电导率和扩散深度时域表达式,通过定义自变量,将核函数采用无穷级数求和表示,求解广义视电导率,推导粗糙介质的脉冲磁场正向解,再进行变量微商求解获得广义扩散深度;对实测电磁数据进行广义视电导率和扩散深度计算,最后实现广义视电导率‑扩散深度成像。本发明的粗糙介质模型的广义视电导率和扩散深度计算方法与经典均匀半空间介质的计算方法相比,视电导率‑深度值更接近真值,提高了视电导率‑深度的解释成像精度。 1

标签:
探矿技术
吉林 - 长春 来源:中冶有色网 2023-03-04
煤层气井活性水符合压裂增产方法

本发明涉及煤层气勘探开发技术领域,具体公开了一种煤层气井活性水符合压裂增产方法,该技术步骤如下:根据煤层气井地质条件和客观条件,做出合理压裂施工设计;针对不同类型的低产井制订相应解堵性二次压裂施工工艺,按照压裂施工设计,配备主压裂车、液氮泵车、混砂车等相关设备和活性水、胶液、液氮;煤层气井安装井口,设备进入施工现场,高低压管线连接;试压,关死井口总阀、对地面高压管线、井口、连接丝扣、由壬等连续憋压35‑45MPa,持续3‑5分钟不刺漏为合格;活性水水力压裂用主压裂车把活性水高压注入储层;放喷返排。本发明的优点是,其具有高携砂能力和低滤失性提高了压裂液的利用率,增强压裂效果,降低了施工成本且提高煤层气产气量。

标签:
探矿技术
陕西 - 西安 来源:中冶有色网 2023-03-04
综合性的石油开采设备

本发明提供一种综合性的石油开采设备,包括连接轴,套筒联轴器,驱动电机,快速连接导油管结构,快速拆卸螺栓,石油开采对接式钻地杆,可调节支撑架,顶紧块结构,连接螺栓螺母和深度测量锥结构,所述的连接轴一端通过套筒联轴器安装在驱动电机的输出轴上,另一端插接在快速连接导油管结构的内侧上部。本发明金刚石杆和V杆的设置,有利于应对不同的地质,同时还可以适用于较硬的地面钻探使用,保证石油开采的准确性;中空螺杆,紧固螺母,钻地锥杆和中心钢杆的设置,有利于快速拆卸和安装、更换,便于维护。

标签:
探矿技术
山东 - 临沂 来源:中冶有色网 2023-03-04
基于真空降压法开采海底浅层非成岩地层天然气水合物的装置及方法

一种基于真空降压法开采海底浅层非成岩地层天然气水合物的装置及方法,开采装置的真空泵、水气分离罐、注浆系统、注热系统、储气装置之间通过管路连接,并固定在开采船上;开采装置与海底天然气水合物地层接触,工作时,将开采装置压入天然气水合物储层,通过真空泵使内部套管中产生负压;迫使水合物分解的同时,在外部隔离套管、移动压板以及射孔注浆后形成的隔水层作用下逐渐排出水合物储层开采区域中的水,阻断开采区域外水的补给通道,使开采区域逐渐固结,实现开采水合物的同时加固水合物储层目的。本发明解决了储层失稳坍塌、海水毒化等地质灾害,保证了海底结构的稳定。

标签:
探矿技术
吉林 - 长春 来源:中冶有色网 2023-03-04
多期次、多尺度裂缝孔渗参数定量预测方法

本发明涉及油气田勘探开发领域,尤其是一种多期次、多尺度裂缝孔渗参数定量预测方法。本发明利用断层‑裂缝的自相似性理论,预测不同尺度的裂缝面密度计算方法;依据岩心、薄片观测的裂缝参数以及断层的延伸规律,采用随机偏正态约束的方法,确定不同尺度裂缝的初始开度;通过现今地应力场数值模拟,分析裂缝在现今应力场中的开启能力;结合裂缝开度、面密度以及发育规模,提出了适用于多尺度、多期次裂缝参数的计算模型,进行裂缝孔隙度,最大渗透率的大小、方向定量预测。本发明由严格的数学算法推导组成,对相应的地质信息数字化后,可以利用计算机编程语言开发相应的计算程序,实现多期次、多尺度裂缝孔渗参数的定量预测。

标签:
探矿技术
山东 - 潍坊 来源:中冶有色网 2023-03-04
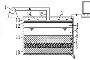
尾矿浓缩干排一体装置
尾矿浓缩干排一体装置 1054     
 0

本发明涉及一种尾矿浓缩干排一体装置,主要包括浓缩系统和干排压缩系统;本发明装置能够将尾矿进行多级浓缩,较好的分离出尾矿中的泥砂和水,实现砂含水率保持在15%~20%,且经浓缩分离出来的尾矿水可实现循环利用,此外,尾矿干排不仅可以节省传统尾矿库的建设费用和常规维护费用,还可以大大节省占地面积,消除尾矿库的安全隐患,在矿山生产过程中,消除采空区的安全隐患,节省安全投入和环境治理资金,有利于地质环境保护,具有广阔的市场前景。

标签:
探矿技术
云南 - 昆明 来源:中冶有色网 2023-03-04
原位降雨入渗和径流分配测量系统和方法

本发明公开了一种原位降雨入渗和径流分配测量系统和方法,属于水文学、环境科学及地质学技术领域,采用的技术手段是一种原位降雨入渗和径流分配测量系统,包括设置在测试区域的降雨测量系统、入渗测量系统和径流测量系统,降雨测量系统中包括借助支架固定在测试区域的雨量计;入渗测量系统包括借助剖面安装管布设在土壤不同深度的水分传感器;径流测量系统包括集水池、挖设在测试区域周边并与集水池联通的集流沟和设置在集流沟与集水池接口处的水位及水量测量装置。优点如下:方便携带,可快速安装,造价低,使用和维护方便简单,使用完毕后方便拆卸回收;避免了实验室的误差与环境限制,结果更为真实准确;可安装在不同的下垫面上,适用范围广。

标签:
探矿技术
江苏 - 南京 来源:中冶有色网 2023-03-04
输电线路临时道路用链式铺路瓦

本发明公开了一种输电线路临时道路用链式铺路瓦,用于农田、沼泽和沙漠地区的输电线路新型临时道路快速铺设,包括瓦片和连接部,瓦片形状为矩形平板内连四棱锥板,采用U型锁扣连接或插销连接结构。链式铺路瓦材料选用钢材,铺路瓦尺寸可根据车辆载重及地质条件进行调整。该铺路瓦采用模块化设计,单体质量小,拼装拆卸简单,运输方便,可实现快速拼装和回收。

标签:
探矿技术
江苏 - 南京 来源:中冶有色网 2023-03-04
岩石储层中值半径预测模型建立方法、装置及系统

本发明提供了一种岩石储层中值半径预测模型建立方法、装置及系统,涉及地质勘测领域。该岩石储层中值半径预测模型建立方法、装置及系统,通过将位于各个深度对应的不同类别的测井参数以及中值半径进行多元线性回归分析,找出与中值半径相关性最好的前N个测井参数样本,对找出的各个深度的对应的不同测井参数样本以及中值半径进行二元回归分析,建立岩石储层中值半径预测模型。当再次对同一区域的岩石储层采集中值半径时,仅需将测井参数输入预建立好的岩石储层中值半径预测模型即可将岩石中值半径计算得出,省时省力。

标签:
探矿技术
四川 - 成都 来源:中冶有色网 2023-03-04
模拟压力对天然气水合物地层裂缝影响的实验装置

本发明涉及天然气水合物地质技术领域的一种模拟压力对天然气水合物地层裂缝影响的实验装置,它主要由加压泵、出气口、计算机监测系统、气层、水层、压力传感器、泥岩颗粒、尼龙颗粒、岩石层A、箱体、岩石层B、活塞、活塞环、储气室、伸缩式气体通道和高速摄像机组成。箱体内从上往下依次设有活塞环、活塞、气层、水层、压力传感器、岩石层B、泥岩颗粒、尼龙颗粒和岩石层A;活塞环上部设有4个出气口采用对称式设计,用于气体流出并使活塞往下运动。本发明操作简单,能很好的模拟压力对天然气水合物层附近地层裂缝影响的过程。

标签:
探矿技术
四川 - 成都 来源:中冶有色网 2023-03-04
基于Shearlet‑fastICA的地震多属性融合方法

本发明公布了一种基于Shearlet‑fastICA的地震多属性融合方法,其特征在于:步骤S1:将地震属性经预处理后进行Shearlet变换,确定空间域中不同地震属性数据的初始低频子带系数和初始高频子带系数;步骤S2:分别将所述初始低频、高频子带系数利用ICA基函数从空间域映射至ICA域;步骤S3:在ICA域融合以确定融合低频子带系数和融合高频子带系数;步骤S4:将所述融合低频、高频子带系数从ICA域映射回空间域,并进行Shearlet重构得到地震属性融合结果。经过融合后的属性数据消除了彼此的冗余性,更加清晰、明显的刻画了地质体的相关特征,为后续储层预测和构造解释提供了强有力的技术支撑。

标签:
探矿技术
山东 - 青岛 来源:中冶有色网 2023-03-04
沐浴用泡泡泥及制备方法

本发明涉及一种用于沐浴的产品配方及其制备方法,特别是涉及一种沐浴用泡泡泥及制备方法,属生活日用品技术领域。配方中的沙土和白矾均为寒性中药,人们经洗浴泡澡可以起到去火、止疼、止痒、消炎、消肿、去油脂的作用,对痱子,红痘,白头等因为天气燥热引起的身体虚火上升具有调节紊乱的疗效,配方中的沙土取至地下1米深处,且富含氟元素,无污染,特别是本地的特殊地质条件具有大量的富含氟元素的资源。

标签:
探矿技术
江苏 - 徐州 来源:中冶有色网 2023-03-04
富营养化水体修复的底泥掩蔽方法

本发明涉及一种采用天然地质材料进行富营养化水体修复的底泥掩蔽方法,具有底泥营养盐控释和藻类水华抑制的功能,其方法步骤为:将天然红土磨细至80目左右,并添加适量的粉煤灰和石灰,与水混合并持续搅拌后,将混合物于藻类生物休眠期末均匀抛洒入地表水体中,投放量为4.5~6.0kg/m2。本发明将营养盐的原位钝化技术与藻类生物的固定技术相结合,使用效果好,且成本低廉,操作方便,可广泛应用于湖泊、公园、池塘等各类水体富营养化问题的治理与预防。本发明提供了电厂粉煤灰资源化利用的新途径。

标签:
探矿技术
云南 - 昆明 来源:中冶有色网 2023-03-04
地震波形分析及储层预测方法和装置

本发明实施例提供一种地震波形分析及储层预测方法和装置,该方法包括:选取目的层;选取地震波形分类时窗的大小;根据地震相的分类数,创建多个模型道;根据自组织神经网络对不同的波形进行分类;对地震相分类参数进行处理,生成地震相分类图;建立沉积相识别标志以进行单井沉积相的划分,并进行单井间沉积相的对比生成连井沉积相以确定井与井之间的沉积相;结合单井沉积相及地震相,把井点处地震相转化为沉积相,根据标定井点地震波形类型向未钻探地区外推,结合连井沉积相,对整个地震相图进行地质解释并由点到面地形成沉积相图;根据所述沉积相图进行储层预测。该方法可进行有利沉积相带的研究及储层预测,提高勘探工作效率。

标签:
探矿技术
北京 - 北京 来源:中冶有色网 2023-03-04
扩孔刀具
扩孔刀具 1231     
 0

本发明提供的扩孔刀具,涉及地质勘探机械领域,包括刮刀头、管状的金刚石钻头、柱状的主体和柱状的导向杆;所述金刚石钻头的一端设有金刚石钻齿,所述金刚石钻头的另一端套设在所述主体的前端的外侧壁且与主体的螺纹连接;所述导向杆穿过所述金刚石钻头,所述导向杆的一端插设在所述主体的前端内,所述导向杆的另一端沿所述主体的轴心线方向延伸且从所述金刚石钻头的设有所述金刚石钻齿的一端伸出;所述刮刀头套设在所述导向杆的伸出所述金刚石钻头的一端。本发明提供的扩孔刀具的有益效果是,通过导向杆和刮刀头既使扩孔刀具的前进更加稳定和准确,减少了扩孔施工发生事故的风险,又提高了扩孔的施工效率,减少了施工成本。

标签:
探矿技术
四川 - 泸州 来源:中冶有色网 2023-03-04
勘探原始资料的三维可视化管理方法

本发明涉及一种数据管理技术,其公开了一种勘探原始资料的三维可视化管理方法,解决传统技术中对勘探资料的管理方式存在的资料查找不便、易丢失、不能直观地看到资料间的空间相关关系的问题。该方法包括:a.建立勘探实体三维标识;b.将勘探实体三维标识设置于三维实景地图地表;c.每个三维标识与数据库想应数据关联;d.三维标识与数据库关联后,通过点击三维标识链接到数据库相应表单,实现勘探资料的新增、追加、删除、查询、下载;e.选择保存,以独立文件保存三维实景地图中的三维标识及相应数据链接。本发明适用于工程地质勘探资料的管理。

标签:
探矿技术
四川 - 成都 来源:中冶有色网 2023-03-04
耐酸、碱、盐腐蚀、耐高低温的电缆井

耐酸、碱、盐腐蚀、耐高低温的电缆井。本发明涉及电力建设或者施工技术,具体涉及一种耐酸耐碱、经久耐用的电缆井,电缆井包括箱形井体,井体包括内部的金属框架和设置在金属框架外部的壳体,所述的壳体为塑料材质,壳体上设置进线孔、出线孔和人孔或手孔,壳体内和/或外表面均匀交错设置加强筋;内部金属框架、外部塑料壳体的结构,金属框架支撑壳体,同时壳体表面的交错布置的加强筋进一步保证壳体的结构强度。这样的电缆井结构强度可靠,同时塑料壳体和壳体上的加强筋结构使得壳体具有一定的挠性,能够更好地吸收和缓冲震动和压力,具有排水效率高,耐酸、碱、盐腐蚀,适合多种地质条件使用,抗地震性能强,使用寿命长的特点;取得了重大的经济和社会效益。

标签:
探矿技术
云南 - 昆明 来源:中冶有色网 2023-03-04
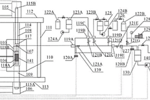
基于盆地演化史的热压生排烃模拟实验装置和方法

本发明提供了一种基于盆地演化史的热压生排烃模拟实验装置和方法,属于石油天然气地球化学实验研究技术领域。所述实验装置包括生烃系统和排烃收集系统,所述生烃系统和排烃收集系统通过多通道组合阀(139)连接。所述方法依据实际地质盆地的构造演化史,划定盆地演化的不同阶段,自动调节生烃系统和排烃装置的连通状态,模拟盆地动态演化条件下的生排烃过程。本发明结合盆地的构造演化史,考虑盆地演化造成的烃源岩与储集岩古流体压力场对油气生成与排出的影响,实现了与含油气盆地构造演化史条件接近的烃源岩生排烃模拟实验。

标签:
探矿技术
北京 - 北京 来源:中冶有色网 2023-03-04
环形冻结管路
环形冻结管路 1056     
 0

本发明公开了一种环形冻结管路,包含以下步骤予以实现将该中间冻结管位于工作面断面中上部的部分冻结土体挖出,使得中间冻结管部分外露;将外露的部分中间冻结管割断,使之分为上冻结管(1)和下冻结管(2),同时在割断后的上冻结管(1)和下冻结管(2)断面上安装冻结器羊角(3)。本发明能够在工作面底板附近以及两帮制作环形冻结管路,提供冷量,以加强工作面顶、底、帮冻结壁的强度,快速增加隧道或巷道局部围岩强度,有效防止塌方、溃砂、涌水等灾害,特别是对富水砂层、淤泥等复杂地质条件下,灾害防止效果显著。

标签:
探矿技术
陕西 - 西安 来源:中冶有色网 2023-03-04
多用途配合旋切径向自旋转割缝式内凹多翼无芯钻头

本发明涉及一种适用于复杂地质构造在钻进过程中可对钻头进行润滑及冷却,自动扩孔,钻进效率高,寿命长,适用性强的多用途配合旋切径向自旋转割缝式内凹多翼无芯钻头。多用途配合旋切径向自旋转割缝式内凹多翼无芯钻头包括了一个特殊的合金冠部,增加了金刚石复合片,可有效缓解钢体的磨损程度,确保孔径大小一致,不出现缩孔现象。所述钻头高压水射流辅助钻进效率提高大有益处,且水射流成孔直径比常规机械旋切钻进成孔直径大,局部地区软煤层孔径可增大20-30倍。所述钻头可在压裂破碎区,塌孔区,堵孔区,瓦斯积聚区,和有煤炮,喷孔的区域外切割缝水流通通过钻进到工艺要求的区域结合产品特点进行其他钻孔施工工艺,一体化完成省时省力。

标签:
探矿技术
江苏 - 徐州 来源:中冶有色网 2023-03-04
液压三轴室中对非圆形截面柱体试块进行轴向加载的压头

本发明公开了一种液压三轴室中对非圆形截面柱体试块进行轴向加载的压头,属于土木、地质工程实验技术领域。压头由A、B、C三部分构成,A部分的外轮廓线是外凸的;C部分至少有一个横截面不是圆形;B部分是A部分与C部分的过渡部分,把A与C部分的侧面用连续的平面或曲面连接起来;A、B、C三部分的侧面都是光滑的。柱形体试块的截面可以是正方形、矩形、其它多边形,或者,由直线及内凸和/或外曲线围成的区域。进行三轴加载时,压头在试块的两端,压头的C部分端面与试块的端面紧密接触,压头与试块的侧面包裹着隔离套。压头的A部分外侧面、隔离套内表面是密封面,要满足液压密封的要求。压头内部以及A部分的端部可以设置承压、承拉或拉压球铰。

标签:
探矿技术
北京 - 北京 来源:中冶有色网 2023-03-04
水下边坡勘测多源数据融合及集成显示系统及方法

本发明提供了一种水下边坡勘测多源数据融合及集成显示系统及方法,包括:数据采集与传输模块、数据提取模块、数据管理模块、数据分析与处理模块、水下边坡地理信息模块、水下边坡底质分类显示模块以及水下边坡地质信息模块:根据解译分析的数据揭示区域地层信息及构筑物内部缺陷。通过建立数据仓库系统对多波束测深数据、侧扫声纳数据、地震数据的统一管理。实现了多源数据融合及集成显示,系统架构统一,性能稳定可靠,分布式系统间可实现无缝集成,互操作性强。

标签:
探矿技术
上海 - 上海 来源:中冶有色网 2023-03-04
上一页 507 508 509 510 511 ... 1545 下一页
共1545页    到第

中冶有色为您提供最新的有色金属探矿技术理论与应用信息,涵盖发明专利、权利要求、说明书、技术领域、背景技术、实用新型内容及具体实施方式等有色技术内容。打造最具专业性的有色金属技术理论与应用平台!

全国热门有色金属设备推荐
展开更多 +
全国热门有色金属技术推荐
展开更多 +

 

江西省隆恩特环保设备有限公司
宣传

报名参会
更多+

报告下载

有色专家
更多+

重庆理工大学
教授
南京理工大学、中国科学院
院士
昆明冶金研究院有限公司
党委书记、执行董事
中国铝业集团有限公司
中国铝业股份有限公司党委书记
中国工程院 / 中南大学
中国工程院 院士
赤泥综合利用研究报告2025
推广

热门技术
更多+

推荐企业
更多+

福建省金龙稀土股份有限公司
宣传

发布

在线客服

公众号

电话

顶部
咨询电话:
010-88793500-807