青岛垚鑫智能科技有限公司
宣传

位置:北方有色 >

有色技术频道 >

> 化学分析技术

分类:
全部
矿山技术
冶金技术
材料制备及加工技术
环境保护技术
分析检测技术
 
全部
物理检测技术
化学分析技术
力学检测技术
无损检测技术
失效分析技术
环境检测技术
地区:
全部
北京
天津
上海
重庆
河北
山西
辽宁
吉林
黑龙江
江苏
浙江
安徽
福建
江西
山东
河南
湖北
湖南
广东
海南
四川
贵州
云南
陕西
甘肃
青海
内蒙
广西
西藏
宁夏
新疆
其他
其他
展开
 
全部
济南
青岛
淄博
枣庄
东营
烟台
潍坊
济宁
泰安
威海
日照
滨州
德州
聊城
临沂
菏泽

山东济南有色金属化学分析技术理论与应用

免费发布技术信息>>
检验科用化学试剂方便取样装置

一种检验科用化学试剂方便取样装置,属于医疗器械装置技术领域。当医院检验科的医务人员在做化验时取化学试剂或尿样操作较麻烦。该实用新型的技术方案为:广口接化学试剂杯(7)的上端口上设置有倒化学试剂口(11),在广口接化学试剂杯(7)的底盘上开有漏化学试剂孔(8),宽密封导向圆环盘(2)固定在顶压可移动管柱(3)的外周边上,在它们外安装有固定导向管壳(4),固定导向管壳(4)的上端口与广口接化学试剂杯(7)的底盘固定连接,在顶压可移动管柱(3)上开有出化学试剂孔(1)。它的优点是:使用它操作简单卫生避免了化学试剂或尿液洒漏大大方便了医务人员。

标签:
化学分析
山东 - 济南 来源:北方有色网 2023-03-19
双抑制电致化学发光传感器及测定草甘膦的方法

本发明涉及农残分析测定技术领域,特别是涉及一种双抑制电致化学发光传感器以及用其测定草甘膦的方法,包括双抑制传感器制备步骤和使用该传感器测定草甘膦的操作方法等;这种双抑制传感器,利用了酶促反应和铜络合物类过氧化酶催化作用,是两种信号转换方式的结合而产生协同效应,有效提高传感器的检测灵敏度;用于草甘膦的检测,共存物质的干扰小,选择性好,灵敏度高。

标签:
化学分析
山东 - 济南 来源:北方有色网 2023-03-19
化学检验专用滴定管
化学检验专用滴定管 1119     
 0

本实用新型提供了一种化学检验专用滴定管,主体为滴定管,包括玻璃管体和玻璃管体底部的控制活塞,玻璃管体外侧表面设有两条与玻璃管体等高的滑轨A和滑轨B,滑轨A和滑轨B下表面与玻璃管体外壁固定连接,上表面处在相同平面上,滑轨A和滑轨B之间设置有刻度线,滑轨A和滑轨B上活动连接光学放大装置。可以较为容易的从光学放大装置上读到准确的读数,提高滴定管的实用性。本实用新型中光学放大装置上边缘固定安装水平仪,由此可以容易的看出滴定管是否防止平稳,进一步减少人为误差。该实用新型中玻璃管体底部设有支管,支管距离玻璃管体底部10~30mm,使滴定管中液体充分沉淀,保证量测出来的液体的纯净。

标签:
化学分析
山东 - 济南 来源:北方有色网 2023-03-19
基于硫代胆碱共反应促进剂电致化学发光适配体传感器及测定毒死蜱的方法

本发明涉及农残分析测定技术领域,特别是涉及一种基于硫代胆碱共反应促进剂电致化学发光适配体传感器及测定毒死蜱的方法,包括毒死蜱电致化学发光适配体传感器的制备步骤、使用该传感器测定毒死蜱的操作方法等;以酶解反应产生的硫代胆碱作为电致发光体系的共反应促进剂,构建适配体传感器用于检测农残毒死蜱,简捷快速,特异性好、灵敏度高。

标签:
化学分析
山东 - 济南 来源:北方有色网 2023-03-19
双信号电化学适配体传感器及测定啶虫脒的方法

本发明涉及农残分析测定技术领域,特别是涉及一种基于多孔Cu‑MOF纳米材料的双信号传感器以及用其测定啶虫脒的方法,包括双信号传感器制备步骤和使用该传感器测定啶虫脒的操作方法等;这种传感器是以Cu‑MOF自身的电化学信号及DNA自产生电流两个电化学信号输出,可检测啶虫脒含量,构建过程简捷快速,准确度高,灵敏度好。

标签:
化学分析
山东 - 济南 来源:北方有色网 2023-03-19
测定甲胎蛋白的电化学免疫传感器的制备方法

一种测定甲胎蛋白的电化学免疫传感器的制备方法,尤其是基于金杂化的纳米介孔SiO2复合材料的甲胎蛋白的电化学免疫传感器的制备方法。并采用该免疫传感器建立了甲胎蛋白的测定方法。其特征在于:首先合成纳米介孔SiO2-纳米金复合材料,将辣根过氧化物酶、第二抗体固定到该复合材料上形成了复合物;然后将硫堇-石墨烯复合物用于一抗的固定,从而制备了测定甲胎蛋白的电化学免疫传感器,该免疫传感器成功地用于甲胎蛋白的测定。本发明的电化学免疫传感器表现出了优良的准确性、高灵敏度性、稳定性与重现性,免疫分析检测迅速、方便,可用于临床分析,为癌症的早期诊断提供了重要的依据。

标签:
化学分析
山东 - 济南 来源:北方有色网 2023-03-19
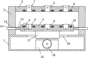
水文地质化学检验用试管振荡装置

本实用新型公开了一种水文地质化学检验用试管振荡装置,涉及水文地质化学检测器具技术领域。本实用新型包括一用于承载电动小马达的支撑座,所述支撑座位于所述电动小马达输出轴处通过轴承连接有一公转盘,所述公转盘内侧环形设置有多个与水平面形成夹角的自转夹管组件,所述多个自转夹管组件远离地面一端分别固定连接有一自转齿轮,还包括一与多个所述自转齿轮啮合且固定在所述支撑座上的固定齿轮。本实用新型通过多个自转夹管组件实现了多个试管同时振荡,减轻了实验人员的负担同时通过自转夹管组件自转与公转盘带动自转夹管组件公转,使得化学反应更加充分。

标签:
化学分析
山东 - 济南 来源:北方有色网 2023-03-19
机组检修化学监督检查包

本实用新型涉及一种机组检修化学监督检查包,包括外壳正面、外壳背面、外壳软脊和封装拉链,所述外壳正面的一条边和所述外壳背面的一条边分别与所述外壳软脊连接,所述封装拉链设置在所述外壳正面和所述外壳背面的另外三条边上;该检查包至少包括一片工具页,所述工具页设置在所述外壳正面与所述外壳背面形成的空间内,且所述工具页的一条边与所述外壳软脊连接。该化学监督检查包的结构简单、携带灵活,可实现定置管理各类检查工具,功能多且实用。

标签:
化学分析
山东 - 济南 来源:北方有色网 2023-03-19
光谱化学需氧量传感器及医疗废水中化学需氧量监测系统

本发明公开了一种光谱化学需氧量传感器及医疗废水中化学需氧量监测系统。其中,一种光谱化学需氧量传感器,所述光谱化学需氧量传感器上配置有测试窗口,其特征在于,所述测试窗口外侧安装有清洁装置。其降低了测试数据的偏差,保证了检测数据的准确度。

标签:
化学分析
山东 - 济南 来源:北方有色网 2023-03-19
基于药品检验溶解分析装置

本实用新型涉及药品检验分析装置技术领域,具体是一种基于药品检验溶解分析装置,所述溶解罐的底部固定连接有支撑架,且溶解罐的上侧中心处连通设有下药管,所述下药管远离溶解罐的一端连通设置有粉碎箱,且粉碎箱中设有粉碎机构,所述溶解罐的上侧连通设有试剂入口,且溶解罐中设有搅拌机构,所述溶解罐的底部中心处连通设有出药口。本实用新型中,通过设置粉碎机构,可将药品进行挤压粉碎,以便药品溶解效率更快,设置加热器和加热盘管可对药品试剂进行加热,提供化学反应的条件,设置搅拌机构可对药品试剂进行搅拌,混合溶解速度更快,溶解更均匀,本装置结构紧凑,使用方便,体型小,便于携带。

标签:
化学分析
山东 - 济南 来源:北方有色网 2023-03-19
可视化检测端粒酶的光电化学生物传感器的构建方法

本发明公开了一种基于二氧化钛纳米矩阵‑石墨相氮化碳纳米片(TiO2‑C3N4)异质结光电材料的合成,并结合G‑四联体信号放大策略实现可视化和特异性灵敏检测端粒酶。首先利用水热法合成TiO2‑C3N4异质结,有效地促进载流子分离与空穴传输,产生的光电流密度分别比普通TiO2和原始石墨相氮化碳纳米片(g‑C3NNSs)显著提高12倍和35倍。同时引入了催化发夹组装(CHA)的无酶信号放大策略,在引入端粒酶后,端粒酶延伸产物特异性地触发环状CHA并导致G‑四链体/血红素DNA酶的连续形成,另外结合3,3’,5,5’‑四甲基联苯胺(TMB)的氧化颜色变化和光电流的输出,实现了方便和精准的信号读出,表现出优异的灵敏度,有望在癌症诊断和治疗中提供巨大的潜在应用。

标签:
化学分析
山东 - 济南 来源:北方有色网 2023-03-19
检测ATP的电化学传感器及其制备方法

本发明涉及生物传感器技术领域,特别涉及ATP拉近Apt‑1与Apt‑2及分支HCR扩增信号检测ATP的生物传感器,在电极上依次修饰有CP‑SH层、AP层、HP1‑HP2‑HP3‑HP4层、[Ru(NH3)6]3+层。制备方法:对电极进行预处理;将CP‑SH层修饰到电极表面;将AP层修饰到电极表面,将HP1‑HP2‑HP3‑HP4层修饰到电极表面,将[Ru(NH3)6]3+层修饰到电极表面。利用了适配体的特异性识别实现了对目标物ATP的高特异性检测;利用ATP对两个适配体的拉近作用,实现了目标物的循环利用,起到了第一步信号增大的作用。并利用分支HCR,起到了信号继续增强的作用。

标签:
化学分析
山东 - 济南 来源:北方有色网 2023-03-19
基于核酸适配体检测卡那霉素的电化学传感器及其制备方法

本发明涉及基于目标物诱导的核酸适配体构象变化检测卡那霉素的生物传感器,本发明采用在电极上依次修饰有HAP2层,Helper层,均相反应混合液的方法制备而成。本发明利用了核酸适配体的特异型识别,利用卡那霉素的aptamer作为识别物质实现了对目标物卡那霉素的高特异性检测;利用核酸工具酶,实现了目标物的循环利用,起到了信号放大的作用,从而提高了检测灵敏度。

标签:
化学分析
山东 - 济南 来源:北方有色网 2023-03-19
检测赭曲霉毒素A的电化学生物传感器及其制备方法

本发明涉及生物传感器技术领域,特别涉及OTA特异识别的拱形探针及CHA和链置换等温循环放大检测OTA的生物传感器,为了解决以上现有技术中检测OTA的方法特异性和灵敏度都比较低、成本高的问题。一种检测OTA的生物传感器,在电极上依次修饰有ST‑BK‑S1层、aptamer‑T‑HP1‑HP2‑HP3‑F层、血红素层。制备方法:对电极进行预处理;将ST‑BK‑S1层修饰到电极表面;将aptamer‑T‑HP1‑HP2‑HP3‑F层修饰到电极表面;将血红素层修饰到电极表面。利用了OTA的特异性识别实现了对目标物OTA的高特异性检测;利用CHA反应和链置换等温放大技术,实现了目标物信号的两步放大。

标签:
化学分析
山东 - 济南 来源:北方有色网 2023-03-19
检测miRNA的电化学生物传感器及其制备方法与应用

本发明涉及生物传感器技术领域,特别涉及miRNA特异识别的S及其构象改变和滚环等温循环放大检测miRNA的生物传感器,为了解决以上现有技术中检测miRNA的方法特异性和灵敏度都比较低、成本高的问题。一种检测miRNA的生物传感器,在电极上依次修饰有S1层、RCA产物层。制备方法:对电极进行预处理;将S1层修饰到电极表面;将RCA产物层修饰到电极表面。利用了miRNA的特异性识别实现了对目标物的高特异性检测;利用DNAzyme和滚环等温放大技术,实现了目标物信号的三步放大。

标签:
化学分析
山东 - 济南 来源:北方有色网 2023-03-19
点击化学介导的单量子点纳米传感器及检测miRNAs的方法与应用

本发明公开了一种点击化学介导的单量子点纳米传感器,包括:DNA探针1和DNA探针2,DNA探针1的一端与DNA探针2的一端能够通过点击化学反应连接,连接后的DNA探针1和DNA探针2能够与待测miRNAs互补;DNA探针3和DNA探针4,DNA探针3的一端与DNA探针4的一端能够通过点击化学反应连接,连接后的DNA探针3和DNA探针4能够与连接后的DNA探针1和DNA探针2互补;捕获探针和报告探针,捕获探针和报告探针能够同时与连接后的DNA探针1和DNA探针2互补,报告探针连接荧光团;单量子点,单量子点能够与捕获探针自组装连接,且单量子点能够与所述荧光团产生荧光共振能量转移。

标签:
化学分析
山东 - 济南 来源:北方有色网 2023-03-19
化学检测试验用试管支架

本实用新型公开了一种化学检测试验用试管支架,包括支架底座,定撑板表面均匀开设有三组第一安装口,第一安装口内设置有套筒,动撑板表面对应于第一安装口位置均开设有第二安装口,第二安装口内均设置有杯筒,伺服电机的输出轴上固定套设有齿轮,横板下表面均匀开设有多组卡齿槽,齿轮与卡齿槽相互啮合。启动伺服电机,使试管能够往复产生左右倾斜运动,使试管内液体发生晃动,试管倾斜时,套筒和杯筒也能够随之发生倾斜,能够避免试管发生倾斜时损伤破碎的现象,提高了震荡试验的安全性,同时也提高了震荡试验的效果。

标签:
化学分析
山东 - 济南 来源:北方有色网 2023-03-19
用于化学剂液检测的快速搅拌调匀装置

本实用新型公开了一种用于化学剂液检测的快速搅拌调匀装置,包括支撑底座,支撑底座的上座面右端位置处一体固定有竖直侧挡柱,搅拌调匀箱与竖直侧挡柱之间通过若干组弹性压簧连接在一起,一号皮带座与二号皮带座之间通过防滑传动皮带传动连接在一起,在两组支撑导向架的顶部呈水平状态适配穿设有动力推拉杆,动力推拉杆的杆体外部呈水平状态适配套设有缓冲弹簧,在动力推拉杆的左侧同一水平线上还设置有凸轮体,定滑轮体的左端面适配抵触在凸轮体的轮边上。本实用新型相比于传统的单轴搅拌装置的剂液处理效果更优异,相比于传统静置式的搅拌处理效果更优异,剂液的处理品质更优异。

标签:
化学分析
山东 - 济南 来源:北方有色网 2023-03-19
现场金相检测专用化学药品箱

本实用新型公开了一种现场金相检测专用化学药品箱,包括药品箱;所述药品箱包括箱体和箱盖;所述箱体与箱盖转动连接;所述箱体内填充有硬质泡沫塑料;所述硬质泡沫塑料上设计有若干专用槽;所述箱盖上设计有提手。通过在箱体内填充硬质泡沫塑料,在硬质泡沫塑料设计各种专用槽及对应的试剂瓶,使得工具和化学药品携带更加方便,药品容易区分,而且药品不会发生倾泻的问题;通过将药品箱的8个角设计成圆角,且在圆角上包裹不锈钢铁皮,不仅保证药品箱的坚固,又能保证携带时的安全。

标签:
化学分析
山东 - 济南 来源:北方有色网 2023-03-19
用于诊断肺癌的Tipe3免疫组织化学检测试剂盒

本发明公开了一种用于诊断肺癌的Tipe3免疫组织化学检测试剂盒,内容物中包括:灭活人组织切片中内源性过氧化物酶和生物素的试剂,阻断人组织切片中交叉蛋白反应非特异性染色的非特异性蛋白阻断剂,与人体组织抗原结合的兔抗人的初始抗体以及抗体稀释液,能与初始抗体连接的辣根过氧化物酶标记的山羊抗兔单克隆连接抗体,能与辣根过氧化物酶反应并显色的显色试剂,能特异性对组织中细胞核染色的试剂。TIPE3在各种病理类型肺癌中均呈阳性表达,且在肿瘤早期就能够检测发现且特异性强,敏感度高,能够应用于肺癌的早期诊断,使患者能够得到有效,及时的治疗,减少患者不必要的医疗费用支出,提高患者的生存质量和延长生存时间,使发生肺癌的患者生存率增加。

标签:
化学分析
山东 - 济南 来源:北方有色网 2023-03-19
多氢键电化学传感器及其制备方法和在三聚氰胺检测中的应用

本发明涉及一种多氢键电化学传感器及其制备方法和在三聚氰胺检测中的应用,在SiO2纳米颗粒表面用3-氨丙基三乙氧基硅烷、戊二醛修饰并接入功能单体6-氨基脲嘧啶,以三聚氰胺作为模板分子,与甲基丙烯酸、引发剂及交联剂聚合反应制得分子印迹核壳纳米颗粒;将还原型氧化石墨烯的悬浊液与离子液体的DMF溶液混合制成修饰剂,取该修饰剂修饰玻碳电极,再将分子印迹核壳纳米颗粒配成悬浊液,滴涂到前面得到的电极表面制得传感器。本发明分子印迹聚合物具有很高的选择性,石墨烯和离子液体的联合使用,也提高了本发明中传感器的电化学信号,从而辅助三氢键分子印迹技术更好的发挥作用,实现更高的灵敏度和精确性。

标签:
化学分析
山东 - 济南 来源:北方有色网 2023-03-19
用于检测微囊藻毒素LR的光电化学传感器的制备方法

本发明涉及一种用于检测微囊藻毒素LR的光电化学传感器的制备方法,并将其应用于湖水中微囊藻毒素LR的检测。本发明采用Ti3C2Tx负载的TiO2纳米阵列作为光敏基底材料,TiO2性能稳定,价格低廉,而Ti3C2Tx具有类似于金属的性质,具有优异的导电性与较强的表面等离子体共振,能够有效改善TiO2的电子空穴复合并提升其可见光响应。本发明所采用的材料复合方案保留了TiO2纳米阵列的微观结构,使其能够作为良好的传感载体保证信号输出的稳定性,通过离子束溅射引入金纳米离子,为适配体的固定提供了更多活性位点,而微囊藻毒素LR更是作为一种天然的电子供体实现了由自身浓度到可视化光电流信号的传感转换。

标签:
化学分析
山东 - 济南 来源:北方有色网 2023-03-19
检测癌胚抗原的光电化学免疫传感器的制备及应用

本发明公开了一种检测癌胚抗原的光电化学免疫传感器的制备及应用研究。在掺杂氟的二氧化锡透明导电玻璃上生长三维分层结构的氧化锌纳米棒‑纳米片,利用其负载大量的锰掺杂的硫化镉量子点和识别癌胚抗原的适配体及与适配体杂交的标记有碲化镉/硒化镉核壳量子点的DNA探针,形成基于氧化锌的多元敏化结构,实现最初的信号放大;结合癌胚抗原特异性识别适配体使DNA探针解杂交脱离电极表面产生的减弱的敏化作用及癌胚抗原与适配体形成的共轭物自身的空间位阻效应,实现进一步的信号放大,进而实现对癌胚抗原的灵敏检测。

标签:
化学分析
山东 - 济南 来源:北方有色网 2023-03-19
新型的综合化学氧化法检测血总胆红素

本发明涉及一种新型的综合化学氧化法检测血总胆红素检测试剂,其特征在于,包括试剂R1和试剂R2,试剂1中的主要成分为缓冲液、加速剂、表面活性剂、防腐剂、离子平衡剂;试剂2中主要有缓冲液、过苯甲酸钠、过硫酸钠、掩蔽剂、防腐剂、表面活性剂;本发明优先采用了过苯甲酸钠作为主要氧化剂,使用过硫酸钠作为辅助氧化剂,再加上适当的加速剂和表面活性剂的选择,使试剂具有准确性高、抗干扰能力强、线性宽等优点,并且成本很低,非常利于市场的推广和应用。

标签:
化学分析
山东 - 济南 来源:北方有色网 2023-03-19
呋喃唑酮的化学发光酶联免疫检测试剂盒

本发明公开了一种呋喃唑酮的化学发光酶联免疫检测试剂盒,包括盒体,设在盒体内的酶标板和设在盒体内试剂;其中所述酶标板的各孔包被有包被抗原,包被抗原由呋喃唑酮的代谢物3-氨基-2-唑酮与卵清蛋白偶联制成;所述试剂包括:呋喃唑酮的多克隆抗体、酶标二抗即辣根过氧化酶标记的羊抗兔的抗体、呋喃唑酮系列标准溶液、浓缩磷酸盐缓冲液、浓缩洗涤液、发光液。本发明的试剂盒具有灵敏度高、重复性好、简便快速、准确的特点,与传统的比色ELISA法比较,灵敏度可以提高一个数量级,有望在畜牧养殖用水、饲料和动物源性食品(如奶样、动物组织样、尿样)的呋喃唑酮残留检测中发挥重要作用。

标签:
化学分析
山东 - 济南 来源:北方有色网 2023-03-19
检测鼠伤寒沙门氏菌的电化学生物传感器及其制备方法

本发明涉及生物传感器技术领域,特别涉及检测鼠伤寒沙门氏菌的电化学生物传感器,并提供了其制备方法。本发明是由以下步骤制备而成的:在电极上依次修饰有HAP2层,均相反应混合液。本发明利用了核酸适配体的特异性识别,利用鼠伤寒沙门氏菌的aptamer作为识别物质实现了对目标物鼠伤寒沙门氏菌的高特异性检测;利用核酸工具酶,实现了目标物的循环利用,起到了信号放大的作用。

标签:
化学分析
山东 - 济南 来源:北方有色网 2023-03-19
呋喃妥因的化学发光酶联免疫检测试剂盒

本发明公开了一种呋喃妥因的化学发光酶联免疫检测试剂盒,包括盒体,设在盒体内的酶标板和设在盒体内试剂;其中所述酶标板的各孔包被有包被抗原,包被抗原由呋喃妥因的代谢物1-氨基乙内酰胺(AHD)与载体蛋白偶联制成;所述试剂包括:呋喃妥因的多克隆抗体、酶标二抗即辣根过氧化酶标记的羊抗兔的抗体、呋喃妥因系列标准溶液、浓缩磷酸盐缓冲液、浓缩洗涤液、发光液。本发明的试剂盒具有灵敏度高、重复性好、简便快速、准确的特点,与传统的比色ELISA法比较,灵敏度可以提高一个数量级,有望在畜牧养殖用水、饲料和动物源性食品(如奶样、动物组织样、尿样)的呋喃妥因残留检测中发挥重要作用。

标签:
化学分析
山东 - 济南 来源:北方有色网 2023-03-19
检测microRNA的纸基比率光电化学生物传感器的制备方法

本发明公开了一种用于检测microRNA的纸基比率光电化学生物传感器的制备方法。在由工作电极和内参比电极组成的纸基双电极表面生长金纳米粒子,随后电沉积氧化亚铜并敏化石墨烯量子点和碘化银纳米粒子,增强光电流信号;在目标microRNA存在时,将不同浓度和恒定浓度microRNA诱导的双链特异性核酸酶反应输出的DNA探针分别孵化在工作电极和内参比电极表面,其联合DNA桥接链和电极表面的DNA发夹H1和H2诱导形成DNA桥纳米结构,导致标记在H1和H2端部的碘化银纳米粒子远离电极表面,降低光电流信号,基于工作电流信号和内参比电流信号的比值,实现对microRNA的灵敏检测。

标签:
化学分析
山东 - 济南 来源:北方有色网 2023-03-19
检测凝血酶的纸基光致电化学免疫传感器的构建方法

本发明公开了一种基于二氧化钛‑钒酸铋异质结微流控纸芯片光致电化学免疫传感器的构建方法,实现低浓度凝血酶的定量检测。利用蜡打印和激光切割技术在纸上确定亲疏水区域,并借助丝网印刷技术,印制三电极。利用水热法合成二氧化钛‑钒酸铋异质结,实现有效地促进载流子分离,产生较强的光电流信号。将硫化铅量子点‑发夹结构3连接到二氧化钛‑钒酸铋异质结表面,当凝血酶存在时,通过核酸内切酶辅助的信号放大策略及杂交链式反应,改变硫化铅量子点与异质结间的距离,实现对凝血酶高灵敏检测。

标签:
化学分析
山东 - 济南 来源:北方有色网 2023-03-19
沙丁胺醇的化学发光酶联免疫检测试剂盒

本发明公开了一种沙丁胺醇的化学发光酶联免疫检测试剂盒,包括盒体,设在盒体内的各孔包被有以克伦特罗与卵清蛋白偶联制成的包被抗原的酶标板和设在盒体内的沙丁胺醇的多克隆抗体、酶标二抗即辣根过氧化酶标记的羊抗兔的抗体、沙丁胺醇系列标准溶液、浓缩磷酸盐缓冲液、浓缩洗涤液、发光液。本发明的试剂盒具有灵敏度高、重复性好、简便快速、准确的特点,与传统的比色ELISA法比较,灵敏度可以提高一个数量级,有望在动物源性食品(如奶样、动物组织样)和尿样的沙丁胺醇残留检测中发挥重要作用。

标签:
化学分析
山东 - 济南 来源:北方有色网 2023-03-19
上一页 46 47 48 49 50 ... 59 下一页
共59页    到第

北方有色为您提供最新的山东济南有色金属化学分析技术理论与应用信息,涵盖发明专利、权利要求、说明书、技术领域、背景技术、实用新型内容及具体实施方式等有色技术内容。打造最具专业性的有色金属技术理论与应用平台!

全国热门有色金属设备推荐
展开更多 +
全国热门有色金属技术推荐
展开更多 +

 

江西省隆恩特环保设备有限公司
宣传

报名参会
更多+

报告下载

有色专家
更多+

中南大学
中国工程院 院士
湖南有色金属研究院
教授级高工/原总工程师
中冶沈勘秦皇岛工程技术有限公司
原矿山院院长/教授级高工
武汉科技大学
院长 / 教授
中南大学
教授、博士生导师
赤泥综合利用研究报告2025
推广

热门技术
更多+

推荐企业
更多+

福建省金龙稀土股份有限公司
宣传

发布

在线客服

公众号

电话

顶部
咨询电话:
010-88793500-807