 
						
					 1185
 1185								    
								 0
 0
    							本实用新型涉及一种方便放置的岩土工程勘察信息化集成监管设备,其不同之处在于:其包括柜体本体、万向轮、万向轮升降机构、底板、底板升降机构、及底座;底座下表面开设有升降口;万向轮升降机构设置在底座内且下端安装有四个万向轮,驱动四个万向轮同时向上移动或同时向下移动,使向上移动后的四个万向轮的下表面与底座下表面均位于同一水平面,使向下移动后的四个万向轮伸出升降口外;底板升降机构设置在底座内且下端安装有底板,驱动底板向下移动或向上移动,使向下移动后的底板的下表面与底座下表面位于同一水平面,使向上移动后的底板缩回升降口内。本实用新型勘察地质时可保证稳定放置,不勘察地质时方便移动。
 
						
					 776
 776								    
								 0
 0
    							本实用新型本提供了一种可同时测定给水度及渗透系数的岩土参数性质测定仪,包括防蒸发及拍气装置、实验段、水位观测装置、可控水头供水装置、可控水头排水装置和水头调节固定装置。本实用新型结构简单,使用方便,可同时准确测定岩土的渗透系数与给水度,具有广泛的应用前景。如可以广泛用水文地质研究中,作为教学仪器有助于学生更好理解给水度与渗透性的测定原理;而在生产中可以在地下水资源平衡计算、潜水动态预测、浅层地下水可开采量计算、农田排水沟、暗管沟深、间距计算、农田灌溉与排水计算、灌溉入渗补给系数、降雨入渗补给系数等水文地质参数计算,以及与地下水有关的各类研究中。
 
						
					 1119
 1119								    
								 0
 0
    							本实用新型涉及一种用于溶洞地区桥梁桩基施工的多护筒结构,包括内护筒、外一护筒、外二护筒和地质结构,所述地质结构内设置有内护筒,且内护筒由第一上护筒和下护筒组成,所述内护筒的外侧设置有外一护筒,且外一护筒由第二上护筒和第二下护筒组成,所述外一护筒的外侧安装有外二护筒,且外二护筒由第三上护筒和第三下护筒组成。该用于溶洞地区桥梁桩基施工的多护筒结构通过在护筒顶端焊接上连接圈,底端焊接下连接圈,使得多个护筒之间能够螺纹连接,拆装方便,便于护筒的回收利用,装置通过在第一、第二、第三上护筒顶部焊接吊耳,使得装置更便于抽出,方便拔出回收。
 
						
					 1205
 1205								    
								 0
 0
    							本实用新型属于地质勘探技术领域,尤其是一种隧道深孔钻探测量水位的装置,针对现有的测量水位的装置设置较多的电气构件,设计结构复杂,生产成本高,进而导致实用性低的问题,现提出如下方案,其包括固定安装在钻孔顶部的对称设置的两个支撑杆,其特征在于,两个支撑杆的顶部均固定安装有固定盘,且两个固定盘相互靠近的一侧均转动连接有收线轴,所述收线轴的外侧绕设有皮尺,所述皮尺远离收线轴的一端延伸至钻孔内,所述收线轴的一端贯穿固定盘的一侧并固定连接有旋转轴,所述旋转轴上固定连接有动力组件;本实用新型中操作简单,具有测量地质勘探钻孔内的水位精度高的特点,结构设计巧妙,生产成本低,具有较强的实用性。
 
						
					 981
 981								    
								 0
 0
    							本实用新型涉及地质勘察设备技术领域,具体是一种岩土工程勘察用便捷取样设备,包括有十字支撑架,所述十字支撑架的末端滑动连接有多组插杆,所述十字支撑架的底部设置有一组轴承,所述轴承上转动连接有一组转动管,所述转动管的内部设置有一组自动取样组件,所述转动管的上方设置有一组驱动组件,本实用新型能够对不同地质的岩土进行钻孔取样,当钻头钻入适当的深度后,本装置还能够自动对该深度的岩土进行取样,并将岩土样品运送至地面上,使得使用者不需要将整个装置拔出,即可自动进行取样,一次取样后,钻头可继续向下挖掘,可对不同深度的岩土进行连续取样,以保证取过程的连续性。
 
						
					 886
 886								    
								 0
 0
    							本实用新型属于水文地质试验领域,涉及一种水文试验自动控制采集装置,包括抽水管、液位传感器、深井泵、温度传感器、电动V型调节阀、电磁流量计、自动采集系统、出水管、电缆线、抽水孔、观测孔、航空箱,自动采集系统由PLC控制器和触摸屏显示器组成。通过触摸屏显示器控制深井泵启动和停止,也可以自动调节电动V型调节阀阀门大小来控制出水量,使得出水量(Q),抽水孔水位降深(S),观测孔水位降深(S1),观测孔水位降深(S2)达到平衡。把现场的数据采集到便携式的精密仪表箱内进行实时监控,对在野外进行水文地质试验的工程技术人员提供了极大的便利,简化了以往抽水试验工作,也大大提高了野外水文数据的精度。
 
						
					 927
 927								    
								 0
 0
    							本实用新型公开了一种多层地下水位观测结构,包括深入地下的钻孔,钻孔中纵向设有多个与多层地下含水层一一对应的观测管,多个观测管呈梯级布置,每个观测管底部管壁设有与对应含水层相对应的网眼区,每个观测管网眼区与钻孔孔壁之间设有碎石层,每个碎石层顶部设有卡盘,每个卡盘顶部设有与隔水层对应的黏性土层,最浅的观测管对应的黏性土层顶部与地面持平,其余的黏性土层的顶部和底部分别与上一个含水层底部和下一个含水层顶部持平,在其余的黏性土层中,每一个黏性土层分别与上一个含水层对应的碎石层相连。本实用新型具有操作方便、能够有效获取复杂区域的多层地下水位空间分布特征的特点,可以广泛应用于水文地质与工程地质勘察领域。
 
						
					 1076
 1076								    
								 0
 0
    							本实用新型公开了一种水工隧洞开挖支护结构,包括大管棚,隧洞地势高一侧沿隧洞延伸方向设置有钻孔锚固桩,隧洞的洞口两侧设置有钻孔锚固桩,拱形的导向墙两端设置在隧洞的洞口两侧的钻孔锚固桩上,导向墙上设置有多个导向钢管,钢花管穿过导向钢管设置在隧洞开挖轮廓线外,小导管锚设在隧洞拱顶部,小导管朝隧洞前进方向与隧洞轴线呈设定外插角,小导管的外露端支撑在钢拱架上。本实用新型不用将地质条件较差的隧洞段大开挖,减少因明挖施工对自然环境的破坏,解决隧洞侧向山体偏压导致开挖隧洞时发生横向滑塌问题,避免人为地质灾害的发生,不影响隧洞施工区域其他施工作业及人们的生产生活。
 
						
					 1055
 1055								    
								 0
 0
    							一种超前导洞组合式TBM及掘进系统,涉及隧道及地下工程施工领域。超前导洞组合式TBM包括掘进方向相同的超前TBM和扩挖TBM,该超前导洞组合式TBM实现分部开挖,提高了复杂地质条件下深部地下洞室开挖的灵活性及适应性,且操作方便,有利于极端条件下的TBM自主脱困;超前TBM开挖使围岩更充分地提前释放能量,大幅降低岩爆风险,且便于在超前TBM上布置各种岩爆预处理措施和各种超前探测手段,从而实现防治岩爆和对复杂地质条件进行超前探测的目的;超前TBM开挖形成自由面,有利于提高总体破岩效率,降低综合能耗;减小开挖造成的围岩扰动和变形破坏,有效减轻由围岩大变形造成的TBM卡机,有利于保障人机安全。
 
						
					 1136
 1136								    
								 0
 0
    							本实用新型涉及一种酸性废水的预处理装置,它包括存储装置、预过滤装置、反应处理装置、第一收集装置和第二收集装置,存储装置通过进水管与预过滤装置相连通,进水管上设有流量计,预过滤装置与反应处理装置间通过连接管相连通,连接管中部通过回收管与第一收集装置连通,反应处理装置的末端连通设有出水管,出水管另一端连通第二收集装置,采用成本较低的水泥制样和产量较多的天然地质滤芯,有助于装置的大规模推广使用,酸性废水在水泥制样和地质滤芯中定向流动,可以将其中的大颗粒污染物和重金属去除掉,同时生成的金属氢氧化物可提高PH值,使得反应孔隙直径变小、数量变大、反应面积增加,加强了对重金属的过滤功能,预处理效果十分明显。
 
						
					 914
 914								    
								 0
 0
    							本实用新型公开了一种不易损坏的自钻式中空注浆锚杆,包括堵浆塞,所述堵浆塞的一侧设置有第一中空锚杆,所述第一中空锚杆的一侧设置有螺母,所述螺母的一侧设置有拱形垫板,所述拱形垫板的一侧设置有止浆塞,所述止浆塞上设置有透气口,所述止浆塞的另一侧设置有第二中空锚杆,所述第二中空锚杆的外部套设有第一锚杆外套筒。本实用新型使锚杆与岩体接触稳定,对注浆后的注浆结构整体性影响较小,保证了浆体的稳定性,在工作的时候能够扩大锚杆使用范围,使该锚杆在复杂地质工作的时候,减少因为地质内部含有的某些腐蚀性物质使锚杆受到腐蚀而容易断裂,测量锚杆预应力并确保锚杆安装有足够的预应力。
 
						
					 787
 787								    
								 0
 0
    							本实用新型公开了一种录井过程中非烃类气体连续检测分析仪,它涉及油气勘探开发地质录井过程气体监测领域,主控单元分别与CO2气体分析模块、CO气体分析模块、H2S气体分析模块和H2气体分析模块连接,人机交互操作显示屏与主控单元之间相互连接,主控单元与模拟信号输出单元、键盘、鼠标、打印机端口和网口串口单元之间相互连接,模拟信号输出单元与记录仪连接,后台服务器与综合录井仪主显示单元之间相互连接,综合录井仪主显示单元与网口串口单元之间相互连接。它结合长光程气体吸收池技术大大的降低的气体的检测限,结构简单、操作方便易于维护、寿命长,适合于在油气勘探开发地质录井过程中对油气中非烃类CO2、CO、H2S和H2等气体的连续检测。
 
						
					 1193
 1193								    
								 0
 0
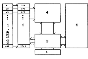
    							本实用新型涉及工程地质探测中使用的一种浅层地震测试仪。本实用新型采用了前置自动浮点放大,逻辑控制器,快速高分辨率的模数转换器和稳定性很高的工业控制计算机组成的高性能的一体化小型浅层浮点地震仪,它具有体积小,功耗低,四十八通道等功能,提高了测试仪器的使用效率,为工程地质结构和建筑地基稳定性和基础设计提供了可靠的依据。
 
						
					 1132
 1132								    
								 0
 0
    							本实用新型公开了一种二氧化碳-干热岩粉末反应的试验装置,涉及地壳深部二氧化碳地质封存的试验技术。本装置由二氧化碳气体增压系统(10)、核心反应系统(20)、冷井气水分离系统(30)和油浴恒温系统(40)组成;核心反应系统(20)包括补压容器(21)、反应釜(22)、吸附釜(23)、PID自动控压阀门(24)、导气管(25);冷井气水分离系统(30)包括冷井(31)、二级真空缓冲容器(32)、一级真空缓冲容器(33)、真空泵(34)和普通阀门(35)。本实用新型的数据测量十分简单,只需记录温度和压力等参数,便可计算得出反应消耗的二氧化碳量,可有效提高试验效率;能够为二氧化碳地质封存技术提供更为可靠的理论与试验依据。
 
						
					 988
 988								    
								 0
 0
    							本实用新型公开了一种光谱录井应用检测池,它涉及石油勘探开发地质录井气体检测池领域,样品气进气孔设置在检测池本体的内部一侧上方,检测池本体的内部另一侧下方设置有样品气出气孔,样品气出气孔通过样品气出气管与真空抽气泵的一端连接,检测池本体的外部一侧设置有湿度传感器和温度控制器,检测池本体内设置有温度传感器,温度传感器的连接线输出端与温度控制器连接,温度控制器与底部加热带连接,检测池本体的外部另一侧设置有压力传感器。它结构设计合理,操作简单,使用方便,体积小,使用稳定且易于维护,使光谱录井分析仪能够满足石油勘探开发地质录井过程中的低浓度气体的检测需要,提升光谱录井分析仪的检测能力。
 
						
					 750
 750								    
								 0
 0
    							本实用新型涉及一种轻便山地钻机,由底座、动力、液压站、井架四个部分组成,井架部分包括立柱、动力头、拖板滑栓、推进/提升装置和液压马达,钻架、液压站、动力都分别安装固定在底座上,动力头通过拖板滑栓与立柱相连,动力头与液压马达相连,液压马达通过两根液压胶管与液压站的操作阀相连;另一液压马达与推进/提升装置相连,推进/提升装置与拖板滑栓相连,该液压马达通过两根液压胶管与液压站的操作阀相连接。本实用新型结构简单合理、轻便小巧、便于搬运和安装,操作方便、两人操作即可完成钻井作业,能适应不同的地质条件。广泛应用于煤炭勘查、地质勘探、地球物理勘探、工程勘探等施工作业。
 
						
					 923
 923								    
								 0
 0
    							本实用新型涉及一种石油或地质钻井卡持钻杆的带滑槽多功能钻杆气动卡瓦,属钻井配套设备领域。它由卡瓦座、卡瓦体、动力缸、支撑盘、推拉杆、连接杆、配气销轴、刮泥托盘、刮泥盘及扶正环组成,卡瓦体置于卡瓦座内,卡瓦体通过燕尾凸槽与卡瓦座的燕尾凹槽连接;配气销轴从缸底部进气时,活塞上行,通过导向杆推动支撑盘上升,使四片卡瓦体的开口直径逐渐增至最大,让开钻柱通道,使钻柱上行。卡住钻杆时则通过配气销轴从动力缸上部进气,活塞下行,开口直径逐渐减小卡紧钻杆。解决了现有石油钻井起下钻作业时,采用双吊卡或单吊卡加手提式卡瓦的作业方式,工人劳动强度大,工作效率低,安全性差等问题。适用于石油或地质钻井起下钻杆及下放套管作业。
 
						
					 1087
 1087								    
								 0
 0
    							本实用新型提供了一种滑坡监测装置及系统,属于地质灾害监测领域。所述装置包括滑坡坡表监测装置、坡体钻孔监测装置、抗滑桩监测装置以及控制终端,通过所述滑坡坡表监测装置获取滑坡的状态变化情况、所述坡体钻孔监测装置获取所述滑坡的状态变化情况以及所述抗滑桩监测装置获取所述抗滑桩的状态变化情况,从而所述控制终端可以获取所述滑坡的状态变化情况及所述抗滑桩的状态变化,并对所述滑坡的状态变化情况及所述抗滑桩的状态变化情况进行监测,从而建立一个完成的滑坡监测体系,能够有效防控滑坡地质灾害的发生,提高工程建设的安全性。
 
						
					 789
 789								    
								 0
 0
    							本实用新型公开了一种板桩码头拉杆悬吊稳定装置,其包括锚碇结构和板桩墙,所述锚碇结构和所述板桩墙之间设置有拉杆;所述拉杆上方设置有悬锁;所述悬锁一端可拆卸地与所述板桩墙连接,另一端可拆卸地与所述锚碇结构连接;所述悬锁上还设置有用于悬吊拉杆的多个吊杆。本实用结构简单,安装、拆卸方便,速度快,成本低,不受海床地质条件影响;通过使用本实用新型,能够有效地克服海床地质条件对施工的影响,另外,整套装置结构简单,成本低廉,并可在岸上事先组装,现场吊杆安装及装置拆除也较为方便,大大减少了在时间,人力,物力上的投入,而操作时间的减少也使得对气候条件的适应性增强。
 
						
					 1217
 1217								    
								 0
 0
    							本实用新型涉及地质勘探技术领域,具体为一种便携式地基岩石勘测取样器,包括由主机、钻杆以及钻头装配而成的冲击式取样钻机,还包括框型承载底架的内侧沿设有多个均匀分布的支板,所述支板上架设有与主机可拆卸连接的直线伸缩组件。进行钻探取样的过程中,通过套筒和钻杆配合,有效减少主机在运行时的横向摆动,保证钻杆只能沿竖直方向线性移动,钻孔精度更高,保证钻头可以准确探入地质浅层区域取样,同时减少了钻杆的侧应力,降低了钻杆侧应力过大而断裂的可能性。
 
						
					 807
 807								    
								 0
 0
    							本实用新型提供的一种用于地理信息工程的灾害预警装置,包括主机箱,安装装置设置于主机箱的下侧,辅助检测装置设置于主机箱的上侧。本实用新型提供的一种用于地理信息工程的灾害预警装置具有结构体积设置合理实用,全外置结构均可调节向内收纳,极大的减少了总体积占用空间,方便物流运输的同时也便于实际安装拆卸,使得系统整体部署灵活,基于FeatureBase的地理信息系统技术和网络技术建立了融合通用地理信息功能与地质灾害预警预报业务功能的分布式软件系统,实现了地质灾害信息采集传输、管理分析、决策发布的一体化平台,整体系统运行稳定,能有效为职能部门提供辅助决策支持和信息发布服务,方便维护人员使用的优点。
 
						
					 775
 775								    
								 0
 0
    							本实用新型公开了一种接力式-双工作层电镀金刚石钻头。该钻头的工作层由上工作层(4)、下工作层(3)构成,二者之间由上水口(2)、下水口(1)分开。其上下两工作层规格相同,水口数量相等且相互错开,均匀分布。上下两工作层和内外保径层均由电镀金刚石层构成。本实用新型的双工作层结构有利于提高钻头的抗弯强度。用二次成型强化保径措施,大大提高了钻头的使用寿命,改变了电镀钻头不能用于绳索取芯钻探的传统观念。本实用新型可广泛用于地质勘探、科学钻探和水利水电等基础工程勘察、基础工程加固以及地质灾害的治理。
 
						
					 963
 963								    
								 0
 0
    							本实用新型公开了一种扁铲侧胀试验用变径探杆,该变径探杆内开设有走线通道,该变径探杆包括主杆、第一接头和第二接头;第一接头设于所述主杆一端,且其内壁上开设有用于螺接地质钻探钻杆的母扣螺纹,所述第一接头外侧壁上开设有出口,所述出口与所述走线通道连通,并用于从所述走线通道内引出扁铲侧胀试验气电一体管;第二接头设于所述主杆另一端,且其外径朝远离所述主杆方向逐渐减小,所述第二接头外表面设有用于螺接扁铲侧胀探头或扁铲侧胀试验探杆的公扣螺纹。本实用新型可以克服杆件直径不同的矛盾,实现地质钻探探杆与扁铲侧胀试验探头或扁铲侧胀试验探杆的对接。
 
						
					 1031
 1031								    
								 0
 0
    							本实用新型公开了一种波纹钢管涵洞填筑结构,包括设置在地面(5)上的路侧回填区(4),还包括设置在路侧回填区(4)内的结构性回填区(3)和设置在结构性回填区(3)内的波纹钢管(6),且波纹钢管(6)设置在砂垫层(1)上,砂垫层(1)的上表面与地面平齐,砂垫层(1)上设置有与波纹钢管(6)下部外形适配的凹陷,砂垫层(1)设置在底基层(2)上。该填筑结构克服了原有圬工涵洞刚性基础容易造成波纹钢管管壁破损的缺点,采用砂垫层加底基层的柔性基础填筑,并在软弱地质条件时采用土工布,有效防止波纹钢管的不均匀沉降。而且整个管身置于结构性回填区的保护中,能有效保护波纹钢管管身,并更吻合波纹钢管的柔性材料特性。该填筑结构适用于圆形、椭圆形和管拱形等各种形状的波纹钢管,也适用于管沟法或筑堤法施工。
 
						
					 1054
 1054								    
								 0
 0
    							本实用新型涉及地质钻探装置结构技术领域,具体地指一种半自动化多属性钻孔编录装置。包括伸入到井口内的探测装置和数据显示终端;所述的探测装置包括多个采集不同地质属性数据的探头;探头集成于探测装置上并通过采集端数据电缆与井口的投放支架连接;采集端数据电缆与缠绕在固定支架上的控制端数据电缆数据连接;所述的控制端数据电缆与数据显示终端数据连接。本实用新型通过将多探头测试与钻孔编录集成到一起,形成一套多属性钻孔半自动编录系统,解决了岩性判识困难、钻孔测试额外多次检测和钻孔质量监管三个方面的问题,能实现一举多得的效果。相比现行的分步分阶段操作的方法,不论从工作质量还是工作效果上均有质的提升。
 
						
					 1169
 1169								    
								 0
 0
    							本实用新型公开了一种加大限界富余量的地铁盾构隧道通用环衬砌结构,包括若干个单层衬砌圆环,所述的单层衬砌圆环由封顶块KT、第一邻接块B1T、第一标准块A1T、第二标准块A2T、第三标准块A3T和第二邻接块B2T顺序拼接而成,单层衬砌圆环为双侧楔形环。本实用新型既保证隧道在不良地质条件下发生沉降变形时的长期使用性能,又能够实现不良地质条件下施工过程中的动态纠偏,满足隧道线路拟合的要求。
 
						
					 1102
 1102								    
								 0
 0
    							本实用新型涉及一种高温高压流变性能测试仪,属模拟测试石油或地质钻井液流变性的设备技术领域。它由步进电机、外磁缸、内磁缸、外筒、内筒、加热器、釜体、液压油泵、计算机等构成,釜体下方设有外磁缸和步进电机,釜体内装有内磁缸和外筒,外筒顶部装有隔离圈,其上方设有上盖和扭矩传感器,釜体一侧设有液压油泵和计算机。工作时,步进电机带动外、内磁缸旋转,产生的旋转扭矩通过扭矩传感器输入计算机进行运算,并自动显示和打印出有关流变参数和绘制流变曲线。解决了现有流变性能测试仪结构复杂、密封面较多,密封件易磨损、老化、变形而造成密封压力不稳定,从而影响测试数据准确性的问题。特别适用于石油或地质钻井液的流变性模拟测试。
 
						
					 1011
 1011								    
								 0
 0
    							本实用新型公开了一种矿山边坡生态修复结构,涉及边坡生态修复装置领域,针对在矿山边坡的生态修复过程中,由于边坡地质结构较复杂,易产生水土流失现象或滑坡事故的问题,现提出如下方案,其包括多个结构相同的分区板,所述分区板上开设有多个呈纵向分布且贯通的滑槽,且所述滑槽内部均滑动设置有锁土锥,所述分区板上呈纵向贯穿设置有多个结构相同的定位螺栓,所述分区板上固定连接有多个上连接环,且所述锁土锥上固定连接有多个下连接环,相邻的两个所述分区板之间连接有多个结构相同的锁土网。本实用新型结构新颖,解决了在矿山边坡的生态修复过程中,由于边坡地质结构较复杂,易产生水土流失现象或滑坡事故的问题,适宜推广。
 
						
					 762
 762								    
								 0
 0
    							本实用新型公开了一种地下室基坑支护结构,涉及建筑施工技术领域,针对现有的基坑支护结构在使用时,由于一般较浅的基坑采用锚桩支护,导致在渗水地质环境下容易松动,支护效果差的问题,现提出如下方案,其包括支撑板和第一限位块,所述支撑板的远离第一限位块的一侧活动安装有多个呈阵列分布的第一锚柱,所述支撑板的顶端开设有凹槽,所述凹槽内固定安装有液压缸,所述凹槽内滑动安装有滑动板,所述滑动板的远离液压缸的一侧固定安装有多个呈阵列分布的固定柱。本实用新型结构新颖,解决了现有的基坑支护结构在使用时,由于一般较浅的基坑采用锚桩支护,导致在渗水地质环境下容易松动,支护效果差的问题,适宜推广。
中冶有色为您提供最新的湖北有色金属探矿技术理论与应用信息,涵盖发明专利、权利要求、说明书、技术领域、背景技术、实用新型内容及具体实施方式等有色技术内容。打造最具专业性的有色金属技术理论与应用平台!
 2025年11月07日 ~ 09日
 2025年11月07日 ~ 09日						 2025年11月14日 ~ 16日
 2025年11月14日 ~ 16日						 2025年11月14日 ~ 16日
 2025年11月14日 ~ 16日						 2025年11月14日 ~ 16日
 2025年11月14日 ~ 16日						 2025年11月21日 ~ 23日
 2025年11月21日 ~ 23日						 
