青岛垚鑫智能科技有限公司
宣传

位置:中冶有色 >

有色技术频道 >

> 探矿技术

分类:
全部
矿山技术
冶金技术
材料制备及加工技术
环境保护技术
分析检测技术
 
全部
探矿技术
采矿技术
选矿技术
通用技术
地区:
全部
北京
天津
上海
重庆
河北
山西
辽宁
吉林
黑龙江
江苏
浙江
安徽
福建
江西
山东
河南
湖北
湖南
广东
海南
四川
贵州
云南
陕西
甘肃
青海
内蒙
广西
西藏
宁夏
新疆
其他
其他
展开
 
全部
济南
青岛
淄博
枣庄
东营
烟台
潍坊
济宁
泰安
威海
日照
滨州
德州
聊城
临沂
菏泽

山东济南有色金属探矿技术理论与应用

免费发布技术信息>>
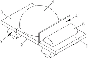
铁矿地质勘查用样品存放装置

本实用新型涉及地质勘查技术领域,尤其涉及一种铁矿地质勘查用样品存放装置,其结构包括:支撑架和位于支撑架上的放置箱,其中:所述支撑架包括三个竖直平行的支撑柱,三个所述支撑柱在水平方向组成直角三角形,所述支撑柱之间经支撑横杆连接且经放置板分成多层,所述放置板上设有适配的放置箱,所述放置箱的一个棱边固定套筒,所述套筒活动套在其中一个支撑柱上且相对支撑柱可旋转。本实用新型使用方便,便于运输,能进行有效分类,并防止运输途中的碰撞。

标签:
探矿技术
山东 - 济南 来源:中冶有色网 2023-02-27
地质勘测用无人机的拍摄机构

本实用新型公开了一种地质勘测用无人机的拍摄机构,包括开口向下的柱形空心壳体和固定架,所述柱形空心壳体的上表面开设有均匀分布的安装孔,所述柱形空心壳体的内部上端面设有调节固定架转向的调节件,所述固定架的底部设有电动推杆,电动推杆的伸缩端设有安装板,安装板的底部设有摄像头,电动推杆的输入端和摄像头的输入端均与外部无人机控制器的输出端电连接;柱形空心壳体的侧面下端设有弧形壳。该地质勘测用无人机的拍摄机构,结构简单,可以对摄像头进行多角度调节,调节范围广,并且可以在不使用的情况下对摄像头进行密封卡接保护,避免摄像头受到损坏,可以延长摄像头的使用寿命。

标签:
探矿技术
山东 - 济南 来源:中冶有色网 2023-02-27
隧道掘进机中主动源三维地震超前地质探测装置

本实用新型公开了一种隧道掘进机中主动源三维地震超前地质探测装置,包括掘进机刀盘以及与所述刀盘连接的掘进机主体,掘进机主体内设有主控室,主控室内设有控制器和多通道地震波数据采集仪;掘进机刀盘和掘进机主体前端分别设有震源系统;在掘进机主体工作面后方按照一定的空间观测方式设有数据采集系统;控制器分别与多通道地震波数据采集仪、震源系统和数据采集系统连接,多通道地震波数据采集仪与数据采集系统连接;本实用新型有益效果:实现震源和检波器系统的快速灵活自动布置,充分利用了掘进机检修时间,极大地提高了地质超前预报的工作效率,不干扰正常施工,节约了时间成本和经济成本。

标签:
探矿技术
山东 - 济南 来源:中冶有色网 2023-02-27
地质勘察取土装置
地质勘察取土装置 1450     
 0

本实用新型公开了一种地质勘察取土装置,涉及地质勘察技术领域,包括支撑底板、梯形稳定台和取样放置槽,所述取样放置槽,所述支撑底板的顶部外壁镶嵌有圆形螺孔,所述圆形螺孔的内壁活动连接有固定螺纹柱,所述固定螺纹柱的一端固定连接有旋转铁轮,所述支撑底板的一侧外壁固定连接有旋转调节钮,所述旋转调节钮的一侧外壁固定连接有旋转轴,所述旋转轴的外壁套接有固定联动块,所述旋转轴的外壁活动连接有转动杆,本实用新型通过固定连接使与之连接的支撑底板与地面的接触更加稳定,通过稳定使移动取土杆在进行取土时可以准确定位所需要取土的位置,避免出现歪斜等造成勘察的不准确,从而大大增加了工作人员的工作效率以及装置的使用广泛。

标签:
探矿技术
山东 - 济南 来源:中冶有色网 2023-02-27
地下水库的水文地质综合勘查方法及勘查系统

本发明公开了一种地下水库的水文地质综合勘查方法和勘查系统,系统包括若干置于勘测孔的勘测探头、分析系统和用于安装所述探测探头的辅助设备;辅助设备包括在勘测孔的上孔口内同轴安装的衬孔导直机构和穿过衬孔导直机构并进入勘测孔内的探头安装保护笼,探头安装保护笼包括若干同轴串接焊接的固定笼,固定笼内设置有探头固定座,勘测探头固定在探头固定座上;解决现有技术中勘测数据不准确的问题,通过探头安装保护笼的设置,在对勘测探头进行固定的同时,不会影响勘测孔、勘测井内水文环境,确保勘测精度和准确性,确保地下水库综合性水文地质勘测和分析的准确性,为地下水库的修建、维护和使用提供保障。

标签:
探矿技术
山东 - 济南 来源:中冶有色网 2023-02-27
地质勘查取样用破碎锤
地质勘查取样用破碎锤 1160     
 0

本发明公开了一种地质勘查取样用破碎锤,属于地质勘查技术领域,本发明可以通过对钎杆进行实时的偏移检测,一旦出现钎杆偏移一定距离后,便会与预设的触发球进行接触,由于钎杆的震动工作特性,与触发球之间形成反复的高速摩擦,从而生成大量的热量,在传递至中空预警球后,促使中热胀膜受热膨胀,然后推动预警柱穿过遮挡束的阻挡与内预警半球相接触,技术人员可以通过外透明环及时观察到标记情况,从而发现钎杆的偏移情况,同时对偏移方位具有一定的定位作用,可以及时采取维修措施来保护取样工作以及破碎锤本身,提高破碎锤的使用安全性以及其使用寿命。

标签:
探矿技术
山东 - 济南 来源:中冶有色网 2023-02-27
隧道超前地质预报炮孔填充堵塞装置及方法

本发明公开了一种隧道超前地质预报炮孔填充堵塞装置及方法,它解决了现有技术中炮孔爆破噪声大、灰尘大、封堵爆破效果差、浪费水源的问题,具有操作简单、爆破安全性高且能量利用率高的优点,其方案如下:一种隧道超前地质预报炮孔填充堵塞装置,包括设于炮孔内的充水封药水囊以防止炮轰波沿炸药与孔壁间隙的大量消散,充水封药水囊内设置炸药及雷管,雷管引线一端部设于炮孔外,在炮孔内充水封药水囊的一侧设有至少一充水封堵水囊,以阻挡炮轰波传出炮孔。

标签:
探矿技术
山东 - 济南 来源:中冶有色网 2023-02-27
隧道及地下工程地质灾害风险属性区间评价方法

本发明公开了本发明涉及一种隧道及地下工程地质灾害风险属性区间评价方法,评价步骤为:(1)建立风险评价指标体系及其分级标准;(2)构造评价指标的单指标属性测度函数;(3)确定风险区间评价指标的权向量;(4)确定评价指标的测量值区间,计算其单指标属性测度值;(5)根据综合属性测度向量,采用置信度准则进行属性识别。本发明有效考虑了隧道及地下工程地质条件的复杂性和风险的不确定性,不仅可以确定隧道及地下工程中灾害风险等级,还可以给出工程灾害各风险等级的发生概率,从而更好的实现工程灾害风险的定量评价。

标签:
探矿技术
山东 - 济南 来源:中冶有色网 2023-02-27
用于隧道衬砌结构病害检测的相控阵地质雷达及方法

本公开提供了一种用于隧道衬砌结构病害检测的相控阵地质雷达及方法,本公开通过控制天线阵列系统的位置,以及各天线的位置和角度,进行大角度扫描,当扫描到强反射目标体时,记录下目标体位置;根据目标体位置和采集数据,生成包含有波形幅度、频率各脉冲周期的雷达波束控制参数,根据控制参数计算移相器的实时波控码码值及各个功率分配器的馈电幅值及天线的工作状态;控制移相器改变扫描波束的方向,对该模式所覆盖区域、目标体位置附近进行小角度精细的扫描,能够实现相控阵地质雷达波束方向精确控制与大范围扫描,进而利于隧道较深处围岩破坏或缺陷的精细探测。

标签:
探矿技术
山东 - 济南 来源:中冶有色网 2023-02-27
用于地质力学模型试验预留洞室的模型体制作装置及方法

本发明公开了一种用于地质力学模型试验预留洞室的模型体制作装置及方法,包括底座、十字内撑和至少一段圆柱形侧板;每段圆柱形侧板包括四个平行边弧形柱侧板和四个直角扇形柱侧板,且平行边弧形柱侧板和直角扇形柱侧板交替拼接在一起组成所述的圆柱形侧板;圆柱形侧板底部固定在底座上,圆柱形侧板内部插装所述的十字内撑。通过改变侧板的大小和形状可以实现任意尺寸、任意洞型的模型体的制作。本发明解决了地质力学模型试验中预留洞室制作困难、不同形式的洞型难以预制的问题,同时该发明构造简单、拆卸方便、实用可靠和价格低廉的优点,安装和拆卸等操作方法也易于掌握,具有非常广阔的推广应用价值。

标签:
探矿技术
山东 - 济南 来源:中冶有色网 2023-02-27
煤矿地质勘察用不同深度自动取样装置

本发明提供一种煤矿地质勘察用不同深度自动取样装置,所述滑杆的顶端卡接在活塞板的内侧,所述活塞板滑动安装在吸收筒的内部,所述吸收筒的顶端固定连接有抽吸管,所述抽吸管与取样头之间固定连接,所述活塞板的外表面且在铰接板架的下方贴合有相对应的单向缩杆。通过活动架在支杆的外表面滑动,直至金属块组接触后,接通线圈内部电流,保证线圈产生的磁场磁极推动磁铁,推动滑杆同时向外侧移动,滑杆拉动活塞板在吸收筒的内部进行抽拉,通过抽吸管来将煤矿取样中的有毒有害气体吸收,同时活塞板表面斜块带动单向缩杆向上时,来挤压铰接板架压缩后带动螺纹柱顶端的取样头旋转,从而对较深的煤矿进一步开采取样,对煤矿地质的取样效率进一步提高。

标签:
探矿技术
山东 - 济南 来源:中冶有色网 2023-02-27
用于制作GPS背景地质图的装置

本实用新型公开了一种用于制作GPS背景地质图的装置,包括制图整体结构,所述制图整体结构包括主机箱,所述主机箱的一侧设置有上盖,且主机箱的底端固定有主机箱防护垫,所述上盖的一端开设有上盖便开槽,且上盖的一侧固定有上盖防护垫,所述主机箱的左右两侧均开设有无纺布遮盖槽,且主机箱对应无纺布遮盖槽的底端设置有插孔防护结构,所述无纺布遮盖槽的表面开设有功能插孔,本实用新型的插孔防护结构包括插孔遮盖无纺布和无纺布拉板,设置在功能插孔的外侧,能够起到防潮防尘的作用,且插孔遮盖无纺布通过发条驱动收卷,收放方便快捷,更便于野外地质工作者制图使用,使得制图设备更稳定,实用性更强。

标签:
探矿技术
山东 - 济南 来源:中冶有色网 2023-02-27
高稳定性的地质钻探装置

本实用新型公开了一种高稳定性的地质钻探装置,包括底板,所述底板的左右两端分别固定安装有减震座,所述减震座的上端固定安装有伸缩杆,所述伸缩杆的内端分别固定安装有连接横杆,所述底板的上端贯穿设置有通槽,所述通槽的内端固定安装有钻探套管,所述钻探套管与连接横杆固定连接,所述钻探套管的前侧位于底板的上端固定安装有驱动电机,所述钻探套管的后侧位于底板的上端固定安装有控制屏,所述驱动电机的前侧位于底板的上端固定安装有防撞块,所述底板的下端固定安装有滑轮。该高稳定性的地质钻探装置,使用寿命长,稳定性和安全性高,精密性高,具有一定的便捷性,通过安装冷却管,从而可以对钻头进行散热。

标签:
探矿技术
山东 - 济南 来源:中冶有色网 2023-02-27
地质勘探测量用装置
地质勘探测量用装置 1259     
 0

本实用新型公开了一种地质勘探测量用装置,包括测量箱,其特征在于:所述测量箱的底端固定安装有万向轮,所述测量箱的上端固定安装有支撑底座,所述支撑底座的上端固定安装有显示屏,所述测量箱的前端固定设置有第一进出槽,所述测量箱的后端固定安装有推手,所述推手的中部固定安装有连接板,所述测量箱内侧底端的左右两方固定设置有第二进出槽,所述测量箱内侧的上端固定安装有第一电动推杆。该地质勘探测量用装置,通过装置中的各个部件相互配合,使得装置整体更加合理,该装置可以提高测量的精确程度,减少误差,更利于研究工作进行,装置的适应性更强,适用于不同土面,稳定性高,提高装置的工作效率。

标签:
探矿技术
山东 - 济南 来源:中冶有色网 2023-02-27
地质勘察用保护装置
地质勘察用保护装置 1039     
 0

本发明公开了一种地质勘察用保护装置,涉及地质勘察设备技术领域,技术方案为,包括设置有一对凸耳的保护箱,保护箱上表面一侧设置有进通口,保护箱上表面另一侧铰接有连接门,保护箱内部设置有用于周转收集管的周转单元,周转单元包括转动板。本发明的有益效果是:本装置在使用时无需反复的开启保护箱就可以将存储土壤样品的收集管放置在保护箱内,通过驱动机构带动周转单元进行工作并通过收集单元进行收集实现收集管存放在保护箱内,提高了存放收集管的工作效率,降低了工作人员的劳动强度,当需要对后续的收集管的土壤进行研究时,开启连接门,启动第二电机,第一橡胶垫向上移动带动收集管上升,方便收集管的拿取。

标签:
探矿技术
山东 - 济南 来源:中冶有色网 2023-02-27
用于地质勘探的地热探测装置

本发明公开了一种用于地质勘探的地热探测装置,涉及地质勘探技术领域,包括本体,所述本体的顶部外壁固定连接有控制器装置,所述本体的顶部外壁且位于控制器装置的左侧固定连接有驱动电机。通过控制器装置控制驱动电机的运行,方便对土层进行打孔,打孔到一定深度时停止转动,打孔头和辅助头能够稳定的插在土层中,使得探测结果更加准确,通过控制器装置控制移动气缸向下移动,方便通过红外测温传感器探测土层温度,实现实时探测的作用,且红外测温传感器在转动过程中能够与不同位置的土层接触,地热探测范围更广,探测结果更加全面有效,探测到的数据信息通过无线传输模块传递至控制器装置的显示屏上,方便操作人员观察,效率更高。

标签:
探矿技术
山东 - 济南 来源:中冶有色网 2023-02-27
用于降雨诱发型地质灾害的雨量监测装置

本实用新型提供了用于降雨诱发型地质灾害的雨量监测装置,包括上端开口的第一筒体,第一筒体内设有第一漏斗,第一漏斗的下方设有翻斗式雨量计,第一筒体的顶部设有圆锥状的过滤网,过滤网的边缘设有与过滤网的边缘相齐平的连接部,连接部的下部内壁设有内螺纹,第一筒体的上部设有与内螺纹相匹配的外螺纹,连接部螺纹连接于第一筒体上,连接部的顶部向上延伸形成遮挡部。本实用新型所述的用于降雨诱发型地质灾害的雨量监测装置,设置的过滤网能够过滤掉树叶等杂质,防止树叶等杂质进入到漏斗中,而且过滤网呈圆锥状,方便杂质向过滤网的较低端滚落,而且过滤网方便取下清洁维修。

标签:
探矿技术
山东 - 济南 来源:中冶有色网 2023-02-27
便于安装的水文地质检测精密型巡检车

本实用新型公开了一种便于安装的水文地质检测精密型巡检车,包括车后板、车支撑板和车前板,所述车后板、车支撑板和车前板的底部设置有锁紧机构,所述锁紧机构包括固定安装在车后板上的固定块一、固定安装在车前板上的固定块二以及固定安装在车支撑板上的插销,所述固定块二的底部固定安装有固定架。本实用新型通过在安装时,只需将模块化的车后板、车支撑板和车前板锁紧在一起,便能够完成巡检车的安装,这样的安装方式,省去了组合部件的步骤,以及省去了安装螺丝的时间,从而提高巡检车的组装效率,节省大量时间,也能够提高水文地质的检测效率,方便使用者使用。

标签:
探矿技术
山东 - 济南 来源:中冶有色网 2023-02-27
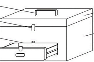
地质勘查多层放样盒
地质勘查多层放样盒 731     
 0

本实用新型公开了一种地质勘查多层放样盒,包括放样盒主体,所述放样盒主体的上端内表面开设有第一卡槽,所述第一卡槽的内侧嵌有纵向隔板与横向隔板,所述纵向隔板的表面开设有第二卡槽,所述放样盒主体的前端表面设置有收纳腔,所述收纳腔的内侧设置有收纳屉,所述放样盒主体的上端设置有盒盖,所述盒盖的上端设置有提手。本实用新型所述的一种地质勘查多层放样盒,利用横向隔板与纵向隔板,能够将放样盒内部分隔成多块放样区域,便于储存多种不同的样品,同时隔板便于拆卸,方便对放样盒内部进行清洁,利用收纳腔配合收纳屉,能够实现多层收纳的目的,放样空间更大,使用更加便利。

标签:
探矿技术
山东 - 济南 来源:中冶有色网 2023-02-27
地质勘察用土质取样装置

本实用新型公开了一种地质勘察用土质取样装置,包括底座,所述底座的上表面从左至右固定连接有取样壳体和样品箱,所述取样壳体的顶部固定连接有第一电机,所述第一电机的输出端固定连接有螺杆,所述螺杆的表面螺纹连接有螺套,所述螺套的底部固定连接有第二电机,所述第二电机的输出端固定连接有取样管,所述样品箱的内部从上至下依次固定连接有支撑板和放置座。该地质勘察用土质取样装置,通过螺旋纹的设置,能够对取入取样管内的土质起到防滑作用,避免土质从取样管滑出,保证一次取样的成功率,通过样品箱的设置,方便将样本统一存放在样品箱内,待进行多处取样后,可统一进行检测,节省时间,提高工作效率。

标签:
探矿技术
山东 - 济南 来源:中冶有色网 2023-02-27
地质勘探检测用岩石粉碎装置

本发明涉及地质勘探技术领域,具体为一种地质勘探检测用岩石粉碎装置,包括支撑架,所述支撑架的上端固定安装有用于对岩石物料进行破碎的破碎槽,所述支撑架的内部固定安装有与破碎槽配合的下料板,所述支撑架的底部固定安装有电机,所述破碎槽的内部对称转动安装有第一转轴以及第二转轴,所述破碎槽的内部设有与电机配合的用于对岩石物料进行破碎的破碎机构,所述支撑架的上端固定安装有三个固定杆,三个所述固定杆的上端共同固定安装有固定板。本发明通过电机带动螺纹杆转动,并通过螺母带动挡板下移,挡板可以对破碎槽的上端进行遮盖,从而避免在对岩石物料进行粉碎的过程中,出现碎石飞散的情况,进而提高了设备的安全性。

标签:
探矿技术
山东 - 济南 来源:中冶有色网 2023-02-27
地质资源勘查智能旋切采样装置

本发明涉及地质资源采样技术领域,尤其涉及一种地质资源勘查智能旋切采样装置,包括有底板,底板的四个角上分别固接有支撑板,四个支撑板的上部固接有顶板,顶板的上侧面左部固接有控制面板,底板和顶板之间设有取样机构,取样机构与控制面板电气连接,取样机构内部设有夹紧机构。本发明通过设置取样机构,降低人工劳动强度,提高工作效率;通过设置夹紧机构,钢针沿刺入到内套筒内的土壤中,钢针支撑着土壤,避免土壤从内套筒掉落。

标签:
探矿技术
山东 - 济南 来源:中冶有色网 2023-02-27
利用废弃盐穴、矿坑地质储存CO2的状态监测系统

本发明公开一种利用废弃盐穴、矿坑地质储存CO₂的状态监测系统,其中所述系统包括:机器人本体、控制系统、图像采集模块、无线遥感模块和地面分析系统,其中所述控制系统、图像采集模块、GPS定位模块和无线遥感模块设置所述机器人本体上,所述地面对比分析装置通过无线遥感模块实现与所述控制系统的交互,所述控制系统分别与图像采集模块、GPS定位模块和无线遥感模块连接。本发明通过机器人红外遥感技术进行高空图像拍摄,并进行图像分析,实时、在线对废弃盐穴、矿坑地质储存CO₂的状态监测,通过智能分析和计算方法实现状态监控,不仅提高了监测能力,安全性能高,监测效果高。

标签:
探矿技术
山东 - 济南 来源:中冶有色网 2023-02-27
深长隧道不良地质和岩体力学性质超前探测装置及方法

本发明公开了一种深长隧道不良地质和岩体力学性质超前探测装置和方法,包括钻机、感应系统、数据转换系统、数据分析系统,感应系统安装在钻机上,感应系统、数据转换系统、数据分析系统依次连接,所述的感应系统包括钻头位移采集单元、转速采集单元和压力采集单元。本发明将钻孔与钻孔雷达相结合,利用传感器技术,实时采集钻机钻进的过程中转速、钻头位移、扭矩、推进力、打击能以及泵压等参数,实现对前方30米内地质体中岩体物理力学参数、节理裂隙分布及产状的准确预报,准确的探测钻孔周围10m范围内有无水体情况,成本低、占用施工时间短。

标签:
探矿技术
山东 - 济南 来源:中冶有色网 2023-02-27
隧道TSP超前地质预报信号多通触发装置及方法

本发明涉及一种隧道TSP超前地质预报信号多通触发装置及方法,包括触发装置和隧道TSP超前地质预报信号多通触发方法,所述的触发装置包括多通触发器,多通触发器分别与主机和至少一个雷管相连接,多通触发器还与起爆器连接。所述的多通触发器,它包括1个定时电路和1个触发电路,所述触发电路中又包括至少一个信号触发单元,其方法步骤:A、将各炮孔处雷管与多通触发器按照炮孔编号一一对应连接;B、在多通触发器上设定起爆时间间隔;C、按照预设时间间隔依次起爆;每个雷管激发点触发地震波信号的同时,多通触发器向对应雷管与主机发送触发信号,进而保证信号触发的同时开始接收信号。

标签:
探矿技术
山东 - 济南 来源:中冶有色网 2023-02-27
地质土壤修复装置
地质土壤修复装置 965     
 0

本实用新型公开了一种地质土壤修复装置,包括箱体,所述箱体的内部设有土壤修复机构,所述箱体的顶端固接有进料斗,所述箱体的右表面顶端开设有通槽,所述箱体的右表面底端固接有排料斗。该地质土壤修复装置,通过箱体、土壤修复机构、进料斗、通槽和排料斗之间的配合,将待修复土壤通过进料斗投放到箱体的内部,同时将抽水泵进行通电,能够使存液桶内部的土壤修复剂喷向下落的土壤,能够利于待修复土壤与修复液进行充分接触,进而可以使土壤修复的效果得以提升,同时筛板能够对进入到箱体内部的土壤进行过滤,使得较大的硬质非土壤物质位于筛板上方,修复后的细致土壤通过排料斗排出,实用性能得以提升。

标签:
探矿技术
山东 - 济南 来源:中冶有色网 2023-02-27
用于地质实验测试锶同位素样品的化学处理装置

本实用新型公开地质实验测试技术领域的一种用于地质实验测试锶同位素样品的化学处理装置,包括杯体,所述杯盖顶部左右侧均固定设置有固定板,两组所述固定板之间顶部固定设置有支撑板,所述支撑板顶部右侧固定设置有储液筒,所述储液筒顶部设置有相连通的料斗,所述软管底部设置有相连通出液管,本实用新型首先采用杯盖起到初步阻挡的作用,加盐酸时通过将盐酸从料斗加入至储液筒,使用人员通过把手使出液管对准出液通孔,使用软管将导液管进行下压,然后可通过挤压气囊将盐酸通过导液管进行排出,进而通过出液管进入杯体内,使用安全性高,溅出的情况不会对使用人员造成影响。

标签:
探矿技术
山东 - 济南 来源:中冶有色网 2023-02-27
地质勘查固体样品存储装置

本实用新型属于地质勘查技术领域,尤其为一种地质勘查固体样品存储装置,包括外壳组件和内胆组件,所述外壳组件包括把手、上盖、保护壳和锁定销,所述把手的底端固定有所述上盖,所述上盖的下表面为内凹结构,所述上盖的内凹面外侧壁内开设有螺纹,所述上盖的下方设有所述保护壳,所述保护壳的顶端外侧壁开设有螺纹,所述上盖与所述保护壳螺纹连接,所述保护壳的底端外侧壁圆周排列设有四组所述锁定销;本实用新型取用固体样本时不需要将样本从装置内导出,可直接分离本装置的多组模块,将样本呈现出来,不会破坏样本中的成分分布,提高实验的准确性,通时在运输样本时,样本被限制不会发生偏移,方便用户使用。

标签:
探矿技术
山东 - 济南 来源:中冶有色网 2023-02-27
煤矿地质防治水监测用取样装置

本实用新型公开了一种煤矿地质防治水监测用取样装置,包括车体,所述车体上表面一侧焊接有第一支撑板,所述第一支撑板的顶部焊接有把手,所述车体的下表面一侧对称焊接有两个支撑柱,两个所述支撑柱远离车体的一端均焊接有滚轮,所述车体的上表面远离第一支撑板的一侧焊接有第二支撑板;通过启动无杆气缸工作,无杆气缸的活塞杆带动轴杆上下运动,运动的轴杆通过第一圆形板体将需要采集的水推送至输料管的内部,然后通过出料斗将水输送至箱体的内部进行储存,从而完成煤矿地质防治水监测用取样工作,然后拉动把手通过车体带动滚轮滚动,从而使采集后的样品便于运输,节省工作人员耗费的时间,提高了工作效率。

标签:
探矿技术
山东 - 济南 来源:中冶有色网 2023-02-27
用于地质勘探的全站仪
用于地质勘探的全站仪 1101     
 0

一种用于地质勘探的全站仪,涉及地质勘探领域,包括全站仪本体,所述全站仪本体上设有安装卡槽,所述安装卡槽上插接有显示屏,所述安装卡槽一侧设有竖直板,所述竖直板转动连接有防护盖,所述防护盖端部设有扣合板,所述扣合板内壁设有橡胶层,所述橡胶层与显示屏相接触。本实用新型利用安装卡槽及导向杆设计使得显示屏安装拆卸方便,解决了现有技术中站仪显示屏及键盘进灰进水情况时有发生出现问题后需要维修更换,拆装繁琐的技术缺陷,利用防护盖可实现不同天气对显示屏及键盘的处理,设计巧妙成本低廉,可用于大范围推广应用。

标签:
探矿技术
山东 - 济南 来源:中冶有色网 2023-02-27
上一页 27 28 29 30 31 ... 43 下一页
共43页    到第

中冶有色为您提供最新的山东济南有色金属探矿技术理论与应用信息,涵盖发明专利、权利要求、说明书、技术领域、背景技术、实用新型内容及具体实施方式等有色技术内容。打造最具专业性的有色金属技术理论与应用平台!

全国热门有色金属设备推荐
展开更多 +
全国热门有色金属技术推荐
展开更多 +

 

江西省隆恩特环保设备有限公司
宣传

报名参会
更多+

报告下载

有色专家
更多+

中国有色金属工业协会
副会长兼秘书长
重庆理工大学
教授
国家钨与稀土产品质量检验检测中心
主任
中铝郑州有色金属研究院有限公司
正高级工程师/总经理
中南大学
教授
赤泥综合利用研究报告2025
推广

热门技术
更多+

推荐企业
更多+

福建省金龙稀土股份有限公司
宣传

发布

在线客服

公众号

电话

顶部
咨询电话:
010-88793500-807