青岛垚鑫智能科技有限公司
宣传

位置:中冶有色 >

有色技术频道 >

> 探矿技术

分类:
全部
矿山技术
冶金技术
材料制备及加工技术
环境保护技术
分析检测技术
 
全部
探矿技术
采矿技术
选矿技术
通用技术
地区:
全部
北京
天津
上海
重庆
河北
山西
辽宁
吉林
黑龙江
江苏
浙江
安徽
福建
江西
山东
河南
湖北
湖南
广东
海南
四川
贵州
云南
陕西
甘肃
青海
内蒙
广西
西藏
宁夏
新疆
其他
其他
展开
 
全部
济南
青岛
淄博
枣庄
东营
烟台
潍坊
济宁
泰安
威海
日照
滨州
德州
聊城
临沂
菏泽

山东青岛有色金属探矿技术理论与应用

免费发布技术信息>>
多尺度岩石力学层测井划分方法

本发明涉及储层地质力学领域,尤其是一种多尺度岩石力学层测井划分方法。通过岩石动静态力学参数计算,采用等频率转换的方法,构建岩石力学层判别指数;通过测井投点岩石力学参数聚类分析,划分单一尺度的岩石力学层并计算岩石的密度;改变阈值,循环进行测井投点岩石力学参数聚类分析,完成不同尺度岩石力学层常规测井划分。本发明专利提出了一种多尺度岩石力学层测井划分方法,具有较高的实用价值,该方法对储层地质力学建模、应力场数值模拟具有实用价值。

标签:
探矿技术
山东 - 青岛 来源:中冶有色网 2023-03-03
采煤塌陷区地表水、采空区、地热综合利用方法及试验设备

一种采煤塌陷区地表水、采空区、地热综合利用方法及试验设备,涉及采矿工程技术领域。该方法包括:确定地热水汇集区,在大巷内布置热能交换设备,设置地热水抽采系统,地热水抽采系统包括地热井、抽采管道和尾水回注管道,抽采管道连接热能交换设备,尾水回注管连接热能交换设备的出水口;在地表布置水渠,并在地表移动盆地设置排水系统,引导地表水流入地下;通过地面开采形成的采煤塌陷区控制地表水的定向有序流动,实现地下水的可持续开采。利用试验设备综合模拟该方法,该试验设备包括地下水系统、地质模拟系统和储热模拟系统。该方法解决了地热利用的水源问题,重构了地下水系,还利用地质构造直接向储热层注水,井下换热缩短了提升距离。

标签:
探矿技术
山东 - 青岛 来源:中冶有色网 2023-03-03
用于稠油热采井弱胶结砂岩层的层内可渗透加固防砂方法及装置

本发明涉及石油钻采技术领域,尤其涉及一种用于稠油热采井弱胶结砂岩层的层内可渗透加固防砂方法及装置。所述方法包括:获取弱胶结砂岩层的地质样本;根据获取的地质样本,确定弱胶结砂岩层的理化参数;根据所述砂粒粒径分布,确定用于弱胶结砂岩层压裂固化的高渗透支撑剂的粒径;根据地层杨氏模量、地层抗拉强度、抗压强度参数设计裂缝几何形态,确定压裂固化施工参数;根据高渗透支撑剂的粒径和压裂固化施工参数,对所述弱胶结砂岩层进行压裂固化施工。本发明将地层压裂技术与可渗透固化技术相结合,在可渗透基浆中加入高渗透支撑剂形成可渗透固化液体系,调节可渗透固化液的流变性能并将其作为地层压裂液压开地层,有效的避免了稠油热采井的出砂问题。

标签:
探矿技术
山东 - 青岛 来源:中冶有色网 2023-03-03
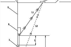
基于测深仪的取样器距底高度测量方法

本发明的目的在于提供一种在大洋沉积物取样过程中用到的、针对常规取样器的基于测深仪的取样器距底高度测量方法。其包括步骤:第一步,设备组装;第二步,设备投放;第三步,设备信号测试;第四步,设备测深;第五步,设备调整,调整测深仪使之能够检测并显示直达波和反射波;第六步,计算距底高度,分别从测深仪上读取直达波的深度L1和反射波的深度L2,两者做差,计算出声学Pinger距底的准确高度△H,△H=L2-L1;第七步,地质绞车继续放缆,当0<△H≤L时表示取样器成功触底。本发明能够准确的把握取样的距底高度,保证了常规取样器能够充分发挥其应有的作用,在实际的大洋沉积物取样作业中取得了极好的实际效果。

标签:
探矿技术
山东 - 青岛 来源:中冶有色网 2023-03-03
储层垂向非均质性定量测定方法、系统、介质、设备及终端

本发明属于地质技术领域,公开了一种储层垂向非均质性定量测定方法、系统、介质、设备及终端,包括:综合利用测井、录井资料,基于K均值聚类、主成分分析、频谱分析,并利用自适应变时窗进行周期性曲线拟合,从而计算出级差绝对值、均质系数绝对值,提取振幅和频率在内的非均质性参数;结合定性及定量的分析结果综合表征储层垂向非均质性,以此反映储层的地质属性;其中所述频谱分析包括一维连续小波变换和傅里叶变换。本发明弥补因取心不足而造成的在垂向上评价储层非均质性的困难,提供一种准确、实用和易于推广的储层垂向非均质性评价方法,利用该方法对储层的垂向非均质性进行定量或半定量评价具有新颖性、先进性,在国内外未见授权专利。

标签:
探矿技术
山东 - 青岛 来源:中冶有色网 2023-03-03
红层储层的因子分析测井岩性识别方法

本发明公开了一种红层储层的因子分析测井岩性识别方法,具体涉及油气田开发地质领域。该方法通过对研究区进行地质背景和沉积相分析,结合岩芯分析建立岩性与测井响应特征的对应关系,利用因子分析法分析测井响应数据,通过构建新变量R对红层储层进行因子分析,提取出能够涵盖原始测井信息的公共因子并构建因子得分方程,建立因子得分交汇图初步划分红层储层岩性,再结合研究区取芯井段岩性对岩芯做进一步因子分析,得到细划分后的因子得分交汇图及判别方程,完成对红层储层岩性的细划分。本方法实现了利用地球物理资料对红层储层岩性的快速识别,识别结果准确率高,有效地解决了红层储层岩性难以识别的问题,对红层储层的勘探开发具有重大意义。

标签:
探矿技术
山东 - 青岛 来源:中冶有色网 2023-03-03
注二氧化碳开采水溶气的系统和方法

本发明涉及一种注二氧化碳开采水溶气的系统和方法。注二氧化碳开采水溶气的系统包括:生产井、注入井、气水分离器、甲烷/二氧化碳气体分离器、二氧化碳/水混合容器、增压注入泵、产出流体管线;二氧化碳/水混合容器将捕集到的二氧化碳与注入水进行高压混合或者仅将二氧化碳在高压作用下形成超临界二氧化碳;二氧化碳/水混合容器通过管线与增压注入泵相连;二氧化碳/水混合容器中形成的注入流体经增压注入泵进一步增压后通过注入井井筒注入水溶气储层中,驱替水溶气储层中的流体同时实现二氧化碳地质埋存。本发明有利于提高水溶气储层的波及范围,提高水溶气、地热能的采收率,同时实现二氧化碳的地质埋存,有效地减少污染、保护环境。

标签:
探矿技术
山东 - 青岛 来源:中冶有色网 2023-03-03
油藏数值模拟等效井筒半径计算方法

本发明涉及油气藏数值模拟,特别是一种油藏数值模拟等效井筒半径计算方法,包括如下步骤:S1.根据数值离散方法对地质模型进行网格离散化,标记井筒所在的网格结点;S2.根据数值离散方法对非稳态单相渗流的压力方程进行数值离散,在网格上开展数值计算,获得当前时刻井筒所在网格结点的压力;S3.将井筒网格结点的压力代入到无限大地层非稳态渗流的解析解中,计算相应的等效井筒半径;S4.增加时间,使to=to+△t,重复步骤S2和步骤S3,得到不同时刻的等效井筒半径。本发明基于无限大地层非稳态渗流的解析解,提出了一种计算等效井筒半径的通用方法,该方法可以针对任何的网格和任何的数值离散方法计算等效井筒半径。

标签:
探矿技术
山东 - 青岛 来源:中冶有色网 2023-03-03
识别地下古代河流类型的方法

本发明提供了一种识别地下古代河流类型的方法,基于对取心井段的岩心观察与描述记录的岩石类型、层理类型、泥岩颜色和垂向层序,根据河流垂向层序中的二元结构发育程度、岩石粒度分析资料和绘制的粒度概率累积曲线综合准确地识别河流类型。总结各类型河流主要沉积微相(砂体)的测井响应特征,并建立相应的测井响应模板,用于非取心井段与非取心井的沉积微相(砂体)的判断。该方法可操作性较强,能有效识别地下发育的河流类型及其主要砂体,为精确描述和预测河流砂体的展布特征提供了地质模型,为高效勘探开发其中的油气提供了地质依据。

标签:
探矿技术
山东 - 青岛 来源:中冶有色网 2023-03-03
水平井凝胶调剖参数优化方法

本发明提供了一种水平井凝胶调剖参数优化方法,包括:收集水平井开发的目标区地质及生产动态资料,构建地质、数值模拟模型,预测水平井凝胶调剖的措施增油量;构建学习数据集,筛选影响措施增油量的关键特征参数;优选机器学习算法对其进行训练,得到水平井凝胶调剖措施增油量预测模型;计算预测模型的误差,完成措施增油量预测模型的构建;构建水平井凝胶调剖参数优化的代理模型,以经济效益最大化为目标,建立优化数学模型,调用优化算法,获得最优的工艺参数组合。本发明能快速准确地获得凝胶调剖最优工艺参数,避免参数优化的盲目性,为现场实施水平井凝胶调剖工艺提供指导。

标签:
探矿技术
山东 - 青岛 来源:中冶有色网 2023-03-03
近岸水下扇砂砾岩有效连通体划分和对比方法

本发明涉及一种近岸水下扇砂砾岩沉积单元体有效连通体划分和对比的方法,本发明通过水槽沉积模拟实验明确近岸水下扇砂砾岩沉积单元体平面及剖面展布特征;以模拟实验确定的近岸水下扇砂砾岩沉积单元体展布特征为指导,以井-震结合为手段,对实际地质体进行沉积单元体的划分;综合利用薄片资料、岩心资料,确定沉积成岩综合相类型,建立沉积成岩综合相的测井识别方法,明确沉积成岩综合相的空间展布;建立不同沉积成岩综合相类型的物性响应,明确储集物性的空间展布;确定有效连通体的物性界限,明确有效连通体的空间展布。本方法可准确有效地确定近岸水下扇砂砾岩沉积单元体内有效连通体延伸范围,可有效地指导开发井网部署及开放方案的制定,提高注水开发效率。

标签:
探矿技术
山东 - 青岛 来源:中冶有色网 2023-03-03
河流相三维沉积相模型确定性建模方法

本发明公开了一种河流相测井相快速解释方法和河流相三维沉积相模型确定性建模方法,包括如下步骤:基于各井的小层解释数据,首先利用厚度和含油性数据进行测井相的识别,然后结合各小层自然伽马或自然电位曲线形态、幅度及顶底接触关系进行测井相快速校正;利用合成地震记录标定技术,确定各小层对应的地震层位,提取地震层位一定时窗内对应的均方根属性;利用所得的各小层测井相和对应的均方根属性,绘制河流相沉积相图;将数字化沉积相图中河流相河道的沉积相边界,输入到地质建模软件中,直接利用赋值的方式建立三维沉积相模型。本发明测井相解释更为高效、快捷,沉积相图更为准确,沉积相模型避免了由于随机建模带来的不确定性,用该种方法建立的沉积相模型可用于约束孔隙度、渗透率等三维地质模型建模。

标签:
探矿技术
山东 - 青岛 来源:中冶有色网 2023-03-03
底板岩层裂隙分布同步探测方法

本发明公开了一种底板岩层裂隙分布同步探测方法,它主要是在钻孔的过程中边钻孔边注水,然后根据沿不同钻孔深度和对应的水流失量大小,绘制钻孔内不同位置水流漏失速度图,由此最终确定出不同深度岩层破裂或裂隙发育程度。本发明实现了打钻孔与注水测漏同步进行,保证了钻测的及时性,测量时间短,适合任何岩层地质情况。

标签:
探矿技术
山东 - 青岛 来源:中冶有色网 2023-03-03
浅表层天然气水合物富集区智能预测方法

本发明提供了一种浅表层天然气水合物富集区智能预测方法,属于天然气水合物资源勘查技术领域,该方法包括:建立多个不同地质背景的浅表层天然气水合物地质模型,计算获得叠后地震剖面数据以及地震属性剖面数据和弹性参数属性剖面数据;将地震属性剖面数据和弹性参数属性剖面数据形成地震多属性数据集进行优选融合处理,得到地震多属性融合剖面数据;对叠后地震剖面数据进行人工解释,形成表征浅表层天然气水合物的地震异常的人工解释标签;建立深度学习网络模型并进行训练,得到浅表层天然气水合物预测模型;采用迁移学习算法,利用实际地震数据对浅表层天然气水合物预测模型进行更新和优化,并用于预测浅表层天然气水合物富集区。

标签:
探矿技术
山东 - 青岛 来源:中冶有色网 2023-03-03
海上犁式缆全波形反演鬼波压制方法、系统、设备

本发明属于海洋地质勘查领域,具体涉及一种海上犁式缆全波形反演鬼波压制方法、系统、设备,旨在解决现有的鬼波压制方法预测的鬼波存在比较大的误差,导致鬼波压制后的地震数据精度低、存在假象的问题。本方法包括:获取地震数据;对构建的Lipmann‑Schwinger积分方程进行联合求解,得到入射波场及接收揽曲面的波场的法向导数;通过只包含接收揽曲面上积分的Kirchhoff积分方程进行波场延拓计算,得到平缆记录上海平面的波场;计算鬼波延拓算子;利用全波形反演技术对含有鬼波数据的平缆记录上的海平面的波场进行鬼波压制,得到压制鬼波后的地震数据。本发明提高了鬼波压制后的地震数据的精度、信噪比。

标签:
探矿技术
山东 - 青岛 来源:中冶有色网 2023-03-03
低频电场加热开采天然气水合物藏的数值模拟方法

本发明公开了一种低频电场加热开采天然气水合物藏的数值模拟方法,包括以下步骤:1)根据天然气水合物藏的地质资料,建立目标区块地质模型,并进行网格划分;2)考虑电流流动、水合物化学反应、多相多组分渗流、热传导和热对流,建立低频电场加热开采天然气水合物藏的数学模型;3)采用有限体积法对数学模型进行耦合求解;4)根据生产井的生产制度、电极分布和电场加热模式,对低频电场加热生产过程进行模拟分析。本发明提出的模拟方法综合考虑了电场加热过程的主要机理,流程简单、实用性强,可为低频电场加热开采天然气水合物藏的模拟分析提供理论依据和技术手段,具有很好的矿场应用价值。

标签:
探矿技术
山东 - 青岛 来源:中冶有色网 2023-03-03
用于灾区的植物驱蚊祛味消毒剂

本发明涉及一种用于灾区的植物驱蚊祛味消毒剂,主要的配方成分是薄荷油、千里光提取物、假苏提取物、白竹提取物、地骨皮提取物、菊花提取物、苍术提取物、大青叶提取物、百里香提取物、天竺葵提取物、生物酶肽、益生菌酵素,经过特殊工艺配置而成;主要应用于洪涝、地震等地质灾害灾区、传染病疫区、医疗机构等场所。处理效率高、无二次污染、所需的设备简单、易操作、费用低廉等。具有如下特点:(1)安全无毒。(2)除臭效率高。(3)广谱高效杀菌。(4)驱除蚊虫。(5)适应极强。(6)用途广泛:喷施在各类场所表面,主要应用于洪涝、地震等地质灾害灾区、传染病疫区、医疗机构等场所。

标签:
探矿技术
山东 - 青岛 来源:中冶有色网 2023-03-03
极坐标下的弹性波纵横波速度反演系统及方法

本发明提出了一种极坐标下的弹性波纵横波速度反演系统及方法,属于石油勘探领域,该方法包括如下步骤:输入初始纵横波速度模型、多分量地震记录;极坐标系下的网格剖分;将纵横波速度模型变换到极坐标系下;求取极坐标系下的纵横波梯度公式;求取加权速度更新步长;更新极坐标系下的纵横波速度,判断是否满足误差条件;将反演的纵横波速度变换到笛卡尔坐标系下;输出反演的纵横波速度。本发明能够很好地解决一些特殊地质环境中,如在井孔环境、隧道空间等的速度反演难题;同时将多分量方法引入到本发明中,能够同时对纵横波速度进行反演,得到更真实、准确的纵横波速度,为井孔环境、隧道空间等特殊地质构造的成像及解释提供基础。

标签:
探矿技术
山东 - 青岛 来源:中冶有色网 2023-03-03
海底冷泉地震响应数值模拟方法及系统

本发明公开一种海底冷泉地震响应数值模拟方法及系统。该方法包括:获取地质物理任务、时间域含气泡液体地震波方程、地震震源参数和采集参数;根据地质物理任务,建立海底冷泉参数模型,海底冷泉参数模型包括速度模型、气泡含量模型、密度模型、粘滞系数模型和表面张力系数模型;采用傅里叶变换将时间域含气泡液体地震波方程中的时间相关项变换至频率域,得到频率域含气泡液体地震波方程;采用数值微分原理将频率域含气泡液体地震波方程中的空间偏导数项进行差分离散,得到地震波场计算差分公式;根据海底冷泉参数模型、地震波场计算差分公式,地震震源参数和采集参数,确定海底冷泉地震响应。本发明能够对海底冷泉地震响应进行精确识别及分析。

标签:
探矿技术
山东 - 青岛 来源:中冶有色网 2023-03-03
洞口大管棚施工方法
洞口大管棚施工方法 920     
 0

本发明涉及隧道施工领域,具体涉及一种洞口大管棚施工方法。其包括如下步骤:步骤S1测量放线、步骤S2仰坡成型及导拱施工作业平台、步骤S3施作套拱、安设导向管、步骤S4钻机工作平台施工、步骤S5钻孔、步骤S6管棚施工、步骤S7封闭开挖面和步骤S8注浆。它不仅保证了施工的安全性,还有效提高了管棚施工速度;可确保洞顶覆盖层处于稳定,适应于地质条件复杂,土质松散的砂层、粘土层等,施作过程动力输出均匀,对地质的干扰少。

标签:
探矿技术
山东 - 青岛 来源:中冶有色网 2023-03-03
用于模拟煤矿开采构造突水的相似材料、制备及使用方法

本发明公开了一种用于模拟煤矿开采构造突水的相似材料及其制备使用方法,该相似材以黄豆10.1-20.3份、河沙33.0-59.0份、碳酸钙20-40份和石膏1.5-7.0份为原料,首先将所有原料混合均匀,然后向混合均匀的原料中加入水,继续搅拌,直至原料达到一定的可塑性和流动性时停止,最后将其放入试模中,按照实际地质构造的空间位置及分布形态进行铺设,常温下冷却、固化得相似材料。本发明相似材料可以间接实现水压对围岩的影响作用,具有模拟构造活化的主动性,进而模拟在耦合作用下构造破坏活化以及展示通水通道的形成与演化。

标签:
探矿技术
山东 - 青岛 来源:中冶有色网 2023-03-03
地震流体反演识别方法和装置

本发明公开了一种地震流体反演识别的方法和装置。该方法首先构建储层的三维岩石物理相模型,并在三维岩石物理相模型的约束下,建立地震反演初始模型。进而,利用不同角度的地震数据实现叠前地震反演,从而完成对储层流体的反演识别。本发明提出的基于储层岩石物理相约束的地震流体识别方法在反演中考虑了储层岩石物理相的先验约束,反演得到的流体展布符合地质先验认识,使得流体预测结果具有地质意义。

标签:
探矿技术
山东 - 青岛 来源:中冶有色网 2023-03-03
水合物储层专用静力触探探头

本发明属于土工勘察仪器设备领域,针对现有的两桥/三桥静力触探探头精确度不能满足储层水合物分布规律精细刻画要求的问题,提供一种水合物储层专用静力触探探头,包括锥尖,孔压连接头,透水石,锥尖顶套,透水孔,孔压传感器,侧壁摩擦筒,空心顶柱,锥尖阻力传感器,侧压筒,侧压传感器,电极座套,电阻率电极,塑料环,摄像头孔,摄像头,承载座套,线缆接头,接头座套。不仅可以测量锥尖阻力、侧壁摩擦力和孔隙水压力,还能够测量岩土电阻率及获得贯入路径的图像资料,能够对水合物在储层中的分布规律作出精确的预测,可以将水合物储层的工程地质参数与水合物本身建立联系,为海洋天然气水合物储层的工程地质参数精细刻画提供新的思路。

标签:
探矿技术
山东 - 青岛 来源:中冶有色网 2023-03-03
厚煤层沿底板或顶板掘进煤巷反射槽波超前探测方法

本发明公开了一种厚煤层沿底板或顶板掘进煤巷反射槽波超前探测方法。该探测方法是在掘进煤巷迎头掌子面距煤层底板或顶板约1/4煤厚位置顺煤层钻孔内以炸药作为激发槽波震源的炮点,在掘进煤巷两侧煤壁距煤层底板或顶板约1/4煤厚位置顺煤层钻孔内布设两列沿线排列检波器,人工激发炮点炸药爆炸,以产生向掘进煤巷迎头四周煤层传播的Rayleigh槽波;沿煤巷两侧的两个检波列接收反射Rayleigh槽波,通过对反射Rayleigh槽波进行能量和波形相关系数计算、比较确定掘进煤巷周围煤层内地质构造界面的位置,从而实现在厚煤层中沿顶板或底板掘井的煤巷迎头前方和两侧煤层内地质构造的目的。

标签:
探矿技术
山东 - 青岛 来源:中冶有色网 2023-03-03
多边形断层系统的综合判识方法

本发明公开一种多边形断层系统的综合判识方法,具体实例基于松辽盆地三肇凹陷。多边形断层系统的特征主要表现为平面上断层相互交织构成多边形;垂向上断层分布具有明显的顶底界面,具有“层控性”;几何特征为延伸长度小、断距小的特征。基于此,本发明归纳多边形断层系统的关键特征,建立多边形断层系统的判识模型,综合断层平面特征、垂向特征和几何特征,确定权重系数并构建数学模型,得到综合判识指数,判识多边形断层系统。本发明考虑多种地质因素,能够满足多边形断层判识的准确要求,可以广泛适用于油气资源地质勘探领域。

标签:
探矿技术
山东 - 青岛 来源:中冶有色网 2023-03-03
有机质热成熟度定量表征函数的获取方法以及该函数的应用

本发明涉及一种有机质热成熟度定量表征函数的获取方法以及该函数的应用,本发明建立在有机质激光拉曼实验及有机质碳分子的一阶振动原理之上,属激光拉曼技术在石油地质领域的应用。本发明可以很好地反映有机质热演化程度。通过求取RG-S并定义当量镜质组反射率为cvRo,通过cvRo来描述有机质热成熟度。本发明不仅可以解决油浸、海侵对镜质体反射率的抑制作用,同时还可应用于无或少镜质体的海相沉积地层;此外还具有无需区分有机质显微组分(镜质体、惰质体);另外,该方法所需样品量小,分析时间短的优点。

标签:
探矿技术
山东 - 青岛 来源:中冶有色网 2023-03-03
适用于极地工程的自适应两栖巡航地层勘测车

本发明公开一种适用于极地工程的自适应两栖巡航地层勘测车,包括主车模块、综合测试模块、探地模块以及显控模块,显控模块安装在主车模块上,与综合测试模块和探地模块通信连接,用以控制综合测试模块和探地模块进行相关勘测工作并进行数据显示;本方案对综合测试模块以及探地模块进行模块化设计,既可以搭载在主车模块上使用,也可脱离主车模块单独使用,且综合测试模块和探地模块均采用防水设计,并在各模块内配有对应的浮力装置,可在陆海两栖环境中的多种地质条件下使用;另外,设备搭载的保护与自救模块以及数据记录仪可在危险情况下紧急避险,方案设计巧妙,实现了设备的模块化、轻便化,适合多种地质条件的勘探。

标签:
探矿技术
山东 - 青岛 来源:中冶有色网 2023-03-03
基于机器视觉的水下潜艇增强现实机构方法

本发明公开了一种基于机器视觉的水下潜艇增强现实机构方法,具体包括以下步骤:通过视频采集的方式,将标准的标识物进行图像采样,包括海洋生物的不同分类信息,海底环境的不同地质状态,海洋水体的不同物质属性等,标识物通过颜色、形状分别进行不同信息的对应初始化设置,这些初始信息,作为已知数据存储到DTU的存储器中,初始化完成后,AUV根据DTU指令开始动作,DTU进行实时图像处理。本发明方法通过视频采集的方式,将标准的标识物进行图像采样,对于海洋生物的不同分类信息,海底环境的不同地质状态,海洋水体的不同物质属性,标识物通过颜色、形状分别进行不同信息的对应初始化设置,提升水下潜艇视觉上的功能性。

标签:
探矿技术
山东 - 青岛 来源:中冶有色网 2023-03-03
浊积砂体储层建模方法

本发明涉及一种浊积砂体储层建模方法,其具体步骤为:S1、浊积砂体几何要素分析及原型模型建立;S2、井震综合浊积砂体反演,将原有连续的振幅频率属性转变为离散的属性代码获取训练图像;结合原型模型对离散属性的分布样式进行校对,对训练图像的误差层段重新调整时窗提取属性并反复优化,使其与原型模型匹配;S3、浊积砂体多点地质统计储层建模,建立研究区浊积砂体储层地质模型,综合利用生产动态数据库中的动态资料,对不合理的模拟区域进行误差分析,并反复调整方案对训练图像进行优化,建立静态信息与动态信息相结合的验证模型。本发明沉积微相类型建模效果好,能够对浊积砂体定量预测及精细刻画,准确表征浊积砂体空间分布。

标签:
探矿技术
山东 - 青岛 来源:中冶有色网 2023-03-03
基坑勘探用深孔取土装置

本实用新型公开了一种基坑勘探用深孔取土装置,具体涉及深孔取土领域,包括固定杆,所述固定杆中部设置有固定块,所述固定块底部设置有第一液压缸,所述第一液压缸的输出端固定连接有连接块,所述连接块底部设置有取土机构。本实用新型通过设置取土机构,首先通过钻头来击碎岩石层,然后通过控制取土机构完全钻入深孔内部,通过控制第一液压缸使取土机构上升,取土板在上升的同时受重力影响自动撑开,从而很轻松的取到岩石层下面的土质样本了,操作非常简便,能够适应不同地质进行取样,帮助工作者在进行地质勘探时遇到复杂地质也能够进行取样,提高了工作者的效率。

标签:
探矿技术
山东 - 青岛 来源:中冶有色网 2023-03-03
上一页 18 19 20 21 22 ... 41 下一页
共41页    到第

中冶有色为您提供最新的山东青岛有色金属探矿技术理论与应用信息,涵盖发明专利、权利要求、说明书、技术领域、背景技术、实用新型内容及具体实施方式等有色技术内容。打造最具专业性的有色金属技术理论与应用平台!

全国热门有色金属设备推荐
展开更多 +
全国热门有色金属技术推荐
展开更多 +

 

江西省隆恩特环保设备有限公司
宣传

报名参会
更多+

报告下载

有色专家
更多+

江西理工大学
副校长
南昌航空大学
副院长/教授
武汉工程大学
教授
湖南有色金属研究院
教授级高工/原总工程师
石家庄铁道大学
团委书记/副教授
赤泥综合利用研究报告2025
推广

热门技术
更多+

推荐企业
更多+

福建省金龙稀土股份有限公司
宣传

发布

在线客服

公众号

电话

顶部
咨询电话:
010-88793500-807