青岛垚鑫智能科技有限公司
宣传

位置:中冶有色 >

有色技术频道 >

> 探矿技术

分类:
全部
矿山技术
冶金技术
材料制备及加工技术
环境保护技术
分析检测技术
 
全部
探矿技术
采矿技术
选矿技术
通用技术
地区:
全部
北京
天津
上海
重庆
河北
山西
辽宁
吉林
黑龙江
江苏
浙江
安徽
福建
江西
山东
河南
湖北
湖南
广东
海南
四川
贵州
云南
陕西
甘肃
青海
内蒙
广西
西藏
宁夏
新疆
其他
其他
展开
 
全部
武汉
黄石
十堰
宜昌
襄阳
鄂州
荆门
孝感
荆州
黄冈
咸宁
随州
恩施土家族苗族自治州
仙桃
潜江
天门

湖北武汉有色金属探矿技术理论与应用

免费发布技术信息>>
基于InSAR影像数据的库岸边坡形变监测处理方法

本发明公开了一种基于InSAR影像数据的库岸边坡形变监测处理方法,涉该方法在采集流域库岸边坡的InSAR数据的基础上,首先利用SqueeSAR技术和差分干涉处理等手段提取监测区域的形变信息,并针对获取的形变时间序列进行异常值识别来界定监测范围内出现的不稳定区域;其次考虑库水位和降雨量两个因素,再结合相关地质条件,通过相关性分析方法,判断和解释边坡出现形变异常的原因;最后通过图、表等形式将监测数据及相关分析体现在监测报告中。与现有的技术相比,该方法可以实现流域库岸边坡大范围、高精度的连续、半自动监测,并能够更加合理地进行边坡形变异常的预警预报。

标签:
探矿技术
湖北 - 武汉 来源:中冶有色网 2023-03-05
基于流体压致裂法的三轴实验装置及其实验方法

本发明公开了一种基于流体压致裂法的三轴实验装置及其实验方法,三轴实验装置包括外围压室和内围压室,外围压室为由顶盖、底盖和缸筒固定相连组成的密闭空间,底盖和顶盖上分别设有承压头和加压头,加压头包括设于顶盖上的活塞杆和设于活塞杆下方的压头,将试样置于承压头和压头之间,试样内部的空心圆柱孔内设有构成内围压室的软质筒体,承压头和压头内分别设有将内围压室与外界连通的管道,试样四周通过软质套与外围压室隔离,底盖和顶盖上分别设有与外围压室的管道;通过外界加压设备给外围压室和内围压室施加压力,通过压头施加轴向的压力,本发明能够很好的模拟实际的工程地质条件,提供最佳的实验室环境,拓展了实验室页岩研究范围。

标签:
探矿技术
湖北 - 武汉 来源:中冶有色网 2023-03-05
基于周向电极扫描的异常体方位判断系统及方法

本发明公开了一种基于周向电极扫描的异常体方位判断系统及方法,属于隧道工程地质前探技术领域。本发明包括多个周向电极、恒流驱动电路、电压测量电路、延长线缆和锚杆。将多个周向电极均匀分布在全断面隧道掘进机护盾后方一定距离的隧道壁上,用恒流驱动电路依次向周向电极内通以恒定的电流,并用电压测量电路获取对应的护盾电压。本发明通过分析护盾上电压的大小即能准确的判断异常体的方位,而且结构简单,易于工人操作。

标签:
探矿技术
湖北 - 武汉 来源:中冶有色网 2023-03-05
根据基岩起伏场地高强预应力管桩桩长配桩的方法

本发明公开了一种根据基岩起伏场地高强预应力管桩桩长配桩的方法。它包括创建基岩起伏场地的地质三维模型;确定承台长度、宽度方向的桩数;根据承台宽度、长度方向的桩数及合理桩间距、管桩桩径计算承台长度、承台宽度;根据承台长度、承台宽度和承台埋深计算承台重量;根据管桩所需总桩数、每个柱底轴力及承台重量计算土层所需提供的单桩承载力;根据土层所需提供的单桩承载力计算管桩桩端需要进入持力层的深度;根据管桩桩端需要进入持力层的深度计算每根管桩的实际长度;根据常规已有单节桩长度找出所需管桩总长度最接近每根管桩的实际长度的搭配方式,实现精准配桩。本发明指导施工,减少工程投资,缩短工期。

标签:
探矿技术
湖北 - 武汉 来源:中冶有色网 2023-03-05
长距离大口径顶管方向控制方法

本发明提供一种长距离大口径顶管方向控制方法,包括以下步骤:S1.选择设备:根据工程水文地质资料,选择设备;S2.安装设备:安装激光经纬仪,铺设基座导轨,安装千斤顶支架、千斤顶、顶进工具头;S3.试顶:将圆形顶铁放置在千斤顶与顶进工具头之间,将首节顶管管节放置于顶进工具头和圆形顶铁之间,进行试顶;S4.管节顶进与纠偏:开始正常顶进施工,根据激光经纬仪测量的偏差和顶管管节接缝的压缩偏进行纠偏。本发明利用位于顶管工作井中的均匀环向地顶在圆形顶铁上的千斤顶进行精准微调纠偏,纠偏效果好、操作方便安全、节约成本。

标签:
探矿技术
湖北 - 武汉 来源:中冶有色网 2023-03-05
测试系统的校核装置
测试系统的校核装置 1092     
 0

本申请实施例公开了一种测试系统的校核装置,涉及工程地质勘察技术领域,解决了测试系统校核时间长、成本高的问题。该测试系统的校核装置,包括钻探设备、试验模块和校核模块,钻探设备用于安装随钻测试系统;试验模块设置于钻探设备的钻进方向上,用于模拟钻探设备的施工环境;校核模块设置于钻探设备或试验模块上,用于获取钻探设备的钻进数据。本申请的测试系统的校核装置用于校核随钻测试系统的传感器。

标签:
探矿技术
湖北 - 武汉 来源:中冶有色网 2023-03-05
钻进过程故障诊断方法、系统及设备

本发明涉及地质钻探工程领域,提供一种钻进过程故障诊断方法,包括步骤:通过钻机传感器获取钻进过程数据集,对钻进过程数据集进行预处理,获得预处理后的钻进过程数据集;通过距离相关性分析方法对预处理后的钻进过程数据集进行钻进过程参数的选择与合并,获得k个参数组合;根据Mann‑Kendall趋势检验和近似熵对各参数组合进行时间序列特征提取,获得各参数组合对应的特征组合;通过密度峰值搜索聚类算法对各特征组合进行聚类,获得各参数组合的聚类结果;根据各参数组合的聚类结果,通过朴素贝叶斯分类器进行故障诊断,获得钻进过程故障诊断结果。能够有效地实现钻进过程的故障诊断,保障钻进过程的安全性,减少故障发生造成的经济和环境损失。

标签:
探矿技术
湖北 - 武汉 来源:中冶有色网 2023-03-05
钙钛锆石玻璃陶瓷固化基材及其制备方法

本发明提供一种钙钛锆石玻璃陶瓷固化基材及其制备方法。该钙钛锆石玻璃陶瓷固化基材,按质量百分比计,包括如下原料:SiO230~35%、B2O39~11%、Na2CO312~13.5%、Al2O33~4%、CaO 9.5~11%、ZrO210.5~12%、TiO213~15%和CeO22~10%。本发明制备的钙钛锆石玻璃陶瓷中晶体尺寸在1~5μm之间,晶体在玻璃体中分布均匀,晶体成分单一为钙钛锆石晶体,化学性质稳定,热稳定性好,机械性能优异,不易破碎,适合长期地质存储,核素浸出率低;钙钛锆石玻璃陶瓷可同时固化长寿命核素和其他放射性核素,具有良好的高放废物包容性。

标签:
探矿技术
湖北 - 武汉 来源:中冶有色网 2023-03-05
自启动真空引水虹吸污水排水系统及其控制方法

本发明公开了一种自启动真空引水虹吸污水排水系统及其控制方法,其特征在于:包括污水井、汇水井、污水排水虹吸管、真空引水装置和排气管,所述污水排水虹吸管明敷在地面,两端分别插入到所述污水井和汇水井中,所述污水排水虹吸管的中段连接排气管,所述排气管与真空引水装置连接,所述排气管上设有流量开关,所述污水井内设有污水井水位检测仪,汇水井内设有汇水井水位检测仪。本发明利用了真空引水及虹吸管道原理,组成自动排污系统,有效解决了当遇地下障碍物或者地质条件不容许不能按照重力流敷设管线时候,污水管线敷设困难问题。

标签:
探矿技术
湖北 - 武汉 来源:中冶有色网 2023-03-05
宽量程地下水流速流向测试装置及方法

本发明属于水文地质参数测试领域,具体涉及一种宽量程地下水流速流向测试装置及方法。该测试装置包括:基于热扰动技术的地下水流速测定模块;基于流体力学模型的地下水流速测定模块;以及,固定所述基于热扰动技术的地下水流速测定模块和所述基于流体力学模型的地下水流速测定模块的箱体。该方法包括步骤:以基于热扰动技术的地下水流速测定模块获取数据,根据获取的数据测定流速值Vs,流速值Vs的测量范围为10‑7m/s‑2m/s;以基于流体力学模型的地下水流速测定模块获取数据,根据获取的数据测定流速值Vs,流速值Vs的测量范围为102m/s2m/s的流速。本发明能实现宽量程地下水流速流向测量的综合测试。

标签:
探矿技术
湖北 - 武汉 来源:中冶有色网 2023-03-05
岩石地层压实系数和有效孔隙体积压缩系数计算方法

本发明公开了一种岩石地层压实系数和有效孔隙体积压缩系数计算方法,通过对研究区储层岩样品的岩石地层压实系数实验数据的分析,结合岩石多孔弹性力学理论,提出了基于实测数据的地层压实系数‑孔隙度‑有效应力三维曲面方程和有效应力定理计算地层压实系数、有效孔隙体积压缩系数的方法。对上述复杂非线性多元方程组,通过粒子群算法搜索一个接近于解的初值,基于非线性约束优化得到收敛的岩石地层压实系数,进而计算得到有效孔隙体积压缩系数。该方法解决了精细计算岩石地层压实系数和有效孔隙体积压缩系数的难点问题,在油气藏弹性产能和动态地质储量评价等油气藏工程的各种定量化评价中具有工业应用价值。

标签:
探矿技术
湖北 - 武汉 来源:中冶有色网 2023-03-05
岩体结构面直剪试验中剪切面积的测量方法

本发明提供的岩体结构面直剪试验中剪切面积的测量方法,其步骤包括:采集照片;裁剪与填充;转换为灰阶图片;根据得到的岩体结构面灰阶图片,选择灰度阀值;基于选择的灰度阀值,将岩体结构面灰阶图片转换为黑白二值图片;计算白色部分占整个图片的面积百分比,即岩体结构面直剪试验剪切面积百分比;根据拍照时采用的刻度尺作为参照物,计算出岩体结构面实际的总面积;求出岩体结构面直剪试验的剪切面积。本发明可以解决目前常规测量方法操作复杂、步骤繁琐、工作效率低、人为误差大等缺陷,并且由于操作简单,对减轻地质工作者的工作负担,提高测量精度与工作效率,具有重要的现实意义;同时由于成本较低,易于推广。

标签:
探矿技术
湖北 - 武汉 来源:中冶有色网 2023-03-05
边坡地下水渗流场模型试验系统

本发明提供一种边坡地下水渗流场模型试验系统,涉及地质灾害模拟试验装置技术领域;边坡地下水渗流场模型试验系统包括:试验箱、模拟降雨装置、集水井和滑坡监测装置;试验箱的内部设置有模拟滑床和模拟滑坡体;模拟滑床设置在试验箱的底部;模拟滑坡体倾斜设置在模拟滑床的顶部;模拟滑坡体较低的一侧设置有挡板;模拟降雨装置设置在试验箱的顶部;集水井竖直设置在模拟滑坡体的内部;滑坡监测装置包括设置在模拟滑坡体内部的水位应力监测模块、光纤应变传感器和压力盒;压力盒设置在挡板与试验箱的内侧壁之间,能够模拟集水井在抽水作用下对滑坡体稳定性的影响,进而研究集水井在滑坡治理中的可行性及有效性,并指导工程实践。

标签:
探矿技术
湖北 - 武汉 来源:中冶有色网 2023-03-05
基于多源信息融合的斜坡浅表层岩土工程性质区划方法

本发明提供了一种基于多源信息融合的斜坡浅表层岩土工程性质区划方法,它包括以下步骤:步骤一,研究区选取;步骤二,数据获取;步骤三,数据选择;步骤四,模型建立;步骤五,数据融合;步骤六,ROI样区选择;步骤七,SVM分类及精度评价。该方法采用不同源的三种土地利用数据,结合其各自提供的有效信息,通过数据融合方式,实现斜坡浅表层岩土工程性质区划划分,该方法在一定程度上替代地质图对岩性的控制作用,是一种新的、简便易行的、可快速用于实践研究的方法。

标签:
探矿技术
湖北 - 武汉 来源:中冶有色网 2023-03-04
用于海底钻机圆柱笼式旋转储管架的钻杆取放方法及系统

本发明提供用于海底钻机圆柱笼式旋转储管架的钻杆取放方法,涉及海洋地质勘探设备技术领域;用于海底钻机圆柱笼式旋转储管架的钻杆取放方法,包括如下步骤:S1、上位机监控单元识别所述储管架的管位信息;S2、下位机控制器接收并根据所述管位信息标记第一初始取放管位,并选取钻杆的取放方式;S3、储管架驱动器驱动所述储管架上的待取放管位依次旋转至抓取位;同时,机械手接收并根据所述钻杆的取放方式依次取出或者放入所述钻杆,直至所述钻杆全部被取出或者放入;本发明还提出用于海底钻机圆柱笼式旋转储管架的钻杆取放系统,可以极大地改善因连续管位取放所述钻杆引起所述储管架受力不平衡而缩短所述储管架使用寿命的问题。

标签:
探矿技术
湖北 - 武汉 来源:中冶有色网 2023-03-04
垂直钻孔中地下水流速流向的测定装置

本发明涉及水文地质勘测技术领域,公开了一种垂直钻孔中地下水流速流向的测定装置,包括伸入到垂直钻孔内的探测器本体,还包括与探测器本体连接的线缆系统,探测器本体包括玻璃仓,玻璃仓内设有将玻璃仓分隔为上腔体和下腔体的水平隔板,隔板上设有镜头朝下的摄像头,玻璃仓下方通过立轴连接有电磁流速仪,电磁流速仪上设有三维电子罗盘传感器,线缆系统包括悬吊探测器本体的钢丝绳及为探测器本体提供供电和通讯的供电通讯线缆。本发明垂直钻孔中地下水流速流向的测定装置,可直接测定垂直钻孔中地下水的流速及流向,结构简单,测量方便,可靠性强。

标签:
探矿技术
湖北 - 武汉 来源:中冶有色网 2023-03-04
准确计算白云岩孔洞面孔率的方法

本发明公开了一种准确计算白云岩孔洞面孔率的方法,其关键在于在Adobe Photoshop中识别非孔洞区域,并将其在图像中擦去,是提高孔洞面孔率计算的关键;其次,选择合适的切片数量对纵向分辨率有着重要的影响。利用本发明计算白云岩孔洞面孔率,排除了地质及其它干扰因素,可信度,计算速度较快,程序相对简单,计算结果稳定。

标签:
探矿技术
湖北 - 武汉 来源:中冶有色网 2023-03-04
基于无人车和倾角传感器的变形巡测方法

本发明涉及工程变形监测技术领域,尤其是一种基于无人车和倾角传感器的变形巡测方法,根据监测的区域的地质条件及相关建筑物或构筑物位置信息,布置无人车轨道,无人车轨道的布置过程为首先在需要监测的区域内选取至少两个基准点,然后在基准点之间均匀规划监测点,再在基准点和监测点上设置固定桩,最后在相邻的固定桩之间放置导轨,无人车搭载倾角传感器在无人车轨道上移动,无人车搭载倾角传感器包括无人车,无人车首尾两节为动力模块和电源模块,中间一节为主控模块、倾角传感器和数据存储模块,由外部终端控制无人车对监测的区域进行数据采集,远程终端对采集的收据进行提取,远程终端对传感器数据进行处理。本发明结构简单,值得推广。

标签:
探矿技术
湖北 - 武汉 来源:中冶有色网 2023-03-04
静力触探可视化组件
静力触探可视化组件 1119     
 0

本发明公开了一种静力触探可视化组件,包括探杆、可视化组件盒以及可视化组件盒盖板,其特征在于,所述探杆内部为中空结构,其侧壁开有槽,槽的大小正好与可视化组件盒的盒身适配,所述可视化组件盒的盒身镶入槽里面,槽下方设置有刮刀;所述探杆、可视化组件盒和可视化组件盒盖板三者通过螺钉和螺钉连接为整体;所述可视化组件盒中设置有集成线路板、第一LED灯珠发光二极管、第二LED灯珠发光二极管、针孔摄像机、充电电池、第一电源线、第二电源线、第三电源线和第四电源线;本发明结构简单、轻便,安装快速,适合野外操作,可以直观地记录静力触探试验土层的地质信息,实现了静力触探工作的可视化。

标签:
探矿技术
湖北 - 武汉 来源:中冶有色网 2023-03-04
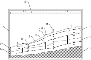
包含倾斜吊索和变截面主缆的悬索-斜拉协作体系

本发明公开了一种悬索-斜拉协作体系,其悬吊子体系采用了倾斜布置的吊索5,与布置在主塔2附近的斜拉索4一起,均匀连续的为主梁1提供弹性支承,从而在根源上解决了罗勃林体系和狄辛格体系因具有明显的内力和变形不连续现象而基本无法实施的问题。本发明还结合主缆3内力分布的新规律,提供了一种将部分索股锚固在索夹下端附近的悬索结构,索夹抗滑设计困难的问题也迎刃而解。该体系受力明确、动力特性好、安全可靠、节省材料、外形优美、无须大型锚碇和优良地质条件、环境适应性强、适合采用悬臂法施工、跨越能力优秀,适用于中大跨径、特别是超大跨径桥梁工程。

标签:
探矿技术
湖北 - 武汉 来源:中冶有色网 2023-03-04
喇叭口隧道洞门结构
喇叭口隧道洞门结构 1466     
 0

本发明提供了一种喇叭口隧道洞门结构,包括隧道洞口段衬砌结构,其特征在于:在所述衬砌结构外侧平顺对接有洞门,所述洞门向外延伸并且洞门内空腔横断面积向四周逐渐扩大形成喇叭口。本发明的喇叭口隧道洞门可以满足铁路隧道设计规范中的空气动力学要求,能够将微压波的压力峰值削减20-35%,无需额外设置专门的缓冲结构,无需为洞门墙进行额外刷方,洞口刷方量少,从而具有结构简单、占据空间小的优势。并且由于结构简单,纵向长度小,对隧道洞口地形和地质要求低,因此适用性也强,成本低。同时斜切面的洞门还具有良好的防边坡坍塌、防落石的功能,稳固性好,具有很强的实用性。

标签:
探矿技术
湖北 - 武汉 来源:中冶有色网 2023-03-04
二次成型电镀金刚石钻头制造工艺

本发明涉及一种金刚石钻头的制造工艺,特别是用于地质岩芯钻探、工程基础钻进、混凝土取样的金刚石钻头的制造工艺。它是在常温下,采用电镀方法先预制金刚石孕镶块,再用电镀法将金刚石孕镶块镀焊在钻头基体上。镶焊孕镶片的同时,将外购的、用来保护钻头外径和内径的金刚石聚晶也牢固镀焊在钻头基体上。利用这种工艺制造的金刚石钻头,不仅使用寿命长、钻进效率高,而且产品生产周期大幅度降低,从而使低品位的人造金刚石得到进一步开发利用。

标签:
探矿技术
湖北 - 武汉 来源:中冶有色网 2023-03-04
滑带土原状取土器
滑带土原状取土器 1051     
 0

本发明公开了一种滑带土原状取土器,上端连接顶板,下端连接底板;内管与套管等长并能够沿套管上下移动;内管包括中间部分由内及外套置的衬管和取样管,上部的废土管、以及下端的管靴;废土管顶部封闭并设有单向排气阀;顶板中心开孔且传力齿条由顶板开孔穿出,传力齿条两侧面均设置外齿;两个圆柱齿轮对称设置在顶板上且分别与传力齿条两侧面外齿啮合;传力齿条稍长于套管且下端与废土管连接;各圆柱齿轮轮轴上均固定有一个棘轮扳头,圆柱齿轮与棘轮扳头同轴,且转动方向和角速率一致;棘轮扳头末端各套入一根手柄。即可适用于采取滑带土原状样又可用于采取一般野外地质断面原状土,兼适于横向钻进和竖向钻进取土。

标签:
探矿技术
湖北 - 武汉 来源:中冶有色网 2023-03-04
碎屑岩气藏储层古压力计算方法、装置及计算机设备

本发明提供了一种碎屑岩气藏储层古压力计算方法。通过对试验区砂岩岩样覆压孔隙度和地层压实系数测试数据分析,结合岩石地层压实系数和有效孔隙体积压缩系数的定义,建立了表征地质历史时期孔隙体积变化的公式,通过实测数据和岩石物理模型计算有效孔隙体积压缩系数,进而得到各历史时期孔隙体积的变化,储层为干气或湿气藏时,以现今储层实测压力和温度为起点,结合模拟地层热演化史古温度曲线,进而计算得到各历史时期的储层古压力值。一定程度上解决了以往计算方法依赖微观流体包裹体观测和测试、且难以连续性地计算各历史时期古压力的这一难题,在盆地分析和油气成藏动力学研究中发挥重要的作用,在油气勘探和评价上具有重要工业应用价值。

标签:
探矿技术
湖北 - 武汉 来源:中冶有色网 2023-03-04
具有自封闭裂缝功能的高抗渗水泥基修补砂浆及制备方法

本发明为具有自封闭裂缝功能的高抗渗水泥基修补砂浆及制备方法,适用于建筑材料技术领域,提供一种修补砂浆包含的组分以及各组分的质量份配比如下:硫铝酸盐水泥100份、石英砂150~300份、高吸水性树脂SAP5~16份、水性环氧树脂乳液2~9份、固化剂1.4~6.4份、减水剂0.5~1份、消泡剂0.1~0.3份、水20~35份。其中高吸水性树脂使用前需采用高浓度钙盐溶液预处理。本发明提供的水泥基修补砂浆不但与基体混凝土具有良好的粘结效果,而且在有地下水渗透时具有自封闭裂缝功能,从而起到良好的抗渗效果,可有效提升高含水地质下地下工程混凝土的修补效率。

标签:
探矿技术
湖北 - 武汉 来源:中冶有色网 2023-03-04
跨市区轨道交通的纠偏方法

本申请公开了一种跨市区轨道交通的纠偏方法,包括:确定刚性桩的位置、直径、间距以及桩长;确定桥墩的偏移方向,在偏移方向对侧的道路设置应力释放措施;在偏移方向一侧的刚性桩之间,由外向内,顺次打入N排高压喷射注浆桩,N≥2;撤除应力释放措施,回填土壤。本申请的一种跨市区轨道交通的纠偏方法,可在市区复杂地质条件下进行纠偏。

标签:
探矿技术
湖北 - 武汉 来源:中冶有色网 2023-03-04
基于无人机激光雷达点云杆塔倾斜参数测量方法及系统

本发明公开了一种基于无人机激光雷达点云杆塔倾斜参数测量方法,包括如下步骤:杆塔三维点云滤波,杆塔分割与特征面提取,塔身三维重建及模型数据库建立,对待评估杆塔特征平面进行中心点计算,对待评估杆塔进行倾斜状态评估与倾斜角度计算。本发明实现对杆塔结构关键部位的自动识别及提取以及对线路杆塔的几何参数快速扫描与倾斜参数智能化评估。利用先进的无人机巡线技术,显著提升了线路巡检效率和准确度,降低了巡检费用以及工作人员的工作量和风险,实现具有工程实践意义上的杆塔倾斜地质监测预警和风险防控,提高线路运行可靠性,降低重大电网安全稳定运行风险。

标签:
探矿技术
湖北 - 武汉 来源:中冶有色网 2023-03-04
基于吸附特征曲线与特征方程的页岩吸附量的预测方法

本发明公开了基于吸附特征曲线与特征方程的页岩吸附量的预测方法,包括采集有机质页岩样品,抽真空处理;采集甲烷等温吸附数据;计算吸附势与过剩吸附量;过剩吸附量校正为绝对吸附量;绝对吸附量与吸附势进行非线性拟合,获得初始吸附特征曲线;获得最优拟合曲线,作为最优吸附特征曲线,将最优吸附特征曲线对应的拟合方程作为特征方程,利用吸附势理论将特征方程改写为吸附量与温度、压力的函数;获取储层温度、压力及相关的地质数据,代入吸附量与温度、压力的函数中,通过计算,即得到储层中有机质页岩吸附量。本发明的模型可进一步预测有机质页岩储层的吸附气含量,在储层含气量的精细描述中具有广泛的应用价值。

标签:
探矿技术
湖北 - 武汉 来源:中冶有色网 2023-03-04
煤层气钻井甲烷浓度探测仪

本发明属于地质勘探技术领域,公开了一种煤层气钻井甲烷浓度探测仪,包括:测量短节以及位于测量短节内的数据采集存储系统;数据采集系统包括:甲烷传感器、数据处理芯片以及数据存储模块;甲烷传感器固定在测量短节上,通过数据处理芯片与数据存储模块相连;测量短节包括:主轴、电池仓、电路盒和传感器座;主轴上开设孔槽,电池仓固定在孔槽内;电路盒固定在孔槽内,数据处理芯片以及数据存储模块置于电池盒内,与电池仓连接;传感器座固定在孔槽内,甲烷传感器固定在传感器座上,与数据处理芯片相连。本发明提供了一种高可靠性,高稳定性的煤层气钻井甲烷浓度探测仪。

标签:
探矿技术
湖北 - 武汉 来源:中冶有色网 2023-03-04
基于水动力学的沉积相预测方法

本发明公开了一种基于水动力学的沉积相预测方法。它包括确定主要控砂地质因素;运用地层埋藏史,对盆地进行恢复;按照颗粒搬运方式的不同,将沉积物分为二类;根据沉积组分的模拟表征计算沉积物的沉积量,重复模拟直至模拟结束;选取1‑4400时刻中的平面数据,同时选取一条剖面进行分析,确定剖面沉积相;顺物源方向或垂直于物源方向任选取一条剖面,将剖面的数据筛选提取出来,结合图件的特征确定剖面的沉积相;确定剖面各个组分比例关系与沉积相的对应关系:根据选取的剖面和确定的剖面沉积相分析剖面中砂泥比例与沉积相之间的对应关系;确定平面沉积相。具有能对沉积区沉积相进行定量描述的优点。

标签:
探矿技术
湖北 - 武汉 来源:中冶有色网 2023-03-04
上一页 17 18 19 20 21 ... 63 下一页
共63页    到第

中冶有色为您提供最新的湖北武汉有色金属探矿技术理论与应用信息,涵盖发明专利、权利要求、说明书、技术领域、背景技术、实用新型内容及具体实施方式等有色技术内容。打造最具专业性的有色金属技术理论与应用平台!

全国热门有色金属设备推荐
展开更多 +
全国热门有色金属技术推荐
展开更多 +

 

江西省隆恩特环保设备有限公司
宣传

报名参会
更多+

报告下载

有色专家
更多+

太原理工大学
院长/教授
武汉科技大学
校学术委员会主任 / 教授
江西理工大学
副校长/教授
湖南有色金属研究院
教授级高工/原总工程师
江西理工大学
教授
赤泥综合利用研究报告2025
推广

热门技术
更多+

推荐企业
更多+

福建省金龙稀土股份有限公司
宣传

发布

在线客服

公众号

电话

顶部
咨询电话:
010-88793500-807