青岛垚鑫智能科技有限公司
宣传

位置:中冶有色 >

有色技术频道 >

> 探矿技术

分类:
全部
矿山技术
冶金技术
材料制备及加工技术
环境保护技术
分析检测技术
 
全部
探矿技术
采矿技术
选矿技术
通用技术
地区:
全部
北京
天津
上海
重庆
河北
山西
辽宁
吉林
黑龙江
江苏
浙江
安徽
福建
江西
山东
河南
湖北
湖南
广东
海南
四川
贵州
云南
陕西
甘肃
青海
内蒙
广西
西藏
宁夏
新疆
其他
其他
展开
 
全部
济南
青岛
淄博
枣庄
东营
烟台
潍坊
济宁
泰安
威海
日照
滨州
德州
聊城
临沂
菏泽

山东济南有色金属探矿技术理论与应用

免费发布技术信息>>
基于多元地学信息叠加识别的矿产预测方法

本发明公开了一种基于多元地学信息叠加识别的矿产预测方法,属于资源信息技术领域,首先根据已有地质、物探、化探等成果资料进行综合分析,确定预测矿种,依据确定的一种或多种预测矿种优选相关地学信息;其次对优选的不同级别、不同计量单位的多元地学信息进行标准化处理,通过不同叠加方式进行多元地学信息的叠加集成,进行异常信息的有效提取,圈定找矿预测靶区。本发明实现了微弱地学信息异常的有效增强,使多元地学信息在矿产预测中得到了深度挖掘,且达到了更高精度的矿产预测。

标签:
探矿技术
山东 - 济南 来源:中冶有色网 2023-02-28
基于多元地球物理的矽卡岩型富铁矿深部勘查方法及系统

本发明地质勘查的深部找矿技术领域,提供了基于多元地球物理的矽卡岩型富铁矿深部勘查方法及系统,该方法将直接找矿与间接找矿相结合,采用重力、磁法、电法、地震等多种地球物理方法,发挥各地球物理方法优势,开展多元地球物理信息的交叉约束和联合解译,推断深部矿体延伸,开展钻探验证,并进行地球物理测井,以钻探及测井资料为约束反复校正地球物理解译成果,实现隐伏磁铁矿体的精准定位,提高了勘查成功率,降低了勘查成本。

标签:
探矿技术
山东 - 济南 来源:中冶有色网 2023-02-28
寻找厚覆盖区煤层下矽卡岩型富铁矿的方法

本发明公开了一种寻找厚覆盖区煤层下矽卡岩型富铁矿的方法,其特征在于,包括以下步骤;广泛收集A区以往地质资料,运用煤炭、煤层气地质物探资料与金属物探信息融合分析,厘定该区构造格架与地层结构,初步圈定岩浆岩侵入体的分布范围,圈定高重、强磁、高速含矿地质体的空间分布形态,圈定三个航磁异常区,甲区、乙区和丙区;对航磁异常区进行地面高精度磁测,进一步圈定找矿靶区;对矿靶区进行重磁剖面测量,通过重磁联合约束反演与综合物探信息融合研究,锁定钻探验证井位;在钻探验证井位实施钻探验证;本发明可以很好的寻找富铁矿,该方法实施简单,步骤简便,适合广泛的推广和使用。

标签:
探矿技术
山东 - 济南 来源:中冶有色网 2023-02-28
深部巷道围岩分区破裂现场探测系统

本实用新型公开了一种深部巷道围岩分区破裂现场探测系统,包括多点位移计、钻孔电视探头、彩色监视器,所述多点位移计设于巷道监测断面的位移计安装孔内,通过细钢丝绳分别引出钻孔外,以测量钻孔不同深度处围岩的变形,钻孔电视探头设于巷道监测断面的电视探头安装孔内,钻孔电视探头与彩色监视器连接;采用多点位移监测、矿井钻孔电视成像、电阻率测量等观测方法以及地质雷达探测技术互相补充,取长补短,能够得出可靠的数据结果,对于深部巷道支护选择合理的支护方式提供了依据,特别适用于用于深部地下工程中,评估围岩分区破裂范围和破坏程度及确定相关支护措施。

标签:
探矿技术
山东 - 济南 来源:中冶有色网 2023-02-28
地球物理勘探用井下检波器及使用方法

本发明属于地质探测技术领域,尤其是一种地球物理勘探用井下检波器及使用方法,针对现有的检波器都是采用人工将其运送至矿井内,然后对其进行固定安装,然而矿井的深度较深,在人工进行运输时,往往会存在一定的安全隐患的问题,现提出如下方案,其检波器包括承载箱和检波器,所述检波器固定安装在承载箱的顶部,所述承载箱上连接有行走组件,所述承载箱的顶部固定安装有位于检波器右侧的安装罩,本发明结构合理,采用自行走的方式能够将检波器移入矿井内的任意位置,并且能够实现稳定的制动,以此能够方便对矿井内的岩石层进行信息检测,并且无需人工进入矿井内,所以具有良好的使用方便性和安全性。

标签:
探矿技术
山东 - 济南 来源:中冶有色网 2023-02-28
岩矿石标本磁参数测量装置

本实用新型提供了一种岩矿石标本磁参数测量装置,包括等腰三角形架,等腰三角形架的第一直角边和第二直角边的一端相交处中部开设凹槽,凹槽处安装标本盒,等腰三角形架的斜边一端与第一直角边的另一端连接,该连接处安装第一探头,等腰三角形架的斜边另一端与第二直角边的另一端连接,该连接处安装第二探头,第一探头与第一总场磁力仪相接,第二探头与第二总场磁力仪相接。使用本实用新型测量岩矿石标本磁参数时,不需准确预知地磁倾角,就能够准确测量剩余磁化强度等各种磁参数,可避免常规测量方法因地磁倾角不准确而导入的测量误差。本装置具有易于携带、安装简便,测量的准确度高等特点。

标签:
探矿技术
山东 - 济南 来源:中冶有色网 2023-02-28
深部金矿阶梯式找矿方法

本发明公开了一种深部金矿阶梯式找矿方法,包括如下步骤:(1)筛选有利成矿区域;(2)在选定的区域内按照一定的距离布设地球物理测线,沿测线进行高精度地球物理探测,获取每一测点的探测数据;(3)进行地球物理数据处理,形成等值线图;(4)建立深部金矿地质-地球物理找矿模型;(5)根据深部金矿阶梯式成矿模式和地质-地球物理找矿模型,判别控矿断裂深部倾角阶梯式变化部位,圈定深部金矿位置、形态和规模。

标签:
探矿技术
山东 - 济南 来源:中冶有色网 2023-02-28
深部巷道围岩分区破裂现场探测系统和探测方法

本发明公开了一种深部巷道围岩分区破裂现场探测系统,包括多点位移计、钻孔电视探头、彩色监视器,所述多点位移计设于巷道监测断面的位移计安装孔内,通过细钢丝绳分别引出钻孔外,以测量钻孔不同深度处围岩的变形,钻孔电视探头设于巷道监测断面的电视探头安装孔内,钻孔电视探头与彩色监视器连接;采用多点位移监测、矿井钻孔电视成像、电阻率测量等观测方法以及地质雷达探测技术互相补充,取长补短,能够得出可靠的数据结果,对于深部巷道支护选择合理的支护方式提供了依据,特别适用于用于深部地下工程中,评估围岩分区破裂范围和破坏程度及确定相关支护措施。

标签:
探矿技术
山东 - 济南 来源:中冶有色网 2023-02-28
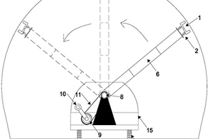
用于隧道二衬检测的地质雷达辅助装置及方法

本发明公开了一种用于隧道二衬检测的雷达天线辅助台车装置及方法,包括移动机构,在所述的移动机构上安装有驱动机构,所述的驱动机构驱动一个液压伸缩杆机构在隧道二衬的拱形截面内旋转;所述的液压伸缩杆机构末端安装有天线夹持装置;所述的天线夹持装置夹持天线实现二衬检测。整个装置操作安全,不需要二衬台车或三臂凿岩台车托举操作人员进行扫描,一系列操作在地面均可完成,保证了设备及人员的安全。

标签:
探矿技术
山东 - 济南 来源:中冶有色网 2023-02-28
地下工程地质勘察无线地震仪组网方法及无线地震仪

本发明属于隧道无线地震仪通信领域,提供了一种隧道无线地震仪组网方法及无线地震仪。隧道无线地震仪组网方法用于实现无线地震仪中主站和多个终端的组网,包括在主站和终端开机时自动进入主动组网模式;所述主动组网模式为终端主动向主站发送组网请求指令,主站接收到指令后,储存终端地址,回复同意组网指令后完成主动组网;判断全部终端是否均成功组网,若是,则组网完成;否则,接收组网切换指令,进入被动组网模式;所述被动组网模式为主站广播被动组网指令,终端接收到被动组网指令后,根据自身的地址和已成功组网终端地址表生成请求组网顺序,多个终端顺序发送组网请求,依次与主站完成组网。主动组网模式和被动组网模式互补,完成安全高效的组网。

标签:
探矿技术
山东 - 济南 来源:中冶有色网 2023-02-28
地质勘探样品保存装置

本实用新型公开了一种地质勘探样品保存装置,包括箱体,箱体顶部开设有等距排列的若干岩芯槽,岩芯槽内侧设有抽取组件,箱体左侧开设有与岩芯槽相适配的通槽,岩芯槽和通槽的相邻侧连通,箱体的顶部两侧均固定连接有弧形板,箱体的底部两侧均开设有与弧形板相适配的弧形槽。本实用新型通过岩芯槽给岩芯样本单独的存储空间,使其便于抽取检查,通过弧形板和弧形槽的配合,使多个箱体上下叠放的时候结构更稳固,不易受晃动而滑动、坍塌,保护内部样品。

标签:
探矿技术
山东 - 济南 来源:中冶有色网 2023-02-28
地质勘查用水质检测提取装置

本实用新型属于水质检测技术领域,尤其为一种地质勘查用水质检测提取装置,包括底座,所述底座底端面的四个拐角处均开设有槽,所述底座底端面的槽内均设有电动伸缩杆,所述电动伸缩杆与所述底座固定连接,所述电动伸缩杆的伸缩端末端固定设有中空结构的第一箱体,所述第一箱体顶端面内侧壁固定设有弹簧;工作人员将此装置放置在工作地点,首先将第一电机通电,使第一电机的转动轴带动第二立柱旋转,进而使横梁旋转,实现调整横梁的位置,使此装置适用不同宽度的河流、湖泊,此时将电动伸缩杆通电,使电动伸缩杆的伸缩端带动万向轮移动,进而实现调平此装置的作业。

标签:
探矿技术
山东 - 济南 来源:中冶有色网 2023-02-28
适用于隧道二次衬砌质量检测的地质雷达辅助装置

本申请公开了一种适用于隧道二次衬砌质量检测的地质雷达辅助装置。辅助装置,包括:可调节长度的梯体;用以放置雷达的支撑基座,其侧边与所述梯体顶端的一侧铰接;伸缩弹簧,其一端与所述梯体连接,另一端与所述支撑底座的底面固定连接,用以实现所述支撑基座的折叠和/或打开;测距轮,与所述支撑基座和/或梯体的顶部连接,所述测距轮与所述梯体平行;扣合装置,其固定在所述梯体底端的一侧,具有用以与货车货箱侧壁挂扣的朝向底端的钩体。可以保证操作人员的安全,且操作简单、快捷,大大降低了劳动强度,有效的节约检测时间,减少测量工作人员的劳动量,具有显著的进步。

标签:
探矿技术
山东 - 济南 来源:中冶有色网 2023-02-28
用于滑坡地质灾害的挡土墙构造

本实用新型公开了一种用于滑坡地质灾害的挡土墙构造,涉及滑坡挡土领域,包括混凝土块,所述混凝土块的顶面垂直向上对接有支撑中杆,所述支撑中杆的顶端对接有转动顶块,所述支撑中杆的两侧边对称开设有侧卡接槽,所述支撑中杆的两侧边对称对接有隔离侧板,所述隔离侧板的两侧边对称焊接有限位卡条,所述隔离侧板的一侧边竖直向开设有加强槽道,所述加强槽道的内侧边竖直向卡接有工字插杆,所述工字插杆的一侧边对接有支撑斜块,所述混凝土块的顶面均匀浇筑有稳定插块。本实用新型装置设计分体化结构简单操作简便,在采用了拼接式结构使得安装更加的简便高效,同时在多重的加强支撑结构下使得更加的稳定。

标签:
探矿技术
山东 - 济南 来源:中冶有色网 2023-02-28
工程地质勘察钻探泥浆处理装置及泥浆处理系统

本实用新型公开了一种工程地质勘察钻探泥浆处理装置及泥浆处理系统,包括壳体、过滤筛和第一挡板,所述第一挡板平行于壳体的侧壁安装于壳体内部,将壳体内部分隔成第一区域和第二区域;所述过滤筛安装于第一区域的顶部进口处;第一挡板的左右两侧及底部均与壳体内壁接触,且第一挡板的高度低于壳体侧壁的高度,第一挡板的顶部与壳体的侧壁围成溢流区;所述第一挡板的位于第一区域侧的侧面设置有若干个板体,若干个板体安装在第一挡板的不同高度处,每个板体向第一挡板的侧向延伸,且板体的两侧分别与壳体的侧壁接触。将钻取岩心过程中产生的岩粉携带出钻孔,进入勘察泥浆装置中进行处理。同时可以解决漏浆、环境污染的问题。

标签:
探矿技术
山东 - 济南 来源:中冶有色网 2023-02-28
水文地质孔用多层地下水水位观测装置

本实用新型涉及水位观测装置技术领域,公开了一种水文地质孔用多层地下水水位观测装置,其结构包括固定架,所述固定架上设置有蓄电池箱、控制器、支撑架和固定板,所述蓄电池箱固定连接在所述固定架上端的左侧,所述控制器固定连接在所述固定架的上端,并且位于所述蓄电池箱的右侧,所述支撑架固定连接在所述固定架上端的中间处,所述固定板固定连接在所述固定架上端的右侧。本实用新型实现了对地下水位上升的高度进行自动检测,避免了操作人员蹲守在观测装置旁边进行查看,降低了操作人员在使用观测装置时的劳动强度,还能让操作人员直观的观察出水位的上升量,提高了观测装置对地下水位检测时的便捷性。

标签:
探矿技术
山东 - 济南 来源:中冶有色网 2023-02-28
用于第四系地质调查钻孔封孔简易装置

本实用新型提供了一种用于第四系地质调查钻孔封孔简易装置,包括罩板和支撑板,所述的罩板一侧螺纹安装环板,罩板中部设有带有锁定功能的推杆组件,罩板底面设有竖杆,竖杆下端铰接安装连接套,连接套内设有沿其移动的连接杆,连接杆内端铰接圆板,圆板与使其移动的推板组件连接,连接杆外端铰接安装支撑板。本实用新型使用方便,通过推板组件移动圆板,又因为竖杆、连接套和连接杆的连接关系,能够改变支撑板的使用位置,以此适应不同直径的钻孔,提高适用范围;结构简单,没有增加过多的额外设施,便于循环使用,降低适用成本;本装置确保了钻孔不被掩埋或者损坏,方便后续再次取样检测。

标签:
探矿技术
山东 - 济南 来源:中冶有色网 2023-02-28
三维地质力学模型试验台架装置

本实用新型涉及一种三维地质力学模型试验台架装置,由盒式钢台架体和底盘通过高强螺栓连接组成,盒式台架体由盒式铸钢构件和在拐角处设置的角件通过高强螺栓连接组合而成。所述的盒式铸钢构件由单元盒体构件和多元盒体构件组成,单元盒体构件为中空结构,呈正面开口的方形盒体,四个侧面上分别设有高强螺栓连接孔,正面中间设有引线透气孔;多元盒体构件由至少两个或多个单元盒体构件组成一体;角件是中空的相邻两侧面设有开口的盒体,其余面上设有螺栓连接孔;底盘由带有螺栓槽的型钢钢板并列拼接而成。本实用新型具有规模大、功能多、结构开放、组装灵活方便、尺寸可任意调整、整体稳定性好、耐久性好、可重复使用、易于进行模型开挖等优点。

标签:
探矿技术
山东 - 济南 来源:中冶有色网 2023-02-28
泥岩和黏土地质盾构渣土改良分散剂及其制备与应用

本发明提供了一种泥岩和黏土地质盾构渣土改良分散剂,包括:降粘附分散组分1~2份,渗透分散组分1.5~3.5份,包裹分散组分1.0~2.5份,络合组分0.1~0.5份,pH值调控组分0.1~0.3份,稳定组分0.3~0.8份,保鲜组分0.2~0.5份,水89.9~95.8份。本发明还提供了一种上述分散剂的制备方法与应用。本发明优点在于:利用降粘附分散组分降低黏土在刀盘表面的粘附力以阻止泥饼生成,利用渗透分散组分的渗透吸附实现早期黏土颗粒分散,然后借助包裹分散组分对泥岩块体包裹阻聚作用,赋予土体较大的压缩特性,达到长时分散效果;将该分散剂配合泡沫剂使用,可有效解决刀盘结泥饼问题。

标签:
探矿技术
山东 - 济南 来源:中冶有色网 2023-02-28
地质力学模型实验智能化涡轮式自动拌和装置及方法

本发明公开了一种地质力学模型实验智能化涡轮式自动拌和装置及方法,包括涡轮拌和杆、升降盖、旋转料缸、联动装置和底座;所述的涡轮拌和杆通过升降盖上设置的三个拌和杆通孔插入旋转料缸中,可以在步进齿的作用下上下运动;所述的升降盖通过固定在其上的液压推杆与固定在底座上的液压底柱连接,可以上下运动;所述的升降盖下表面设置有与旋转料缸压合接触的旋转垫圈,所述的旋转料缸通过旋转盘与底座连接,在旋转盘作用下旋转料缸和旋转垫圈会相对升降盖发生转动;所述的联动装置一端固定在升降盖上,一端固定在旋转料缸上,在液压推杆作用下可以将旋转料缸绕转轴倾倒。

标签:
探矿技术
山东 - 济南 来源:中冶有色网 2023-02-28
地下工程激发极化超前地质预报无线快速采集系统及方法

本发明公开了地下工程极化超前地质预报无线快速采集系统,包括支架,在支架的一侧安装不极化电极,另一侧设有用于将支架吸附到掌子面的真空发生模块;密封圈,设于掌子面表面用于支撑支架;无线采集及通讯模块,设于支架上,包括无线传输模块和数据采集模块,数据采集模块与不极化电极连接;本发明提出的快速采集系统通过无线通讯控制切换电极避免了人工跑极,实现了探测电极采集传输切换的自动化控制,同时各电极由各自独立的单路采集模块并行采集,改进了传统的顺序采集方式,极大地缩短了采集时间;本发明提出的快速采集系统探测全过程速度快,效率高,即安即测,可在隧道各施工工序间隙完成,不影响正常施工。

标签:
探矿技术
山东 - 济南 来源:中冶有色网 2023-02-28
便携式可收纳的地质勘测测绘无人机

本实用新型公开了便携式可收纳的地质勘测测绘无人机,属于无人机技术领域,本实用新型包括无人机体,所述无人机体顶端边部等距滑动连接有滑杆,其特征在于:所述无人机体顶端中部固定安装有调节保护组件,所述调节保护组件主要由具有对连接块位置固定功能的固定框、定位弹簧和卡块组合而成,所述无人机体顶端边部固定安装有连接防尘组件,所述连接防尘组件主要由具有对遮布进行收卷功能的固定箱、收卷辊和扭转复位弹簧组合而成,本实用新型通过调节保护组件,便于工作人员对保护杆位置进行移动固定,降低了工作人员定位保护杆难度,从而便于工作人员对螺旋桨进行保护处理,进而避免螺旋桨在使用时出现外界物体与螺旋桨碰撞的情况。

标签:
探矿技术
山东 - 济南 来源:中冶有色网 2023-02-28
用于工程地质勘察钻探设备

本实用新型公开一种用于工程地质勘察钻探设备,包括连接环,连接环内设置有钻探电机,钻探电机下方通过钻连接头传动连接有钻杆,连接环上方设置有内槽,内槽上设置有压板,压板一端连接有一号螺杆,连接环上两侧设置有滑槽,滑槽上设置有滑块,滑块一端连接有横杆,横杆上设置有二号螺帽,有益效果:本装置通过设置有支撑杆,支撑杆通过一号铰链与横杆活动连接,能够使得支撑杆通过一号铰链折叠起来,通过设置有横杆,横杆通过滑块与滑槽滑动连接,能够使得横杆可以折叠起来,横杆一端通过二号螺帽与二号螺杆活动连接,能够使得横杆通过二号螺杆调节本装置的使用高度,此种设计,使得本装置便于收纳呵呵使用高度的调节。

标签:
探矿技术
山东 - 济南 来源:中冶有色网 2023-02-28
地质检测用炬管清洗装置

一种地质检测用炬管清洗装置,包括一顶部开放设置的清洗槽本体,在清洗槽本体一侧的底部设有一排水口,在清洗槽本体的底部四角分别设有一支撑脚,在清洗槽本体内体的内部中间竖直设有一固定柱,在固定柱的内部设有一通水管,在固定柱上间隔设有若干个与通水管相连通的喷水孔。本实用新型采用上述方案,在清洗槽本体中采用固定柱和固定装置设计,在对炬管的内管进行浸泡的过程中,避免了炬管与清洗槽本体的内壁发生碰撞,发生损坏;采用通水管通过喷水孔对内管的内壁直接进行喷水清洗,能够直接对弯折部位进行冲刷,清洗过程简单,清洗效果好。

标签:
探矿技术
山东 - 济南 来源:中冶有色网 2023-02-28
高稳定性地质勘探采样装置

本申请涉及一种高稳定性地质勘探采样装置,其包括升降机构,包括升降机构,升降机构连接有采样机构,升降机构带动采样机构升降;升降机构包括固定组件,固定组件连接有驱动组件,驱动组件连接有托底组件,驱动组件驱动采样机构对土壤进行采样处理;托底组件包括转动盘,转动盘与驱动组件连接,转动盘上固定连接有条形板,条形板远离转动盘的一端转动连接有托板。本申请具有采样效率高的效果。

标签:
探矿技术
山东 - 济南 来源:中冶有色网 2023-02-28
地质工程用的泥土取样装置

本实用新型涉及一种地质工程用的泥土取样装置,属于泥土取样工具技术领域。包括一端为开口设置的取土容器以及可拆卸设置在取土容器开口端的取土端盖;取土容器为圆柱形空腔结构,取土端盖与取土容器之间为螺纹连接;取土容器的封闭端的外端面设置连接耳座;取土端盖的端面设置向外凸出的取土刮刀,并且对应取土刮刀位置的取土端盖表面设置使土样进入到取土容器的缝隙;取土端盖的表面设置至少一个止动螺钉。本实用新型采用的是刮土取样的方式,在取样时尽量不对土样进行挤压,能够尽可能地保持土壤样品的原始状态,确保后续检验的便捷与准确。

标签:
探矿技术
山东 - 济南 来源:中冶有色网 2023-02-28
工程地质勘探用安全防护装置

本实用新型涉及防护栏领域,尤其涉及一种工程地质勘探用安全防护装置,包括边框,所述边框的内侧固定安装有网架,所述边框的上边转动套装有上连杆,所述上连杆的下端通过伸缩机构连接有下连杆,所述下连杆的下端转动连接有转动块,所述转动块的上端面滑动贯穿有插杆,所述边框的下边沿对应下连杆的前方设置有凹型钢,所述网架的外表面对应凹型钢的上方设置有凹型架,本实用新型安装在斜坡上时,保障支撑的稳定性,收起时,使得整体结构较为平整,利于堆叠搬运,使用便利。

标签:
探矿技术
山东 - 济南 来源:中冶有色网 2023-02-28
地质勘查用野外样品取样装置

本实用新型公开了一种地质勘查用野外样品取样装置,包括固定筒和导杆;所述固定筒的内部竖直设置有收集筒,所述收集筒的顶端中部开设有安装槽,所述安装槽的内部设置有转轴,所述固定筒的左侧和右侧内壁中部竖直对称开设有限位槽。本实用新型把固定筒的底端与地面贴合,通过导杆贯穿导槽螺旋连接,顺时针转动把手,转动的导杆能够平稳的推动收集筒往下移动贯穿地面深入地下,进行土壤取样作业,取样完毕后,逆时针转动把手,能够带动收集筒复位收入固定筒内,通过推板的上表面固定连接有弹簧,推杆贯穿第一通槽和第二通槽,经推块能够推动推板在收集筒内往下移动,进一步把收集筒内的土壤样品推出收集筒,结构简单,方便操作。

标签:
探矿技术
山东 - 济南 来源:中冶有色网 2023-02-28
水文地质用地下水定深采样器

本实用新型涉及一种水文地质用地下水定深采样器,包括充气装置和取样器,所述充气装置包括高压瓶、绞车和检测井,所述高压瓶的上方设有开关阀,所述开关与充气压力控制表和充放气控制器通过充气管固定连接,所述绞车与充放气控制器通过绳索固定连接,所述绞车的另一端与取样器固定连接,所述检测井在地面的下方,所述取样器包括可拆外壳、上止回阀和钻头,所述可拆外壳在取样器的外部,所述上止回阀在可拆外壳的上端,所述上止回阀的下方设有集水室,所述集水室的下方设有下止回阀,所述下止回阀下方设有进水口,所述进水口与可拆外壳固定连接,所述进水口下方外部连接有钻头,通过设置的若干集水室,可一次性收集不同深度的地下水,降低误差。

标签:
探矿技术
山东 - 济南 来源:中冶有色网 2023-02-28
地质录井岩屑钵体装置
地质录井岩屑钵体装置 1131     
 0

本实用新型公开了一种地质录井岩屑钵体装置,包括钵体,所述钵体一侧内壁通过滑轨连接有可伸缩过滤网,可伸缩过滤网一侧外壁开有两个以上可伸缩过滤口,可伸缩过滤网一侧外表通过螺栓连接有可伸缩滑动板。本实用新型通过设置有可伸缩过滤网和可伸缩过滤口,使得研磨后的物体变成粉末后可倒出;通过设置有可伸缩滑动板,可以调节可伸缩过滤网与滑动块的距离;通过设置有研磨杆把手,方便拿取研磨杆;通过设置有研磨杆柔性放置块,使得研磨杆可以左右运动;通过设置有可伸缩滑环,能够控制可伸缩过滤网的伸缩,方便进料;通过设置有钵体把手,方便拿取整体装置;通过设置有弧面状钵底,使得整体装置内部物体能够得到充分的研磨。

标签:
探矿技术
山东 - 济南 来源:中冶有色网 2023-02-28
上一页 17 18 19 20 21 ... 43 下一页
共43页    到第

中冶有色为您提供最新的山东济南有色金属探矿技术理论与应用信息,涵盖发明专利、权利要求、说明书、技术领域、背景技术、实用新型内容及具体实施方式等有色技术内容。打造最具专业性的有色金属技术理论与应用平台!

全国热门有色金属设备推荐
展开更多 +
全国热门有色金属技术推荐
展开更多 +

 

江西省隆恩特环保设备有限公司
宣传

报名参会
更多+

报告下载

有色专家
更多+

湖南有色金属研究院
教授级高工/原总工程师
洛阳有色矿业集团有限公司
生产技术部经理
赣州江钨钨合金有限公司
工程师
中冶沈勘秦皇岛工程技术有限公司
原矿山院院长/教授级高工
重庆理工大学
教授
赤泥综合利用研究报告2025
推广

热门技术
更多+

推荐企业
更多+

福建省金龙稀土股份有限公司
宣传

发布

在线客服

公众号

电话

顶部
咨询电话:
010-88793500-807