青岛垚鑫智能科技有限公司
宣传

位置:中冶有色 >

有色技术频道 >

> 化学分析技术

分类:
全部
矿山技术
冶金技术
材料制备及加工技术
环境保护技术
分析检测技术
 
全部
物理检测技术
化学分析技术
力学检测技术
无损检测技术
失效分析技术
环境检测技术
地区:
全部
北京
天津
上海
重庆
河北
山西
辽宁
吉林
黑龙江
江苏
浙江
安徽
福建
江西
山东
河南
湖北
湖南
广东
海南
四川
贵州
云南
陕西
甘肃
青海
内蒙
广西
西藏
宁夏
新疆
其他
其他
展开
 
全部
其他

其他有色金属化学分析技术理论与应用

免费发布技术信息>>
混合光谱成像仪
混合光谱成像仪 900     
 0

本发明公开了一种在凝视光谱扫描模式和视频快照光谱成像模式下操作的混合和扫描/快照光谱成像仪。在一组可选的临界光谱波段上进行快照光谱成像操作,包括基于机器学习的完整高光谱立方体的估计和视频速率显示的基础,而不损害空间分辨率。在凝视型扫描模式下进行操作,所公开的混合光谱成像仪在给定的调谐步骤和多个调谐步骤中获取一组窄波段图像,直到完成高光谱立方体采样为止。扫描操作可以用于最佳地配置快照操作,从而丢弃收集到的光谱中存在的多余信息。所公开的混合光谱成像仪包括易于小型化和低功率操作的实施例,从而允许将这些实施例集成到移动电话和计算机平台中。本发明旨在解决至少部分地包括无损检验、实时光谱和化学映射、无创诊断和光谱摄影的应用。

标签:
化学分析
其他 - 其他 来源:中冶有色网 2023-03-19
形状记忆聚合物栓塞泡沫

本发明涉及一种体系,所述体系包含:x‑射线可见的含碘热固性开孔形状记忆聚合物(SMP)泡沫;其中(a)所述SMP泡沫构造成响应热刺激从压缩的二次状态膨胀到膨胀的初次状态,和(b)所述SMP泡沫为聚(氨基甲酸酯‑脲‑酰胺)。本发明的体系可以化学和热机械方式表征具有不同造影剂、多元醇和二异氰酸酯单体配方的x‑射线可见SMP制剂,精调发泡参数以实现适于神经血管栓塞的泡沫密度、机械性质和体积恢复,验证递送到解剖动脉瘤模型中的栓塞泡沫装置原型的荧光检查可见性。

标签:
化学分析
其他 - 其他 来源:中冶有色网 2023-03-19
癌症的免疫治疗
癌症的免疫治疗 858     
 0

本文中提供了通过免疫化学治疗剂和消融技术的组合来治疗癌症的新的组合物、方法和装置。这些组合物可包含有助于引发免疫应答以治疗肿瘤的免疫检查点抑制剂、细胞因子和核酸药物。除了多种消融技术之外还施用这些组合物提供向免疫系统的癌细胞抗原呈递和对癌症的免疫靶向。

标签:
化学分析
其他 - 其他 来源:中冶有色网 2023-03-19
环保型尸体处理设备
环保型尸体处理设备 761     
 0

本发明涉及一种不会产生有毒排气或二噁英等有害物质,即使将处理后的尸体埋葬也不会污染土壤,结构简单的环保型尸体处理设备。依据本发明的环保型尸体处理设备,包括:将尸体中所含水分除去的干燥部;对除去水分的尸体施加冲击将其粉碎成小碎片的粉碎部;将粉碎后的尸体中所含异物分离的异物分离部。所述干燥部中装载的尸体在真空状态下干燥。因此,依据本发明,不会产生有毒排气或者二噁英等有害物质,比较环保。同时,将尸体所含异物除去,即使埋葬也不会污染土壤,还可以作为养份使用。所以,处理后的尸体适合自然葬、树葬。另外,如果尸体为动物性废弃物,可以用作肥料或者饲料,尸体不会产生化学性变化。另外,本发明的设备方便检修维护。

标签:
化学分析
其他 - 其他 来源:中冶有色网 2023-03-19
用于纳米元件的定向组装和转移的镶嵌模板

镶嵌模板具有设置在跨越衬底延伸的下层导电层上的二维图案化升高金属特征。所述模板总体具有平坦形貌,所述图案化导电特征建立了用于将纳米元件组装到纳米级电路和传感器内的微米级和纳米级图案。采用微制造技术连同化学机械抛光制造所述模板。这些模板与包括电泳在内的各种定向组装技术兼容,并且能够在连续操作周期内提供纳米元件的基本上100%有效的组装和转移。可以在损坏最低或者没有损坏的情况下将所述模板成千上万次地重复用于图案化纳米元件的转移,所述转移过程不设计周期之间的中间处理。在室温和压力下执行所采用的组装和转移过程,因而所述过程经得起低成本、高速率器件制造的检验。

标签:
化学分析
其他 - 其他 来源:中冶有色网 2023-03-19
用于预防或治疗癌症的方法的、编码癌症/睾丸抗原的病毒载体

将含有编码癌抗原的多核苷酸序列的黑猩猩腺病毒(ChAd)和MVA病毒载体在合适的佐剂中循序施用于受试者,以达到初免加强免疫效果。所述多核苷酸在施用后原位表达以提供MAGEA3/接头/NY‑ESO‑1融合蛋白及其变体。还有,hli/MAGEA3/接头/NY‑ESO‑1融合蛋白及其变体。发现了改善的T细胞应答。在特定的协同治疗方法中,ChAdOx和MVA载体与化学治疗剂和检查点抑制剂的三联组合导致髓源抑制性细胞(MDSC)的消耗,并显著提高癌症小鼠模型的存活时间。

标签:
化学分析
其他 - 其他 来源:中冶有色网 2023-03-19
诊断肝纤维化的方法
诊断肝纤维化的方法 1096     
 0

本发明涉及用于诊断患有肥胖症的受试者中的肝纤维化或用于选择患有肥胖症的受试者用于肝活检或治疗的方法,特别是体外方法。本发明还涉及用于筛选适用于预防和/或治疗肝纤维化的益生菌、益生元、化学化合物或生物化合物的方法。

标签:
化学分析
其他 - 其他 来源:中冶有色网 2023-03-19
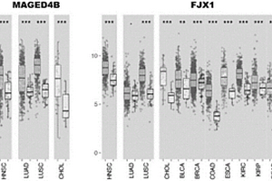
癌症疫苗
癌症疫苗 929     
 0

本发明涉及至少编码MAGED4B蛋白的核酸疫苗,其用于特别是癌症的治疗中。描述了与其他抗癌剂、特别是免疫检查点抑制剂的协同组合。癌症疫苗可以进一步包含用于增强免疫应答的免疫活性片段以及另外的癌症抗原,诸如FJX1。关注的特定组合疗法包括免疫疗法、放射疗法、靶向疗法和化学疗法。

标签:
化学分析
其他 - 其他 来源:中冶有色网 2023-03-19
使用高光谱成像的半导体过程的光学诊断

披露了一种用于光学地诊断半导体制造过程的改进的设备和系统以及相关联的方法的实施例。在等离子体加工系统中,使用高光谱成像系统来采集来自等离子体的发射的光谱解析图像。采集的高光谱图像可以用来确定等离子体的化学成分和等离子体过程端点。替代地,高光谱成像系统用来在加工之前、期间或之后采集衬底的光谱解析图像,以确定衬底或在衬底上形成的层和特征的特性,包括是否已经达到过程端点;或者在加工之前或之后,用于检查衬底状况。

标签:
化学分析
其他 - 其他 来源:中冶有色网 2023-03-19
泛酸激酶的小分子调节剂

本公开涉及用于治疗代谢病症(例如II型糖尿病)、神经病症(例如泛酸激酶相关的神经变性)的调节泛酸激酶(PanK)活性的化学化合物,包含这些化合物的药物组合物,及其治疗用途。该摘要旨在作为用于在特定领域中进行检索目的的查阅工具,并且不旨在限制本发明。

标签:
化学分析
其他 - 其他 来源:中冶有色网 2023-03-19
4-[[(7-氨基吡唑并[1,5-A]嘧啶-5-基)氨基]甲基]哌啶-3-醇化合物以及它们的治疗用途

本发明总体上涉及治疗性化合物的领域。更具体来说,本发明涉及尤其抑制周期蛋白依赖性蛋白质激酶(CDK)尤其是CDK12和/或CDK13,并且例如相较于对于CDK7,对于CDK12和/或CDK13具有选择性的某些H‑APPAMP化合物(在本文中被称为“H‑APPAMP化合物”)。除选择性抑制CDK12和/或CDK13之外,所述化合物还充当选择性周期蛋白K降解剂,由此移除为CDK12和/或CDK13活化所需的关键信号传导机制;这赋予额外细胞效能和选择性。本发明还涉及包含此类化合物的药物组合物,以及此类化合物和组合物在体外和在体内用以抑制CDK尤其是CDK12和/或CDK13;以及用以治疗病症的用途,所述病症包括:与CDK尤其是CDK12和/或CDK13相关的病症;由CDK尤其是CDK12和/或CDK13的不当活性所致的病症;与CDK突变尤其是CDK12和/或CDK13突变相关的病症;与CDK过度表达尤其是CDK12和/或CDK13过度表达相关的病症;与CDK尤其是CDK12和/或CDK13的上游通路活化相关的病症;通过抑制CDK尤其是CDK12和/或CDK13而得到改善的病症;增生性病症;癌症;病毒性感染(包括HIV);神经变性病症(包括阿尔茨海默氏病和帕金森氏病);缺血;肾病;心血管病症(包括动脉粥样硬化);自身免疫性病症(包括类风湿性关节炎);以及由细胞中翻译功能异常引起的病症(包括肌营养不良)。任选地,治疗还包括用是例如芳香酶抑制剂、抗雌激素剂、抗雄激素剂、Her2阻断剂、细胞毒性化学治疗剂、刺激免疫系统的剂、检查点抑制剂、DNA修复抑制剂等的其他活性剂进行治疗(例如同时或依序治疗)。

标签:
化学分析
其他 - 其他 来源:中冶有色网 2023-03-19
与HSP90抑制剂相关的治疗方法

本公开提供使用HSP90抑制剂MPC‑0767作为单一疗法以及与另外的活性剂(包括(但不限于)Bcl‑2的抑制剂、EZH2抑制剂、Ras/Raf/MEK/ERK途径抑制剂、检查点抑制剂、DNMT抑制剂、ATO和化学治疗剂)的组合疗法来治疗癌症(包括(但不限于)造血癌症和肺癌)的方法。本公开还提供相关的组合物和使用方法。

标签:
化学分析
其他 - 其他 来源:中冶有色网 2023-03-19
顺序组合过程的优化
顺序组合过程的优化 887     
 0

一种优化顺序组合过程的方法,该顺序组合过程包括可互换的事件序列,该方法包括用主模型模拟可能的序列选择,并将从主模型得出的信息用于替代模型中,该替代模型以短得多的计算时间近似主模型。替代模型利用一个算法计算所有可能的序列,以从主模型所计算的信息中选择最匹配当前序列的事件的序列,该替代模型遵循优先级化的系统,以便只要有可能,最佳匹配就被使用。来自替代模型的所有结果被比较,以便给出与所需的最优过程结果最接近的结果的被模拟序列可被识别出,并且可能被应用到该过程。通过使优化序列经过主模型作为检查,并且进一步通过将优化序列添加到替代模型在未来的计算中使用的信息中,可提高精度。其中过程的最终结果依赖于过程中的事件被执行的次序的任何顺序组合过程都可以按这种方式来优化,这些过程包括制造过程,例如对工件进行加工、切割、塑造、形成和/或热处理;使材料流经工厂或者使油类或气体流经管道网络,化学和材料科学混合过程、计算生物学建模和队列管理。

标签:
化学分析
其他 - 其他 来源:中冶有色网 2023-03-19
包含芳香族磷酸酯类化合物的阻燃剂及其制造方法

本发明涉及一种的新的芳香族磷酸酯化合物的制造方法,包括如下步骤:(a)作为反应物质利用(i)以如下化学式1表示的化合物及(ii)被羟基或C1-6烷氧基置换的C6-10芳基、或被羟基或C1-6烷氧基置换的C6-20芳烷基化合物,以温度90-125℃、125-180℃、180-210℃及210-240℃的步骤依次加热进行反应;(b)在温度50℃-300℃,压力0.01mmHg-50mmHg的条件下,通过分馏从上述(a)步骤的生成物分离芳香族磷酸酯化合物;及(c)在10-70℃下使(i)从上述(b)步骤分离的芳香族磷酸酯化合物及(ii)C1-10的乙醇或氮化合物进行反应。本发明的制造方法采用分阶段加热方式及回流系统,从而最大限度地减少原材料的损失,通过使用利用热导油及水的双重冷却系统,在制造反应性强的化合物时防止发生爆炸,而且,通过分馏分离化合物,从而可获得纯度高的化合物。因此,适量调节进行阻燃处理时所使用的阻燃剂的量,不仅可用于普通的纤维产品,而且,还可用于需进行安全性/毒性检查的部分产品的阻燃处理中。

标签:
化学分析
其他 - 其他 来源:中冶有色网 2023-03-19
用于癌症免疫疗法的组合物和方法

本发明提供用于治疗癌症的用于联合疗法的组合物和方法,该联合疗法包括向有需要的患者施用耐药性免疫疗法、免疫检查点抑制剂和化学治疗。

标签:
化学分析
其他 - 其他 来源:中冶有色网 2023-03-19
避免接近高压的方法和装置

本发明提供一种在不将操作者暴露于接触具有大于预定最大值的电压的情况下用于组装高压电池的方法和装置。总线汇流条模块具有由无总线汇流条的中断间隔仓分开的配备有集成总线汇流条的标准间隔仓。总线汇流条模块可以耦接至多个电化学电池单元,以连接具有小于预定最大值Vmax的电压的成组电池单元。可以关闭间隔仓盖子,以防止接触连接的接头。可以向中断间隔仓提供分开的非集成总线汇流条,将第一组电池单元与第二组电池单元相连,以形成一系列可以提供大于Vmax的电压的电池单元,获得所需要的电池电压。本发明的总线汇流条模块和方法可以在电池组装或检修期间保护操作者。

标签:
化学分析
其他 - 其他 来源:中冶有色网 2023-03-19
保存基因及保管生前记录的丧葬方法

本发明涉及一种将死者的基因(DNA)放入松脂中并用铅密封的保存处理方法和给密封的铅刻上识别码,以便在网站检索死者的生前记录的方法。为在未来随人类的基因复制意愿而复活打开可能性,并半永久性地保存每个人独特的基因(DNA)和生存记录,使诞生和生活的意义永存,缓解不能凭主观愿望避免的死亡的恐惧,并附带着划时代地解决葬地缺乏问题。将死者的血液和人体组织(基因)放入可隔绝空气和水且有机化学反应稳定的松脂中,并用可阻挡紫外线和放射线的铅进行密封处理。为基因(DNA)复制打开可能性,可实现复活这一人类长久以来的夙愿,并一举解决葬地和骨灰堂问题。

标签:
化学分析
其他 - 其他 来源:中冶有色网 2023-03-19
相机设备、图像处理方法和相机系统

一种相机设备,包括:相机头,执行基于从预先施用了荧光化学物质的被检体的对象部位照射到医疗光学设备上的可见光的成像和基于从对象部位照射到医疗光学设备上的荧光的成像;以及图像处理单元,在放大从相机头输入的荧光图像的强度并且强化荧光图像的黑色部分和白色部分之后,对放大后的荧光图像执行非线性转换处理,并且通过将经过非线性转换处理的荧光图像叠加在通过基于可见光的成像获得的可见图像上,生成用于输出到输出单元的叠加图像。

标签:
化学分析
其他 - 其他 来源:中冶有色网 2023-03-19
ENPP1抑制剂以及它们用于治疗癌症的用途

提供了用于抑制ENPP1的化合物、组合物和方法。主题方法的方面包括使样品与ENPP1抑制剂接触以抑制ENPP1的cGAMP水解活性。在一些情况下,ENPP1抑制剂是细胞不可渗透的。还提供了用于治疗癌症的组合物和方法。所述方法的方面包括向受试者施用治疗有效量的ENPP1抑制剂以治疗所述受试者的癌症。在某些情况下,所述癌症是实体瘤癌症。还提供了在施用ENPP1抑制剂之前或之后向受试者施用放射疗法的方法。所述放射疗法可以以有效减少对受试者的放射损伤的剂量和/或频率施用。在某些情况下,所述方法与化学治疗剂或检查点抑制剂或两者结合进行。

标签:
化学分析
其他 - 其他 来源:中冶有色网 2023-03-19
空白遮罩及使用所述空白遮罩的光掩膜

本发明提供一种用于硬遮罩的空白遮罩及使用所述空白遮罩的光掩膜。在所述空白遮罩中,通过适当地控制硬膜中的氮含量及碳含量来形成硬膜,以减小在执行蚀刻工艺时所造成的临界尺寸的偏差。通过增大遮光膜中的金属含量及减小抗反射膜中的金属含量来形成具有薄的厚度的金属膜。因此,可提高金属膜的分辨率、图案保真度及耐化学性。此外,金属膜及硬膜被形成为使其间的反射率反差高,从而能够容易地检验所述硬膜。因此,所述用于硬遮罩的空白遮罩可应用于动态随机访问存储器(DRAM)、快闪存储器、或微处理单元(MPU),以具有32nm或以下的半节距且尤其是具有22nm或以下的临界尺寸。

标签:
化学分析
其他 - 其他 来源:中冶有色网 2023-03-19
普雷斯顿矩阵产生器
普雷斯顿矩阵产生器 842     
 0

一种产生矩阵以将化学机械抛光系统的多个可控制参数与抛光速率分布相关的方法包括抛光测试基板。使用将第一参数设置为第一值的基线参数值,来针对第一时间段抛光测试基板,并且使用将第一参数设置为修改的第二值的第一修改参数值,来针对第二时间段抛光测试基板。在抛光期间监控测试基板的厚度,并且针对第一时间段决定基线抛光速率分布,并且针对第二时间段决定第一修改抛光速率分布。基于基线参数值、第一修改参数、基线抛光速率分布和第一修改抛光速率分布,来计算矩阵。

标签:
化学分析
其他 - 其他 来源:中冶有色网 2023-03-19
在制造药品过程中用于监控颗粒上的包衣的方法和设备

在监控在单个颗粒(P)上形成包衣的方法中,使用了一种设备,该设备包含用于将所述颗粒(P)置于在给定的空间位置上的设备(2,5,6,9),以及用于向颗粒(P)施用包衣流体以形成包衣的流体供应设备(3)。另外,该设备有测量设备(4),其用于在形成包衣的过程中在包衣上进行光谱测量并导出至少一个与该包衣相关的主要参数的测量值。这样,对这些主要参数,例如与包衣质量相关的厚度、厚度生长速度和物理和/或化学性能,同时还有传热、传质和动量传递,能够在单个颗粒(P)上的包衣过程中进行连续和非侵入性的监控。这类测量的结果可用于理解在单个颗粒(P)上的包衣过程,并最终用于控制、放大和开发工业实际规模的包衣车间。

标签:
化学分析
其他 - 其他 来源:中冶有色网 2023-03-19
核酸的浓缩精制方法及装置

以往的核酸精制浓缩方法由于使用剧毒药品,因此需要尖端的化学设备,利用环境受到限制。而且,操作麻烦,需要高速离心等,难以自动化,难以得到高的精制精度。另外,使用了柱/过滤器的精制方法中,当为杂质混入较多的样品时,有可能引起堵塞,从而精制效率降低,需要进行离心或抽吸操作,难以自动化。而通过使表面活性剂(3和4)吸附试样中存在的杂质(2),从而显示与核酸(1)不同的行为,则使杂质(2)与核酸(1)分离,通过利用阳离子表面活性剂(4)和非离子表面活性剂(3)使核酸(1)以外的杂质(2)带电并置于电场中,则从含有杂质(2)的检体中将核酸(1)分离精制,成为核酸(1)的浓缩或易于浓缩的状态。

标签:
化学分析
其他 - 其他 来源:中冶有色网 2023-03-19
用于诊断和治疗癌症及其他疾病的对促肿瘤癌症相关成纤维细胞的识别和靶向

本文中提供了靶向TP‑CAF的药剂,例如抗体或嵌合抗原受体。提供了治疗癌症的方法,其包括向有此需要的患者施用有效量的TP‑CAF中和剂。所述方法可还包括向所述患者施用有效量的化学治疗或免疫治疗。所述方法可包括施用与免疫检查点阻断治疗组合的IL‑6信号传导抑制剂。

标签:
化学分析
其他 - 其他 来源:中冶有色网 2023-03-19
稳定的农药胶悬剂
稳定的农药胶悬剂 749     
 0

提供一种可乳化的农药胶悬剂组合物,该组合物含(a)农药有效量的在水中溶解度低的液体农药,例如氯乙酰胺除草剂如乙草胺,(b)农药有效量的固体颗粒状农药,尤其是成盐的农药,例如草甘膦除草剂,该农药以固体颗粒的形式分散于液体农药中,(c)稳定化量的悬浮助剂,(d)乳化剂,其量足以将该浓缩组合物乳化于适当量的水中形成稀释的可喷洒组合物,和(e)零至检定调节量(assay adjusting amount)的惰性液体,液体农药可溶于或可混溶于其中。该浓缩组合物基本上是无水的。液体农药和固体农药要选择彼此化学上可相容的。根据本发明,通过基本上避免使用水和惰性有机溶剂,可提供含有极高浓度的活性成分的胶悬剂组合物。

标签:
化学分析
其他 - 其他 来源:中冶有色网 2023-03-19
家用洗衣机或洗碗机及其光学传感器

本申请尤其公开了一种家用洗衣机,包括光学测量装置,该光学测量装置用于获得测量值,该测量值表示在用于清洁纺织品的洗衣机运行期间使用的洗涤液的光谱透射特征;和控制装置,该控制装置适用于基于获得的光谱透射特征关于洗涤液中包含的清洁剂的化学性质对清洁剂进行分类,并且根据分类结果来控制洗衣机的操作。分类结果可以表明,例如,含有漂白剂的重垢型清洁剂与另一种不含漂白剂的清洁剂之间的区别。

标签:
化学分析
其他 - 其他 来源:中冶有色网 2023-03-19
压力传感器设备及其组装方法

本申请公开了一种测量包括用于车辆流体在内的流体压力的压力传感器设备和组装测量流体压力的压力传感器的方法。压力传感器包括用于压力测量的MEMS模具。该MEMS模具附接在玻璃底座元件上。该底座元件经由能够附接在流体容纳腔压力端口的安装框架来机械保持在位。这里的技术提供了MEMS模具与压力传感器的坚固连接,同时从MEMS模具解除热膨胀应力。采用该解除技术,压力测量可靠性和精度都得以改善。由于从MEMS模具解除热膨胀应力,选择传感器密封材料主要考虑自身的鲁棒化学特性,而不是结构特征。这项技术还提供了精确,持久耐用并且成本效率高的压力传感器。

标签:
化学分析
其他 - 其他 来源:中冶有色网 2023-03-19
电量能源充电装置
电量能源充电装置 843     
 0

本实用新型公开了一种电量能源充电装置,包括变压整流单元、电压电流处理单元、微处理器、激荡单元、侦测单元及显示单元,用以对并联的一次性电池进行还原反应的充电操作,变压整流单元将输入电源转换成直流输出电源,并由电压电流处理单元转换成直流电源及充电电源。直流电源用以供电给其它组件,而充电电源用以对电池组进行充电,侦测单元侦测电池组的输出电压,并产生侦测信号,微处理器依据侦测信号以控制电量能源充电装置的整体充电操作,包括让激荡单元产生正弦波脉冲而对电池组进行化学活化以打通积碳并清除积碳,以及让显示单元显示充电状态。

标签:
化学分析
其他 - 其他 来源:中冶有色网 2023-03-19
充电方法和用于确定镍基电池充电结束标准的方法

本发明涉及一种用于对具有预定额定容量的电化学镍基电池(1)充电的方法,包括电池电压的至少一个测量和电池(1)的温度表现的一个测量。所述电池通过间歇的和可变电流的电源(2)再充电。根据测量的温度和电池(1)中充电的容量表现,该容量表现相应于等于或高于90%的充电效率,当在电池(1)两端测量的电压达到预定的电压阈值时停止电池(1)的充电。

标签:
化学分析
其他 - 其他 来源:中冶有色网 2023-03-19
利用膨胀灌浆技术进行实时位移控制的系统和方法

本公开涉及一种对地面运动进行实时补偿的方法,其否则会对现有建筑环境产生不利影响。实施例可包括:在土壤中提供多个用于注入物质的孔,物质由于化学反应而膨胀。所述多个孔可位于移动源与要保护的资产之间。实施例还可包括在多个孔中的至少一个中注入物质,并且实时地监测土壤的运动或要保护的资产中的至少一种。在引起地面运动的活动期间进行实时监测。实施例还可包括至少部分地基于监测,来获取实时监测数据。

标签:
化学分析
其他 - 其他 来源:中冶有色网 2023-03-19
上一页 16 17 18 19 20 ... 193 下一页
共193页    到第

中冶有色为您提供最新的其他有色金属化学分析技术理论与应用信息,涵盖发明专利、权利要求、说明书、技术领域、背景技术、实用新型内容及具体实施方式等有色技术内容。打造最具专业性的有色金属技术理论与应用平台!

全国热门有色金属设备推荐
展开更多 +
全国热门有色金属技术推荐
展开更多 +

 

江西省隆恩特环保设备有限公司
宣传

报名参会
更多+

报告下载

有色专家
更多+

中南大学
中国工程院 院士
南方科技大学
外籍院士
湖南有色金属研究院
教授级高工/原总工程师
洛阳有色矿业集团有限公司
生产技术部经理
任灵宝金源矿业股份有限公司
技术发展部经理
赤泥综合利用研究报告2025
推广

热门技术
更多+

推荐企业
更多+

福建省金龙稀土股份有限公司
宣传

发布

在线客服

公众号

电话

顶部
咨询电话:
010-88793500-807