青岛垚鑫智能科技有限公司
宣传

位置:中冶有色 >

有色技术频道 >

> 化学分析技术

分类:
全部
矿山技术
冶金技术
材料制备及加工技术
环境保护技术
分析检测技术
 
全部
物理检测技术
化学分析技术
力学检测技术
无损检测技术
失效分析技术
环境检测技术
地区:
全部
北京
天津
上海
重庆
河北
山西
辽宁
吉林
黑龙江
江苏
浙江
安徽
福建
江西
山东
河南
湖北
湖南
广东
海南
四川
贵州
云南
陕西
甘肃
青海
内蒙
广西
西藏
宁夏
新疆
其他
其他
展开
 
全部
其他

其他有色金属化学分析技术理论与应用

免费发布技术信息>>
使用最小功率控制铝电解还原槽的方法

本发明涉及铝冶金,具体地涉及通过熔盐还原提取铝的方法,即,通过最小功率控制铝电解还原槽的方法。这种方法在于:测量电解还原槽中的电阻性电压降,将测量值与电解还原槽中的设定电压降值进行比较并且通过相关阳极位移来消除失配。所述阳极位移减少加热功率与设定值之间的失配直到电解还原槽中释放最小功率。通过电解还原槽电压的电化学分量的自发增长来确定最小功率的释放,使用相关阳极位移来维持这种失配,而电解还原槽的热状态没有任何变化。本发明使得能够减少电力消耗、提高当前金属产率并且降低电解还原槽维护的劳动强度。

标签:
化学分析
其他 - 其他 来源:中冶有色网 2023-03-19
可变穿透深度的生物传感器和方法

一种表面等离子体共振传感器系统,其包括高折射率棱镜、传感器芯片、具有涵盖广泛波长的多个波长的光源、光学透镜、光电探测器、数据获取单元,如本文所定义。所述传感器芯片可包括例如透光性基材一面上的薄层硅和金以及所述透光性基材另一面附近的棱镜。这种设置提供多至约1.5微米的可变穿透深度,感测样品内折射率变化的动态范围比常规SPR传感器高数倍。本公开提供使用表面等离子体共振传感器系统用于细胞试验或化学试验相关应用的方法。

标签:
化学分析
其他 - 其他 来源:中冶有色网 2023-03-19
在RT-PCR过程中执行热循环操作的装置

一种在RT-PCR过程中执行热循环的装置,具有包围热腔室的框架,该热腔室由定界壁侧向界定并且配置成使得由承载多个反应腔的反应保持件在底部界定,反应腔被设计成接收化学反应物质。透明材质的盖子固定到所述框架并且在顶部界定热腔室。光辐射源布置于面向盖子的热腔室的外侧,并且配置成生成激励光辐射。光辐射探测器布置于面向盖子的热腔室外侧,并且配置成采集反应腔在使用中发出的光辐射。处理器连接至光辐射探测器并且配置成探测在使用中发出的光辐射的特征。

标签:
化学分析
其他 - 其他 来源:中冶有色网 2023-03-19
无线、可穿戴且柔软的生物特征识别传感器

通过采用干燥且自由的“剪切再粘贴”方法,在数分钟内制造出具有NFC功能的类似纹身的无线、可拉伸生物特征识别传感器,而无需使用任何化学药品、墨水或掩模/模板。该传感器通过可拉伸的电感线圈和集成在传感器上的NFC芯片无线地接收功率。传感器测量的数据通过同一天线和NFC芯片无线传输。该传感器完全可拉伸且适合人体皮肤,并且遵循皮肤的机械形变而不会发生机械和电气故障或分层。该传感器不易磨损,可对生理信号执行高保真感测。根据传感器的应用位置,可能的应用包括测量生理信号,例如皮肤热成像(体温)、光度(脉搏血氧饱和度、心跳)、电描记图(ECG、EEG、EMG、EOG)、电阻抗(皮肤水分、体脂)以及机械运动(心震图、呼吸频率、关节弯曲)。

标签:
化学分析
其他 - 其他 来源:中冶有色网 2023-03-19
包括机器反馈控制的联合收割机

一种联合收获机(联合收割机)包括用以在联合收割机行进通过种植场时收获种植物的任何数量的部件。部件采取动作以收获种植物或者有助于收获种植物。联合收割机包括用以在联合收割机收获种植物时测量联合收割机的状态的任何数量的传感器。联合收割机包括用以为部件生成用于收获场中的种植物的动作的控制系统。控制系统包括执行用于提高联合收割机收获种植物的性能的模型的代理。可以通过联合收割机的传感器测量性能提高。该模型是接收测量作为输入并且生成提高性能的动作作为输出的人工神经网络。使用执行器‑评价器强化学习技术来训练人工神经网络。

标签:
化学分析
其他 - 其他 来源:中冶有色网 2023-03-19
具有聚合涂层的多孔膜及其制备和使用方法

描述了一种包含接枝到多孔膜的聚合物涂层的改性多孔膜。接枝到所述多孔膜的聚合物涂层通常包含可变长度的电子束(电子束)反应性部分的聚合物(标记为“聚-(A)x”),在聚-(A)x和官能团B之间形成键合的链接基团,所述官能团B可用于与在生物分子上的化学基团反应,其中在所述多孔膜上的所述聚合物涂层促进生物分子(例如DNA、RNA、蛋白质和抗体)在所述多孔膜上的固定。所述组合物适用于免疫测定、体外诊断测试、护理点测试、用于从生物学样品分离生物分子的技术、和需要在多孔膜上固定生物分子的其它方法。还公开了制备这些改性多孔膜的方法。

标签:
化学分析
其他 - 其他 来源:中冶有色网 2023-03-19
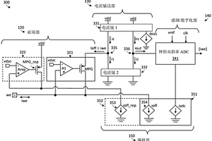
具有偏移校准的稳压器
具有偏移校准的稳压器 1117     
 0

本发明题为具有偏移校准的稳压器。一种轨至轨稳压器可能需要偏移电流以便支持工作电极处的双向工作电极电流。该偏移电流可提高对由双斜率模数转换器制成的工作电极电流的测量结果,尤其是当工作电极电流较小时,但如果不进行正确校准,也可能导致不准确(例如,由于温度系数而导致不准确)。因此,公开了双向稳压器,该双向稳压器可被配置为用于测量工作电极电流的正常配置或用于测量(即,校准)偏移电流的校准配置。可重新配置性允许根据需要、按计划或根据用户指定来进行校准。可重新配置性还可允许在校准期间保持工作电极电压和工作电极电流,使得使用耦接到双向稳压器的电池的电化学实验不受校准的影响。

标签:
化学分析
其他 - 其他 来源:中冶有色网 2023-03-19
用于车辆部件的甲基丙烯酸树脂组合物

本发明涉及提供一种用于车辆部件的甲基丙烯酸树脂组合物,该组合物显示出模塑时的高流动性,具有良好的机械强度和耐热性,和在耐化学性方面的优异性。用于车辆部件的甲基丙烯酸树脂组合物特征为(I)包括由包括甲基丙烯酸甲酯和丙烯酸酯的单体组分聚合的共聚物,其中甲基丙烯酸甲酯的含量比为至少97wt%,(II)显示以浓度为0.01g/cm3的氯仿溶液的形式测量的在25℃的55至65cm3/g的比浓粘度,(III)显示在37.3N的负荷下测量的在230℃的至少3g/10min的熔体流动速率(MFR),和(IV)显示由都由凝胶渗透色谱法(GPC)测量的重均分子量(Mw)和数均分子量(Mn)计算的2.2至3.8的分子量分布(Mw/Mn)。

标签:
化学分析
其他 - 其他 来源:中冶有色网 2023-03-19
使用不同波长的棱镜耦合系统和方法

棱镜耦合系统和方法包括以下步骤:使用棱镜耦合系统来收集具有折射率分布的化学强化制品的初始的TM和TE模式光谱,该折射率分布具有近表面尖峰区域和深部区域。该棱镜耦合系统具有配置为产生具有不同的测量波长的顺序测量光束或反射光束的光源。不同的测量波长产生不同的TM和TE模式光谱。该光源可以包括多个发光元件和滤光器,或宽带光源和滤光器。可以将滤光器依次安插到该棱镜耦合系统的输入光路径或输出光路径中。

标签:
化学分析
其他 - 其他 来源:中冶有色网 2023-03-19
有机聚合物整料、其制备方法及其用途

公开了的有机聚合物整料,其含有不低于20质量%的衍生自含羟基和/或酰胺基的单体的单体单元和/或不低于50质量%的衍生自交联剂的单体单元,具有通过水银孔率法测得的众数径为0.5至10微米的通孔、通过BET法测得的众数径为2至50纳米的中孔和通过BET法测得的不小于50平方米/克的比表面积。还公开了制备该有机聚合物整料的方法,以及使用该有机聚合物整料的化学物质分离装置。

标签:
化学分析
其他 - 其他 来源:中冶有色网 2023-03-19
传感器层系统前体、可由其制造的传感器层系统以及使用该传感器层系统的氢传感器元件和相应的制造方法

本发明涉及用于形成传感器层系统(26)的传感器层系统前体(48)。传感器层系统(26)被设计成接收氢并且包括测量层前体(42),测量层前体材料由‑20wt.%至90wt.%的钯或钯合金组成的测量层前体材料制成,其中钯合金由钯和至少一种选自第VIIIB族的钯合金配体组成,钯的材料量分数至少为85%,且在每种情况下,基于钯合金的总材料量,包含在钯合金中的所有钯合金配体的材料量分数的总和最大等于15%;‑10wt.%至80wt.%的牺牲金属,牺牲金属至少与钯和每一钯合金配体一样是正电性的和/或牺牲金属可通过化学方法选择性地转变成可溶性和/或离子形式;‑一组不可避免的杂质;和‑任选地至多且包括30wt.%的孔隙填料前体金属,孔隙填料前体金属可通过孔隙填料反应组分转变成孔隙填料。

标签:
化学分析
其他 - 其他 来源:中冶有色网 2023-03-19
用于使用导纳谱法鉴定医用流体中的化合物的系统和方法

本文描述了用于确定流体的组成,以及具体地用于描述医用流体例如静脉内流体的一种或多种组分的身份和浓度的装置、系统和方法。这些装置、系统和方法从流体样品取得多个复数导纳测量结果以鉴定流体各组分的身份和浓度。溶液的所有组分的身份和浓度可以被同时地和迅速地确定。在某些变化形式中,除导纳谱法外,还可以使用另外的测量方式或感测方式,包括光学的、热的、化学的等等。

标签:
化学分析
其他 - 其他 来源:中冶有色网 2023-03-19
利用拉曼光谱控制碳酸盐/碳酸氢盐的浓度

在化学过程中控制碳酸盐/碳酸氢盐浓度和比例的装置和方法,具有以下步骤:使碳酸盐/碳酸氢盐溶液流过测量单元(202),使溶液暴露于适当波长和功率的激光下(204);利用拉曼光谱法测量散射光的强度(206);由散射光的强度计算碳酸盐和碳酸氢盐的浓度(208);以及将测量结果发送至可编程逻辑控制器(210),用于通过调节过程参数来控制溶液中碳酸盐和碳酸氢盐的比例。所述方法适用于二氧化碳吸收过程和碳酸盐/碳酸氢盐再生过程。

标签:
化学分析
其他 - 其他 来源:中冶有色网 2023-03-19
半导体装置
半导体装置 1194     
 0

本揭露描述一种半导体装置。此半导体装置包含用以固持基板的吸盘、围绕吸盘的排放杯、以及侦测模组。排放杯用以捕获从基板喷洒的化学物质。侦测模组设置于排放杯与吸盘之间的空间中,且用以监测排放杯的多个侧壁。

标签:
化学分析
其他 - 其他 来源:中冶有色网 2023-03-19
用于沉积二维的层的CVD反应器的应用

本发明涉及一种用于在CVD反应器(1)中的基材上沉积二维的层的方法,在所述方法中,借助输入管路(10)将工艺气体馈送到进气机构(2)中,所述进气机构具有通入处理室(3)中的排气开口(14、14),在所述方法中,工艺气体或者所述工艺气体的分解产物在所述处理室(3)中被带至所述基材(4)的表面,并且在所述方法中,借助加热装置使所述基材(4)达到过程温度(TP),从而在所述工艺气体进行化学反应后在所述表面上形成二维的层。按照本发明,在将所述基材(4)加热到过程温度(TP)期间或者在将所述基材(4)加热到过程温度(TP)之后首先将所述工艺气体的具有第一值(Q1)的气体流馈送到所述处理室(3)中,其中,在所述基材(4)的表面上不发生层的生长,之后在观测基材表面的情况下将工艺气体的气体流升高至第二气体流(Q2),在所述第二气体流中开始层的生长,并且接着使工艺气体的气体流升高预设的值而升高至第三气体流(Q3),在所述第三气体流时沉积层。在此通过观测高温计的测量曲线的在时间上的变化走向识别层的生长的开始。

标签:
化学分析
其他 - 其他 来源:中冶有色网 2023-03-19
柔性神经探针以及基于液态金属的输入/输出(I/O)连接器

本公开提供一种柔性神经探针,其包括:位于所述柔性神经探针中心的感测区域,所述感测区域包括多个柔性同心环和多个蛇形连接结构,所述多个柔性同心环中的内侧的至少一个柔性同心环中集成有用于测量神经信号的至少一个有机电化学晶体管,所述多个柔性同心环由所述多个蛇形连接结构连接以形成柔性网状结构。本公开还提供一种柔性输入/输出连接器,用于与上述柔性神经探针的接合垫连接,并且包括柔性有机模具,所述柔性有机模具的一侧设置有多个微流体通道,用于填充液态金属。

标签:
化学分析
其他 - 其他 来源:中冶有色网 2023-03-19
氧探头
氧探头 779     
 0

本发明公开一种用于测量熔融金属的熔池中的活性氧含量的浸入式氧传感器,其包括适于安装在运送件一端的测量头,测量头具有支撑电化学电池的壳体部分,电池包括从壳体突出的氧离子传导固态电解质、与电解质的一个表面并列设置的固态参比材料、以及用于减小电解质在开始浸入之后所受到的温度急增的装置,该装置包括第一保护套,第一保护套与壳体配合以封装电解质,第一保护套的内周与电解质的相反表面并列和热接触,第一保护套由在低于1550℃的温度下熔化的金属构成,第一保护套能够被熔融钢液的熔池消耗掉以便将电解质暴露于熔池,还包括由壳体支撑的用于在穿过渣层期间保护第一保护套和电池的第二保护套。

标签:
化学分析
其他 - 其他 来源:中冶有色网 2023-03-19
暖机系统
暖机系统 1119     
 0

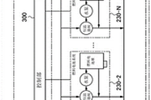
本发明的问题在于,提供一种燃料电池暖机所要花费的时间比以往更短的暖机系统。为了解决上述问题,实施方式的暖机系统包括燃料电池、马达、旋转轴、减速器、测量部及控制部。燃料电池借由电化学反应来发电。马达将前述燃料电池所发出的电力转换为旋转力。旋转轴借由前述旋转力来旋转。减速器对前述旋转轴的旋转进行制动。测量部测量前述燃料电池的温度。控制部基于前述温度来判定进行前述燃料电池的暖机,在判定为进行前述暖机的情况下,借由使前述马达及前述减速器运行,而利用前述燃料电池的发热及前述减速器的发热使前述燃料电池暖机。

标签:
化学分析
其他 - 其他 来源:中冶有色网 2023-03-19
H型钢及其制造方法
H型钢及其制造方法 1154     
 0

一种H型钢,其具有规定的化学组成,翼缘板的厚度为25~140mm,当将翼缘板的宽度方向长度设为F、将厚度设为t2时,以在翼缘板的宽度方向上距离翼缘板的宽度方向端面为1/6F的位置、在翼缘板的厚度方向上并且距离翼缘板的厚度方向外侧的面为1/4t2的位置即测定位置7作为中心,与翼缘板的宽度方向正交的面中的平均晶体粒径为38μm以下,马氏体‑奥氏体混合组织的面积分率为1.2%以下,在翼缘板的宽度方向上距离翼缘板的宽度方向端面为1/6F的位置、对于翼缘板的厚度方向的整个厚度所测定的翼缘板的轧制方向的屈服强度或0.2%屈服应力为385MPa以上,抗拉强度为490MPa以上,测定位置7处的在‑20℃下的夏比冲击试验的吸收能为200J以上。

标签:
化学分析
其他 - 其他 来源:中冶有色网 2023-03-19
操作过程中的储能系统的诊断

操作过程中的储能系统的诊断,用于确定电化学设备开路电压的方法,其包括:a.收集(101)设备的测量数据,所述测量值:i.至少包括设备终端上的电流It和电压Ut,ii.被时间戳记,以及iii.在设备的不间断运作功能期间内被获得;b.对于多个时间t,计算:iv.通过对所测量的强度It应用校正函数所得到的校正强度(102),以及v.基于校正强度的时间序列的瞬时电荷(103),从而对于每个时间t,获得所收集和计算出的数据的集合;c.基于每个集合的电荷值将数据集合分组(104)为瞬时电荷值的范围;d.对于每个分组,分别计算(105)设备的开路电压。

标签:
化学分析
其他 - 其他 来源:中冶有色网 2023-03-19
确定电池组中的安全的装置与方法

本发明涉及一种确定电池组中的安全的装置与方法。具体而言,电池组(10)包括至少一个电池单元(12),其关于电池单元(12)的化学情况膨胀和收缩。基底(16)构造成用以接触该至少一个电池单元(12)。传感器(26)附接到基底(16)上,并且该传感器(26)产生指示基底(16)的移位的信号。控制器(18)可通信地连接至传感器(26),从而使得控制器从传感器(26)接收信号。控制器(18)处理信号以产生电池单元(12)的状态的指示。一种监测电池安全的方法包括跨过电池的至少一个单元(12)可移动地固定基底(16)。测量基底(16)的移位。利用控制器(18)处理测量的移位以识别该至少一个单元(12)的安全状态。利用控制器(18)操作输出装置以提供电池的该至少一个单元(12)的安全状态的指示。

标签:
化学分析
其他 - 其他 来源:中冶有色网 2023-03-19
半导体晶片表面温度监控方法及温度传感器

本发明的对晶片表面温度进行实时测量并监控的方法,对研磨垫的表面温度进行实时测量并实时监控,因此可以在清洗工艺中借助于化学反应和摩擦能动地应对晶片表面的不规则的温度变化。本发明的晶片表面温度测量传感器也可以在有从清洗液中产生的烟尘的环境下使用,按照红外线摄像机的各个点分别负责温度,从而能够按照区间校正温度。

标签:
化学分析
其他 - 其他 来源:中冶有色网 2023-03-19
用于说明葡萄糖生物传感器中的干扰物的系统和方法

本发明公开了各种实施例,所述各种实施例使得用葡萄糖测试仪和生物传感器所进行的葡萄糖测量的精确度得以改善,其主要是通过使用至所述生物传感器的脉冲信号输入,以及选择来自所述生物传感器的至少一个特定脉冲输出来测定较少受到流体样品中可能存在的干扰化学物质影响的葡萄糖浓度。

标签:
化学分析
其他 - 其他 来源:中冶有色网 2023-03-19
改进催化剂性能的校准策略

公开了一种用于控制内燃机和监测催化剂性能的修改的校准策略。使用发动机(502)和测试单元/催化剂室(510)设置来实施修改的校准策略,其中发动机是Euro V 1.2L涡轮汽油直喷发动机,且测试单元/催化剂室实施为在催化剂构造内包含化学计量尖晶石结构的基本不含铂族金属(PGM)的催化剂,本文称为ZPGM催化剂,以及协同PGM(SPGM)催化剂。开放式ECU的使用使能够对发动机对外排放目标AFR进行修改的校准。传统的ECU AFR控制策略没有被修改为使ECU AFR控制策略继续正常运行,并且通过应用偏移的AFR值仅修改了最终的发动机对外排放目标AFR值。修改的校准策略提高了发动机操作和催化剂转化率。

标签:
化学分析
其他 - 其他 来源:中冶有色网 2023-03-19
用于制造原电池的方法

一种制造原电池的方法,该原电池包括多个堆叠的单电池,通过在引入有机电解质和形成电池组之前改变电压测量各个电池的阻抗来确定单个电池的功能。每个单电池包括被层叠到一隔板(1)上的多层电极膜。其中至少一个电极(2)是锂插入电极,在该电极的聚合物基质中,不溶于该聚合物的电化学活性材料是细分散的。可用和层叠制品的连接片(3)接触的弹簧触头(4),以频率为约1kHz按照四极测量进行阻抗测量。

标签:
化学分析
其他 - 其他 来源:中冶有色网 2023-03-19
用于控制细胞培养物中的过程变量的原位拉曼光谱系统和方法

本发明提供了用于监测和控制生物反应器细胞培养物中的一个或多个过程变量以便提高产品质量和一致性的原位拉曼光谱方法和系统。所述方法和系统将用于细胞培养物的实时评定的原位拉曼光谱和化学计量建模技术与信号处理技术联合使用来实现对细胞培养过程变量的精确的连续反馈和模型预测控制。通过使用来自拉曼光谱的实时数据,可以连续或间歇地监测所述细胞培养物内的所述过程变量,并且自动反馈控制器将所述过程变量维持在预先确定的设定点或者维持特定的补料方案,所述特定的补料方案将变化量的剂递送至生物反应器以最大化生物产品质量。

标签:
化学分析
其他 - 其他 来源:中冶有色网 2023-03-19
控制纤维制造过程或造纸过程的纤维料幅的成型的方法

本发明涉及一种用于控制纤维制造工序或造纸工序的纤维料幅的成型的方法,所述纤维制造工序或造纸工序由多个相继实施的各个方法阶段构成,根据测量值在所述各个方法阶段中实施能够调节的化学和/或物理过程或工序步骤,为形成纤维料幅所需的材料在所述过程或工序步骤中被处理、汇集和/或脱水,其中,至少一些测量值被在线测取并且直接或间接地用于控制成型。所建议的方法的特征在于,根据能够定义的辅助条件形成在总体工序中的各个过程或工序的至少一些重要影响成型的调节量。

标签:
化学分析
其他 - 其他 来源:中冶有色网 2023-03-19
消防装置
消防装置 1136     
 0

消防装置,其具有用于在火险区域(3)中监测温度的探测器(2);用于提供灭火物质的容器(4);和用于从容器(4)向火险区域供给灭火物质的分配器(7);该消防装置还具有将探测器(2)连接至容器(4)的控制器(6),并且该控制器(6)使容器(4)内发生化学反应。

标签:
化学分析
其他 - 其他 来源:中冶有色网 2023-03-19
热轧钢板
热轧钢板 785     
 0

本发明的热轧钢板具有规定的化学成分,在5个测定范围内分别沿轧制方向及与上述轧制方向成直角的方向测定表面的高度分布曲线,在各个上述高度分布曲线中,在将从高度位置最高的点的高度位置和高度位置最低的点即凹部的高度位置的平均的高度位置即平均高度位置至上述凹部为止的高度方向的距离设定为R1(μm),将与上述凹部在上述轧制方向或与上述轧制方向成直角的方向上相距5μm的2个测定点的高度的平均设定为R2(μm)时,下述式(1)所表示的曲率半径r的平均值为10μm以上,热轧钢板的抗拉强度为500MPa以上。r=(25+|R2‑R1|2)/2|R2‑R1|(1)。

标签:
化学分析
其他 - 其他 来源:中冶有色网 2023-03-19
定量由六种外感病邪所引起的皮肤变化的方法和使用该方法筛选改善皮肤状况的材料的方法

本文公开了一种定量由六种外感病邪所引起的皮肤变化的方法和使用所述定量方法筛选改善皮肤状况的材料的方法。更具体地,本文公开了一种在皮肤细胞培养系统中测定由外部刺激所引起的细胞变化的方法,其中通过细胞生物化学方法测定细胞变化的程度,所述细胞变化是通过对待培养的皮肤细胞施用适当的六种外感病邪的刺激而得到的,使得能科学并定量地表达在现有技术中提出的六种外感病邪的概念性效果,而且本文还公开了一种使用所述测定方法筛选改善皮肤状况的材料的方法。

标签:
化学分析
其他 - 其他 来源:中冶有色网 2023-03-19
上一页 14 15 16 17 18 ... 193 下一页
共193页    到第

中冶有色为您提供最新的其他有色金属化学分析技术理论与应用信息,涵盖发明专利、权利要求、说明书、技术领域、背景技术、实用新型内容及具体实施方式等有色技术内容。打造最具专业性的有色金属技术理论与应用平台!

全国热门有色金属设备推荐
展开更多 +
全国热门有色金属技术推荐
展开更多 +

 

江西省隆恩特环保设备有限公司
宣传

报名参会
更多+

报告下载

有色专家
更多+

中南大学
副校长
矿冶科技集团
副所长/研究员
中南大学
院长/教授
云南锡业集团(控股)有限责任公司
副总经理
中铝检测科技(郑州)有限公司/国家轻金属质量检验检测中心
正高级工程师
赤泥综合利用研究报告2025
推广

热门技术
更多+

推荐企业
更多+

福建省金龙稀土股份有限公司
宣传

发布

在线客服

公众号

电话

顶部
咨询电话:
010-88793500-807