青岛垚鑫智能科技有限公司
宣传

位置:北方有色 >

有色技术频道 >

> 探矿技术

分类:
全部
矿山技术
冶金技术
材料制备及加工技术
环境保护技术
分析检测技术
 
全部
探矿技术
采矿技术
选矿技术
通用技术
地区:
全部
北京
天津
上海
重庆
河北
山西
辽宁
吉林
黑龙江
江苏
浙江
安徽
福建
江西
山东
河南
湖北
湖南
广东
海南
四川
贵州
云南
陕西
甘肃
青海
内蒙
广西
西藏
宁夏
新疆
其他
其他
展开
 
全部
其他

其他有色金属探矿技术理论与应用

免费发布技术信息>>
用流体分析仪确定流体特性

本发明涉及用流体分析仪确定流体特性。一种确定地质层流体特性的方法包括:多次获得流体样本的与甲烷峰值光密度和油峰值光密度相关的数据,基于数据每一次用多次获得的流体样本的甲烷峰值光密度对油峰值光密度计算流体样本的视在气—油—比率,选择能使气—油—比率增加的取样参数的幂函数,基于数据计算幂函数的指数常量,和确定从包含无污染气—油—比率和污染度的一组数据中选择的至少一个。

标签:
探矿技术
其他 - 其他 来源:北方有色网 2023-03-03
页岩气提取
页岩气提取 903     
 0

本发明涉及用于穿过位于地质区域内的井孔来提取页岩气的系统和方法。该系统和方法包括被过滤器组件环绕的开采管,其中该开采管穿过不同地质层,例如在下层页岩层上方的透水层。在从页岩层中提取气体的过程中,该过滤器组件可以在被释放的任何污染物进入该透水层之前捕集和过滤出这些污染物。该过滤器组件包括下部可膨胀钟形件和多个过滤器的堆叠安排。可以使用真空来促进过滤。

标签:
探矿技术
其他 - 其他 来源:北方有色网 2023-03-03
用于分析和成像增强三维体数据集合的系统和方法

公开了一种方法(10)和系统,用于通过将一个或多个属性体(12)结合成单一体来创建结合属性体或组合体。例如,可以使用地震数据体用于由多个地震属性体创建结合地震属性体。通过将地震数据体中标准8位数据值(12)的某几个以表示其他空间位置一致的地震属性数据的某几个其他数值的标记数值(18)进行替换来实现这一点。然后可以显示(22)组合体,以及在如地质体等感兴趣的事件上定位种子拾取。然后自动检出器(24)函数或程序将找到快速进一步确定事件的全部连接点。然后可以显示并译码事件。

标签:
探矿技术
其他 - 其他 来源:北方有色网 2023-03-03
包含粘弹性表面活性剂的液体和其使用方法

本发明提供了一种在各种应用场合用作增稠剂如用于悬浮在地质建造的挖掘过程中产生的颗粒的粘弹性表面活性剂基水性流体体系。表面活性剂为两性表面活性剂/两性离子表面活性剂,如二羟基烷基甘氨酸盐、烷基两性乙酸盐或丙酸盐、烷基甜菜碱、烷基酰氨基丙基甜菜碱和由某些蜡、脂肪和油得到的烷氨基单或二丙酸盐。增稠剂与无机水溶性盐或有机添加剂如邻苯二甲酸、水杨酸或其盐组合使用。

标签:
探矿技术
其他 - 其他 来源:北方有色网 2023-03-03
多孔固体介质的电动去污方法

一种多孔固体介质的电动去污方法包含:a)将固体介质中存在的污染物质提取到电解液中,电解液基本上是无机凝胶,提取是通过在位于固体介质表面和/或内部中的两个电极之间施加电流来实现,凝胶确保这些电极中至少一者与固体介质接触;b)将含有由此提取的污染物质的凝胶干燥,直到获得破碎的干燥残余物,和c)将由此获得的干燥残余物从固体介质上去除。其可应用于:具有水泥基体的材料的去污,特别适用于军事或工业设施,尤其核设施的拆除,或可能已经受到生态型或放射性化学物质污染的设施的修复;清除地质土壤、沉积物和污泥的污染。

标签:
探矿技术
其他 - 其他 来源:北方有色网 2023-03-03
用于制造摩擦材料的方法,具体地用于制造制动片和相关制动片的方法

一种用于产生摩擦材料的方法,所述方法依次包含以下步骤:将铝硅酸盐源与碱性硅酸盐溶液混合以形成地质聚合物;将摩擦混合物添加到先前步骤的地质聚合物溶液中以获得浆料;在介于室温与120℃之间的温度下在模具中浇铸所述浆料持续5分钟到2小时;以及脱模以获得片;将垫板附接到所述片;在介于X与Y之间的温度下固化持续介于X小时与Y小时之间的时间。用所述方法获得的所述摩擦材料用于制造用于摩擦元件,如制动元件,包含车辆制动片或块的摩擦层/块和/或摩擦盘。

标签:
探矿技术
其他 - 其他 来源:北方有色网 2023-03-03
微发泡的水果泥或蔬菜泥及其制备方法

本发明涉及一种微发泡的水果泥或蔬菜泥,其包含天然的脱脂可溶性乳清蛋白和任选地质构剂,膨胀率小于或等于50%,所述泡的平均直径小于200微米并且所述微发泡的水果泥或蔬菜泥可以在1至10℃的温度下在至少28天期间保持稳定。本发明还涉及所述水果泥或蔬菜泥的制备方法。

标签:
探矿技术
其他 - 其他 来源:北方有色网 2023-03-03
简化处理基于W/O转化乳液的工作液的方法

本发明涉及一种便于处理基于含乳化剂的W/O转化乳液的可流动和可泵送的工作流体,尤其是地质勘探所用类型的相应助剂,如油基W/O转化钻井泥浆的方法,和用于简化清洗由此沾污的固体表面,如有必要,使用可流动喷雾助剂的方法,所述方法的特征在于,通过选择和使乳化剂/乳化剂体系适应于转化乳液的油相,在低于W/O转化乳液的使用温度的温度下实现可控温度的相转化,但在水相的凝固点以上且在转相温度范围内和/或低于该范围的温度下进行所述的处理和清洗。本发明还涉及该方法用于在海岸或者在海上倾倒岩屑的过程中和/或优选在此之前清洗和处理由地质勘探中覆盖有残留钻井泥浆的岩屑。

标签:
探矿技术
其他 - 其他 来源:北方有色网 2023-03-03
在井孔中进行声波勘探的设备和方法

一种对井孔所贯穿的地下地质结构进行声波勘探的设备,包括一纵向延伸的实体;一装在所述实体上供发射声能的发信机,该声能的频率选择在该实体所呈现的自然发送衰减带内;以及一装在所述实体上且与该发信机间隔一段距离用于接收具有所选取频率的声能的接收机。该实体包括在发信机和接收机间具有不同声波传播特性的周期性重复排列的一系列分段,从而在所选择的频率下在该实体中产生声波干扰,使沿实体传播的所选频率的声能衰减。

标签:
探矿技术
其他 - 其他 来源:北方有色网 2023-03-03
曝光装置、曝光法和器件制造法

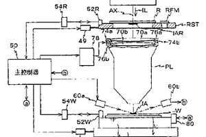
在掩模台(RST)上固定一个其上形成有至少一个针孔状图案的基准板(RFM),掩模台(RST)上固持地移动掩模(R)。因此,例如可以不用任何特殊类型的测量用掩模,通过把连结型波前测量仪(80)设置到衬底台(WST)上、利用照明系统(IOP)照射基准板并利用波前测量仪接收通过投影光学系统在针孔状图案处产生的球面波,来测量投影光学系统(PL)的波前象差。因此,可以以理想的计时很容易地测量投影光学系统的波前象差,这使得能够对投影光学系统进行充分地质量控制。因此,可以利用进行了充分地质量控制的投影光学系统把掩模图案精确地转印到衬底上。

标签:
探矿技术
其他 - 其他 来源:北方有色网 2023-03-03
将数据检测装置送入地下岩层中的装置和方法

一种用于将数据检测装置配置到地下地质岩层中,以便间断或连续地从地下岩层中采集数据和将该数据传递给远程数据接收器的装置和方法。在一优选实施例中,枪管和燃烧室采用非线性布置方式,从而提供一种用于将子弹形数据检测装置发射到所关心的岩层中的类似于枪的装置。该数据检测装置一旦布置于所关心的岩层基体内,就将监测岩层状况和传送数据,以便用于优化钻井和生产活动。

标签:
探矿技术
其他 - 其他 来源:北方有色网 2023-03-03
钻井工具传感器数据的远程处理和数据获取系统上的传感器数据校正

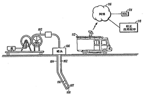
对于某些实施例,一种用于根据从地质调查服务获得的磁力校正参数来校正远程数据库(114、118)中的传感器数据的软件应用程序,该传感器数据是从钻井工具(107、108、110)上的定向仪器获取的。远程数据库位于井位处的现场计算机(112)中,并且该远程数据库的副本还可位于实时操作计算机系统中。对于某些实施例,特定深度和测量时间的传感器数据作为表中的各个行来存储。该校正软件可将具有已校正传感器数据的新行写入远程数据库中,或可将新行写入用于存储已校正传感器数据的第二数据库中。

标签:
探矿技术
其他 - 其他 来源:北方有色网 2023-03-03
抓地平衡的钓箱结构
抓地平衡的钓箱结构 1118     
 0

本实用新型涉及一种钓鱼用具,尤其适于不同地形和地质的钓场使用。它包括抓地平衡调整机构、跨竿升降机构、网竿固定机构及钓置放机构,其中抓地平衡调整机构是由一线固定座、一组调整螺杆、一组嵌接座及一组吸垫构成,通过调整螺杆可使其下端的硬质尖爪露出或缩进嵌接座下端的弹性吸垫内,适应不同地质的需要。从而使钓箱在不同地形和地质中均能平稳地放置,置调整操作方便,还可以不用拆卸鱼竿、托架而达到整体转移钓具。

标签:
探矿技术
其他 - 其他 来源:北方有色网 2023-03-03
增强型电阻率测量的装置、方法和系统

一种装置和系统以及方法,可以操作以从深测量电磁天线阵列获取地层信号,其中地层信号的值取决于地质地层的特性。还可以从钻头处电阻率(ABR)传感器获取地层信号,其中ABR传感器包括电耦接到环杆或多个电极的钻头,所述电极由至少一个间隙分隔开。进一步的活动可以包括反演所述地层信号的所述值以将这些值变换成所述地质地层的增强的电阻率测量,其中所述反演包括确定以下至少之一:所述地质地层的多个层之间的相对距离,所述多个层到所述壳体的相对取向,或者所述多个层的电阻率梯度,其中所述多个层未被所述钻头在局部穿透。还公开了附加的装置、系统和方法。

标签:
探矿技术
其他 - 其他 来源:北方有色网 2023-03-03
开采矿物的开采装置和用于此的传感器系统的容纳装置

本发明涉及一种用于开采矿物的开采装置,包括:能沿输送装置移动的机器框架(11),该机器框架对于每个行驶方向在其在生产使用中面向回采工作面的前侧(13)上具有用于要回采的矿物的崩矿工具(14、15);设置在机器框架(11)上的传感器系统,用于识别矿物和废石。为了提供一种可设有改进的传感器系统或可与改进的传感器系统使用的开采装置,在机器框架(11)的前侧(13)上设有悬伸地固定的、用于传感器装置的容纳箱(20),其中优选在该容纳箱(20)内设置有地质雷达作为传感器系统。

标签:
探矿技术
其他 - 其他 来源:北方有色网 2023-03-03
射弹增强型钻孔系统
射弹增强型钻孔系统 898     
 0

用于在工作表面内形成或延伸隧道或竖井的系统可包括用于使射弹加速进入地质材料中以削弱所述地质材料的区域的冲压加速器组件。随后可使用切削工具来更快地移除所述削弱的材料,其中与单独使用所述切削工具相比,能量使用更少并且对所述切削工具的磨损更少。在执行射弹和切削操作时,可使用收集组件来将碎屑从所述工作表面移走,以使得能够大体上连续地使用所述系统。可基于所述地质材料的特性和可移除所产生的碎屑的速率来控制被加速的射弹的数量和射弹使用的速率,从而允许针对速度、成本、稳定性或其他因素来优化操作。

标签:
探矿技术
其他 - 其他 来源:北方有色网 2023-03-03
用于根据地震数据生成沉积序列体的系统和方法

在具有一个或多个处理器和存储由所述一个或多个处理器执行的程序的存储器的计算机系统处执行根据地震数据(100)生成沉积序列体的方法。该方法包括以下步骤:接收地震数据集(212),其中该地震数据集(212)包括3D地下模型的多个网格点(301)处的图像值;根据处理地震数据集(212)的图像值,识别所述3D地下模型的所述多个网格点(301)的第一子集处的反射和所述3D地下模型的所述多个网格点(301)的第二子集处的地质约束(102),诸如断层面;以及根据网格点(301)的第一子集处的反射(104)和网格点的第二子集处的地质约束(102)生成3D地下模型的沉积序列体(216)。在地质层位(302)上发现的断层或不连续周围施加Dirichlet或Neumann边界条件。

标签:
探矿技术
其他 - 其他 来源:北方有色网 2023-03-03
建造地下隧道的方法和系统

数公里长的长隧道很可能会穿过可能会引起问题的各种地质条件。传统方法包括沿拟建隧道的长度对地质条件进行采样,然后根据这些采样进行推断。本发明试图通过以下方式克服现有技术的缺点:沿第一预定路径钻出第一孔10,第一孔的长度至少为25m;沿着相应的第二预定路径钻出多个第二孔20,每个相应第二预定路径基本上与所述第一预定路径平行,从而限定在第一预定路径和第二预定路径之间的大致为棱柱形的区域;以及挖掘出大致棱柱形的区域内的材料以形成隧道。通过这种方式,可以记录下钻出第一孔10和多个第二孔20时的数据,并且数据可用于使操作员知晓他们将要挖掘的材料类型。因此,在开始挖掘之前,可以更全面地了解下伏地质条件。

标签:
探矿技术
其他 - 其他 来源:北方有色网 2023-03-02
循环式竖井钻掘设备及其施工方法

一种循环式竖井钻掘设备,是运用于垂直开挖一地质,该钻掘设备包括一设置于地质表面的平台、一可活动地设置于平台上的套筒、一设置于套筒上的钻掘装置及一具有一排泥管的循环装置。钻掘装置具有一设置于套筒上的支承座、一设置于支承座上的钻掘机头、复数顶抵于支承座与钻掘机头间并驱动钻掘机头的往复致动器。而运用上述钻掘设备的施工方法,其步骤则包括a)固设一平台;b)于平台上安装一套筒;c)于套筒中定位一钻掘装置;d)灌水进入套筒中;e)驱动钻掘装置;f)与步骤e)同时推压套筒插入地质表面下;及g)抽出套筒中的泥水。

标签:
探矿技术
其他 - 其他 来源:北方有色网 2023-03-02
用于确定油气藏的位置的方法和系统

本发明涉及用于使用地下地质区域的力学性质模型来确定油气藏的位置的方法和系统。该方法(10、20)包括如下步骤:基于地下地质区域的地震解释以及构造时间数据和构造压力数据的影响而创建在沉积时的多个假定地震剖面(11、21);基于在沉积时的多个假定地震剖面以及构造时间数据和构造压力数据的影响而创建地下地质区域的力学性质模型(12、22)。

标签:
探矿技术
其他 - 其他 来源:北方有色网 2023-03-02
用于有限差分计算的可变网格

本发明公开了一种计算机系统和计算机实现方法,其用于利用表示地下地质区中的多个位置的网格点来估算地球物理模型。该方法包括以下步骤:将所述地下地质区的地球物理模型存储在计算机可读存储器中,并且针对所述地球物理模型,定义表示地下地质区中的多个位置的网格点。所述网格点包括沿至少一个方向延伸的多个点。所述多个点沿所述至少一个方向可变地隔开。该方法还包括以下步骤:通过所述计算机利用网格点估算地球物理模型。

标签:
探矿技术
其他 - 其他 来源:北方有色网 2023-03-02
复合吸附剂及其制备方法

一种用地质聚合物、沸石和活性炭的混合物制备复合吸附剂的组合物,其中地质聚合物材料、含碳材料和碱活性剂是混合物的组分。碱活性剂与含碳材料的固体质量比至少为0.25:1。通过混合、成型、挤压等常规方法利用该组合物来制备成型复合吸附剂的工艺。碱活化将含碳材料转化为活性炭,然后水热处理将地质聚合物材料转化为沸石。由本发明的组合物制成的成形复合吸附剂用于液体和气体的吸附、纯化或其他分离应用。

标签:
探矿技术
其他 - 其他 来源:北方有色网 2023-03-02
用于地下层状岩层中的水力裂缝高度的改进设计的方法

本文中的实施方案涉及使由井筒横贯的地下地层水力压裂的方法,所述方法包括:使用所述地层的被测量特性来表征所述地层,所述被测量特性包括地质界面的机械特性;识别地层裂缝高度,其中所述识别包括计算水力裂缝表面与地质界面的接触;以及使所述地层压裂,其中使用所述计算对流体粘度或流体流动速率或其两者进行选择。本文中的实施方案还涉及使由井筒横贯的地下地层水力压裂的方法,所述方法包括:对所述地层进行测量,包括地质界面的机械特性;使用所述测量结果来表征所述地层;使用所述地层表征来计算地层裂缝高度;使用所述测量结果来计算最佳裂缝高度;以及比较所述最佳裂缝高度与所述地层裂缝高度。

标签:
探矿技术
其他 - 其他 来源:北方有色网 2023-03-02
通过基团贡献平衡模型进行的地面气体校正

本发明公开了用来确定在井下操作期间来自地质地层的承载流体和固体的流体的总烃的方法和系统。井场处的气体抽取通过气体抽取器在设定压力、测得温度、测得密度和受控体积速率下发生。通过使用基团贡献平衡模型求解状态方程组从流入和流出井筒的流体样本确定各种目标组分的量。在沾染地层材料之前对液体的液相和固相的大致化学组合物的了解以及对来自地质地层的气相的检测和固相的描述,允许在地面处确定来自地质地层的总体可检测烃并且将其浓度表示为在井下操作时来自井筒的材料的摩尔或质量分数。

标签:
探矿技术
其他 - 其他 来源:北方有色网 2023-03-02
多孔材料激光诱导击穿光谱的流体特性

一种对地质样本实现激光诱导击穿光谱测量以分析地质样本流体特性的方法,必要时实现光谱预处理,进一步的分析应用于所收集的数据,以确定样本的至少一个流体参数。本方法可以提供一种更加快速和可靠的方法以评估地质样本的流体属性。还提供实现该方法的系统。

标签:
探矿技术
其他 - 其他 来源:北方有色网 2023-03-02
对地球物理数据进行处理

本发明描述了一种对地球物理数据进行处理以提供地球的勘测区域的下层地质的三维表示的方法,所述地球物理数据来自对所述勘测区域的勘测,所述方法包括:输入所述勘测区域的地球物理数据;使用所述输入的地球物理数据产生初始三维表示,所述初始三维表示描绘了所述勘测区域的所述下层地质的断层;使用至少包括应力和应变在内的地质力学参数来计算每个所描绘断层的适应区;产生最终三维表示,所述最终三维表示描绘了断层和适应区两者。

标签:
探矿技术
其他 - 其他 来源:北方有色网 2023-03-02
分析和变换地球物理和岩石物理数据的系统和方法

一种计算机系统和一种计算机实施的方法,用于分析来自地下地层中受关注地质体的输入数据。所述方法包括使用第一地下解释模型处理输入数据,所述第一地下解释模型被配置为提供表示所述受关注地质体特征的第一输出数据。所述方法进一步包括使用第二地下解释模型处理输入数据,所述第二地下解释模型被配置为提供表示所述受关注地质体特征的第二输出数据。所述方法进一步包括确定所述第一输出数据与所述第二输出数据之间的关系,以及使用所述关系将所述第二输出数据变换为所述第一输出数据以获得变换后的第二输出数据。

标签:
探矿技术
其他 - 其他 来源:北方有色网 2023-03-02
生物柴油的生产及其在油砂处理中的应用

本发明公开了获得重油的方法。该方法包括将含重油的材料(如油砂)与含生物柴油的溶剂混合形成混合物,将混合物分离成富含油的溶剂相和残余砂相。该方法还可包括向含重油的原位地质构造引入含生物柴油的溶剂,和从该地质构造中收集含生物柴油和重油的混合物。例如,能够在溶剂通过重力流过至少部分地质构造后收集混合物。本发明还公开了制造生物柴油的方法。该方法包括对沥青质进行微生物消化形成含脂肪酸的液体和使脂肪酸与醇反应生成生物柴油。该方法可用于将石油沥青质和/或煤沥青质转化成生物柴油。

标签:
探矿技术
其他 - 其他 来源:北方有色网 2023-03-02
使用水平井创建地震深度网格

用于执行包括以下各项的操作的方法、系统和计算机可读介质:裁剪油气田中的地震参考面的平均速度网格(SRSAV),以去除包含大角度水平(HA/HZ)钻孔的区域的平均速度数据,其中,地震参考面近似于地质参考面;基于(i)使用HA/HZ钻孔数据生成的地质参考面的深度网格(GRSD),以及(ii)地震参考面的时间网格(SRST),生成沿HA/HZ钻孔的钻孔平均速度网格(BAV);利用裁剪的SRSAV对BAV进行网格化,以生成油气田的混合地震钻孔平均速度网格(HSBAV);以及基于HSBAV和SRST生成油气田的混合地震地质深度网格(HSGD)。

标签:
探矿技术
其他 - 其他 来源:北方有色网 2023-03-02
协调的智能建模器
协调的智能建模器 1140     
 0

实施例提供了用于对提出的地质体积建模的方法和系统。一个这样的实施例通过数字地创建地质体积的三维(3D)模型来开始,所述地质体积的三维模型包括一个或多个变量,所述变量中的每个变量是体积中的一个或多个子体积的分析置信度中的数学因素。接下来,定义针对一个或多个变量中的每个变量的标准化值。继而,在数学上确定一个或多个子体积的分析置信度(例如,开采的、矿石品质等)。最终,更新所述模型以包括所确定的、一个或多个子体积的分析置信度。

标签:
探矿技术
其他 - 其他 来源:北方有色网 2023-03-02
上一页 16 17 18 19 20 ... 31 下一页
共31页    到第

北方有色为您提供最新的其他有色金属探矿技术理论与应用信息,涵盖发明专利、权利要求、说明书、技术领域、背景技术、实用新型内容及具体实施方式等有色技术内容。打造最具专业性的有色金属技术理论与应用平台!

全国热门有色金属设备推荐
展开更多 +
全国热门有色金属技术推荐
展开更多 +

 

江西省隆恩特环保设备有限公司
宣传

报名参会
更多+

报告下载

有色专家
更多+

长春黄金研究院有限公司
总经理
南昌航空大学
副院长/教授
武汉科技大学
校学术委员会主任 / 教授
紫金矿业信息化研发中心
副总经理
中国矿业大学(北京)
教授
赤泥综合利用研究报告2025
推广

热门技术
更多+

推荐企业
更多+

福建省金龙稀土股份有限公司
宣传

发布

在线客服

公众号

电话

顶部
咨询电话:
010-88793500-807