青岛垚鑫智能科技有限公司
宣传

位置:中冶有色 >

有色技术频道 >

分类:
全部
矿山技术
冶金技术
材料制备及加工技术
环境保护技术
分析检测技术
 
全部
探矿技术
采矿技术
选矿技术
通用技术
地区:
全部
北京
天津
上海
重庆
河北
山西
辽宁
吉林
黑龙江
江苏
浙江
安徽
福建
江西
山东
河南
湖北
湖南
广东
海南
四川
贵州
云南
陕西
甘肃
青海
内蒙
广西
西藏
宁夏
新疆
其他
其他
展开
 
全部
成都
自贡
攀枝花
泸州
德阳
绵阳
广元
遂宁
内江
乐山
南充
眉山
宜宾
广安
达州
雅安
巴中
资阳
阿坝藏族羌族自治州
甘孜藏族自治州
凉山彝族自治州

四川成都有色金属矿山技术理论与应用

免费发布技术信息>>
地质勘查安生系统
地质勘查安生系统 1146     
 0

本发明涉及一种地质勘查安生系统,其特征在于包括个人腰包式安生仪、便携式移动基站、队级安生数据站及局级安生服务站。所述个人腰包式安生仪包括通话器、腰包、数传电台、锂电池。所述便携式移动基站包括平板电脑和主机。所述队级安生数据站及局级安生服务站包括数据库同步双备份服务器、固定IP地址、北斗卫星数据终端、GPRS手机数据采集软件、WebGIS网络服务器软件和电视墙。该系统可实时获取野外地质勘查人员的当前位置、运动轨迹及运动速度。

标签:
探矿技术
四川 - 成都 来源:中冶有色网 2023-02-26
用于模拟复杂地质的模型系统

本发明公开的是岩石工程力学领域的一种用于模拟复杂地质的模型系统,包括岩体模型、水压模块、喷护模块和温控模块;所述岩体模型包括原岩体、裂隙带和开挖体;所述水压模块包括供水箱和供水钢管;所述喷护模块包括浆液罐和注浆管;所述温控模块包括电阻丝和隔热层。本发明通过在岩体模型中设置裂隙带和温控模块来精确模拟岩体状态,使之与现实工程岩体性质更为接近,同时结合水压模块实现岩体模型的精准调压与精准供水,喷护模块实现岩体模型的锚杆支护与水泥浆液喷护模拟,可有效揭示复杂环境中地质体开挖后的真实变形破坏特征,有利于复杂地质环境下的边坡工程或地下工程岩体开挖后的力学特性的精确研究。

标签:
探矿技术
四川 - 成都 来源:中冶有色网 2023-02-26
地质监测开关系统
地质监测开关系统 897     
 0

本发明公开了一种地质监测开关系统,包括多根监测开关导管件,监测开关导管件包括监测开关导管、球接头和球槽接头,监测开关导管一端与球接头连接,监测开关导管另一端与球槽接头连接,相邻的监测开关导管件通过球接头和球槽接头相连接,球接头的端头设有V型导接触头,球槽接头内与V型导接触头相对应的设有弧型触头。通过设有至少两根球接的监测开关导管件,通过在球接头和球槽接头设有连接触头,将本发明装置水平埋设在土层内,当地质发生变化(塌陷或隆起)时,会触动相邻的两根监测开关导管件之间会发生转角变化,球接头内的V型导接触头会与球槽接头内的弧型触头相连接,从而使V型导接触头与弧型触头接头,进而启动地质预警装置。

标签:
探矿技术
四川 - 成都 来源:中冶有色网 2023-02-26
开挖卸荷作用下地下工程未知地质构造活化识别方法

本发明公开了一种开挖卸荷作用下地下工程未知地质构造活化识别方法,步骤如下:①在待测岩体区域安装微震监测传感器,建立三维坐标体系,确定岩体等效波速;②根据微震监测数据,计算出所有微震事件的空间坐标(Xj,Yj,Zj)及发生时间tj;统计微震事件发生频率,判断是否存在某一种未知地质构造的活化;③查看微震事件频率较高时段是否存在微震事件的聚集现象,判断地质构造的活化运动情况;④统计软弱结构面区域内微震事件释放能量Es/Ep值,判断软弱结构面破坏类型。本发明所述方法对于围岩监测范围广,能够对围岩内部微震活动进行持续观察,可以判定软弱结构面破坏形式,促进微震监测技术在工程实践中更好地发挥预测预警及指导作用。

标签:
探矿技术
四川 - 成都 来源:中冶有色网 2023-02-26
泥石流地质灾害的监测系统及方法

本发明公开了一种泥石流地质灾害的监测系统及方法,系统包括信号采集模块、实时监控模块、数据储存模块、风险智能识别模块、报警模块;信号采集模块与实时监控模块相连,将采集的数据通过信号转换后传输给实时监控模块;实时监控模块与数据储存模块双向连接;述风险智能识别模块利用大数据对地质灾害进行系统的风险分析评估,自动生成该监测区域泥石流灾害的风险评估报告;报警模块根据识别的风险程度发布地质灾害预警。本发明利用传感器设备、视频设备、大数据技术、无线通信网络技术、智能识别技术、预警技术等实现泥石流的监测和预警,能够提高监测效率和识别精度。

标签:
探矿技术
四川 - 成都 来源:中冶有色网 2023-02-26
适用于复杂地质条件下的桥梁基础施工方法

本发明涉及桥梁基础施工技术领域,一种适用于复杂地质条件下的桥梁基础施工方法,具体包括以下步骤:基坑开挖;基坑排水、临时支护施工;承台深基坑支护施工;具体是指:采用旋喷桩水泥土墙结合钢板桩进行基坑支护施工;承台基坑施工;承台施工。本发明将有效的防止复杂地质情况对于桥梁基础施工的影响;有效的提高了施工质量,加快了施工进度;本发明将有效的避免在施工过程中,由于复杂的地质情况,造成基坑的大面积坍塌;避免由于坍塌造成安全事故的发生。

标签:
探矿技术
四川 - 成都 来源:中冶有色网 2023-02-26
地质灾害条件下输电杆塔稳定性评价方法及系统

本发明公开了一种地质灾害条件下输电杆塔稳定性评价方法及系统,该方法包括:获取输电杆塔的影响因素集,并对所述输电杆塔的影响因素集进行约简;构建塔材实际强度退化率与约简后输电杆塔的影响因素集的局部线性关系,使用所述局部线性关系计算杆塔塔材实际强度的退化率;根据所述杆塔塔材实际强度的退化率进行输电杆塔的危险等级划分;使用应力仪检测试杆件所受应力,并计算杆件等效应力;根据所述杆件等效应力,引入各折减系数对杆件失效的判断方法进行修正,得到判断杆件失效的公式;进行杆件稳定性评价。本发明通过仿真模拟地质变动对输电杆塔的影响情况,得到了地质灾害对输电杆塔稳定性的影响权重,为评估场地杆塔稳定性提供可靠标准。

标签:
探矿技术
四川 - 成都 来源:中冶有色网 2023-02-26
地质灾害用便于携带的无线对讲机

本实用新型公开了一种地质灾害用便于携带的无线对讲机,包括防护罩、上固定盘、固定架和穿孔,所述防护罩内部固定有对讲机本体,所述上固定盘固定在防护罩的一侧,所述下固定盘通过翻转轴上设置的定位片与插孔相连接,所述固定架的一侧与下固定盘相连接,所述定位片上固定的插栓的表面覆盖有橡胶凸块,所述防护罩的表面预留有连接孔,所述防护盖上设置有固定柱,所述穿孔预留在下固定盘上,所述绑带上设置有第一贴片和第二贴片。该地质灾害用便于携带的无线对讲机,通过固定架上设置的绑带和固定槽可以将装置整体固定在手腕上,此种设置为使用者的携带带来了便利,使用者在使用该装置时无需一直手持该装置,方便使用者将手腾出来进行记录等。

标签:
探矿技术
四川 - 成都 来源:中冶有色网 2023-02-26
锚索孔道地质补强的气囊

本实用新型为用于预应力锚索孔道地质缺陷修复、补强的施工中的锚索孔道地质补强的气囊,包括带接嘴的适应锚索孔道内壁形状的能膨胀收缩的气囊体,气囊体轴向几何中心有圆形通孔。本实用新型能提高施工效率、减少施工干扰、加快施工进度、降低施工成本。

标签:
探矿技术
四川 - 成都 来源:中冶有色网 2023-02-26
多功能地质勘测工具箱

本实用新型公开了涉及一种多功能地质勘测工具箱,属于地质勘测技术领域,包括箱体,所述箱体内侧开设有卡槽,所述卡槽内侧滑动连接有固定块,所述固定块下方固定安装有伸缩架,所述伸缩架外侧镶嵌连接有第一阻尼减震弹簧,所述伸缩架右侧固定安装有弹性垫,所述弹性垫右侧可拆卸连接有第二阻尼减震弹簧,所述固定块上方开设有凹槽,所述凹槽内部底端可拆卸连接有橡胶垫,所述凹槽内部可拆卸连接有勘测器。本实用新型通过安装的第一弹簧、第一磁条、第二磁条、第二旋转轴、箱门、夹块、橡胶垫和凹槽,便于将勘测器进行固定,同时避免箱体在运输过程中箱门打开对勘测器造成损坏,具有很好的实用性。

标签:
探矿技术
四川 - 成都 来源:中冶有色网 2023-02-26
三维构造地质模型的知识图谱构建方法

本发明公开了一种三维构造地质模型的知识图谱构建方法,包括以下步骤:S1、建立知识图谱模式层;包括以下子步骤:S11、在顶层本体的基础上建立领域本体;S12、使用包含多个子本体的模块化体系结构来设计模式层;S2、构造地质模型知识图谱数据层,在模式层的约束下,对构造建模的输入数据进行认知,然后形成三元组事实表达,最后形成信息网络。本发明提供了一种对构造地质模型的相关信息进行高效组织的方法,有利于结合计算机在存储、计算、三维视觉上的优势以及人类在抽象思维、推理、学习的长处,使得构造建模能够利用更多有效信息;有利于相关数据在不同机构间的分享与交流。

标签:
探矿技术
四川 - 成都 来源:中冶有色网 2023-02-26
基于跨超前水平钻孔地震CT的超前地质预报方法及系统

本发明属于隧道超前地质预报技术领域,公开了一种基于跨超前水平钻孔地震CT的超前地质预报方法及系统,包括:在隧道掌子面靠左右边墙处以一定外插角,各打一个地震波激发孔和接收孔。常规情况下,采用“矩形对穿”方式进行数据采集。前方探测到异常情况下,加密测点,采用“扇形对穿”方式进行数据采集。通过控制震源点和接收点的数量、炮间距以及道间距来控制探测长度和精度。各打一个超前水平钻孔分别为:一孔布置R个震源点,另一孔布置R个接收点。系统包括未开挖段落隧道和已开挖段落之间设置有掌子面,隧道掌子面靠左右边墙处以一定外插角,各打一个地震波激发孔和接收孔。本发明实现了对隧道掌子面前方地质情况的精准化预报。

标签:
探矿技术
四川 - 成都 来源:中冶有色网 2023-02-26
雨量监测控制系统及地质灾害预警系统

本发明实施例提供一种雨量监测控制系统及地质灾害预警系统。该雨量监测控制系统包括:用于采集待监测区域的灾害数据的多个现场采集终端;与现场采集终端通信连接,用于采集待监测区域的雨量数据,并向现场采集终端发出第一控制指令的基站;以及与基站通信连接,用于接收并存储灾害数据和雨量数据,并根据接收的第二控制指令对基站的控制策略进行配置的服务器,基站根据配置情况对现场采集终端进行控制。本发明通过监测雨量数据来调整现场采集终端的控制策略,以使现场采集终端根据对应的控制策略进行采集,避免了在地质灾害发生时,由于地质灾害的突发性和偶然性导致关键的监测指标不能及时有效地测量和记录的问题。

标签:
探矿技术
四川 - 成都 来源:中冶有色网 2023-02-26
分离式地质探测钻孔装置及其方法

本发明涉及地质灾害监测和防治技术领域,具体涉及一种分离式地质探测钻孔装置,包括转筒内壳、转筒外壳、锁紧机构、钻头机构和检测器,所述锁紧机构设有两个,两个所述锁紧机构对称分布在转筒内壳内部两侧,所述转筒内壳设置在转筒外壳内部,且所述转筒内壳外侧与转筒外壳内侧连接,所述检测器设置在转筒内壳底端,且所述检测器上端两侧与转筒内壳通过锁紧机构对应可拆卸连接,所述钻头机构设置在转筒外壳底端。通过设置锁紧机构,将检测器可拆卸的设置在钻头内部,让钻头直接带着检测器钻入地下,在钻到指定位置后,放下检测器检测,从而避免检测器相对于钻头二次下入钻孔,本发明还提供了一种分离式地质探测钻孔装置的使用方法。

标签:
探矿技术
四川 - 成都 来源:中冶有色网 2023-02-26
深厚淤泥地质基坑围护结构及其施工方法

本发明公开了一种深厚淤泥地质基坑围护结构及其施工方法,该深厚淤泥地质基坑围护结构包括支护桩,所述支护桩外侧设置有第一水泥土格栅墙,所述支护桩内侧设置有第二水泥土格栅墙,所述支护桩包括预应力管桩护壁和设置在所述预应力管桩护壁外侧的一排相互咬合的第一水泥搅拌桩。本发明提供的深厚淤泥地质基坑围护结构采用预应力管桩和水泥搅拌桩格栅墙相结合的形式,不仅施工方便、成本低、缩短了工期,还很好的起到了承受基坑开挖卸荷所产生的水压力和土压力,并将此压力传递到支撑,稳定基坑的作用。

标签:
探矿技术
四川 - 成都 来源:中冶有色网 2023-02-26
地下工程地质灾害教学演示装置以及方法

本发明涉及一种地下工程地质灾害教学演示装置以及方法,包括顶部设有敞口的钢板箱,所述钢板箱内设有模拟箱体;所述钢板箱与所述模拟箱体之间设有振动控制装置;所述模拟箱体内填充有基岩模拟填料;所述模拟箱体的侧壁上设有长条形凹槽,所述模拟箱体的侧壁上设有玻璃板,所述长条形凹槽上方设有沉降槽、漏斗形凹槽,泥水槽以及泥水运移通道,所述沉降槽的底部与所述长条形凹槽之间设有钢丝网;所述长条形凹槽内设有石膏块。本发明的有益效果是:在演示地下工程地质灾害时可以明显观测到岩土体的变形位移滑塌、地面沉降、地表塌陷以及岩溶区的突水突泥等具体破坏情况,从整体上展示了地下工程地质灾害的形成及运动过程。

标签:
探矿技术
四川 - 成都 来源:中冶有色网 2023-02-26
海绵城市地质环境降雨模拟装置

本实用新型提供了海绵城市地质环境降雨模拟装置,属于海绵城市地质环境技术领域。该海绵城市地质环境降雨模拟装置包括集水箱、排水管、旋转接头、降雨管道和驱动机构。所述排水管一端连通于所述集水箱底部一侧;所述降雨管道包括外管道和内管道,所述内管道一侧位于所述外管道内,所述外管道一端和所述旋转接头连通,所述外管道底部间隔开设有主滴水孔,所述内管道包括管壳,所述驱动机构包括电机和减速器,所述连接架一侧固定连接于所述外管道表侧。本实用新型通过采用外管道和内管道组合方式,用于改变不同的喷射滴落的雨量来进行实验,可以调整喷射模拟的降雨倾斜角度,方便进行不同条件下的降雨模拟,方便进行实验。

标签:
探矿技术
四川 - 成都 来源:中冶有色网 2023-02-26
石油地质土壤采样装置
石油地质土壤采样装置 1591     
 0

本实用新型公开了一种石油地质土壤采样装置,包括安装架、第一轴承、转筒、安装筒、推块、弹簧、隔板、卡槽、拉杆、盖板、连接杆、电机、轴杆、集土筒、条形通孔、钻头、第二轴承、圆筒、滑槽和滚轮。该种石油地质土壤采样装置通过设置隔板、弹簧、集土筒以及推块之间的相互配合,可以更好的对土壤不同层次进行取样,避免了不同层次的土壤混合在一起,提高了对土壤检测的准确性,提高了土壤采集的工作效率;通过设置转筒、钻头、轴承以及安装架之间的相互配合,可以更好、更快速的将土壤采样器插进土壤内进行取样,增强了石油地质土壤采样装置的稳定性,极大的缩短了采样的时间,增强了实用性。

标签:
探矿技术
四川 - 成都 来源:中冶有色网 2023-02-26
地质找矿分层取样装置

本实用新型提供一种地质找矿分层取样装置,涉及地质取样装置技术领域,包括支撑装置和下料装置,所述支撑装置包括支撑盘,所述下料装置包括钻筒本体,所述支撑盘的顶部中心处开设有安装通孔,所述安装通孔的内表壁与钻筒本体的外表壁相互滑动,所述支撑盘的底部中心处设置有空心转盘,所述钻筒本体的外表壁靠近底部边缘处设置有本体限位环;有益效果:通过安装通孔内部设置在不同高度的滑壁装置对不同层级的地下物质进行收集,达到分层取样的效果,使装置能一次对不同层级间的地质样品进行收集,提高装置对样品的收集效率,增加装置实用性。

标签:
探矿技术
四川 - 成都 来源:中冶有色网 2023-02-26
地质勘察填坑用压实装置

本实用新型公开了一种地质勘察填坑用压实装置,包括箱体,所述箱体内腔的右侧固定连接有隔板,所述箱体的内腔设置有转动柱,所述转动柱的左端通过轴承与箱体转动连接,所述转动柱的右端贯穿至隔板的右侧,所述转动柱表面的两侧均固定连接有三角转盘。本实用新型通过驱动机构的驱动,使转动柱带动压实机构旋转,即可达到小空间高效碾压的目的,该地质勘察填坑用压实装置,通过多个压辊对地面进行反复碾压,解决了现有的压实装置中大多以移动的压辊对进行地面压实,在实际的使用过程中,需要车辆反复移动对地面挤压,无法在空间狭小的地方进行作业,且来回的碾压,一方面提高了碾压成本,另一方面也降低了工作效率的问题。

标签:
探矿技术
四川 - 成都 来源:中冶有色网 2023-02-26
便携式地质箱
便携式地质箱 1015     
 0

本实用新型涉及一种便携式地质箱,其包括:箱体、活动安装于箱体上的中层夹及面板,箱体上设有肩带、地图插槽、定位器、尺槽、放大镜座、相机座、记录本座、橡皮座及笔槽,肩带的两端分别与箱体的两侧连接,地图插槽位于箱体的外壁上,定位器位于所述箱体的内壁上,尺槽、放大镜座、相机座、记录本座、橡皮座及笔槽位于箱体的内部。中层夹上安装有二条第一支撑臂,第一支撑臂与箱体铰接,面板上安装有二条第二支撑臂及二条第三支撑臂,第二支撑臂与箱体铰接,第三支撑臂与中层夹铰接。该便携式地质箱,整体结构合理,便于收纳、保护性强、方便绘图的进行。

标签:
探矿技术
四川 - 成都 来源:中冶有色网 2023-02-26
地质勘探用土层采样装置

本实用新型属于地质勘探技术领域,公开了一种地质勘探用土层采样装置,包括第一支撑架,所述第一支撑架的顶端安装有转筒和开关,所述转筒位于开关的一侧,且转筒贯穿第一支撑架的顶端,所述转筒与第一支撑架转动连接,且转筒的顶端安装有气泵,所述转筒的内部安装有活塞,本实用新型设置了错位密封结构,该结构由钻头和连接环共同组成,连接环与钻头之间可产生相对转动从而实现错位状态,而连接环又与采样管或采样套之间形成连接,从而保证采样管或采样套与钻头之间也能形成错位状态,从而在错位状态下实现采样管或采样套端口处的密封作用,以此保证在不影响采样土层结构的前提下实现样品土层的有效取出。

标签:
探矿技术
四川 - 成都 来源:中冶有色网 2023-02-26
地质勘查灯
地质勘查灯 1077     
 0

本实用新型涉及地质勘察工具领域,公开了一种地质勘查灯,包括灯体,所述灯体的一侧连接有连接柱,且灯体的另一侧安装有灯头,所述灯头圆周的一侧和灯体远离灯头圆周的一侧均等距离安装有若干个弹簧,所述相同一侧的若干个弹簧的顶端共同连接有保护圈,所述两个保护圈相互靠近的一侧共同连接有若干个保护杆,所述连接柱的顶端开设有第一螺孔,所述连接柱远离灯体的一侧连接有固定装置。本实用新型通过灯体和灯头上安装的弹簧和弹簧所连接的保护圈以及保护杆,当勘查灯掉落至地面上时,可以起到减震防摔作用,可以有效避免灯体摔落地面而造成损害,使得该勘查灯具有防摔性能,增加了该勘查灯的使用寿命。

标签:
探矿技术
四川 - 成都 来源:中冶有色网 2023-02-26
稳定性好的地质勘探用三脚架

本实用新型公开了一种稳定性好的地质勘探用三脚架,包括固定盘和稳定板,所述固定盘的上表面安装有连接板,且连接板的内部开设有限位槽,所述限位槽的内部设置有限位柱,所述限位柱的上侧安装有安装板,且安装板的内部设置有连接杆,所述固定盘的内部开设有定位槽,且固定盘的下侧安装有衔接板,所述固定盘的外端设置有支撑板,所述衔接板的下侧安装有稳定板,且稳定板的外端设置有定位板,所述稳定板的内部安装有限定杆,所述支撑板的下端设置有底板,且底板的内部安装有定位杆。该稳定性好的地质勘探用三脚架,便于更好的适用不同高度地面的勘测,便于更好的调节高度,便于增加使用的稳定性。

标签:
探矿技术
四川 - 成都 来源:中冶有色网 2023-02-26
地壳升降与地貌地质构造耦合模拟试验装置

本实用新型公开了一种地壳升降与地貌地质构造耦合模拟试验装置,包括表面为长方形的试验台、试验台上表面中部设有可弯折底板、透明的挡板,水平挤压电动缸、第一推板、第二推板、固定座,升降平移台等,可弯折底板上铺设有实验材料层。本实用新型克服了现有技术中仅能进行重力滑脱构造模拟,模拟条件单一,无法进行多期次叠加实验模拟,例如大陆表面‑大陆边缘‑大洋底面间的演化模拟,相应的地质时期跨度较小的缺陷。本实用新型的结构变化可以完成地壳升降的物理模拟,模拟地质时期跨度增大,可精确的进行海相‑陆相盆地转换过程的模拟,例如川西盆地由海相盆地‑海陆交互相‑陆相盆地的演化过程的模拟。

标签:
探矿技术
四川 - 成都 来源:中冶有色网 2023-02-26
地质监测开关装置
地质监测开关装置 780     
 0

本实用新型公开了一种地质监测开关装置,包括多根监测开关导管件,监测开关导管件包括监测开关导管、球接头和球槽接头,监测开关导管一端与球接头连接,监测开关导管另一端与球槽接头连接,相邻的监测开关导管件通过球接头和球槽接头相连接,球接头的端头设有V型导接触头,球槽接头内与V型导接触头相对应的设有弧型触头。通过设有至少两根球接的监测开关导管件,通过在球接头和球槽接头设有连接触头,将本实用新型装置水平埋设在土层内,当地质发生变化(塌陷或隆起)时,会触动相邻的两根监测开关导管件之间会发生转角变化,球接头内的V型导接触头会与球槽接头内的弧型触头相连接,从而使V型导接触头与弧型触头接头,进而启动地质预警装置。

标签:
探矿技术
四川 - 成都 来源:中冶有色网 2023-02-26
用于水电工程及地质灾害预警的高精密智能监测站

本发明公开了一种用于水电工程及地质灾害预警的高精密智能监测站,它包括钢筋混泥土柱(1),钢筋混泥土柱(1)的上端部的外部固设有护栏(2),护栏(2)的中部固设有位于钢筋混泥土柱(1)正上方的基座(3),安装盘的顶表面上固设有立柱(4)和柱体(5),柱体(5)的顶表面上设置有全站仪监测模块(6),立柱(4)上设置有智能启闭罩(7),智能启闭罩(7)设置于全站仪监测模块(6)的正上方,立柱(4)上还设置有GNSS定位模块(8),GNSS定位模块(8)的下方连接有棱镜(9),棱镜(9)、GNSS定位模块(8)和全站仪监测模块(6)处于同一垂直线上。本发明的有益效果是:自动监测山体地质情况、能够远程管理和自动报警。

标签:
探矿技术
四川 - 成都 来源:中冶有色网 2023-02-26
基于地质图切剖面的三维地层建模方法

本发明公开了一种基于地质图切剖面的三维地层建模方法,包括:S1、对图切剖面进行编辑,完成建模所需要的基本参数的设定;S2、对地层边界及内外区域进行离散采样,获得地层属性在空间的离散分布;S3、对地层三维空间离散点进行插值计算,生成三维空间地层属性数据场;S4、从三维空间地层属性数据场中进行等值面提取,获得地层的三维轮廓表面;S5、重复步骤S2~S4,获得所有地层的三维轮廓表面;S6、将所有地层三维轮廓表面进行空间拼接,完成三维地层建模。本发明既避免了二维轮廓重建方法中存在的复杂轮廓匹配、分叉及对应三角网连接等问题,又可以得到较高精度的三维矢量地质模型;本发明适用于任意复杂情况下的地层建模,建模效率高、适用范围广。

标签:
探矿技术
四川 - 成都 来源:中冶有色网 2023-02-26
适应沙漠地质的输油管支撑结构

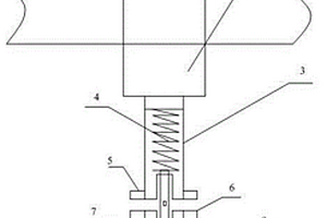
本发明公开了利用第一支撑管内设置第一螺旋弹簧组成下压结构,利用第二支撑管内设置第二螺旋弹簧组成上压结构,再利用支撑柱设置在第一螺旋弹簧与第二螺旋弹簧之间,在地质下沉时,第一螺旋弹簧、第二螺旋弹簧释放,第一螺旋弹簧、第二螺旋弹簧变长,使得它们继续顶压夹持支撑柱,第一支撑管和第二支撑管之间的间距变长,但任能支撑输油管,保持输油管位于原有高度,当地质下沉较为厉害时,第一螺旋弹簧、第二螺旋弹簧的形变无法保持挤压支撑柱时,可以跟换更长的支撑柱,以维持输油管的高度,保障输油管不变形,达到安全的目的。

标签:
探矿技术
四川 - 成都 来源:中冶有色网 2023-02-26
考虑降雨型滑坡地质灾害的电力系统风险评估方法

本发明公开了一种考虑降雨型滑坡地质灾害的电力系统风险评估方法,所述方法依据降雨气象数据信息和输电杆塔周围地质数据信息估算降雨气象诱发滑坡灾害的累积降雨量和滑坡体导致输电杆塔变形的挠曲度;采用曲线拟合法获得输电杆塔损坏联合概率分布;基于网格化技术形成“气象-电网-网格”一体化图层,统计降雨覆盖的输电线路对应的有效输电杆塔数量并计算输电线路失效概率;然后采用非序贯蒙特卡洛法对输电线路进行抽样获得系统失负荷状态;基于交流潮流的最优削减负荷模型计算系统失负荷状态下系统负荷切除量;最后统计系统风险指标。

标签:
探矿技术
四川 - 成都 来源:中冶有色网 2023-02-26
上一页 127 128 129 130 131 ... 143 下一页
共143页    到第

中冶有色为您提供最新的四川成都有色金属矿山技术理论与应用信息,涵盖发明专利、权利要求、说明书、技术领域、背景技术、实用新型内容及具体实施方式等有色技术内容。打造最具专业性的有色金属技术理论与应用平台!

全国热门有色金属设备推荐
展开更多 +
全国热门有色金属技术推荐
展开更多 +

 

江西省隆恩特环保设备有限公司
宣传

报名参会
更多+

报告下载

有色专家
更多+

洛阳有色矿业集团有限公司
生产技术部经理
中南大学
教授、博士生导师
长沙矿冶院检测技术有限责任公司
总经理
北京航空航天大学、中国工程院
院士
南京理工大学、中国科学院
院士
赤泥综合利用研究报告2025
推广

热门技术
更多+

推荐企业
更多+

福建省金龙稀土股份有限公司
宣传

发布

在线客服

公众号

电话

顶部
咨询电话:
010-88793500-807