青岛垚鑫智能科技有限公司
宣传

位置:中冶有色 >

有色技术频道 >

分类:
全部
矿山技术
冶金技术
材料制备及加工技术
环境保护技术
分析检测技术
 
全部
探矿技术
采矿技术
选矿技术
通用技术
地区:
全部
北京
天津
上海
重庆
河北
山西
辽宁
吉林
黑龙江
江苏
浙江
安徽
福建
江西
山东
河南
湖北
湖南
广东
海南
四川
贵州
云南
陕西
甘肃
青海
内蒙
广西
西藏
宁夏
新疆
其他
其他
展开
 
全部
成都
自贡
攀枝花
泸州
德阳
绵阳
广元
遂宁
内江
乐山
南充
眉山
宜宾
广安
达州
雅安
巴中
资阳
阿坝藏族羌族自治州
甘孜藏族自治州
凉山彝族自治州

四川成都有色金属矿山技术理论与应用

免费发布技术信息>>
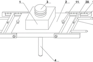
用于复杂地质条件下的高支模拼接结构

本实用新型公开了一种用于复杂地质条件下的高支模拼接结构,桁架模段包括中部桁架模段,中部桁架模段包括主支模板、下弦板和缀板,相邻两个中部桁架模段拼接时,拼接处留有间隙形成伸缩缝并在伸缩缝处竖向设置肋板,肋板顶端至少一侧设置有第一连接元件,所述第一连接元件包括相互连接的支模连接板和肋板连接板,支模连接板和肋板连接板分别与主支模板的下端面和肋板侧面固定连接,伸缩缝的上方设置有主支模连接件,所述主支模连接件与主支模板固定连接。本实用新型通过设计具有一定弹性的拼接结构,提高了支模桁架的抗震性和韧性,使其在复杂地质条件下出现局部震动或者风力突然变大时,支模桁架的连接处也不易出现超出安全性外的松动。

标签:
探矿技术
四川 - 成都 来源:中冶有色网 2023-02-27
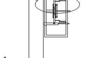
新型的地质罗盘
新型的地质罗盘 1625     
 0

本实用新型公开了一种新型的地质罗盘,包括底壳和顶盖,顶盖与底壳翻转式连接,所述底壳为球缺状,在底壳内底部设有配重块,在底壳表面均匀安装多个减震柱,所述底壳表面开设有安装孔,减震柱活动配合在安装孔内,且减震柱顶面与底壳表面齐平,减震柱下部套设压缩弹簧,在安装孔开口处设有限位台阶,所述减震柱上对应设有限位环,并在减震柱底部安装铁片,在安装孔底部安装电磁铁,所述底壳内还安装有电源、控制芯片、陀螺仪和加速传感器,电源为控制芯片、电磁铁、陀螺仪和加速传感器供电,控制芯片分别与陀螺仪、电磁铁和加速传感器电联,在底壳表面安装与控制芯片电联的电磁开关按钮。本实用新型能有效避免地质罗盘不小心摔落时损坏。

标签:
探矿技术
四川 - 成都 来源:中冶有色网 2023-02-27
山区复杂地形地质非封闭式弧形咬合桩基坑支护方法

本发明公开了一种山区复杂地形地质非封闭式弧形咬合桩基坑支护方法;首先构造一种山区复杂地形地质非封闭式弧形咬合桩基坑结构,包括咬合桩、拱座角桩、拱座、以及冠梁;此基坑结构主要在支护面处沿拱轴线设置一排钢筋混凝土与素混凝土交替的咬合桩,咬合桩桩顶设置拱形连接冠梁,桩底嵌入基坑底部一定深度,并在拱形轴线端部集中设置数根直径较大的钢筋混凝土桩形成拱座;通过拱形咬合桩与冠梁形成整体作为桩后土体支挡结构,该结构将其承受的桩后土体法向荷载转化为沿拱轴方向的轴力,轴力一部分由咬合桩桩底基础承受,另一部分沿拱轴线传递到拱座角桩处,由于采用非封闭式支护体系,传递至拱座角桩处的轴力无法通过自身进行平衡,因此通过拱座角桩自身强度和拱座后土体被动土压力共同抵抗。

标签:
探矿技术
四川 - 成都 来源:中冶有色网 2023-02-27
地质岩心钻探废弃冲洗液的无害化处理方法

本发明公开了一种地质岩心钻探中废弃冲洗液无害化处理的技术方法,包括以下内容:将破胶试剂加入到含水率≥85%的废弃冲洗液中,搅拌均匀,依次加入絮凝试剂和助凝试剂,所述助凝试剂包括亲水型纳米二氧化硅和滑石粉;然后进行固液分离,分离后的液相中加入氧化试剂进行氧化脱色处理后直接排放,分离后的固相中加入固化试剂后固化成型。本发明提供的废弃冲洗液的无害化处理方法,处理后的液相中污染指标(如COD、色度、悬浮物等)大幅降低,固化成型后的固体强度大、减少环境污染,尤其适用于污染物含水率较高、污染物固相颗粒粒径较小、胶体率高的地质钻探废弃冲洗液的处理。

标签:
探矿技术
四川 - 成都 来源:中冶有色网 2023-02-27
化工粉土地质深基坑施工方法

本发明公开了一种化工粉土地质深基坑施工方法,包括:a)、放坡及边坡支护处理;b)、车辆运输通道修建;c)、地下水及雨水处理。通过本发明的施工方法,保证了地下结构施工及基坑周边环境的安全,对基坑侧壁及周边环境采用的支护、加固与保护措施有效保证了化工粉土地质深基坑施工的质量,防止坍塌,从而保证了施工人员及施工机械的安全。

标签:
探矿技术
四川 - 成都 来源:中冶有色网 2023-02-27
地质钻探用浆液搅拌装置

本实用新型属于地质钻探器具技术领域,具体公开了一种地质钻探用浆液搅拌装置,其包括桶体、搅拌机和量杯,桶体上设置有若干个量杯座环,量杯座环上开设有通孔,量杯内设置有倒锥形的通道,通道内设置有锥形阀,量杯放置在量杯座环上时,量杯座环将锥形阀顶起。本实用新型设计轻便实用、操作安全,添加剂剂量可调节,材料不易结块,保证了钻井液性能稳定。

标签:
探矿技术
四川 - 成都 来源:中冶有色网 2023-02-27
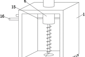
基于智能化的地质雷达探测辅助装置

本实用新型公开了一种基于智能化的地质雷达探测辅助装置,包括车板,所述车板的上端设置有液压装置,所述液压装置的上端设置有升降柱,所述升降柱的上端设置有放置板,所述放置板的下端设置有电动伸缩杆,所述放置板的上端设置有放置盒,所述放置盒的上端设置有天线,所述天线的上端设置有安装滑条,所述安装滑条的上端设置有螺栓,所述放置盒的上端设置有防撞垫。本实用新型所述的一种基于智能化的地质雷达探测辅助装置,结构简单,操作方便,连接性强,便于调节装置高度,具有保护功能,提高设备的使用寿命,增强在放置的稳定性,提升使用效果。

标签:
探矿技术
四川 - 成都 来源:中冶有色网 2023-02-27
便携式地质勘察钻探设备

本实用新型公开了一种便携式地质勘察钻探设备,具体涉及地质钻探设备领域,包括基座,所述基座的底部固定连接有调节箱,所述调节箱的内部设置有调节机构,所述基座的顶部通过安装座固定安装有钻机本体,所述钻机本体的输出轴通过联轴器固定连接有穿设于基座和调节箱内部的钻头本体,所述调节箱的内部通过轴承座转动连接有对称分布的调节轴,所述调节轴伸出调节箱的两端表面固定套接有对称分布的控制支架,两个所述控制支架相对的一侧通过导轨滑动连接有控制箱。本实用新型为背包钻机提供支撑力,降低勘察钻探工人的劳动工作强度,便于调节扩展钻探设备的支撑面积,扩展背包钻机的使用范围,便于设备推广使用。

标签:
探矿技术
四川 - 成都 来源:中冶有色网 2023-02-27
便携式地质资料采集工具箱

本实用新型涉及一种便携式地质资料采集工具箱,包括相互铰接的箱体和箱盖,所述箱体下方的一侧装有拖轮,另一侧装有可收缩的拉杆;所述箱体包括:上端开口的容物腔以及设置在所述容物腔上部的工具盒,所述工具盒的前、后侧面上分别通过两根连接条与所述容物腔铰接,使工具盒随着连接条的摆动而在左右方向移动与所述容物腔的开口错开或重合;所述工具盒内安装有固定板,所述固定板上设有与勘探工具相适配的凹槽;所述工具盒的底部通过滑轨连接一搁物板。采用以上方案,本实用新型提的便携式地质资料采集工具箱,能安全携带各种勘探工具,且结构紧凑,便于在野外转运和使用。

标签:
探矿技术
四川 - 成都 来源:中冶有色网 2023-02-27
深厚淤泥地质基坑围护结构

本实用新型公开了一种深厚淤泥地质基坑围护结构,包括支护桩,所述支护桩外侧设置有第一水泥土格栅墙,所述支护桩内侧设置有第二水泥土格栅墙,所述支护桩包括预应力管桩护壁和设置在所述预应力管桩护壁外侧的一排相互咬合的第一水泥搅拌桩。本实用新型提供的深厚淤泥地质基坑围护结构采用预应力管桩和水泥搅拌桩格栅墙相结合的形式,不仅施工方便、成本低、缩短了工期,还很好的起到了承受基坑开挖卸荷所产生的水压力和土压力,并将此压力传递到支撑,稳定基坑的作用。

标签:
探矿技术
四川 - 成都 来源:中冶有色网 2023-02-27
适用于复杂环境的地质勘探用支架

本实用新型提供一种适用于复杂环境的地质勘探用支架,包括支撑架,所述支撑架下端的四个边角处均设有支撑柱,所述支撑柱包括第一伸缩杆和第二伸缩杆,所述第一伸缩杆的上端与支撑架的下端固定连接,其下端滑动设置在第二伸缩杆上端竖向设置的滑槽内,所述第二伸缩杆的上端设有用于固定第一伸缩杆的调节旋钮,所述第二伸缩杆上套设有脚座,所述脚座通过可调节固定件与第二伸缩杆连接,所述第二伸缩杆的下端呈尖刺状,所述支撑架的上端设有水平仪,用于解决地质勘探用支架不便于在复杂的地面进行安装,同时不便于对支架上的支撑架调整至水平状态的问题。

标签:
探矿技术
四川 - 成都 来源:中冶有色网 2023-02-27
地质勘探用取样钻机
地质勘探用取样钻机 882     
 0

本实用新型涉及一种地质勘探用取样钻机,属于地质勘探设备技术领域,包括载板,所述载板上设置有用于钻孔取样的钻孔取样机构,所述载板下且位于载板的四角开设有凹槽,每个所述凹槽内且位于凹槽的两侧均设置有固定板,两侧所述固定板之间设置有转动块,所述转动块背离载板的面上设置有万向轮,所述固定板上设置有用于带动转动块于固定板上转动、以带动转动块上的万向轮固定至凹槽内或凹槽外的第一固定件,当不需要使用万向轮时,通过转动块带动万向轮移动至凹槽内,使得整个载板可抵接至地面上,从而提高了载板与地面之间的摩擦力,提高了钻孔取样机构在使用时整个钻机的稳定性,防止载板于地面上移动。

标签:
探矿技术
四川 - 成都 来源:中冶有色网 2023-02-27
地质勘探用碎石装置
地质勘探用碎石装置 1229     
 0

本实用新型涉及地质勘探技术领域,公开了一种地质勘探用碎石装置,针对现有的碎石通过人工劳动强度大且碎石效率低下的问题,现提出如下方案,其包括工作台,所述工作台的顶部倾斜设置,工作台的顶部开设有碎石槽,所述碎石槽的一端铰接有压石块,所述碎石槽的底部开设有出料口,出料口的顶部内壁安装有多孔板,所述出料口的底部连接有倾斜设置的出料管,所述出料管的顶部一端连接有输送管,输送管的顶部安装有进料斗,所述工作台的上方设有组装板,组装板上设有轨道板。本实用新型实现电动化碎石,通过往复下压,对石头进行碎花,极大的节省人工,碎石效率高,操作方便,易于推广。

标签:
探矿技术
四川 - 成都 来源:中冶有色网 2023-02-27
地质勘探用土质硬度检测装置

本实用新型公开了一种地质勘探用土质硬度检测装置,包括车体、检测尖杆和检测主机,所述车体包括底板,所述检测主机设置在底板上,所述底板的中心位置设置有检测口,所述底板的上侧壁设置有升降机构,所述升降机构上设置有水平移动机构,且水平移动机构上连接有第一U形板,所述第一U形板上设置有推杆电机,所述推杆电机的输出端贯穿第一U形板的侧壁并固定连接有工作箱,所述工作箱的内侧壁滑动连接有第一移动板。该种地质勘探用土质硬度检测装置,便于调节检测尖杆的位置,使得检测更加方便、高效,并且,当检测尖杆碰到石块等硬度较大的杂质时,能够自动将检测尖杆正常拔出,避免了检测过程中对检测尖杆造成损坏。

标签:
探矿技术
四川 - 成都 来源:中冶有色网 2023-02-27
具有定位功能的地质勘测取样装置

本实用新型涉及地质勘测取样技术领域,尤其是一种具有定位功能的地质勘测取样装置,包括空心柱,所述空心柱的外侧通过连接柱连接有套环,所述套环的下端等距连接有三个第一安装座,所述第一安装座的下端均连接有伸缩杆,所述伸缩杆的下端均通过第二安装座连接有第一插杆,所述空心柱的内腔设有内筒,所述内筒的内腔设有与之相匹配的取样筒,所述空心柱的上端通过第二支撑杆连接有顶板,所述取样筒的内腔设有定位板,所述定位板的上端对称设有螺纹杆,所述螺纹杆均穿过通孔且延伸至外侧螺接有螺母,本实用新型的结构使用灵活,实用性强,便于对取样筒进行位置定位,且便于对其土壤取样深度进行定位,适合推广使用。

标签:
探矿技术
四川 - 成都 来源:中冶有色网 2023-02-27
城市道路工程地质勘察岩土取样装置

本实用新型涉及地质勘察领域,公开了一种城市道路工程地质勘察岩土取样装置,包括框架,所述框架顶部设置有液压缸,所述液压缸上设置有圆盘,所述圆盘底端开设有圆槽,所述圆槽顶部内壁上设置有方条,所述圆槽内接触有外壳,所述外壳顶端开设有与方条相卡装的方槽,所述外壳内设置有伺服电机,所述伺服电机轴端设置有取样杆,所述方条上转动连接有调整轴,所述方条侧面开设有两个平移槽,所述平移槽内滑动接触有平移条,所述平移条侧面设置有连接块,所述外壳顶端开设有两个槽体,所述槽体侧壁上开设有扣槽,所述连接块侧面设置有与扣槽相卡装的扣件。本实用新型具有以下优点和效果:能够方便对岩土取样装置切换使用。

标签:
探矿技术
四川 - 成都 来源:中冶有色网 2023-02-27
隧道超前地质预报爆破震源、及其安装工具与安装结构

本实用新型公开了一种隧道超前地质预报爆破震源、及其安装工具与安装结构,其中隧道超前地质预报爆破震源,包括乳化炸药及位于所述乳化炸药中的引爆装置,所述引爆装置具有触发线,所述乳化炸药及引爆装置包裹于防水橡胶套中,所述触发线延伸到所述防水橡胶套外;本方案设计精巧,结构简单,采用橡胶防水套将乳化炸药和引爆装置固定在一起,一方面可以有效防止乳化炸药和引爆装置分离,以保证爆破作业的实现,且组装便利,易于实现,效果;另一方面,橡胶防水套可以在后续装药时,有效的对乳化炸药及引爆装置进行保护,避免其受损。

标签:
探矿技术
四川 - 成都 来源:中冶有色网 2023-02-27
地质灾害群测群防入户预警显示终端

本实用新型公开了地质灾害群测群防入户预警显示终端,包括机体、显示灯A、显示灯B、显示灯C、通信模块和比对模块;所述显示灯A、显示灯B和显示灯C均设置于机体上表面;所述通信模块和比对模块均设置于所述机体内部;所述通信模块连接于比对模块,所述比对模块连接于显示灯A、显示灯B和显示灯C;所述通信模块接收外部灾害信号,并将外部灾害信号发送至所述比对模块;所述比对模块对所述外部灾害信号进行比对并开关显示灯A、显示灯B和显示灯C。本实用新型地质灾害群测群防入户预警显示终端,成本更加低廉,并且在恶劣环境下,通过比较器来实现的显示控制更加的稳定,不易出错。

标签:
探矿技术
四川 - 成都 来源:中冶有色网 2023-02-27
地质安全防治物料混合供给装置

本实用新型涉及一种地质安全防治物料混合供给装置,包括上料腔、第一电机、第二电机、第三电机、第四电机和出液腔,上料腔左侧下部连接有进料腔,上料腔右侧上部连接有下料管,下料管右侧连接有粉碎腔,粉碎腔下部连接有搅拌腔,搅拌腔右侧连接有出料管;第一电机设置在上料腔顶部位置,第一电机下部连接有第一电机轴,第一电机轴侧面设置有螺旋叶片,第二电机和第三电机分别固定设置在粉碎腔左右两侧,粉碎腔内部左右两侧分别设置有左挤压辊轮和右挤压辊轮。该实用新型装置能有效地针对地质安全防治物料混合处理,以便更好地改善物料混合处理供给效果,方便根据需要使用,以便更好地改善物料混合处理效果。

标签:
探矿技术
四川 - 成都 来源:中冶有色网 2023-02-27
地质灾害应急通信预警系统

本申请涉及地质灾害监测预报技术。本申请公开了一种地质灾害应急通信预警系统,包括探测系统和通信系统,所述通信系统根据所述探测系统传输的数据发送报警信号;所述探测系统包括数据采集传感器和数据传输装置;所述通信系统包括数据处理装置和通信装置;所述数据采集传感器采集地质监测数据,并通过所述数据传输装置传输到数据处理装置进行数据处理,所述数据处理装置向通信装置传输自然灾害信息,所述探测系统间隔布置,所述探测系统直接向通信系统传输数据或通过组网传输数据;所述通信系统通过移动通信网络和/或卫星通信网络和/或通信系统自组网络发送报警信号。本申请具有数据传输可靠性高,报警信号发送可靠、送达率高的特点。

标签:
探矿技术
四川 - 成都 来源:中冶有色网 2023-02-27
地质勘察检测用土质取样装置

本实用新型涉及地质勘察检测技术领域,且公开了一种地质勘察检测用土质取样装置,解决了一般在进行地质勘察检测的过程中,其对土质进行取样的过程中,需要来回多次进行取样,操作较为繁琐的问题,其包括垫板,所述垫板上对称开设有通孔,通孔内插接有取样单元,取样单元之间通过驱动单元连接,驱动单元为驱动器,驱动器包括与垫板连接且对称设置的侧板,侧板之间转动连接有齿轮,齿轮一侧与主动齿条啮合连接,齿轮另一侧与从动齿条啮合连接,主动齿条和从动齿条均与侧板滑动连接;本实用新型,通过设置的取样单元和驱动器的配合使用,能够通过齿轮齿条传动的方式带动两个取样单元间歇进行取样,操作较为方便。

标签:
探矿技术
四川 - 成都 来源:中冶有色网 2023-02-27
盐岩地质下隧道监测项目的确定方法及监测系统

本发明属于隧道监测领域,特别是一种盐岩地质下隧道监测项目的确定方法及监测系统。该方法通过测度函数得到单指标综合测度矩阵,并通过改进层次分析法得到每个指标对应的权重,结合单指标综合测度矩阵得到多指标综合测度矩阵,对多指标综合测度矩阵进行置信度识别得到该段隧道的风险概率指数,并结合该段铁路的历史事故记录得到监测等级该方法可以全面的考量了盐岩地质条件下对隧道后续施工、运营产生影响的因素,同时该方法还考量了在施工过程中发生的历史事故记录,可以得到一个直观的、明确的监测等级;使用者可以基于监测等级确定监测项目以及设置相应的监测系统,在节约成本的同时,还可以保证后续施工和运营的安全。

标签:
探矿技术
四川 - 成都 来源:中冶有色网 2023-02-27
湖相页岩油地质评价方法和系统

本申请公开了一种湖相页岩油地质评价方法和系统,本方法包括获取有关湖相页岩油储层的研究区资料,建立岩性综合柱状图,对采集样品进行XRD全岩分析,并按照研究区的岩性进行岩相分类;开展储集特征分析;对地层进行含油性富集分析;基于研究区的地震资料,对研究区不同的岩相组合的平面展布进行刻画;基于优质岩相组合、含油性富集分析结果和有利区分布,筛选出优势岩相组合,并获取研究区的优势相带。本系统包括岩相分类模块、储层特征评价模块、含油性评价模块、地球物理响应模块和页岩油储层综合评价及有利区预测模块。本申请设计了一套地质‑工程一体化的页岩油储层评价方法,为页岩油储层评价提供新的方法。

标签:
探矿技术
四川 - 成都 来源:中冶有色网 2023-02-27
水文地质工程用勘探装置

本实用新型公开了一种水文地质工程用勘探装置,包括取水管道、两组支撑柱、活动板和顶板一,两组所述支撑柱对称设置在顶板一的下端面,支撑柱与顶板一固定连接,所述支撑柱的下方设置有滑动连接的活动板,所述活动板中心设置有固定连接支撑套管,两组所述支撑柱朝向顶板一的中心一侧方均设置有螺杆,且螺杆贯穿顶板一、活动板,螺杆与顶板一轴承连接,螺杆与活动板螺纹连接,所述支撑柱的左端面靠近支撑柱底端处设置有固定连接的固定块,螺杆的底端与固定块轴承连接,本实用新型旨在解决水文地质勘探装置不稳定且效率低下的问题。

标签:
探矿技术
四川 - 成都 来源:中冶有色网 2023-02-27
用于地质学探测的测定装置

本实用新型涉及地质探测技术领域,特别是涉及一种用于地质学探测的测定装置,包括支撑架,所述支撑架的一侧滑动安装有控制器,控制器靠近固定架的一侧顶部和底部内壁上均开设有固定孔,固定孔内滑动安装有固定杆,固定杆的一端延伸至控制器内,固定杆的另一端延伸至控制器外,两个固定杆延伸至控制器外的一端与固定架的一侧固定连接,两个固定杆延伸至控制器内相互靠近的一侧均开设有限位槽,限位槽内滑动安装有限位杆,限位杆的一端延伸至限位槽内,限位杆的另一端延伸至限位槽外。本实用新型能够实现快速安装和拆卸控制器的目的。

标签:
探矿技术
四川 - 成都 来源:中冶有色网 2023-02-27
多功能便携组合式地质锤

本实用新型名为“一种多功能便携组合式地质锤”,其不仅具有地质锤基本功能,并且具有实用的多种功能,组成结构包括锤头、锤柄、凿子、锥头,所属锤头与锤柄以螺纹连接,锤柄为增大腔体的中空设计,并且外部以加厚橡胶大面积包裹。锤柄内有可以拆卸的凿子,以螺纹连接,凿柄也为中空设计,外部以EVA(乙烯‑醋酸乙烯共聚物)+橡胶包裹,由于EVA材料具有回弹性和抗张力高,韧性高,具有良好的防震、缓冲性能,隔热,保温防寒及低温性能优异,可耐严寒和曝晒,密闭泡孔,隔音效果好,密闭泡孔结构、不吸水、防潮、耐水性能良好,耐海水、油脂、酸、碱等化学品腐蚀,抗菌、无毒、无味、无污染等特点。因此可以有效起到耐用以及有效对人手起到减震防滑的功效。

标签:
探矿技术
四川 - 成都 来源:中冶有色网 2023-02-27
软弱地质环境大断面隧道施工支护体系

软弱地质环境大断面隧道施工支护体系,以有效解决传统施工方法分部开挖工序干扰问题,能够在极软弱地质环境条件下安全、快速修建大断面隧道。它包括:随左上导洞、右上导洞、左下导洞、右下导洞分步开挖施作的构成全环初期支护结构的左上导洞初期支护、右上导洞初期支护、左下导洞初期支护和右下导洞初期支护,和构成全环二次衬砌结构的左上导洞二次衬砌、右上导洞二次衬砌、左下导洞二次衬砌和右下导洞二次衬砌,以及由上隔壁竖撑、下隔壁竖撑与左隔壁横撑、右隔壁横撑构成的十字形临时支护体系,该十字形临时支护体系的外端与全环初期支护结构、全环二次衬砌结构固结。

标签:
探矿技术
四川 - 成都 来源:中冶有色网 2023-02-27
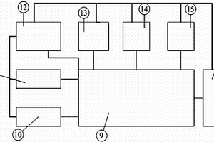
基于ZigBee和GSM技术的地质灾害监测预警全功能节点装置

本实用新型的基于ZigBee和GSM技术的地质灾害监测预警全功能节点装置,涉及灾害监测预警技术领域,旨在解决现有地质灾害监测预警装置存在布线难度大、成本高、运行维护极为困难、便携性差和可靠性不够等技术问题。本实用新型之具有Zigbee通信功能微控制器(9)分别连接温度传感器及电路(10)、湿度传感器及电路(11)、电源及其管理电路(12)、倾斜角测量电路(13)、超声波位移模块(14)、GSM发送模块(15)和信号调理模块(16)。

标签:
探矿技术
四川 - 成都 来源:中冶有色网 2023-02-27
地下工程地质灾害教学演示装置

本实用新型涉及一种地下工程地质灾害教学演示装置,包括顶部设有敞口的钢板箱,所述钢板箱内设有模拟箱体;所述钢板箱与所述模拟箱体之间设有振动控制装置;所述模拟箱体内填充有基岩模拟填料;所述模拟箱体的侧壁上设有长条形凹槽,所述模拟箱体的侧壁上设有玻璃板,所述长条形凹槽上方设有沉降槽、漏斗形凹槽,泥水槽以及泥水运移通道,所述沉降槽的底部与所述长条形凹槽之间设有钢丝网;所述长条形凹槽内设有石膏块。本实用新型的有益效果是:在演示地下工程地质灾害时可以明显观测到岩土体的变形位移滑塌、地面沉降、地表塌陷以及岩溶区的突水突泥等具体破坏情况,从整体上展示了地下工程地质灾害的形成及运动过程。

标签:
探矿技术
四川 - 成都 来源:中冶有色网 2023-02-27
可调节的地质灾害监测用摄像头

本实用新型涉及地质灾害监测技术领域,且公开了一种可调节的地质灾害监测用摄像头,包括柱体,所述柱体的左侧固定安装有载板,所述载板的顶部固定安装有安装罩,所述载板的顶部且位于安装罩的内部固定安装有摄像头本体,所述柱体的左侧且位于载板的下方固定安装有横板。该可调节的地质灾害监测用摄像头,通过设置托板、箱体、隔板、水泵和抽水管,在箱体内注水,太阳能电池板为设备提供电力,控制器内设置定时程序,定时开启水泵,水泵抽取箱体内的水通过喷头喷向安装罩和擦板,喷水后控制器开启动力推杆,动力推杆带动吸水了的擦板在安装罩左侧上下擦拭,如此,安装罩左侧的灰尘被擦洗掉,摄像头本体可以正常工作。

标签:
探矿技术
四川 - 成都 来源:中冶有色网 2023-02-27
上一页 123 124 125 126 127 ... 143 下一页
共143页    到第

中冶有色为您提供最新的四川成都有色金属矿山技术理论与应用信息,涵盖发明专利、权利要求、说明书、技术领域、背景技术、实用新型内容及具体实施方式等有色技术内容。打造最具专业性的有色金属技术理论与应用平台!

全国热门有色金属设备推荐
展开更多 +
全国热门有色金属技术推荐
展开更多 +

 

江西省隆恩特环保设备有限公司
宣传

报名参会
更多+

报告下载

有色专家
更多+

赣州有色冶金研究所有限公司
副主任/高级工程师
江西省科学院应用化学研究所
副主任/副研究员
武汉科技大学
院长 / 教授
国家钨与稀土产品质量检验检测中心
主任
北京航空航天大学、中国工程院
院士
赤泥综合利用研究报告2025
推广

热门技术
更多+

推荐企业
更多+

福建省金龙稀土股份有限公司
宣传

发布

在线客服

公众号

电话

顶部
咨询电话:
010-88793500-807