青岛垚鑫智能科技有限公司
宣传

位置:中冶有色 >

有色技术频道 >

> 化学分析技术

分类:
全部
矿山技术
冶金技术
材料制备及加工技术
环境保护技术
分析检测技术
 
全部
物理检测技术
化学分析技术
力学检测技术
无损检测技术
失效分析技术
环境检测技术
地区:
全部
北京
天津
上海
重庆
河北
山西
辽宁
吉林
黑龙江
江苏
浙江
安徽
福建
江西
山东
河南
湖北
湖南
广东
海南
四川
贵州
云南
陕西
甘肃
青海
内蒙
广西
西藏
宁夏
新疆
其他
其他
展开
 
全部
合肥
芜湖
蚌埠
淮南
马鞍山
淮北
铜陵
安庆
黄山
阜阳
宿州
滁州
六安
宣城
池州
亳州

安徽合肥有色金属化学分析技术理论与应用

免费发布技术信息>>
投加碳源的污水处理优化控制方法

本发明公开了一种投加碳源的污水处理优化控制方法,属于废水生物处理技术领域,包括:S1、将增加的动力学表达式写入含有ASM2d模型的仿真软件中,结合ASM2d模型构建ASM2e模型;S2、利用ASM2e模型库中的各工艺组件单元构建污水处理工艺;S3、将进水水质浓度转换为ASM2e模型的组分浓度,并对污水处理工艺进行初步稳态模拟;S4、根据初步稳态模拟的结果以及灵敏度分析,校准所述ASM2e模型的动力学参数和化学计量学参数,实现稳态模拟;S5、将稳态模拟结果作为动态模拟的初始输入值,对动态进水水质进行动态模拟分析。该方法适应于在缺氧或者好氧区存在乙酸钠的污水处理系统脱氮除磷效果的模拟和优化运行。

标签:
化学分析
安徽 - 合肥 来源:中冶有色网 2023-03-19
基于云边协同的空压机集群运行调节方法及系统

本发明提供一种基于云边协同的空压机集群运行调节方法及系统,涉及空压机调节技术领域。本发明将获取的空压机集群中所有空压机运行数据发送至云端;并对空压机运行数据进行异常检测和数据预测处理,然后基于异常检测数据和预测值进行故障预警和执行运行决策,最后利用强化学习的思想对运行决策执行结果进行记录和反馈以优化下一轮决策过程。本发明不仅节约了大量本地算力和存储空间,提高了调节效率,同时还提高了决策的可靠性和质量,使得空压机集群运行调节的自动化程度高,同时调节决策质量高。

标签:
化学分析
安徽 - 合肥 来源:中冶有色网 2023-03-19
表面分散有铂单原子的复合材料及其制备方法、气敏材料

本发明提供了一种复合有单原子的复合材料,包括表面有缺陷的氧化钨材料以及复合在所述氧化钨材料表面的单原子。本发明将铂单原子牟定在制造缺陷的氧化钨基底材料上,带来了优异的灵敏度和选择性,可以将检测下限达到ppb级别。本发明提供的复合有单原子的复合材料,制得的气敏材料在对丙酮气体检测中表现出优越的响应性能和选择性,且响应速度快,灵敏度高,热稳定性好,制备方法也简单易行,产率高,价格低廉。本发明首次提出了将单原子材料用于气敏检测,这种合成方法将对于化学传感器提供一种新的方向和策略,能够推进单原子气敏方向的发展。

标签:
化学分析
安徽 - 合肥 来源:中冶有色网 2023-03-19
汽油机缸体的熔炼及浇注工艺

本发明公开一种汽油机缸体的熔炼及浇注工艺,包括以下步骤:准备原材料:废钢50%、回炉料20%、生铁30%进行熔化;将熔化后的铁水转炉至中频感应电炉,进行化学成分调整;浇铸三角试块测出炉内铁水的化学成分,浇注试棒,铁水化学成分检验符合要求时出炉,除去熔渣,加入孕育剂,进行炉前包内孕育;将铁水浇入铸型中进行浇注,冷却,落砂后进行喷丸处理。本发明汽油机缸体浇注铁水具有补缩性好的特点;铁水出炉温度为1501‑1515℃,大大减少缸体出现气孔的概率;铸件的机体组织为珠光体和铁素体,石墨长度为4‑6级,A型石墨数量为≥95%;浇注后的铸件具有抗拉强度高,硬度中等,切削性能好,表面质量高的优点。

标签:
化学分析
安徽 - 合肥 来源:中冶有色网 2023-03-19
基于碲化镉量子点与铕离子复合体系的高灵敏度比率荧光探针及其制备方法和应用

本发明公开了一种基于碲化镉量子点与铕离子复合体系的高灵敏度比率荧光探针及其制备方法和应用,其中高灵敏度比率荧光探针是以巯基丙酸包覆的羧基功能化碲化镉量子点与铕离子螯合形成的复合体系。本发明利用能够被单一波长的光源激发光的量子点和铕离子,设计开发出双发射荧光传感器,可实时快速检测水体中的四环素类抗生素,且原材料简单,制备方法易于推广。本发明比率荧光化学传感器,具有灵敏度高、操作简便、选择性好、可视化检测、定量检测的特点。

标签:
化学分析
安徽 - 合肥 来源:中冶有色网 2023-03-19
基于明列子表面网络结构的SERS基底及其制备方法和用途

本发明公开了一种基于明列子表面网络结构的SERS基底及其制备方法和用途。基底为明列子的自体膨胀态,其表面为由单片面积为100~800μm2的纳米片和直径为20~600nm的纳米纤维组成的蓬松网络状,纳米片和纳米纤维上负载有粒径为5~25nm的银纳米颗粒;方法为先按照重量比为0.5~1.5:250的比例,将明列子浸入浓度为1×10-3~2.5×10-1mol/L的硝酸银溶液中静置至少30min,得到明列子的自膨胀体,再将其置于浓度为(1~10)×10-2mol/L的硼氢化钠溶液中搅拌至少30min,其中,硼氢化钠溶液中的硼氢化钠与硝酸银溶液中的硝酸银之间的摩尔比为1:0.1~2.5,制得目标产物。它可直接浸入待检测液体中对有毒物质进行快速检测,在食品安全、环境、化学、生物等领域的快速检测中有着广泛的应用前景。

标签:
化学分析
安徽 - 合肥 来源:中冶有色网 2023-03-19
抗菌防水透湿复合功能材料及其制备方法和应用

本发明公开了一种抗菌防水透湿复合功能材料,包括如下重量比的组分:防水透湿聚氨酯92-98份,纳米抗菌粒子2-8份;其制备方法包括以下步骤:1)纳米抗菌粒子的化学修饰;2)防水透湿功能聚氨酯预聚体的制备;3)化学修饰后的纳米抗菌粒子与防水透湿功能聚氨酯预聚体的化学接枝反应,最终制得本发明的抗菌防水透湿聚氨酯/纳米抗菌粒子复合功能材料,采用涂层技术,使该功能材料与织物作用,可制备成抗菌防水透湿医用防护服产品,经检测,该医用防护服具有较好的抗菌、防水、透湿性能。

标签:
化学分析
安徽 - 合肥 来源:中冶有色网 2023-03-19
芯片式薄层电解池毛细管电泳微流控在线进样装置

一种芯片式薄层电解池毛细管电泳微流控在线进样装置,采用双层芯片结构,首次实现了在芯片上三电极薄层电化学池与微流控毛细管通道的组装,将薄层室、辅助电极室、参比电极室、微流控进样通道、缓冲液池和电极引线集成在一块35mm×25mm×6mm的芯片上,实现与毛细管电泳仪的联用及反应产物的在线分离检测。薄层池产生μL级的样品量,单次进样量为nL级,可在电化学反应过程中连续多次在线进样后一次分离。装置结构合理,操作易控,电极拆装和更换方便,工作电极材料可选。本发明可以应用于对复杂电极反应动力学研究及相关应用领域的测试。

标签:
化学分析
安徽 - 合肥 来源:中冶有色网 2023-03-19
银纳米颗粒包覆氧化锌表面增强拉曼散射效应基底的制备方法

本发明属于硅片表面增强拉曼散射效应领域并公开了一种银纳米颗粒包覆氧化锌表面增强拉曼散射效应基底的制备方法;首先通过液相界面转移法制备单层聚苯乙烯微球;然后通过电化学沉积的方法在聚苯乙烯微球表面生长氧化锌纳米棒阵列;最后通过离子溅射方法,在上述结构表面包覆银纳米颗粒,获得所期望的银纳米颗粒包覆氧化锌纳米棒分级结构阵列。本发明具有较高的SERS活性和较好的敏感性,其SERS信号均匀性与重复性好。本方面方法制备过程简单易行、制备成本低,且通过本发明方法制备的基底对探测分子响应范围宽,SERS活性强,可广泛应用于环境、化学、生物等领域的快速检测。

标签:
化学分析
安徽 - 合肥 来源:中冶有色网 2023-03-19
二硒化钼气敏传感材料及其制备、应用

本发明提供了一种二硒化钼纳米材料,所述二硒化钼纳米材料具有由二硒化钼纳米片组装形成的纳米花结构。本发明得到的具有特定形貌的分级多孔结构的MoSe2纳米材料,具有分级多孔结构的纳米花,其独特的二维平面结构和三维多孔结构,极大的增强了材料与目标分子之间的化学吸附,并加速基底与待测气体分子之间的电子交换。对待测气体的气敏检测有高度的选择性和稳定性,即使待测气体中有诸如甲醛,氯苯,乙醇,丙酮,甲苯等杂质气体共存时,依然可以对待测气体进行高选择性和高灵敏性的检测,在连续循环检测时结果重复性高。而且制备方法简单,条件温和,过程可控,有利于工业化实现,具有广阔的实用前景。

标签:
化学分析
安徽 - 合肥 来源:中冶有色网 2023-03-19
污水处理用辅助酶制剂制备方法

污水处理用辅助酶制剂制备方法,所述方法包括:对漆酶、辣根过氧化物酶、化学模拟酶单独进行配置,并分别检测出各个酶活力的实际值;判断所述漆酶、辣根过氧化物酶、化学模拟酶活力的实际值是否达到预设值;若否,则重新配置;若是,则进行以下操作,包括:计算所述各个酶活力的实际值的增长率;将计算的所述增长率较大的两个酶进行混合,形成预制剂;将所述增长率最小的酶与所述预制剂进行混合,得到辅助酶制剂。本发明采用漆酶、辣根过氧化物酶、化学模拟酶采用特殊的混合方式根据酶的活力先后进行混合,确保辅助酶制剂能保证最高的活力进行污水处理,处理污水的效率高,同时无任何化学污染产生;对环境的要求低,操作简单,适合大规模的污水处理。

标签:
化学分析
安徽 - 合肥 来源:中冶有色网 2023-03-19
毛细管电泳及电色谱插件

本发明涉及分析化学的仪器设备技术领域,尤其涉及一种毛细管电泳及电色谱插件,包括高压电源、两个固定有电极的高压蓄液槽和用于对高压蓄液槽、毛细管或电色谱柱供液的进液单元;进液单元可连接于液相色谱仪,高压电源的一极与其中一电极电连接,高压电源的另一极与另一电极电连接或直接接地,毛细管或电色谱柱可连接于两高压蓄液槽之间或其中一高压蓄液槽与质谱仪之间;本发明安装方便,可直接用于各种液相色谱仪或液相色谱仪和质谱仪联用,在毛细管电泳分离分析时,直接利用液相色谱的进样器、脱气装置和高压泵来完成毛细管电泳,无需单独的毛细管电泳仪,减少了分析仪器成本。

标签:
化学分析
安徽 - 合肥 来源:中冶有色网 2023-03-19
电解槽温度调控装置及调控方法

本发明涉及化学工业设备领域,公开了一种电解槽温度调控装置,包括槽体,所述槽体内设有能够将其内部空间分隔为两个容纳腔的隔板,所述槽体包括内层框板、中层框板和外层框板,内层框板、中层框板和外层框板之间相互粘接固定,所述外层框板的外侧壁上设有能够检测两个容纳腔温度的检测机构,每个容纳腔内均设有调控机构,槽体的旁侧设有供水机构,外层框板的外侧壁上设有控制器,检测机构、调控机构和供水机构均与控制器电性连接,本发明通过检测机构能够达到对容纳腔的温度自动检测作业,减少了人工劳动力,检测效率较高,测量周期较短,且利用调控机构和供水机构相配合,能够实现实时对容纳腔的温度调控作业。

标签:
化学分析
安徽 - 合肥 来源:中冶有色网 2023-03-19
气相沉积工艺的控制方法、装置、介质及电子设备

本发明实施例提供了一种气相沉积工艺的控制方法、装置、介质及电子设备,包括:当接收到气相沉积材料储量低的提示消息后,对使用气相沉积材料进行化学气相沉积工艺的次数进行计数,获得计数结果;将计数结果与预设的化学气相沉积工艺的最大次数进行对比,获得对比结果;基于对比结果实现控制气相沉积工艺。本发明实施例的技术方案能够检测化学气相沉积材料使用状况,在低材料液位警报后,对化学气相沉积工艺的次数进行计数,当到达设定最高次数后,控制停止化学气相沉积设备的使用,并发出通知对进行化学气相沉积材料进行更换,从而提高了化学气相沉积材料的使用率,节约了材料成本。

标签:
化学分析
安徽 - 合肥 来源:中冶有色网 2023-03-19
过共晶铝硅合金缸套及其制备方法

本发明涉及一种过共晶铝硅合金缸套及其制备方法,所述缸套化学成分为:Si:23%-26%;Mg:1.2%-1.5%;Cu:2.5%-3%;Fe:2.8%-3.5%;Ni:1.5%-2%;Cr:0.4%-0.5%;Al:余量;所述制备方法,采用负压重力精密铸造工艺,按以下步骤进行:步骤一:按重量百分比配料;步骤二:熔炼;步骤三:浇注;步骤四:楔压加工处理;步骤五:耐磨处理。本发明所述缸套,重量极大降低,符合业内减重降排的发展要求;采用负压重力精密铸造工艺,不仅制造工艺简单,而且铸件成品率高,这样成本比较低,经检测,缸套的硬度>90HRB,抗拉强度>410MPa。

标签:
化学分析
安徽 - 合肥 来源:中冶有色网 2023-03-19
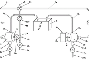
生物电极及其制作方法
生物电极及其制作方法 1088     
 0

本发明涉及一种生物电极及其制作方法,在金属薄膜电极(2)表面存在有序多孔基材料改性层(7),是由有序多孔氧化铝(4B)和碳纳米管(5)组成的复合薄膜;碳纳米管(5)位于有序多孔氧化铝(4B)的孔道中,与所述的金属薄膜电极(2)接触。方法是:在金属薄膜电极(2)表面沉积铝层(4),通过阳极氧化工艺得到有序多孔氧化铝(4B),通过化学气相沉积工艺在有序多孔氧化铝(4B)的孔道中生长碳纳米管(5)。采用吸附、交联、共价键合手段将氧化还原蛋白质(6)固定于有序多孔基材料改性层(7)的孔道中,得到生物电极。有序多孔氧化铝(4B)比表面积大、碳纳米管(5)电导率高,该生物电极检测灵敏度高、信号响应速度快。

标签:
化学分析
安徽 - 合肥 来源:中冶有色网 2023-03-19
鳞片状g-C<Sub>3</Sub>N<Sub>4</Sub>纳米片及其制备方法

本发明涉及纳米材料和光催化及水裂解析氢检测技术领域,具体涉及一种具有鳞片状g‑C3N4纳米片及其制备方法,本发明的鳞片状g‑C3N4纳米片中g‑C3N4纳米片为细小规则的鳞片状结构,所述的g‑C3N4纳米片尺寸为50~600nm,g‑C3N4纳米片厚度为5~30nm。本发明的鳞片状g‑C3N4纳米片是通过三种盐和含氮有机原料混合后煅烧制得。本发明的g‑C3N4纳米片具有呈现出独特的鳞片状结构,具有更高的结晶度,并且能够有效拓展光吸收范围,降低光生电子‑空穴对的再复合几率,提高其光催化学活性及水裂解析氢性能,可有效应用于光催化水裂解析氢技术领域。

标签:
化学分析
安徽 - 合肥 来源:中冶有色网 2023-03-19
荧光探针及其制备方法、应用

本发明涉及化学领域,特别涉及一种荧光探针及其制备方法、应用。本发明通过三步合成了基于6-羟基喹啉盐的β-半乳糖苷酶荧光探针,通过两步合成了基于6-羟基喹啉盐的脂肪酶荧光探针,极大的降低了其生产成本,同时具有较好的水溶性和荧光检测效果。

标签:
化学分析
安徽 - 合肥 来源:中冶有色网 2023-03-19
鲁米诺发光功能化的纳米银及其制备方法和应用

本发明公开了一种鲁米诺发光功能化纳米银及其制备方法和应用。本发明公开了一种功能化纳米银,由银纳米粒子与鲁米诺连接而成,所述鲁米诺通过共价键Ag-N连接在所述银纳米粒子的表面。其制备方法利用鲁米诺在乙醇存在时直接还原硝酸银制备纳米银,合成过程中鲁米诺同时作为还原剂和保护试剂。该方法具有简单、快速、廉价等优点,是一种温宽为25-40℃合成纳米银的新技术。由该方法合成得到的纳米银的粒径和形貌,可以由硝酸银与鲁米诺的比例进行调控,并且所得的纳米银具有优良的化学发光特性。本发明还公开了基于发光功能化的纳米银的生物分析探针,以及基于该探针的分析方法和试剂盒。本发明的功能化纳米银及其生物分析探针、分析方法和试剂盒,可用于免疫分析、核酸分析、分子成像、传感器等领域。

标签:
化学分析
安徽 - 合肥 来源:中冶有色网 2023-03-19
多功能一体式除尘器
多功能一体式除尘器 754     
 0

本实用新型公开了一种多功能一体式除尘器,包括装置主体,所述装置主体一侧安装有控制器,所述控制器顶端设有温度显示表,所述装置主体顶端设有净化装置,所述净化装置内部设有注液孔,所述注液孔底部设有液面高度探测器,所述液面高度探测器底部安装有若干个进尘管,所述进尘管一侧安装有单向阀门,所述单向阀门一侧设有化学抑尘剂,所述净化装置一侧设有压入式风机,所述压入式风机一侧安装有吸尘口,该种多功能一体式除尘器,采用化学抑尘剂对吸入除尘器的粉尘气流进行除尘处理,可以使粉尘与化学抑尘剂充分接触,增加了粉尘与化学抑尘剂的接触面积,除尘效率提高了75%,功能多样,可以检测室内的温度,且结构简单,操作使用方便。

标签:
化学分析
安徽 - 合肥 来源:中冶有色网 2023-03-19
GSL防治OP作用机制的研究方法

本发明公开了一种GSL防治OP作用机制的研究方法,先通过TCMSP和中药与化学成分数据库,获取GSL中淫羊藿、牛膝、黄芪、牡蛎的主要化学成分及其靶点,根据ADME属性值筛选各中药活性成分;再获取OP的主要靶点,进行PPI分析,构建GSL成分靶点-OP靶点核心PPI网络。分析“药物-成分-靶点”及其参与的生物过程及通路,构建“GSL成分-OP靶点-通路”网络,并建立OP动物模型,综合考察骨组织病理变化、骨参数、骨转化标志物的生化水平等指标,评价GSL对OP大鼠的骨保护作用,最后通过WB验证ERα、PI3K、AKT、PPARγ通路上相关蛋白的表达情况,由此全面系统的研究GSL防治OP的作用机制。

标签:
化学分析
安徽 - 合肥 来源:中冶有色网 2023-03-19
制备无铅Sn-Cu合金焊料的双脉冲电镀液及电镀工艺

本发明公开了一种制备无铅Sn-Cu合金焊料的双脉冲电镀液及电镀工艺,是将金属化Si晶片放置于电镀液中通入双脉冲电流进行双脉冲电镀,所述的电镀液的化学成分为:柠檬酸三铵0.4-0.5mol/L、二水合氯化亚锡0.2-0.25mol/L、二水合氯化铜0.025-0.035mol/L,均为分析纯配制;所述的双脉冲电镀的参数为:频率为80-120Hz,双脉冲的占空比为18-22%,正/反向脉冲时间为900-1100/90-110ms,电流密度9-11mA/cm2。本发明合理选择电镀溶液配方及脉冲电沉积工艺参数来制备Sn-Cu合金焊料的方法,提高了电镀速率,且制备的制备的Sn-Cu合金焊料粗糙度低、厚度均匀、表面平整,孔隙少、结构致密、电镀层中的应力小。

标签:
化学分析
安徽 - 合肥 来源:中冶有色网 2023-03-19
基于碳纳米管阵列的电容式气体传感器及其制备方法

本发明公开了基于碳纳米管阵列的电容式气体传感器及其制备方法。在碳纳米管阵列的上下两端分别置有一块平板电极构成电容式气体传感器结构,通过化学气相沉积的方法在阳极氧化铝模板中制备的碳纳米管阵列作为两平板电极的支撑结构,使得两块平板电极之间具有微米级的间距,流过电容传感器两平板电极间气体介电常数的变化由传感器的电容变化量反映出来,可以据此判断被测气体的种类。本发明克服了现有气体传感器的不足之处,有效缩短了电容传感器两平板间距,提高了传感器对气体检测的灵敏度。

标签:
化学分析
安徽 - 合肥 来源:中冶有色网 2023-03-19
金纳米花的制备方法及其应用

本发明涉及一种金纳米花的制备方法及其应用。本发明提供一种制备方法步骤如下:1)室温下,将多酚加入pH值为7~12的水溶液得到混合液;2)然后依次加入氯金酸、双氧水,摇匀得反应液;3)将反应液离心,弃去上清液,洗涤后得产物纳米金花。不同pH值下所得金纳米花的粒径为50~200nm,其稳定性好,可应用于生物体内作为药物载体有良好生物相容性,应用于化学发光分析能显著增强鲁米诺化学发光体系的信号强度,应用于表面增强拉曼散射(SERS)分析的灵敏度优于球形金纳米颗粒。本发明具有原料易得环保,反应条件温和,高效快速等优点,非常适合大规模制备和生产。

标签:
化学分析
安徽 - 合肥 来源:中冶有色网 2023-03-19
一类小尺寸金纳米簇的制备方法及金纳米簇

一类小尺寸金纳米簇的制备方法,该方法可以简单高效的合成尺寸在0.8-1.2纳米的具有量子尺寸效应的纳米级金原子簇,该类金原子簇由于具有特殊的物理化学性质而在生物传感,荧光分析等领域有广阔的应用前景。该合成方法主要分两步:(1)首先将三水合氯金酸(HAuCl4·3H2O)和不同的膦配体(如三苯基膦、二苯基羟基膦等)溶于乙醇和水混合溶剂中,常温下反应生成产物1;(2)在丙酮中加入还原剂硼氢化钠还原产物1,最终得到该类小尺寸的金原子纳米簇。本发明涉及的合成路线,其具有原料简单易得,反应条件简单易行,操控简单的优点。

标签:
化学分析
安徽 - 合肥 来源:中冶有色网 2023-03-19
锂氧电池原位研究方法

本发明公开了一种锂氧电池原位研究方法,利用Cs4PbBr6钙钛矿微纳材料强发光的特性和离子特性,将Cs4PbBr6用于锂氧电池,通过发光特性和电化学研究充放电机理。具体步骤为将Cs4PbBr6材料涂覆于锂氧电池电极界面中,通过不同程度充放电后,直接用紫外光照射电极,根据发光强度和光子波长的变化研究电极材料在充放电后的性质变化,判断卤素离子在锂氧电池电极上的存在形式,分析卤素离子的催化机理。该方法不但可以原位直观的分析锂氧电池反应过程,而且可以作为催化剂,提升锂氧电池电化学性能。

标签:
化学分析
安徽 - 合肥 来源:中冶有色网 2023-03-19
宽吸收光谱的硫化铅薄膜及其制备方法

本发明公开了一种宽吸收光谱的硫化铅薄膜及其制备方法。薄膜由覆于衬底上的硫化铅晶粒组成,其中,薄膜的厚度为500‑540nm,硫化铅晶粒的粒径为6‑10nm,由粒径6‑10nm的硫化铅晶粒组成的薄膜于450‑2200nm波段呈现吸收峰;方法采用化学浴沉积法,即先将氢氧化钠溶液、硫脲溶液和三乙醇胺依次加入醋酸铅溶液中,得到混合液,再向混合液中加入去离子水,得到反应液,之后,先将衬底置于搅拌下的70‑80℃的反应液中至少2h,得到其表面置有反应物的衬底,再对其表面置有反应物的衬底进行清洗和干燥,制得目的产物。它具有较宽的波段吸收特性,极易于广泛地商业化应用于光电探测、太阳能涂覆吸收层、气敏检测等领域。

标签:
化学分析
安徽 - 合肥 来源:中冶有色网 2023-03-19
打叶复烤成品片烟混合均匀性的评价方法

本发明公开了一种打叶复烤成品片烟混合均匀性的评价方法,其包括以下步骤:1)取样:生产正常稳定后,在成品装箱处,每隔5箱从纸箱中取1次成品片烟,连续取样10次,每次120g-160g;2)样品磨样:将步骤1)中取好的样品采用粉碎机粉碎,分别装入取样袋中,并做好标识;3)常规化学成分检测:采用连续流动法分别检测样品中的总糖、烟碱和钾含量;4)计算均匀性系数:计算化学检测数据糖碱比×钾的均值、标准偏差,算出变异系数。本发明方法能够准确、客观反映成品片烟均匀性。

标签:
化学分析
安徽 - 合肥 来源:中冶有色网 2023-03-19
g-C<sub>3</sub>N<sub>4</sub>纳米片修饰的TiO<sub>2</sub>纳米管阵列及其制备方法

本发明涉及纳米材料和光电催化及光电化学检测技术领域,具体涉及一种g‑C3N4纳米片修饰的TiO2纳米管阵列,细小弥散的g‑C3N4纳米片均匀分布于TiO2纳米管阵列内部。本发明的g‑C3N4纳米片修饰TiO2纳米管阵列是通过在阳极氧化法制备的TiO2纳米管阵列表面气相沉积g‑C3N4纳米片获得。相比较其它方法制备的g‑C3N4/TiO2复合纳米管阵列,气相沉积的g‑C3N4纳米片尺寸更小,与TiO2纳米管之间接触充分、结合良好、不易脱落且分布均匀,既能够提高TiO2纳米管阵列在紫外光照射下的光电化学性能,又能拓宽其光谱响应范围,可有效应用于光电催化和光电化学检测技术领域。

标签:
化学分析
安徽 - 合肥 来源:中冶有色网 2023-03-19
具有识别手性异构体功能的纳米银粒子及其制备方法与应用

本发明公开了一种具有敏感识别手性异构体分子功能的纳米银粒子及其制备方法与应用。该6-巯基-α-环糊精修饰的纳米银颗粒,由纳米银粒子和6-巯基-α-环糊精组成,所述纳米银粒子和所述6-巯基-α-环糊精之间通过化学键相连。本发明以硝酸银为来源制备出稳定的纳米银粒子,然后在其上修饰α-环糊精作为手性选择剂,通过简便的方法制备得到水溶性α-环糊精修饰的纳米银颗粒,成功实现了对多种D型和L型氨基酸的比色区分识别。本发明提供的检测手性异构体的方法,工艺简单,可操作性好,能够高效的应用于检测手性氨基酸和手性药物。

标签:
化学分析
安徽 - 合肥 来源:中冶有色网 2023-03-19
上一页 9 10 11 12 13 ... 32 下一页
共32页    到第

中冶有色为您提供最新的安徽合肥有色金属化学分析技术理论与应用信息,涵盖发明专利、权利要求、说明书、技术领域、背景技术、实用新型内容及具体实施方式等有色技术内容。打造最具专业性的有色金属技术理论与应用平台!

全国热门有色金属设备推荐
展开更多 +
全国热门有色金属技术推荐
展开更多 +

 

江西省隆恩特环保设备有限公司
宣传

报名参会
更多+

报告下载

有色专家
更多+

矿冶科技集团有限公司
党委书记 / 董事长
长沙矿冶研究院有限责任公司
中国工程院院士
北京科技大学
教授
武汉理工大学
外籍院士/教授
矿冶科技集团有限公司工程公司
副总经理
赤泥综合利用研究报告2025
推广

热门技术
更多+

推荐企业
更多+

福建省金龙稀土股份有限公司
宣传

发布

在线客服

公众号

电话

顶部
咨询电话:
010-88793500-807