青岛垚鑫智能科技有限公司
宣传

位置:中冶有色 >

有色技术频道 >

> 无损检测技术

分类:
全部
矿山技术
冶金技术
材料制备及加工技术
环境保护技术
分析检测技术
 
全部
物理检测技术
化学分析技术
力学检测技术
无损检测技术
失效分析技术
环境检测技术
地区:
全部
北京
天津
上海
重庆
河北
山西
辽宁
吉林
黑龙江
江苏
浙江
安徽
福建
江西
山东
河南
湖北
湖南
广东
海南
四川
贵州
云南
陕西
甘肃
青海
内蒙
广西
西藏
宁夏
新疆
其他
其他
展开
 
全部
南京
无锡
徐州
常州
苏州
南通
连云港
淮安
盐城
扬州
镇江
泰州
宿迁

江苏有色金属无损检测技术理论与应用

免费发布技术信息>>
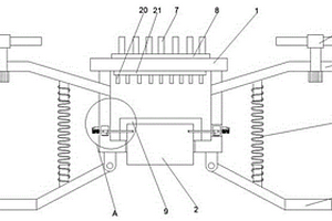
汽车轮毂用多功能无损检测装置

本实用新型属于轮毂检测设备技术领域,尤其为一种汽车轮毂用多功能无损检测装置,包括移动滚轮和拉伸柱,所述移动滚轮旋转设置在夹轮架内,所述夹轮架顶端旋转连接着连接环,所述连接环固定在支撑基台底端,所述连接环一侧固定有限位块,所述支撑基台两侧壁外固定着凸柱,所述凸柱上端平行设置着两组安装立架,所述支撑基台顶端固定有滑道,所述滑道上有圆形槽,且圆形槽内设置有固定台,所述固定台中央处上端固定设置有插接柱,所述固定台上端设置着待测轮毂。本实用新型通过安装立架、检测电机、检测转片、拉伸柱和轮面检测片共同作用,解决了汽车轮毂用测装置大都无法同时检测轮毂的多个侧面,使得检测时需要多弧面和平面进行多次检测的问题。

标签:
无损检测
江苏 - 镇江 来源:中冶有色网 2023-03-19
无损检测仪模拟信道及AD转换电路装置

本发明公开了一种无损检测仪模拟信道及AD转换电路装置,包括模拟电路控制逻辑模块,模拟电路控制逻辑模块与前放电路、VGA控制电路、滤波器电路、检波电路、采样电路连接,VGA控制电路与VGA电路连接,限幅电路与前放电路连接,前放电路与VGA电路连接,VGA电路与滤波器电路连接,滤波器电路与检波电路连接,检波电路与采样电路连接。本发明结构合理,工作性能好。

标签:
无损检测
江苏 - 南通 来源:中冶有色网 2023-03-19
便携式混凝土气体渗透系数现场无损检测装置

本实用新型涉及一种便携式混凝土气体渗透系数现场无损检测装置,主要由预埋传感器组和便携式检测箱两部分组成,其中预埋传感器包括气体渗透传感器和电阻式温度传感器,便携式检测箱包括可拆卸式收纳槽、小型氩气罐、高压缓冲罐、转换接头和低压缓冲罐;利用小型氩气罐将氩气分别输入到混凝土结构内埋设的气体渗透传感器中,根据传感器实测气压降,比对数值模拟的理论气压降规律,获得传感器埋设位置的混凝土有效气体渗透系数;利用检测箱中的温度采集仪,采集检测时刻电阻式温度传感器埋设位置处的混凝土温度;可实现气体渗透系数和温度多参数同时检测,评估埋设传感器位置处的混凝土结构密实性能。

标签:
无损检测
江苏 - 南京 来源:中冶有色网 2023-03-19
获取锂离子电池内部状态分布的无损检测装置

本实用新型公开了一种获取锂离子电池内部状态分布的无损检测装置,属于锂离子电池检测领域,其包括超声探测单元、扫查单元和框架辅助单元,超声探测单元、扫查单元均设置在辅助框架单元上,辅助框架单元包括恒温槽和支撑架,支撑架用于为超声探测单元、扫查单元提供安装和支撑场所,超声探测单元包括液浸式超声探头,扫查单元实现超声探测单元和待检测锂离子电池相对移动。本实用新型装置在不破坏电池结构、影响电池原有性能的前提下,对电池的内部状态分布做出检测,获取锂离子电池内部状态分布。

标签:
无损检测
江苏 - 无锡 来源:中冶有色网 2023-03-19
油菜水分胁迫的无损检测方法

本发明涉及一种作物水分胁迫的无损检测方法,特指利用多特征信息进行油菜含水率检测的方法。本发明利用光谱仪、多光谱成像仪和热成像仪获取油菜冠层的多特征信息,利用温湿度、光照传感器获取油菜生长的环境信息;通过对油菜水分的光谱、图像和冠层温度分布特征进行分类提取,得到油菜含水率的光谱特征波长,多光谱图像均值、归一化比值和分量均值特征以及水分胁迫指数特征;对特征变量进行误差修正和主成分分析,得到最优多特征空间;利用BP神经网络建立油菜含水率的多特征检测模型,模型预测值与实测值的平均绝对误差为3.33%,相关系数R为0.93。该方法相对于光谱、图像和冠层温度等单一检测方法相比,精度有显著提高,且对环境的适应性明显增强。

标签:
无损检测
江苏 - 南京 来源:中冶有色网 2023-03-19
钢丝绳无损检测固定装置

本实用新型涉及固定装置技术领域,且公开了一种钢丝绳无损检测固定装置,包括底板,所述底板顶部的两侧均滑动连接有支板,所述底板的顶部固定连接有限位块,所述限位块的中部转动连接有限位杆,所述限位杆的两端均固定连接有螺纹杆,所述螺纹杆的远离限位块的一端穿过支板,且螺纹杆的外壁与支板螺纹连接;所述支板的顶部固定连接有支撑板,所述支撑板的顶部设置钢丝压紧组件。该钢丝绳无损检测固定装置,通过设置钢丝压紧组件,对钢丝绳两端进行夹紧固定,通过旋转螺纹杆,螺纹杆的旋转带动钢丝压紧组件在水平方向的位置改变,以适用于不同长度的钢丝。

标签:
无损检测
江苏 - 南通 来源:中冶有色网 2023-03-19
无损检测用喷标墨盒
无损检测用喷标墨盒 1063     
 0

本实用新型涉及一种无损检测用喷标墨盒,它包括喷枪以及安装座,所述无损检测用喷标墨盒还包括盒体以及与所述盒体顶面开口处配合的盒盖,所述盒体由前挡板、后挡板、左侧板、右侧板以及底座拼合而成,所述前挡设有第一导管,所述后挡板设有第二导管,所述第一导管位于盒体内一端设有连接法兰,所述连接法兰上设有喷枪调节孔;所述连接法兰与所述安装座螺栓连接,所述安装座的安装斜面上设有喷枪安装孔,所述喷枪安装孔设在所述安装斜面上,所述盒体上设有墨汁进管孔。本实用新型其结构简单,体积小,安装十分方便,整体重量较轻,可以固定多种喷枪,调整喷枪到工件的距离,保证喷溅的墨汁不会洒落在设备上,不会造成污染。

标签:
无损检测
江苏 - 苏州 来源:中冶有色网 2023-03-19
穿壁焊点无损检测模具

本实用新型公开一种穿壁焊点无损检测模具,它包括一号PVC模板(1)、二号PVC模板(8)、大探针(2)和小探针(3),一号PVC模板(1)和二号PVC模板(8)经螺栓(7)、螺母(6)间隔距离固定在一起,若干大探针(2)和若干小探针(3)固定在一号PVC模板(1)上且穿过二号PVC模板(8),一号PVC模板(1)和二号PVC模板(8)之间的大探针(2)、小探针(3)上套装弹簧(4),整体构成检测模具。该检测模具结构简单,成本低廉,操作方便,有效地解决了探针接触不良的问题,增强了检测的灵敏度,测量精确,大大提高生产效率,保证产品质量。

标签:
无损检测
江苏 - 淮安 来源:中冶有色网 2023-03-19
深孔管坯内壁无损检测装置

本实用新型公开了一种深孔管坯内壁无损检测装置,涉及管道检测设备技术领域。本实用新型包括箱体,箱体的左侧上端固定有U型架,U型架的内侧顶端固定有第二安装架,第二安装架内侧设置有探测杆,探测杆的前端固定有探测头,探测头四边侧均固定有摄像头,探测杆的下侧固定有齿轮板,U型架前方的箱体上端固定有电机,齿轮板下端相对应电机的位置处设置有活动齿轮,探测杆的左右侧均开设有活动口,第二安装架的内部左右端相对应活动口的位置处均固定有活动块。本实用新型通过设置齿轮板、电机、活动齿轮、活动口、第二安装架和安装块,解决了现有的深孔管坯内壁检测装置在使用后不便于对管坯内壁进行检测以及在检测时装置的稳定性不足的问题。

标签:
无损检测
江苏 - 扬州 来源:中冶有色网 2023-03-19
无损检测仪
无损检测仪 1039     
 0

本实用新型公开了一种无损检测仪,包括从左至右依次设置的上料机构、涡流检测仪、超声检测仪、下料机构,所述涡流检测仪与超声检测仪之间设置有移动机械手,所述涡流检测仪与上料机构之间设置有夹持抱具,所述夹持抱具呈管状,所述夹持抱具的一端与上料机构对应,另一端与所述涡流检测仪连接,所述夹持抱具的内径大于管材外径,所述夹持抱具的中部的管壁设置呈中空结构,且所述夹持抱具的中部与管材接触的内壁为可膨胀的橡胶,所述夹持抱具的中部的外壁上设置有进/出气口。本实用新型能提高检测精度、提高检测效率。

标签:
无损检测
江苏 - 苏州 来源:中冶有色网 2023-03-19
基于涡流反射与透射的无损检测方法

本发明提供了一种基于涡流反射与透射的无损检测方法,本方法利用常规涡流的反射作用和远场涡流的透射作用对铁磁性试件的表面缺陷和深层缺陷同时进行检测,用于识别表面与内部缺陷且能定量分析,有效解决了单纯远场涡流检测方法不能有效区分铁磁性试件内外缺陷,而常规涡流不能解决深层缺陷检测问题。检测过程中,当涡流传感器沿试件表面移动时,激励线圈对试件进行饱和磁化,同轴检测线圈用于检测试件表面缺陷,激励线圈外的磁屏蔽罩将直接耦合信号屏蔽,远场涡流检测线圈所拾取的为表面和深层缺陷信号。后续的信号进入锁相放大器模块、信号调理模块,由数据采集卡采集处理后的信号在PC机显示,实现铁磁性试件内外缺陷的分类识别与定量分析。

标签:
无损检测
江苏 - 无锡 来源:中冶有色网 2023-03-19
适用于不同管径的内置式管道无损检测装置

本发明提供了一种适用于不同管径的内置式管道无损检测装置,配合安装在管道中,包括行进主体,行进主体后端中部开设有仪器放置槽,仪器放置槽中安装有管道检测仪,行进主体前后两段的侧面外分别设有驱动组件和从动组件,驱动组件包括沿圆周方向均匀分布在行进主体前段侧面外的驱动件,从动组件包括沿圆周方向均匀分布在行进主体前段侧面外的从动件。本发明的有益效果在于:不仅可适用于不同内径的管道检测,而且可全程自动行进,在管道弯曲的地方也可畅通无阻,操作方便快捷。

标签:
无损检测
江苏 - 南京 来源:中冶有色网 2023-03-19
磁粉无损检测设备传动系统

一种磁粉无损检测设备传动系统,主体支架(1)、从动链轮(2)、工装支架(3)、传动链条(4)、检测工件(5)、喷粉机构(6)、驱动电机(7)、传动皮带(8)、主动链轮(9)、滑槽(10)、检测平台(11)组成,其特征在于:所述的主动链轮(9)与从动链轮(2)处于同一水平面,主动链轮(9)与从动链轮(2)通过传动链条(4)连接在一起,驱动电机(7)把动力传递给主动链轮(9),主动链轮(9)通过传动链条(4)把动力传递给从动链轮(2),传动链条(4)从左往右运动。本发明,通过输送、喷粉、检测三位一体设计,提高了工作效率,与传统检测手段相比,检测速度提高了5倍以上。

标签:
无损检测
江苏 - 镇江 来源:中冶有色网 2023-03-19
基于高光谱图像技术进行淀粉中顺丁烯二酸的无损检测方法

本发明涉及一种基于高光谱图像技术进行淀粉中顺丁烯二酸的无损检测方法。该方法包括:a、制备淀粉、顺丁烯二酸标准样本和淀粉‑顺丁烯二酸混合样本;b、用高光谱图像系统采集标准样本的高光谱图像;c、截取高光谱图像预分析区域并提取预分析区域内每个像素的光谱值;d、利用预分析区域内淀粉和顺丁烯二酸像素光谱值结合支持向量数据描述算法建立淀粉和顺丁烯二酸分类模型;f、采集混合样本的高光谱图像,截取预分析区域并提取预分析区域内每个像素的光谱值输入到分类模型中,获得顺丁烯二酸的检测结果。本发明通过高光谱图像系统检测淀粉中顺丁烯二酸,并根据顺丁烯二酸像素的分布情况,让检测结果可视化;操作简单,实时性好,可靠性高。

标签:
无损检测
江苏 - 无锡 来源:中冶有色网 2023-03-19
基于无人机倾斜摄影技术的沥青混凝土厚度无损检测方法

一种基于无人机倾斜摄影技术的沥青混凝土厚度无损检测方法,包括以下步骤:施工现场勘查,制定像控点布设方案,编制无人机航拍计划,在沥青混凝土层施工前、后各进行一次航拍,将步骤S3中获取的航拍照片生产道路正射影像和数字高程模型,将沥青混凝土层施工后的数字高程模型减去施工前的数字高程模型,生成沥青混凝土厚度数字模型,相比传统方法,不破坏路面、检测设备价值低、检测人员工作强度低,在减少外业工作量的前提下,将道路抽检变为全检,对提升道路工程质量具有重要价值。

标签:
无损检测
江苏 - 徐州 来源:中冶有色网 2023-03-19
便携式水稻氮素营养无损检测仪

本实用新型公开了一种便携式水稻氮素营养无损检测仪。包括接触式图像传感器、液晶显示屏、键盘模块、电源及核心处理器。接触式图像传感器用于获取水稻叶片图像并传送给核心处理器,核心处理器调用内存中的处理程序最终得出水稻的氮素营养水平并在液晶显示屏显示。本实用新型不但降低了水稻氮素营养检测的成本,而且具有操作简单、制造成本低、实时性好等优点。

标签:
无损检测
江苏 - 淮安 来源:中冶有色网 2023-03-19
用于金属无损检测的传感装置

本实用新型涉及传感装置技术领域,且公开了用于金属无损检测的传感装置,包括内壳,所述内壳的一端为开口设置,所述内壳内固定连接在控制器,所述控制器位于内壳远离开口端的一侧,所述控制器电性连接有接头,所述内壳内通过安装机构安装有换能器,所述安装机构包括安装板、安装块、反射罩和吸音棉,所述安装板固定连接在内壳内,所述安装块固定连接在安装板远离控制器的一侧,所述反射罩固定连接在安装块上,所述反射罩的另一端固定连接在内壳上,所述反射罩为漏斗型设置,所述吸音棉设置在反射罩和安装板之间。本实用新型可以吸收和反射声波,防止声波造成壳体震动,提高设备稳定性,增加设备使用寿命,提高了检测准确度。

标签:
无损检测
江苏 - 南京 来源:中冶有色网 2023-03-19
涂胶无损检测设备
涂胶无损检测设备 822     
 0

本实用新型公开了一种涂胶无损检测设备,其包括基座、ip板、连接架、滑槽、控制盒、显示屏、滑动滚轮和检测外壳,基座为一体式底座,基座两侧安装有连接架,连接架上开滑槽,滑槽内安装滑动滚轮,滑动滚轮连接在检测外壳顶部,检测外壳底部开有检测通孔,检测内部安装有x射线检测器,x射线检测器与传输模块连接,传输模块安装在控制盒内部,控制盒紧靠驱动器安装。本实用新型通过x射线检测装置调整其X射线设备的技术参数来控制放射量的大小,对粘接好的外壳进行射线检测,可以快速的对样品进行采集和结果显示,提高其检测的工作效率。

标签:
无损检测
江苏 - 苏州 来源:中冶有色网 2023-03-19
用于无缝钢管表面三维无损检测装置

一种用于无缝钢管表面三维无损检测装置,包括操作台、出料箱和扫描安装框,出料箱与操作台顶部一端中部固定连接,操作台顶部远离出料箱一端固定连接有导向板,操作台靠近导向板一端固定连接有存放箱,出料箱内壁顶部固定连接有下料仓,下料仓内壁底部两侧均固定连接有第一导向块,下料仓下方设置有转辊,转辊两端分别与出料箱内壁两侧转动连接,转辊外侧环绕设置有若干分隔板,每个分隔板均与转辊固定连接,有益效果是:本实用新型操作简单,使用方便,可以快速高效的对钢管外表面进行扫描检测,有效的解决了人工检测效率低、容易遗漏的情况,提高了检测效率,增加了生产速度,同时有效的解决了人力资源浪费的情况。

标签:
无损检测
江苏 - 无锡 来源:中冶有色网 2023-03-19
鲜肉新鲜度K值的THz光谱快速无损检测方法

一种鲜肉新鲜度K值的THz光谱快速无损检测方法,包括步骤:一)肉品采集和处理:将鲜肉均匀切割成肉片后冷藏;取样切割时,避开肉的脂肪和结缔组织;二)测定肉品的THz光谱数据:采用THz衰减全反射ATR检测模式快速检测样品;光谱采集时,保持环境的温、湿度稳定;三)采用THz光谱数据与鲜肉K值之间的关系预测模型快速检测鲜肉的新鲜度K值:所述关系模型是主成分回归PCR预测模型、或者是反向传播神经网络回归BPANN预测模型。将步骤二)得到的THz光谱数据代入关系预测模型,则快速计算出未知样本的K值。本发明的样品前处理的方法,只需要切割样本以形成肉片放入仪器中测量,比现有的方法简单且快速了许多。

标签:
无损检测
江苏 - 南京 来源:中冶有色网 2023-03-19
基于微波波段反射特性的复合绝缘子缺陷无损检测系统

本发明涉及一种基于微波波段反射特性的复合绝缘子缺陷无损检测系统,系统包括飞秒激光源、导波装置、交换端口、录波器和数据分析模块;飞秒激光源用于产生检测信号;导波装置用于连接飞秒激光源与交换端口;交换端口包括对微波波段信号具有双向通透性的分波镜面,用于分离入射信号和反射信号,数据分析模块通过对入射信号及反射信号进行时域分析,模拟计算出复合绝缘子在被测点的基本情况,从而进行缺陷判定。本发明采用新的复合绝缘子缺陷检测方式,能有效检测复合绝缘子内部的缺陷。

标签:
无损检测
江苏 - 连云港 来源:中冶有色网 2023-03-19
用于管道外壁的环绕式无损渗透检测装置

本发明提供一种用于管道外壁的环绕式无损渗透检测装置,该检测装置由若干环绕式检测块通过连接件呈螺旋形连接组成;连接件包括刚性夹以及弧度调节件。本发明提供了一种能够用于管道外壁,集渗透液的涂覆、去除显像剂涂覆功能为一体的检测装置,可通过旋转进行推进,使用便捷;设计有创新性的连接件,使得每相邻两个环绕式检测块所形成的的弧度可调节,同时还能紧贴于待检测管道的表面;结构新颖、生产制造便捷、具有良好的市场前景。

标签:
无损检测
江苏 - 南京 来源:中冶有色网 2023-03-19
基于超声波的路面病害无损检测装置

本实用新型涉及建筑工程检测设施技术领域,尤其为基于超声波的路面病害无损检测装置,所述超声波仪的表面固定连接有显示屏,所述超声波仪的表面固定连接有控制面板,所述超声波仪的表面活动连接有活动手柄,所述超声波仪的表面固定连接有天线;所述超声波仪的内部设置有内置计算机,而内置计算机包括实时组合单元与数字处理单元。本实用新型通过某排横波换能器发射信号,其他排的横波换能器从不同的角度独立接收反射信号,直到所有横波换能器都完成发射与接收,通过数字聚焦由点成面,最终形成检测结构的横断面,相较于传统的超声波检测设备,由于配有干点接触的横波换能器,从而达到了不需要使用液体耦合就可以进行检测,有效提高了工作效率。

标签:
无损检测
江苏 - 南京 来源:中冶有色网 2023-03-19
可稳定夹持的高温合金锻件无损检测装置

本实用新型公开了一种可稳定夹持的高温合金锻件无损检测装置,涉及合金锻件领域,包括框架、检测主体、推动机构和固定机构,所述框架顶端安装有卡扣,且卡扣一端安装有检测主体,所述检测主体左右两端安装有照射灯,且照射灯下端安装有底座,所述底座上端安装有螺纹杆,且螺纹杆上端安装有放置台,所述放置台上端安装有软垫,所述放置台一端安装有活动轴,且活动轴一端安装有连接杆,所述连接杆一端安装有遮挡板。本实用新型通过设置的固定机构,固定机构包括支撑杆、转轴和移动板,可以通过安装有的支撑杆对进行检测的合金锻件进行固定,并且根据不同的形状可以使用转动转动移动板进行固定,可以对装置进行稳定的夹持的作用。

标签:
无损检测
江苏 - 泰州 来源:中冶有色网 2023-03-19
无损检测钢筋锈蚀的装置

本实用新型公开了一种无损检测钢筋锈蚀的装置,包括底端开口的筒体,填充于该筒体内的导电砂浆及设于导电砂浆内的若干检测钢筋,所述筒体的内壁涂覆有环氧树脂层,筒体的底端开口处设有防氯离子渗透膜,所述各个检测钢筋的顶端连接有导线,该导线通过设于筒体顶端的开孔穿出。本实用新型的装置无需破损混凝土的保护层就能够快速、高灵敏地测试出被检测钢筋的腐蚀情况,准确地了解钢筋混凝土内部钢筋的锈蚀情况,且能够连续跟踪反馈,具有实时性;同时该装置简单,携带安装便捷,成本低。

标签:
无损检测
江苏 - 南京 来源:中冶有色网 2023-03-19
搭载于无人机的管道无损检测装置

本发明公开了一种搭载于无人机的管道无损检测装置,其特征在于:包括无人机外壳和超声探测器,所述无人机外壳底部开设有超声安装槽,所述超声探测器安装在超声安装槽内,所述无人机外壳两侧固定连接有上支架,所述上支架上设有升降机构,所述上支架的底部设有下支架,所述无人机外壳顶部设有散热板,所述散热板和无人机外壳之间设有第一导热硅胶,所述无人机外壳内腔底部设有冷却罩,所述冷却罩的外壁上设有微型冷凝器,所述冷却罩内设有盘绕在冷却罩内壁的第一冷却管道,本发明的有益效果为:能够将超声探测器搭载于无人机上,增大探测范围,同时散热效果好,且无人机检修方便。

标签:
无损检测
江苏 - 南京 来源:中冶有色网 2023-03-19
基于太赫兹时域光谱技术来无损检测油漆中缺陷的方法

一种基于太赫兹时域光谱技术来无损检测油漆中缺陷的方法,通过太赫兹时域光谱检测装置对待检测油漆涂层进行反射式成像得到检测图像;通过分析各检测区域的反射式太赫兹时域光谱确定缺陷位置;通过层析图像在三维空间中精确地确定缺陷的位置和形状。使用该方法不仅可以确定油漆涂层内部的缺陷形状和位置,还可以对样品后表面的形貌、缺陷大小、位置等信息及样品的内部结构进行表征。针对单个缺陷可以利用单频太赫兹成像观察得到太赫兹范围内的精确成像。

标签:
无损检测
江苏 - 泰州 来源:中冶有色网 2023-03-19
风塔焊缝缺陷的非线性超声波无损检测方法

本发明公开了一种风塔焊缝缺陷的非线性超声波无损检测方法,包括前期准备,具体包括选择检测仪、选择探头、扫描速度的调节以及检测灵敏度的调节,最后进行缺陷大小的测定。本发明具有检测方法简单,可以更好的对缺陷进行定位及定量,在不超标准范围的缺陷可以不作返修,节约成本,同时提高工作效率的优点。

标签:
无损检测
江苏 - 南通 来源:中冶有色网 2023-03-19
基于CCD工业相机的手机国别快速无损检测装置

本实用新型公开了一种基于CCD工业相机的手机国别快速无损检测装置,包括机架,所述机架上装有四台并列分布的CCD工业相机、位于所述CCD工业相机下方的可循环传动的皮带线、以及位于所述CCD工业相机与皮带线之间的同轴光源,所述的四台CCD工业相机均与一相机控制器电连接,所述皮带线由安装在机架上的伺服电机驱动,所述皮带线上布置有可随之移动的、用于放置待检测手机外壳的物料盘,所述伺服电机和相机控制器均与一PLC控制器电连接,该PLC控制器电连接有启动按钮、停止按钮、急停按钮和继续按钮,该PLC控制器还与一上位机电连接。本实用新型可实现手机国别的快速检测,可大大提高手机国别检测的自动化程度和检测效率。

标签:
无损检测
江苏 - 苏州 来源:中冶有色网 2023-03-19
气泡混合轻质土路堤无损检测方法

本发明涉及一种气泡混合轻质土路堤无损检测方法,为路堤检测领域。包括以下几个步骤:(1)检测点布置;(2)超声波信号采集;(3)现场数据修正;(4)声参量反分析;(5)路堤质量判定。本发明为气泡混合轻质土路堤质量检测提供了一种简单实用的方法,对其他种类路堤工程的质量检测同样有很强的借鉴作用。

标签:
无损检测
江苏 - 南京 来源:中冶有色网 2023-03-19
上一页 77 78 79 80 81 ... 95 下一页
共95页    到第

中冶有色为您提供最新的江苏有色金属无损检测技术理论与应用信息,涵盖发明专利、权利要求、说明书、技术领域、背景技术、实用新型内容及具体实施方式等有色技术内容。打造最具专业性的有色金属技术理论与应用平台!

全国热门有色金属设备推荐
展开更多 +
全国热门有色金属技术推荐
展开更多 +

 

江西省隆恩特环保设备有限公司
宣传

报名参会
更多+

报告下载

有色专家
更多+

武汉科技大学
校学术委员会主任 / 教授
广西大学
处长/教授
江西理工大学
副校长/教授
矿冶科技集团
副所长/研究员
江西理工大学
副处长/教授
赤泥综合利用研究报告2025
推广

热门技术
更多+

推荐企业
更多+

福建省金龙稀土股份有限公司
宣传

发布

在线客服

公众号

电话

顶部
咨询电话:
010-88793500-807