青岛垚鑫智能科技有限公司
宣传

位置:中冶有色 >

有色技术频道 >

> 化学分析技术

分类:
全部
矿山技术
冶金技术
材料制备及加工技术
环境保护技术
分析检测技术
 
全部
物理检测技术
化学分析技术
力学检测技术
无损检测技术
失效分析技术
环境检测技术
地区:
全部
北京
天津
上海
重庆
河北
山西
辽宁
吉林
黑龙江
江苏
浙江
安徽
福建
江西
山东
河南
湖北
湖南
广东
海南
四川
贵州
云南
陕西
甘肃
青海
内蒙
广西
西藏
宁夏
新疆
其他
其他
展开
 
全部
南京
无锡
徐州
常州
苏州
南通
连云港
淮安
盐城
扬州
镇江
泰州
宿迁

江苏无锡有色金属化学分析技术理论与应用

免费发布技术信息>>
具有选择性探测Cu(Ⅱ)的发光晶体材料的制备方法及其发光晶体材料

本发明公开了一种具有选择性探测Cu(Ⅱ)的发光晶体材料的制备方法及其发光晶体材料,包括,第一步制备:将4‑氨基‑3,5‑二(2‑吡啶基)‑1,2,4‑三氮唑(2‑bpt)和硝酸镉加入到反应溶液中搅拌制得稳定悬浮液;第二步制备:再加入均苯四甲酸搅拌制得稳定悬浮液;第三步制备:第二步制备后,经加热反应,得到所述发光晶体材料。本发明合成路线简单、工艺条件温和、容易控制;合成的原料易得;晶体材料体积大且质量好;材料的选择性探测Cu(Ⅱ)性能好,材料检测特异性高;材料的化学、光学稳定性好,本发明材料同时具有良好的水稳定性。本发明材料检测灵敏度高。

标签:
化学分析
江苏 - 无锡 来源:中冶有色网 2023-03-19
胶束电动毛细管电泳法测定吡咯并喹啉醌二甲酯含量的方法

胶束电动毛细管电泳法测定吡咯并喹啉醌二甲酯含量的方法,属于色谱分析技术领域。许多神经系统退行性疾病都与D-丝氨酸(D-Serine)代谢有关。通过分析吡咯并喹啉醌二甲酯(PQQZ)与D-Serine的化学反应分析PQQZ是否同样对氨基酸具有调节作用,了解PQQZ是否对神经元具有保护作用,为药物设计提供实验依据。本发明首次采用胶束电动毛细管电泳(MECC),以表面活性剂十二烷基硫酸钠(SDS)加入到缓冲液体系形成胶束,并加入有机改性试剂,使PQQZ与其他较难分离的电中性杂质达到高效快速的分离,分析了吡咯并喹啉醌二甲酯的纯度。胶束电动毛细管电泳法(MECC)与其他方法相比质量检测限极低,样品用量仅仅为nL级,试剂消耗也很少。

标签:
化学分析
江苏 - 无锡 来源:中冶有色网 2023-03-19
测定I型胶原C末端肽含量的试剂盒及其测试方法

本发明公开了一种采用磁微粒化学发光法测定人血清中I型胶原C末端肽(CTX)含量的试剂盒。试剂盒包括校准品、质控品、抗试剂、磁微粒试剂、发光底物;其中抗试剂异硫氰酸荧光素标记的I型胶原C末端肽包被抗体和碱性磷酸酶标记的I型胶原C末端肽标记抗体;磁微粒试剂为磁微粒与羊抗FITC连接物。本发明将化学发光技术与免疫磁微粒相结合,提供了一种接近均相的反应体系,并且采用了一步法反应模式,使得检测灵敏度、精密性大大提高、检测范围扩大,反应时间大大缩短,从开始加样到检测结果,时间少于35min,明显快于同类试剂盒;并且可以在全自动化学发光仪上同时测定多个样本,实现I型胶原C末端肽的高通量快速化测定,准确度高,特异性强,精确度和检测效率有了较大的提高。

标签:
化学分析
江苏 - 无锡 来源:中冶有色网 2023-03-19
测定糖类抗原50含量的试剂盒及其测试方法

本发明公开了一种采用磁微粒化学发光法测定人血清中糖类抗原50(CA50)含量的试剂盒。试剂盒包括校准品、质控品、抗试剂、磁微粒试剂、发光底物;其中抗试剂异硫氰酸荧光素标记的糖类抗原50包被抗体和碱性磷酸酶标记的糖类抗原50标记抗体;磁微粒试剂为磁微粒与羊抗FITC连接物。本发明将化学发光技术与免疫磁微粒相结合,提供了一种接近均相的反应体系,并且采用了一步法反应模式,使得检测灵敏度、精密性大大提高、检测范围扩大,反应时间大大缩短,从开始加样到检测结果,时间少于40min,明显快于同类试剂盒;并且可以在全自动化学发光仪上同时测定多个样本,实现糖类抗原50的高通量快速化测定,准确度高,特异性强,精确度和检测效率有了较大的提高。

标签:
化学分析
江苏 - 无锡 来源:中冶有色网 2023-03-19
利用UPLC快速测定豆制品中6种大豆异黄酮的方法

本发明公开了一种利用UPLC快速测定豆制品中6种大豆异黄酮的方法,属于分析化学技术领域。测试豆制品种类包括豆浆、豆腐、素鸡、豆干、百叶、腐竹等,测定大豆苷,大豆苷元,黄豆黄苷,黄豆黄素,染料木苷,染料木素6种大豆异黄酮。首先用甲醇溶液对豆制品中的大豆异黄酮进行提取,收集上清液后,残渣再用甲醇重复提取2次,合并上清液,进行UPLC检测。本发明采用UPLC达到对豆制品中主要的6种大豆异黄酮的组成和含量的快速测定,本方法样品前处理简单,分析速度快,重复性、准确性高,为豆制品质量评价与控制提供高效准确的分析方法手段。

标签:
化学分析
江苏 - 无锡 来源:中冶有色网 2023-03-19
测定全段甲状旁腺激素含量的试剂盒及其测试方法

本发明公开了一种采用磁微粒化学发光法测定人血清中全段甲状旁腺激素抗体(iPTH)含量的试剂盒。试剂盒包括校准品、质控品、抗试剂、磁微粒试剂、发光底物;其中抗试剂为异硫氰酸荧光素标记的全段甲状旁腺激素包被抗体和碱性磷酸酶标记的全段甲状旁腺激素标记抗体;磁微粒试剂为磁微粒与羊抗FITC连接物。本发明将化学发光技术与免疫磁微粒相结合,提供了一种接近均相的反应体系,并且采用了一步法反应模式,使得检测灵敏度、精密性大大提高、检测范围扩大,反应时间大大缩短,从开始加样到检测结果,时间少于25min,明显快于同类试剂盒;并且可以在全自动化学发光仪上同时测定多个样本,实现全段甲状旁腺激素抗体的高通量快速化测定,准确度高,特异性强,精确度和检测效率有了较大的提高。

标签:
化学分析
江苏 - 无锡 来源:中冶有色网 2023-03-19
测定骨钙素含量的试剂盒及其测试方法

本发明公开了一种采用磁微粒化学发光法测定人血清中骨钙素(BGP)含量的试剂盒。试剂盒包括校准品、质控品、抗试剂、磁微粒试剂、发光底物;其中抗试剂异硫氰酸荧光素标记的骨钙素包被抗体和碱性磷酸酶标记的骨钙素标记抗体;磁微粒试剂为磁微粒与羊抗FITC连接物。本发明将化学发光技术与免疫磁微粒相结合,提供了一种接近均相的反应体系,并且采用了一步法反应模式,使得检测灵敏度、精密性大大提高、检测范围扩大,反应时间大大缩短,从开始加样到检测结果,时间少于35min,明显快于同类试剂盒;并且可以在全自动化学发光仪上同时测定多个样本,实现骨钙素的高通量快速化测定,准确度高,特异性强,精确度和检测效率有了较大的提高。

标签:
化学分析
江苏 - 无锡 来源:中冶有色网 2023-03-19
测定甲状腺球蛋白抗体含量的试剂盒及其测试方法

本发明公开了一种采用磁微粒化学发光法测定人血清中甲状腺球蛋白抗体(TGAb)含量的试剂盒。试剂盒包括校准品、质控品、抗试剂、磁微粒试剂、发光底物;其中抗试剂异硫氰酸荧光素标记的甲状腺球蛋白包被抗原和碱性磷酸酶标记的甲状腺球蛋白标记抗原;磁微粒试剂为磁微粒与羊抗FITC连接物。本发明将化学发光技术与免疫磁微粒相结合,提供了一种接近均相的反应体系,并且采用了一步法反应模式,使得检测灵敏度、精密性大大提高、检测范围扩大,反应时间大大缩短,从开始加样到检测结果,时间少于35min,明显快于同类试剂盒;并且可以在全自动化学发光仪上同时测定多个样本,实现甲状腺球蛋白抗体的高通量快速化测定,准确度高,特异性强,精确度和检测效率有了较大的提高。

标签:
化学分析
江苏 - 无锡 来源:中冶有色网 2023-03-19
测定甲状腺球蛋白含量的试剂盒及其测试方法

本发明公开了一种采用磁微粒化学发光法测定人血清中甲状腺球蛋白(Tg)含量的试剂盒。试剂盒包括校准品、质控品、抗试剂、磁微粒试剂、发光底物;其中抗试剂异硫氰酸荧光素标记的甲状腺球蛋白包被抗体和碱性磷酸酶标记的甲状腺球蛋白标记抗体;磁微粒试剂为磁微粒与羊抗FITC连接物。本发明将化学发光技术与免疫磁微粒相结合,提供了一种接近均相的反应体系,并且采用了一步法反应模式,使得检测灵敏度、精密性大大提高、检测范围扩大,反应时间大大缩短,从开始加样到检测结果,时间少于35min,明显快于同类试剂盒;并且可以在全自动化学发光仪上同时测定多个样本,实现甲状腺球蛋白的高通量快速化测定,准确度高,特异性强,精确度和检测效率有了较大的提高。

标签:
化学分析
江苏 - 无锡 来源:中冶有色网 2023-03-19
测定柿蒂中多成分的UPLC-Q-TOF-MS方法

本发明公开了一种测定柿蒂中多成分的UPLC‑Q‑TOF‑MS方法,步骤为(1)取柿蒂配方颗粒研细,精密称定,与溶剂混合,称定重量;(2)将上述得到的柿蒂超声破碎,放冷,再称定重量,用上述溶剂补足减失的重量;(3)将超声过的柿蒂溶液摇匀,离心,滤过,取续滤液,得到待测样品;(4)用超高效液相色谱分离上述待测样品,用质谱检测,得成分物质峰;(5)定性分析。本发明首次采用UPLC‑QTOF‑MS技术对柿蒂配方颗粒中多种化学成分进行检测并定性,所述方法具有高效、快速、准确的特点;通过该方法共鉴定出柿蒂的24种化学成分,为进一步研究柿蒂配方颗粒药效物质基础及全面质量控制提供了依据。

标签:
化学分析
江苏 - 无锡 来源:中冶有色网 2023-03-19
ICP-AES快速测定含铬高铝质耐火材料中主量元素三氧化二铝、二氧化硅和三氧化二铬含量的方法

本发明涉及一种ICP‑AES快速测定含铬高铝质耐火材料中主量元素三氧化二铝、二氧化硅和三氧化二铬含量的方法,采用氢氧化钠溶液+盐酸+硝酸作为消解体系经微波消解处理后,将消解液稀释,用电感耦合等离子体发射光谱仪(ICP‑AES)测定出含铬高铝质耐火材料中主量元素三氧化二铝、二氧化硅和三氧化二铬的含量。该方法对试样处理快速,溶解效率高,采用仪器检测高含量(可达95%)主量元素,完全替代传统化学分析法,出具的结果稳定可靠;检测成本较低;所用试剂安全环保,合理利用仪器分析取代人工操作,提高了工作效率,具有很高的推广应用价值。

标签:
化学分析
江苏 - 无锡 来源:中冶有色网 2023-03-19
基于适配体和链置换扩增反应对金黄色葡萄球菌的测定方法

一种基于适配体和链置换扩增反应对金黄色葡萄球菌的测定方法,属于分析化学及食品安全和发酵分析技术领域。本发明首先构建靶标识别体系,通过金黄色葡萄球菌与适配体之间的高度亲和力,可从双链中竞争释放cDNA;然后以cDNA为模板,在溶液中加入触发引物序列,扩增出大量具有特定序列的单链DNA;加入特定发夹结构后,单链DNA与发夹结构在溶液中自组装形成特定的六边形结构;最后加入荧光染料,染料与DNA双链特异性结合,释放荧光信号。利用荧光信号与金黄色葡萄球菌数量的线性关系来计算出样品中的金黄色葡萄球菌含量。本发明通过荧光共振能量转移原理,将荧光信号与金黄色葡萄球菌数量关联,实现了对牛奶等食物样品中金黄色葡萄球菌含量的直接测定。所建立的检测方法具有检测周期短,灵敏度高,成本低,特异性强等特点。

标签:
化学分析
江苏 - 无锡 来源:中冶有色网 2023-03-19
批量化对酒类样品中氨基甲酸乙酯快速测定的方法

一种批量化对酒类样品中氨基甲酸乙酯快速测定的方法,属于分析化学和食品安全检测技术领域。本发明首先利用EC专用固相柱对酒类样品进行前处理萃取出其中的EC;然后在萃取所得溶液体系中加EC降解酶;最后往检测体系中加入底物丙酮酸钠和NADH并用缓冲液调节pH,利用AlaDH修饰的丝网印刷电极进行电化学检测,利用电流‑时间法测定NADH消耗造成的电流响应值下降与EC浓度的线性关系来测算出EC含量。本发明构建了一个基于酶修饰丝网印刷电极的EC传感器,通过与EC萃取专用固相柱的联用,有效排除了酒类基质中主要干扰物尿素的影响,实现了对黄酒等酒类样品中EC含量的直接测定。该方法比之目前EC测定的主流方法GC‑MS,不需要大型仪器设备,且能实现快速、高灵敏、低成本地批量化测定。

标签:
化学分析
江苏 - 无锡 来源:中冶有色网 2023-03-19
荧光滴定法测定镍钙合金中钙含量的方法

本发明涉及一种荧光滴定法测定镍钙合金中钙含量的方法,属于化学分析技术领域。其经过原料称取和溶解、过滤、试剂调节和滴定测得镍钙合金中钙含量。本发明用于荧光滴定法测定镍钙合金中钙含量的方法,采用上述技术方案,本发明可以定量检测镍钙合金试样中金属钙含量范围在4~15%。本发明将盛有试液的烧杯装入下黑桶内,为整个试液制造了一个完整的黑色包裹背景,使得整个试液的绿色荧光颜色清晰且上下一致;两黑桶可上下移动,方便试验人员放入或取出不同体积的烧杯;在所用到的黑桶侧面留有尺寸相同且重合的观察窗,方便试验人员观察。在荧光滴定时,溶液中少量的铁离子可通过形成沉淀或加掩蔽剂掩蔽而分离。荧光滴定法大大缩短了分析周期,简化了分析步骤,同时提供了检测方法的精密度和准确度。

标签:
化学分析
江苏 - 无锡 来源:中冶有色网 2023-03-19
有机溶剂中微量溶解氧的测定方法

一种有机溶剂中微量溶解氧的测定方法,属于分析化学领域的传感器技术领域。本发明由聚乙烯醇与八乙基铂卟啉溶液配制的混合液涂膜与玻璃载玻片上,干燥,制得氧敏感膜。有机溶剂中微量溶解氧的检测装置由氮饱和试样,氧饱和试样,蠕动泵,比色皿,荧光光度仪,记录仪组成。两个带盖杯中分别为氮气饱和和氧气饱和的待测试样,通过调节两个蠕动泵的流速来调节氮饱和与氧饱和试样的含量,待测试样通过三通阀混合形成不同溶解氧浓度的试液,最终进入含氧敏感膜的比色皿,通过荧光光度仪检测535nm激发波长下测定荧光强度,绘制Stern-Volmer曲线,测量有机溶剂中溶解氧的含量。

标签:
化学分析
江苏 - 无锡 来源:中冶有色网 2023-03-19
高锰合金钢中多元素含量的同步测定方法

本发明涉及一种高锰合金钢中多元素含量的同步测定方法,采用微波消解自动前处理高锰合金钢,用干扰系数法在计算方法中编入IEC数据模型,自动消除共存元素间光谱干扰,用ICP‑AES方法同时检测出高锰合金钢中多元素。本发明在完成消解体系的建立和干扰系数IEC数学模型编入方法后,可直接进行高锰合金钢中多元素的检测,可为科研和企业生产,提供高效准确的数据,同时也是质量控制的重要保证。另外,在消解过程中只用HCl、H2O2和HNO3,避免使用高氯酸、氢氟酸等危险化学品,将污染降到最低,更加清洁环保。本申请在试样分析时检测周期有显著提高,整个试验过程科学、环保、高效,是一种可操作性极高的高锰合金钢多元素含量的检测方法。

标签:
化学分析
江苏 - 无锡 来源:中冶有色网 2023-03-19
测定白酒中硫化物的方法

一种测定白酒中硫化物的方法,属于白酒风味分析技术领域,本发明用顶空固相微萃取与气相色谱—脉冲式火焰光度检测器联用技术对白酒中的硫化物进行定性定量分析。本发明建立的方法能够快速检测并准确定量白酒中的硫化物,定量限可低至0.01μg/L,线性相关性系数R2均大于0.98,相对标准偏差小于20%,在酒中的回收率为80%-100%。顶空固相微萃取技术无需有机溶剂,在常温范围内就能完成,避免某些化学性质活泼的硫化物分解,能有效地富集白酒中的硫化物;脉冲式火焰光度检测器专一检测硫化物,排除了其它物质的干扰,大大提高了结果的准确性。本发明为进一步研究硫化物的形成机理提供了基础,对提高白酒品质有着重要意义。

标签:
化学分析
江苏 - 无锡 来源:中冶有色网 2023-03-19
快速检验金属离子的荧光试纸条的制备方法

本发明公开了一种快速检验金属离子的荧光试纸条的制备方法,本发明涉及纳米材料科学及分析化学领域。该检验方法简单方便,成本低,检验快速。可以用于含重金属离子水样的检验。

标签:
化学分析
江苏 - 无锡 来源:中冶有色网 2023-03-19
测定鳞状上皮细胞癌抗原含量的试剂盒及其测试方法

本发明公开了一种采用磁微粒化学发光法测定人血清中鳞状上皮细胞癌抗原(SCC)含量的试剂盒。试剂盒包括校准品、质控品、抗试剂、磁微粒试剂、发光底物;抗试剂为异硫氰酸荧光素标记的鳞状上皮细胞癌抗原包被抗体和碱性磷酸酶标记的鳞状上皮细胞癌抗原标记抗体;磁微粒试剂为磁微粒与羊抗FITC连接物。本发明以磁微粒子作为免疫反应的固相,利用化学发光酶联免疫分析方法与化学发光类测定仪器配合,用于测定人体血清中的SCC含量,并且可以在全自动化学发光仪上同时测定多个样本,实现SCC的高通量快速化测定,准确度高,特异性强,精确度和检测效率有了较大的提高。 1

标签:
化学分析
江苏 - 无锡 来源:中冶有色网 2023-03-19
荧光增白剂紫外快检盒及装置

本实用新型公开了荧光增白剂紫外快检盒及装置,属于化学分析装置技术领域。本实用新型的荧光增白剂紫外检测装置包括壳体、紫外灯和充电电池;所述紫外灯设置在近壳体顶部,所述充电电池设置在壳体内部;壳体顶部设置观测窗口,壳体底部横向设置抽屉状样品支架。本实用新型具有体积小,重量轻,操作简单的特点;可实现便携式检测操作,不受有线电源限制,并可配合具有拍照功能的设备,实现对样品的定性或定量检测。

标签:
化学分析
江苏 - 无锡 来源:中冶有色网 2023-03-19
石墨烯改性水性环氧重防腐涂料及其检测方法

本发明公开了一种石墨烯改性水性环氧重防腐涂料,由A组分和B组分按4 : 1的重量配比混合制成,其中,A组分包括:双酚A水性环氧乳液40~50、石墨烯0.5~2、水性磷酸锌4~8、水性磷钼酸锌4~8、氧化铁红10~15、气相二氧化硅1~2、纳米氧化锌1~2、云母氧化铁红5~10、有机缓蚀剂1~2、179防闪锈剂1~2、190分散剂0.3‑0.6、1008润湿剂0.3~0.5、BYK‑011消泡剂0.5~1.5、7580抑泡剂0.3~0.5、BYK420抗流挂助剂0.3~1.5、AMP‑95 pH调节剂0.3~0.5、去离子水若干,B组分为:多元胺加成物水性环氧固化剂。本发明涂料具有优良的物理性能和优异的耐化学品性,特别是耐盐雾性,漆膜坚韧耐磨,附着力强,施工适应性强, 具有很好的环保性。

标签:
化学分析
江苏 - 无锡 来源:中冶有色网 2023-03-19
SMS线视检测系统冷却装置

本实用新型公开了一种SMS线视检测系统冷却装置,包括传送平台、冷却装置和吹扫装置,所述的吹扫装置设置于传送平台的上部,所述的冷却装置设置于传送平台的下部,所述的传送平台包括平台机架和橡胶辊筒,橡胶辊筒设置于平台机架的上部;冷却装置包括冷气室、冷气管道和冷气板,冷气室设置于传送平台的下部,冷气板设置于橡胶辊筒的下部,冷气管道设置于冷气室的侧壁上;本实用新型能够把出烘箱后未完全烘干的布料进行冷却处理,同时本实用新型还设有吹扫装置能够对化学药剂残留,进行吹扫和收集,使布料风化的同时,降低对橡胶辊筒有一定的腐蚀性,大大提高了生产效率。

标签:
化学分析
江苏 - 无锡 来源:中冶有色网 2023-03-19
脱硫脱硝除尘一体机烟气排放检测提取装置

本发明涉及烟气排放技术领域,且公开了一种脱硫脱硝除尘一体机烟气排放检测提取装置,包括底板,所述底板的上表面固定连接有收集箱,收集箱内固定连接有过滤板,所述收集箱的一侧内壁活动连接有转轴,转轴的一端固定连接有蜗杆,蜗杆的一端穿过过滤板固定连接有叶轮,所述转轴的圆周外壁固定连接有多个搅拌架,所述收集箱的顶部内壁活动连接有转杆,转杆的圆周外壁固定连接有蜗轮,且蜗轮与蜗杆相啮合。本发明不仅能够使烟气和催化剂进行搅拌混合,提高了催化剂与烟气的化学反应的效果,而且能够使催化剂与烟气充分混合,提高了催化剂的使用效果,还能够提高装置对烟气的过滤效果,而且还能够提高装置的便捷性和装置的使用效果。

标签:
化学分析
江苏 - 无锡 来源:中冶有色网 2023-03-19
检测癌细胞侵犯神经的免疫组化双标试剂盒

本发明涉及一种检测癌细胞侵犯神经的免疫组化双标试剂盒,所述试剂盒包括混合性一抗,还包括一种酶标二抗。本发明的免疫组织化学双标试剂盒,可一次性标记、显示癌细胞和神经纤维,对癌细胞神经侵犯的识别高效而准确。

标签:
化学分析
江苏 - 无锡 来源:中冶有色网 2023-03-19
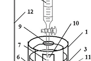
用于金相检测的金属腐蚀装置

本实用新型涉及用于金相检测的金属腐蚀装置,包括耐腐蚀容器;标签设置在耐腐蚀容器上;底座;用于放置耐腐蚀容器且不少于两个并安装在底座上的固定环;旋转装置安装在底座上,固定环绕旋转装置环形设置;升降装置安装在旋转装置上;装样笼与升降装置连接,升降装置用于将装有样品的装样笼送入或取出耐腐蚀容器,旋转装置用于移动装样笼。该装置结构简单、使用方便,通过多个玻璃杯放置不同腐蚀酸液,并且通过标签标示,可以防止实验人员误操作,也减少了在无法判断酸液种类的情况下间接导致的酸液浪费,同时通过悬臂和滑轮组来达到移动样品进入玻璃杯进行常规腐蚀或者电化学腐蚀,让实验人员最大程度远离试验台,防止潜在风险。

标签:
化学分析
江苏 - 无锡 来源:中冶有色网 2023-03-19
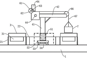
有机溶液电解萃取和检测钢中非金属夹杂物的装置

本实用新型涉及一种有机溶液电解萃取和检测钢中非金属夹杂物的装置,属于金属电化学技术领域。所述装置包括电解萃取钢试样中夹杂物装置和电解液过滤装置二部分,所述电解萃取钢试样中夹杂物装置,包括电解槽(1)和盐槽(7),盐槽(7)与电解槽(1)之间架设盐桥(4),并在盐槽(7)内插入甘汞电极(5),钢试样置于电解槽(1)内,铂丝(3)置于电解槽(1)内,电解槽(1)内通入惰性气体氩气;所述电解液过滤装置,包括装有滤纸(1)的漏斗(2),漏斗(2)置于一容器(4)内,在紧贴着漏斗(2)的下液口,放有加载聚四氟乙烯膜(3)的真空抽滤装置(5),聚四氟乙烯膜(3)孔径0.45μm。本实用新型方法能将夹杂物从钢中完整无损地提取出来,并直接观察其三维形貌。

标签:
化学分析
江苏 - 无锡 来源:中冶有色网 2023-03-19
用于检测酸性介质输送管泄漏的自感知光缆

本实用新型涉及一种用于检测酸性介质输送管泄漏的自感知光缆,由外向内依次为外护套(1)、芳纶纱(2)、松套管(3)、阻水纱(4)和纤芯(5);所述外护套(1)的横截面为多角形;纤芯(5)采用62.5/125或50/125的多模光纤,布设1~2根。芳纶纱(2)采用2~4根,均匀地包覆在松套管(3)外层,所述松套管(3)的直径为1.8~2mm,所述阻水纱(4)均匀地缠绕在纤芯外层,纤芯(5)采用62.5/125或50/125的多模光纤,布设1~2根。外护套为多角型,有益于增加光缆和泄漏的酸性介质的接触面积,促进化学反应、提高升温速率。

标签:
化学分析
江苏 - 无锡 来源:中冶有色网 2023-03-19
热休克凋亡脑胶质瘤细胞的制备与检测方法

本发明提出一种热休克凋亡脑胶质瘤细胞的制备与检测方法,其应用于热休克凋亡脑胶质瘤负载树突状细胞肿瘤疫苗的制备工艺,所述制备工艺采用先将肿瘤细胞处于热休克状态,诱导细胞高表达热休克蛋白(HSP),再用化学药物诱导细胞凋亡进而制备成富含热休克蛋白的凋亡细胞抗原,制备好的抗原与未成熟的DC细胞混合培养获得成熟的DC疫苗。本发明采用热休克法负载制备得到的DC疫苗成熟度高,可用于诱导免疫应答。

标签:
化学分析
江苏 - 无锡 来源:中冶有色网 2023-03-19
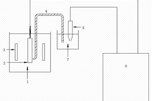
生物转化反应中γ-氨基丁酸生成量的检测装置

一种生物转化反应中γ-氨基丁酸(GABA)生成量的检测装置,属于化学仪器技术领域。本装置主体包括:1)pH感应仪;2)数字转化仪;3)滴液瓶;4)控制仪和5)反应器。其数字转化仪可记录添加酸的体积,控制仪可以设定反应pH值、添加酸的浓度两个参数,由加酸体积经过程序计算可得GABA生成量,并直接显示在控制仪上。谷氨酸脱羧酶催化反应中不可逆消耗质子,本装置正是利用了消耗质子数和γ-氨基丁酸的比例关系。它解决了目前在生物转化过程中测定γ-氨基丁酸费时长,成本高,操作繁琐的缺陷。本装置测定生物转化过程中γ-氨基丁酸无需对样品进行处理,操作简单易行,耗时短,成本低。

标签:
化学分析
江苏 - 无锡 来源:中冶有色网 2023-03-19
自感知光缆及其用于检测酸性介质输送管泄漏的应用

本发明涉及一种自感知光缆,由外向内依次为外护套(1)、芳纶纱(2)、松套管(3)、阻水纱(4)和纤芯(5);所述外护套(1)的横截面为多角形;纤芯(5)采用62.5/125或50/125的多模光纤,布设1~2根。外护套的制备原料包括尼龙、氢氧化镁、氢氧化铝和色母粒。外护套采用可与强酸性介质反应的材质,能够在短时间内与一定浓度的酸溶液迅速反应放热,使光缆温度上升,并维持一段时间,在低浓度的酸溶液中不发生反应,保持耐弱酸和阻燃性能,从而采用分布式光纤测温设备DTS可以根据温升变化,精确检测出管道中酸溶液的泄露,避免弱酸性雨水等干扰产生的误报。外护套为多角型,有益于增加光缆和泄漏的酸性介质的接触面积,促进化学反应、提高升温速率。

标签:
化学分析
江苏 - 无锡 来源:中冶有色网 2023-03-19
上一页 18 19 20 21 22 ... 39 下一页
共39页    到第

中冶有色为您提供最新的江苏无锡有色金属化学分析技术理论与应用信息,涵盖发明专利、权利要求、说明书、技术领域、背景技术、实用新型内容及具体实施方式等有色技术内容。打造最具专业性的有色金属技术理论与应用平台!

全国热门有色金属设备推荐
展开更多 +
全国热门有色金属技术推荐
展开更多 +

 

江西省隆恩特环保设备有限公司
宣传

报名参会
更多+

报告下载

有色专家
更多+

矿冶科技集团有限公司
党委书记 / 董事长
中国矿业大学
副院长/教授
国家钨与稀土产品质量检验检测中心
主任
北京工业大学、中国工程院
中国工程院 院士
长沙有色冶金设计研究院有限公司
正高级工程师/中国铝业首席工程师/全国有色金属行业设计大师/国家注册采矿工程师
赤泥综合利用研究报告2025
推广

热门技术
更多+

推荐企业
更多+

福建省金龙稀土股份有限公司
宣传

发布

在线客服

公众号

电话

顶部
咨询电话:
010-88793500-807