青岛垚鑫智能科技有限公司
宣传

位置:中冶有色 >

有色技术频道 >

> 化学分析技术

分类:
全部
矿山技术
冶金技术
材料制备及加工技术
环境保护技术
分析检测技术
 
全部
物理检测技术
化学分析技术
力学检测技术
无损检测技术
失效分析技术
环境检测技术
地区:
全部
北京
天津
上海
重庆
河北
山西
辽宁
吉林
黑龙江
江苏
浙江
安徽
福建
江西
山东
河南
湖北
湖南
广东
海南
四川
贵州
云南
陕西
甘肃
青海
内蒙
广西
西藏
宁夏
新疆
其他
其他
展开
 
全部

有色金属化学分析技术理论与应用

免费发布技术信息>>
利用岩石物理学和地震反演测绘储层的化学地层学特征

一种确定新井的位置的方法,该方法包括:将来自井钻屑和井岩心的数据化学地层学分析(44)与储层(R)中的井位置(22、24、26)处的高分辨率弹性电缆数据(42)相关联;在岩石物理学分析(45)期间进行叠前和/或叠后反演,从而确定合适的地震属性以用于测绘所需的化学地层学性质;由井数据得到多属性模板(T),以根据储层的化学地层学性质来表征储层;反演一组地震数据(54)以测绘储层在三维中的化学地层学特征(56);以及基于化学地层学特征图来确定新井的位置,并钻井。

标签:
化学分析
其他 - 其他 来源:中冶有色网 2023-03-19
改进的多功能临床化学检验用实验台桌

本发明公开了一种改进的多功能临床化学检验用实验台桌,具体涉及医学检验技术领域,包括桌体以及固定设在桌体顶端的台面,所述桌体内部一侧开设有桌腔,所述桌腔内部设有前后分布的两个水池,所述水池顶端开口延伸至台面顶端,所述桌腔内部设有前后分布的废液箱和储水箱,所述储水箱内部设有净化机构,所述桌体底端外侧设有清理机构,所述台面顶端设有放置机构,且放置机构设在水池一侧。本发明通过放置机构固定试剂瓶,提高试剂瓶的放置稳定性,通过利用试剂瓶清洗后沥出的水以及收集处理的废水辅助清理机构对桌体下方的地面清扫,操作简单便捷,同时实现对水资源再利用,节约水资源。

标签:
化学分析
海南 - 海口 来源:中冶有色网 2023-03-19
化学事故侦检机器人
化学事故侦检机器人 882     
 0

本发明公开了一种化学事故侦检机器人,包括底座,所述底座的顶部固定有支撑板,所述支撑板顶部固定有旋转基座,所述旋转基座的外侧设有若干个均匀分布的定位天线,所述旋转基座的顶部设有固定在放置板顶部的气体收集箱,所述气体收集箱内设有气味传感器,气体收集箱的两侧设有与气味传感器连接的引气管,所述引气管连接有设在气体收集箱内的气泵;所述放置板的底部中央固定设有支撑转柱,所述支撑转柱转动安装在旋转基座的顶部,所述支撑转柱上固定设有从动齿轮,旋转基座上设有驱动从动齿轮的主动齿轮;所述旋转基座的一侧开设有收纳槽并放置有侦检控制器,所述底座的底部设有万向轮,所述底座内设有行走驱动。

标签:
化学分析
安徽 - 滁州 来源:中冶有色网 2023-03-19
用光谱技术测定污水化学需氧量的方法和系统

本发明公开了一种用光谱技术测定污水化学需氧量的方法和系统。光谱仪一端与外接电源相连,另一端将光谱仪EPP并口通过数据线与计算机USB接口相连;卤素灯通过自带电源线与外接电源连接;进样池放于光谱仪和卤素灯之间,进样池与卤素灯角度范围为15~45度。将采集到的水样光谱数据传输到计算机。用光谱专用分析软件ASD ViewSpec Pro V2.14和Unscramble V9.2对采集的数据进行处理分析后反馈信息接收平台,显示实时监测的COD值。整个过程在计算机的控制下,实现数据的采集、存储、显示和处理功能。本发明主要用于快速、准确地实现污水中化学需氧量的实时监测,为解决日趋严重的水污染问题提供技术支持。

标签:
化学分析
浙江 - 杭州 来源:中冶有色网 2023-03-19
化学键特征声子丰度-刚度-序度-寿命受激转换的定量测定方法

本发明公开了一种化学键特征声子丰度‑刚度‑序度‑寿命受激转换的定量测定方法,该方法结合稳态差分声子谱和时间分辨泵浦超快光谱对样品进行分析。对稳态差分声子谱积分可以得到化学键特征声子丰度的变化、刚度即特征频率的变化,以及结构序度变化的定量信息;通过时间分辨泵浦超快光谱分析获得特征声子丰度或强度的衰变寿命。本发明采用两种实验技术结合直接测量化学键特征声子的受激转换及性能的相互依赖关系,此方法可以广泛用于定量研究固态、液态以及它们在浓度场、尺度场等外场作用下物质的宏观特性和微观起因。

标签:
化学分析
重庆 - 重庆 来源:中冶有色网 2023-03-19
化学镀浴中还原剂浓度的测量

本发明揭示通过由还原剂对第二金属电沉积速率的影响测定用于电镀第一金属的化学镀浴中还原剂的浓度。对于化学镀钴和镍镀浴,把化学镀浴的样品加入到酸性铜电镀溶液中,并由循环伏安剥离(CVS)分析法测量铜的电沉积速率。对于采用次磷酸盐和二甲基胺硼烷的镀浴中的这两种还原剂的单独分析是通过酸性溶液中二甲基胺硼烷的选择性分解而获得的。

标签:
化学分析
其他 - 其他 来源:中冶有色网 2023-03-19
清金益气颗粒中化学成分含量的测定方法

本申请涉及药物分析技术领域,提供了一种清金益气颗粒中化学成分含量的测定方法,其采用超高效液相色谱‑质谱联用,测定清金益气颗粒中奎宁酸、L‑苹果酸、没食子酸、哈巴苷、原儿茶酸、新绿原酸、苍术苷A、儿茶素、绿原酸、对羟基苯甲醛、隐绿原酸、马鞭草苷、香兰素、芍药苷、对香豆酸、阿魏酸、牡荆素、芥子酸、甘草苷等50种化学成分的含量。采用本申请的方法,通过合理选择色谱条件和质谱条件,能够同时测定清金益气颗粒中50种化学成分的含量,且所述方法具有简便、灵敏度高、分析速度快等优势。

标签:
化学分析
天津 - 天津 来源:中冶有色网 2023-03-19
化学品活性反应危害预测方法及系统

本发明公开了一种化学品活性反应危害预测方法,其包括:第一步,分组,将化学活性反应特征相似的化学品归为一个化学反应组,比如酮、醚、氧化剂和还原剂等化学反应组;第二步,建立数据库,建立两两化学反应组混合可能发生的活性反应危害的数据库;第三步,判断,判定加入的化学品所属的化学反应组;第四步,预测,预测所有化学品混合后两两化学反应组可能发生的活性反应;第五步,形成禁配表,确定反应危害,两两化学品可能发生的活性反应形成禁配表,并通过一系列语句描述任意两个化学品间的反应危害。其能很好地预测化学品活性反应的危险性,为泄漏事故应急响应、活性危险化学品储存管理、工厂工艺安全、风险分析等提供参考。

标签:
化学分析
北京 - 北京 来源:中冶有色网 2023-03-19
医疗分析仪及分析方法

本发明提出了一种医疗分析仪及分析方法,包括外壳、LCD模块、PCB、随机软件、电源模块和蓝牙传输模块,PCB包括控制芯片、检测分析模块芯片等;控制芯片控制检测分析信息的接收和反馈,以及电源和按键控制的逻辑支配;检测分析模块芯片用于分析检测试纸上的样品血糖、尿酸和总胆固醇含量;随机软件配合控制芯片将数据传送到LCD模块和蓝牙传输模块;收发器芯片和所述插头设置在蓝牙PCB上,收发器芯片与数据库进行数据的交互传递;该医疗分析仪通过将试纸上样品的化学信号转换为电信号,再进行检测处理的方式,能可靠准确地检测出患者的生理状况,并且提供可视化的显示和蓝牙数据同步,给予诊治医生直观的信息,科学的诊治。

标签:
化学分析
江苏 - 苏州 来源:中冶有色网 2023-03-19
基于积分强化学习的多消防巡检协作机器人系统

本发明涉及一种基于积分强化学习的多消防巡检协作机器人系统,属于机器人领域。该系统包括硬件层、交互层、感知层和控制层;所述硬件层采用DSP作为控制器,将里程计和陀螺仪采集到的数据送入DSP内部进行处理,实时计算出机器人在巡检地图中的位置。通过上位机向DSP发送速度指令,DSP将获取到速度信息编码后以控制伺服电机的运转;消防巡检机器人采用的是履带式驱动;当机械臂需要动作时,由上位机中的ros系统通过在moveit!平台对机械臂将要移动到的目标点进行运动轨迹规划,将规划好的运动轨迹离散化后发送到DSP中,DSP获得的各个轴的角速度、加速度后控制机械臂的伺服电机运动以到达目标点。

标签:
化学分析
重庆 - 重庆 来源:中冶有色网 2023-03-19
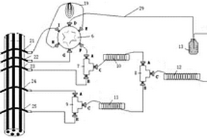
化学化工反应过程测试装置

化学化工反应过程测试装置,涉及一种化学化工反应测试装置,尤其是一种采用模块式的移动组合式化学化工反应过程测试系统。提供一种可将固态反应物、吸附分子形态和产物三者之间有机地联系起来,可从只能用于稳态产物成分的定性或定量分析扩展到用于动态产物成分的定性或定量分析,可提供有关分子微现结构变化的信息,可用于动力学测试到反应机理研究的移动组合式化学化工反应过程测试系统。设有配气装置和富氏变换红外光谱仪,采用原位红外光谱样品池,还设有色谱仪,质谱仪中的至少一种,配气装置的试样输入端外接试样,配气装置的排气管接原位红外光谱样品池进气口,原位红外光谱样品池的反应产物出口接色谱仪、质谱仪。

标签:
化学分析
福建 - 厦门 来源:中冶有色网 2023-03-19
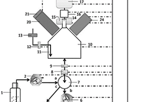
卷烟主流烟气气相化学成分口腔残留效率的测量装置

本发明公开了一种卷烟主流烟气气相化学成分口腔残留效率的测量装置,其特征是吸烟机的烟气输入和输出口与三通阀a的第一端口连接;三通阀a的第二端口与卷烟挟持器相连接,第三端口与三通管的第一开口相连接;三通管的第二开口与三通阀b的第一端口连接;三通阀b的第二端口与烟气传输石英毛细管b的一端连接,烟气传输石英毛细管b的另一端进入线分析质谱仪的软电离区中;三通阀b的第三端口与三端口烟气入嘴器相连;三通管的第三开口为可与三端口烟气入嘴器相连的烟气输出口。本发明结构简单、操作方便,适合于同时测量单口卷烟主流烟气气相化学成分中多种组分在人体口腔中的残留效率和研究残留效率随烟气在口腔中停留时间的动态变化规律。

标签:
化学分析
安徽 - 合肥 来源:中冶有色网 2023-03-19
化学气密性实验用气密性检验装置

本实用新型公开了一种化学气密性实验用气密性检验装置,包括待检验器材、显示屏、橡胶塞、配重底座、浴盆和电源基座,所述显示屏设置在控制面板前端面中间偏上位置,所述显示屏下方安装有控制按钮,所述控制面板固定在升降杆上,且升降杆设置在配重底座上表面右侧,所述升降杆前端面安装有升降旋钮,所述升降杆左端面固定有夹具。所述待检验器材通过夹具固定在升降杆左侧,所述橡胶软管另一端放置在浴盆内,所述配重底座下方固定有防滑垫,所述配重底座右端面设置有外接线,所述浴盆底部设置有发热盘和温度感应器,且温度感应器设置在发热盘中间。本实用新型加热速率快,操作方便,使用寿命长,便于清洁,移动方便。

标签:
化学分析
浙江 - 温州 来源:中冶有色网 2023-03-19
地球化学样品中痕量金、银、钯同时测定的方法

一种地球化学样品中痕量金、银、钯同时测定的方法,首先在恒温沸水浴中用1 : 1王水封闭消解地球化学样品,其次利用负载二苯硫脲聚氨酯泡塑选择性地对痕量金、银、钯进行富集、以及分离其他干扰元素的过程,最后采用电感耦合等离子体质谱仪利用标准曲线法绘制Au197、Ag107、Pd105的标准曲线和对样品中的金、银、钯同时进行测定。本发明解决了地球化学元素丰度是银和钯数百倍甚至上千倍的其他主要干扰元素对银和钯的质谱干扰问题,并使地球化学样品中银的分析比传统的发射光谱和石墨炉原子吸收分析方法,取样量增加数十倍,有效克服了地球化学银的“粒金效应”的影响。

标签:
化学分析
河南 - 洛阳 来源:中冶有色网 2023-03-19
外管进样的原子荧光分析方法

本发明外管进样的原子荧光分析方法,属于分析化学领域的原子荧光分析,该方法包括取样输送、载气载带气液分离器产生的混合气体进入原子化器、待测元素原子化和荧光检测等步骤,其中,所述原子化器中的石英炉为内管与外管的套装结构,将所述混合气体引入石英炉的外管,同时在石英炉的内管引入辅助气。本发明利用原有石英炉实施外管进样,氢火焰极易点燃,检测灵敏度提高,是原子荧光分析技术的创新。

标签:
化学分析
上海 - 上海 来源:中冶有色网 2023-03-19
基于电化学原理的辅助铅酸电池设计与检验的模拟方法

本发明公开一种基于电化学原理的辅助铅酸电池设计与检验的模拟方法,包括如下步骤:几何模型构建步骤;材料属性赋值步骤;物理场设置步骤;边界设置步骤:设置边界条件;计算步骤:使用牛顿迭代法计算充放电过程中电池状态变化。本发明能够降低成本,运用本发明设计与检验铅酸电池的性能,与对真实电池进行充放电相比,时间成本与经济成本均得到有效降低。本发明适用范围广,本发明能运用于任何已知设计参数的铅酸电池模拟上,仅需依据设计参数改变模拟参数,不需要重复建模。本发明能够减少计算时间和加快计算速度,更加契合富液电池实际情况,模型准确性和普适性较高。

标签:
化学分析
广东 - 肇庆 来源:中冶有色网 2023-03-19
煤自燃倾向性的电化学测定方法

本发明涉及一种煤自燃倾向性的电化学测定方法,属煤矿煤层的自燃倾向性的定性与分类的技术领域。通过测定煤在KMnO4与KOH的混合溶液中氧化过程中的电化学参数V,判定煤自燃倾向性大小,电化学参数V越大,表明煤自燃倾向性越强,越容易氧化,该参数有效地解决了实现综合反映煤自燃工业分析、元素分析、煤岩组分等因素的影响,反映了煤低温缓慢氧化和加速氧化阶段特性,提高了煤自燃倾向性的测定准确度,操作简单可靠,分类标准统一。整个测试过程只需测试1个参数,一般只需1~2小时即可完成。其方法简单,操作方便,省时省力,测试结果准确,在本领域内具有广泛的实用性。

标签:
化学分析
山西 - 太原 来源:中冶有色网 2023-03-19
用化学耗氧量测定仪的催化剂及其制备方法和使用方法

一种用于化学耗氧量测定仪的催化剂,所述催化剂为硫酸银的浓硫酸溶液。制备方法为称取一定量的分析纯硫酸银溶解于浓硫酸中,其中硫酸银的量为1.8g/100mL浓硫酸,溶解后摇匀在室温下避光放置1-3天,使其完全溶解后待用。本发明开发出一种催化剂配制方法替代了专用催化剂,降低了化验成本,且COD测定结果的稳定性和准确性与采用原专用催化剂相同。分析纯硫酸银为易采购无毒试剂,分析纯浓硫酸为廉价易采购试剂,可解决化学耗氧量测定仪专用催化剂价格高、难采购的问题。

标签:
化学分析
甘肃 - 嘉峪关 来源:中冶有色网 2023-03-19
分析至少一种分析物的样本的方法

描述了一种用于在组织学,如组织病理学,或细胞病理学,特别是免疫组织化学或免疫细胞化学中分析至少一种分析物的样本的方法。该方法包括使样本与至少一个靶向部分或探针接触,其中,至少一个靶向部分或探针中的每个不同的靶向部分或探针特异性地结合至少一种分析物中的不同分析物。所述至少一个靶向部分或探针中的每个不同的靶向部分或探针被偶联到不同的发光粒子。检测来自与和样本结合的至少一个靶向部分相关联的发光粒子的信号。由此可以在样本中检测至少一种分析物的存在或量。

标签:
化学分析
其他 - 其他 来源:中冶有色网 2023-03-19
用于蛋白同化激素免疫分析的酶标抗原及分析方法

本发明提供了一种用于蛋白同化激素免疫分析的酶标抗原及分析方法,属于免疫化学分析技术。所述酶标抗原是由诺龙半抗原与辣根过氧化酶连接制成,所述诺龙半抗原是在诺龙的羟基上引入羧基制成。使用本发明制备的酶标抗原进行诺龙、群勃龙、丙酸诺龙、雄诺龙和美雄诺龙等五种蛋白同化激素多残留化学发光免疫分析,本发明克服了传统酶联免疫分析方法灵敏度低的缺点,提高了免疫检测准确度和检测效率。

标签:
化学分析
天津 - 天津 来源:中冶有色网 2023-03-19
基于常规水化学矿井异常导水构造探测方法

本发明属于地质、水文地质、异常导水构造、采煤活动和水文地球化学综合应用技术领域,尤其是基于常规水化学矿井异常导水构造探测方法,现提出如下方案,包括以下步骤:收集整理矿井突水含水层的水化学数据、含水层矿物成分资料、矿井断层分布图和水样位置资料;结合含水层矿物成分和水文地球化学理论,确定地下水化学成分形成作用类型;选取常规水化学离子,并对水样的常规水化学离子进行主成分分析。本发明常规水化学方法联合主成分分析、水文地球化学理论、克里金插值和地质背景对矿井空间上的水化学成分形成作用特点进行研究,根据水化学异常确定导水构造异常,从而实现对矿井异常导水构造的探测。

标签:
化学分析
安徽 - 合肥 来源:中冶有色网 2023-03-19
水中铝自动分析装置及分析方法

本发明公开了一种水中铝自动分析装置及分析方法。该自动分析装置包括自动进样部分、溶液输送部分、化学流路、检测器和数据处理工作站;所述化学流路包括电动多位阀、五根蠕动泵管、缠绕反应管、三通、毛细连接管、样品环、容器瓶和流通池;所述电动多位阀具有至少六个接口,具有两个状态;第一状态为载样状态,第二状态为注样状态。本发明的水中铝自动分析装置可连续自动地对样品进行测试,测试速度高达45样/h;测试的灵敏度高,线性范围0.005mg/L‑0.5mg/L,检出限可低至0.001mg/L,准确性好;精密度高,重复性好。

标签:
化学分析
北京 - 北京 来源:中冶有色网 2023-03-19
用于湿法富集烟气汞的在线分析仪及分析方法

本发明属于环境监测技术领域,具体涉及一种基于湿法富集烟气汞在线分析仪及分析方法。该分析仪包括富集系统、检测系统以及控制系统;分析方法包括如下步骤:导入富集试剂→空白检测→富集样气→样品检测→溶液排出或保存。本发明的分析仪优点在于,结合高效率富集装置以及在线的X射线荧光技术,通过化学试剂的灵活选择,能够实现不同价态汞(Hg2+,Hg0,总汞)的在线分析,甚至不同重金属元素的分析,还可为离线的实验室检测保存样品。

标签:
化学分析
北京 - 北京 来源:中冶有色网 2023-03-19
卷烟热处理工序质量分析装置及分析方法

本发明公开一种卷烟热处理工序质量分析装置,其包括:气体传感器(1)、加热器(2)、除湿器(3)、数据采集存储器(4)、显示器(5);所述除湿器(3)位于气体传感器(1)入口处,且所述加热器(2)、除湿器(3)和气体传感器(1)封装在检测室(6)内,所述检测室(6)与进气管道(7)气体连通;所述数据采集存储器(4)分别与所述气体传感器(1)和显示器(5)连接。本发明分析装置对经过热加工的烟草散发出的挥发性化学物质进行检测,直接关注烟草热处理工序对烟草本身内在质量的影响,有效解决了在热处理工序烟草挥发性化学物质的实时监测问题,通过挥发性化学物质的监测,实现了工序质量全面、客观、科学的评判。

标签:
化学分析
云南 - 昆明 来源:中冶有色网 2023-03-19
便于调节的精细化学品检验取样装置

本发明公开了一种便于调节的精细化学品检验取样装置,包括底板,所述底板的上表面上开设有T型滑槽,所述T型滑槽中滑动连接有T型滑块,所述T型滑槽的左右两侧壁上通过轴承安装有丝杆,所述T型滑块的上表面上固定焊接有第一连接杆,所述第一连接杆的顶端开设有顶部敞开的插槽,所述插槽中插接有第二连接杆,所述卡管中过盈连接有左端敞开的外套管,所述外套管的内部间隙连接有移动杆,所述移动杆的右端头上固定焊接有弹簧,所述移动杆上设置有手柄,所述手柄滑动连接在所述条形槽中,所述取样杆上设置有取样头。本发明可实现对该取样装置的横向位置、高度和角度的调节,方便对不同精细化学品生产设备进行取样,可有效保护取样头。

标签:
化学分析
湖南 - 永州 来源:中冶有色网 2023-03-19
煤灰化学成分的测定方法

本发明公开了一种煤灰化学成分的测定方法,涉及化学分析技术领域,本发明方法将煤分析样品烘干、高温灼烧、冷却,得到煤灰,然后与微晶纤维混合,制成煤灰样片,再采用X荧光光谱分析法,选取最佳分析条件,10分钟左右即可同时对煤灰中的铁、钙、镁、钾、钠、锰、磷、硅、铝、钛、硫、铜12项化学成分进行分析,操作简便,结果准确、快速,适用范围广,且具有较高的精密度。

标签:
化学分析
广西 - 柳州 来源:中冶有色网 2023-03-19
热能分析仪及分析方法

本发明公开了热能分析仪,包括:底座和至少三个样杯;所述底座的上表面部分向内凹陷形成凹槽,围绕着所述凹槽至少设置三个固定槽,所述样杯的底部设置有与所述凹槽相配合的支撑棒,所述样杯的上表面至少部分向内凹陷形成腔体,所述腔体的中部水平设置有分析棒,所述分析棒的两端通过连接线与电脑端相连。该热能分析仪克服现有技术中的球墨铸铁铁液浇注前,化学成分分析、光谱分析、金相等方法检测周期长,难以在凝固前快速准确检测球铁石墨的球化孕育效果的问题。

标签:
化学分析
安徽 - 芜湖 来源:中冶有色网 2023-03-19
巴菲蛤浓缩液酸解产物的梅拉德反应化学成分的测定方法

一种巴菲蛤浓缩液酸解产物的梅拉德反应化学成分的测定方法,以巴菲蛤浓缩液为原料,用稀盐酸为溶剂回流得水解产物,其水解产物分别与葡萄糖、蔗糖进行梅拉德反应得棕色产物,两种棕色产物有较浓的香味,对其醚溶性成分采用GC-MS分析,总共鉴定出十三种物质其中水解产物与葡萄糖反应有8种,与蔗糖反应得5种。本项发明的创新性在于巴菲蛤浓缩液酸解氨基酸提取工艺简单实用。巴菲蛤浓缩液酸解产物与还原糖进行梅拉德反应对其醚溶性成分气相色谱-质谱(GC-MS)分析测定方法快捷迅速,4-羰基正戊酸是其中的主要产物。4-羰基正戊酸是应用范围很广附加值较高的有机物,对其进行回收和市场开发前景好。

标签:
化学分析
广东 - 湛江 来源:中冶有色网 2023-03-19
甲基叔丁基醚产品中硫分布的分析方法、利用的硫化物定性分析数据库及其用途

本发明提供一种利用气相色谱/硫化学发光检测仪对甲基叔丁基醚产品中硫分布进行定性/定量分析的方法。利用本发明的定性/定量分析方法,能够一次鉴定出甲基叔丁基醚产品中绝大部分不同结构类型的硫化合物,且对所有硫化物进行硫定量分析,从而便于生产现场实时采取适宜的脱硫手段,保证产品的质量。本发明还提供一种基于气相色谱/硫化学发光检测仪的硫化物定性分析数据库及其应用。

标签:
化学分析
北京 - 北京 来源:中冶有色网 2023-03-19
抗坏血酸干扰多项尿液分析试纸

本发明提供了一种抗坏血酸干扰多项尿液分析试纸,包括基片,基片上按顺序相互间隔的从顶端到末端依次排列有下列试剂块:尿胆原、潜血、胆红素、酮体、白细胞、葡萄糖、蛋白质、酸碱度、亚硝酸盐、比重、抗坏血酸和空白块;或白细胞、亚硝酸盐、尿胆原、蛋白质、酸碱度、潜血、比重、酮体、胆红素、葡萄糖、抗坏血酸和空白块。在本发明的白细胞试纸块、胆红素试纸块和亚硝酸眼试剂块中抗坏血酸试剂氯酸钠的质量分数分别为0.2%‑0.5%、0.25%‑1.0%、0.1%‑0.8%,在葡萄糖试纸块和潜血试纸块中抗坏血酸试剂碘酸钾的质量分数分别为0.18%‑0.3%、0.15%‑0.4%。本发明加入氧化性物质氯酸钠和碘酸钾,提高了利用干化学分析试纸条进行尿液分析检测的准确性,具有更好的临床适用性。

标签:
化学分析
山东 - 青岛 来源:中冶有色网 2023-03-19
上一页 1992 1993 1994 1995 1996 ... 2000 ... 2305 下一页
共2305页    到第

中冶有色为您提供最新的有色金属化学分析技术理论与应用信息,涵盖发明专利、权利要求、说明书、技术领域、背景技术、实用新型内容及具体实施方式等有色技术内容。打造最具专业性的有色金属技术理论与应用平台!

全国热门有色金属设备推荐
展开更多 +
全国热门有色金属技术推荐
展开更多 +

 

江西省隆恩特环保设备有限公司
宣传

报名参会
更多+

报告下载

有色专家
更多+

昆明理工大学
教授
中国矿业大学(北京)
院长/教授
赣州江钨钨合金有限公司
副总经理
中冶沈勘秦皇岛工程技术有限公司
原矿山院院长/教授级高工
重庆理工大学
教授
赤泥综合利用研究报告2025
推广

热门技术
更多+

推荐企业
更多+

福建省金龙稀土股份有限公司
宣传

发布

在线客服

公众号

电话

顶部
咨询电话:
010-88793500-807