青岛垚鑫智能科技有限公司
宣传

位置:中冶有色 >

有色技术频道 >

> 化学分析技术

分类:
全部
矿山技术
冶金技术
材料制备及加工技术
环境保护技术
分析检测技术
 
全部
物理检测技术
化学分析技术
力学检测技术
无损检测技术
失效分析技术
环境检测技术
地区:
全部
北京
天津
上海
重庆
河北
山西
辽宁
吉林
黑龙江
江苏
浙江
安徽
福建
江西
山东
河南
湖北
湖南
广东
海南
四川
贵州
云南
陕西
甘肃
青海
内蒙
广西
西藏
宁夏
新疆
其他
其他
展开
 
全部

有色金属化学分析技术理论与应用

免费发布技术信息>>
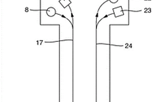
化学检验用比色管架装置

一种化学检验用比色管架装置,包括有左立板、左左孔调节装置、左中孔调节装置、扁插孔、上平板、比色管圆插孔、右立板、基础平板和下平板。在左立板和右立板之间,下部设置有水平形式的下平板,上部设置有上平板。下平板和上平板上,设置有比色管圆插孔。在上平板和下平板上,设置有两组比色管圆插孔,在上平板和下平板上分别设置有两组比色管圆插孔,上平板对应每一个比色管圆插孔的位置,设置有扁插孔,在上平板的外侧对应左中比色管圆插孔的扁插孔,以插入的形式设置有左中孔调节装置,在上平板的外侧对应左左比色管圆插孔的扁插孔,以插入的形式设置有左左孔调节装置。本实用新型整体结构简单,操作使用方便,稳定性好,可靠性高。

标签:
化学分析
山东 - 济宁 来源:中冶有色网 2023-03-19
细胞化学检查试剂架
细胞化学检查试剂架 1102     
 0

本实用新型公开了一种细胞化学检查试剂架,主要包括主体、底座、机箱、外罩、试剂架,所述底座位于所述主体底部,底座顶部通过所述机箱与所述试剂架底部连接,机箱侧面靠近顶部处设有凹槽,所述外壳底部安装于所述凹槽内并且位于机箱顶部,试剂架位于外壳内部;本实用新型结构新型、功能实用,不仅保护了试剂不被污染,还便于相关工作人员操作,并且成本较低,适合广泛推广。

标签:
化学分析
贵州 - 贵阳 来源:中冶有色网 2023-03-19
化学仪表检验用便携式冷却装置

本实用新型公开了一种化学仪表检验用便携式冷却装置,包括冷却机构,包括冷却仓,设置于所述冷却仓一侧的入水管,设置于所述冷却仓一侧的冷凝管。本实用新型有益效果为:通过设置冷却仓,使得装置具备对液体的冷却功能,通过设置入水管与冷凝管,使得冷水从入水管流入冷却仓中,并配合冷凝管完成对液体的冷却,通过设置阀门,便于对入水管与冷凝管的开启与闭合进行控制,通过设置安装框架,便于对该装置在进行液体冷却后收集,通过设置滑轨配合滑槽与球形杆,使用者可以将活动板拉出位移,并使放置桶完全露出时,通过设置活动槽配合扇形柱、齿板与放置槽,使得在不同液体冷却之后可以分开放置。

标签:
化学分析
内蒙 - 乌海 来源:中冶有色网 2023-03-19
用于通过强化学习检查自动化的行驶功能的方法和系统

本公开涉及一种通过强化学习来检查自动化的行驶功能的方法。该方法包括:提供自动化的行驶功能的至少一个规范;产生场景,其中场景通过第一参数组at来指示;以及求取奖励函数,使得与在模拟中的场景满足至少一个规范的情况下相比,在模拟中的场景不满足至少一个规范的情况下,奖励Rnn更高。

标签:
化学分析
其他 - 其他 来源:中冶有色网 2023-03-19
用于化学反应的定量光学评价的测量装置

本发明涉及一种用于化学反应的定量光学评价的测量装置(1),该测量装置包括带有载体层(3)和含有分析侧(8)和与分析侧对置的光射出侧(14)的样品层(4)的样品载体(2)、带有在支承体上的多个光探测器(6)和带有设置在光探测器上方的透明的覆盖层(7)的光敏的传感器(5)。在分析侧(8)上沿样品层(2)的纵向方向相互间隔开距离地设置多个测试区段(9)。分析侧(8)这样设置在载体层(3)上,使得测试区段(9)朝向一定体积的微流体(10)。样品载体(2)可拆卸地设置在容纳装置(20)中,从而光射出侧(14)朝向光敏的传感器(5)并且测试区段(9)设置在光探测器(6)上方。此外,在测试区段(9)和光探测器(6)之间的距离(11)小于700μm。

标签:
化学分析
其他 - 其他 来源:中冶有色网 2023-03-19
可视化可燃物质爆炸化学链式反应过程测试装置及方法

本发明公开了一种可视化可燃物质爆炸化学链式反应过程测试装置及方法,包括爆炸火焰拍摄系统、自由基测试系统、点火系统、循环水冷却系统、温度控制及保温系统、压力控制及监测系统、数据采集系统及主控制系统、爆炸气体快速采样系统、二次脉动雾化配气配液系统、固体粉末喷射系统和球形壳体;可以实现爆炸火焰的拍摄、爆炸中间产物的测试、爆炸气体的快速采样分析,通过各系统的协调作用,通过对比分析爆炸反应前后及过程中爆炸火焰、反应温度、反应压力、爆炸中间产物自由基、爆炸气体等的变化情况,定性定量研究可燃物质爆炸化学链式反应过程的机理及特性,从而为研究人员提供更为全面的实验数据及信息。

标签:
化学分析
北京 - 北京 来源:中冶有色网 2023-03-19
用于化学发光免疫仪的针管安装位置检验工装

本实用新型公开了一种用于化学发光免疫仪的针管安装位置检验工装,包括插装件,活动卡装在反应盘的限位孔内;以及定位件,水平设置在所述连接面上,所述定位件具有上定位面;定位孔,开设在上定位面上,且定位孔的中心与所述限位孔偏心设置,定位孔和限位孔的中心间距为1.5mm±0.1mm;其中,所述定位件的长度大于限位孔的长度,使定位件卡装在所述反应盘的上表面。本实用新型优点在于可将工装快速插装在反应盘的限位孔内,且拆装简单方便,便于插拔;在定位时,利用定位孔进行定位,确保每个针管底部的注射位置或抽液位置与限位孔的中心间距在预设范围内,实现针管的精准定位,进而保证设备的稳定运行,有效避免用户后期需要对针管进行二次调整。

标签:
化学分析
河南 - 郑州 来源:中冶有色网 2023-03-19
固态发光电化学池寿命的测量方法

本发明属于一种发光器件寿命的测量方法,特别涉及固态发光电化学池寿命的测量方法。本发明由硬件和软件两部分协同完成,通过硬件来完成数据采集,通过软件部分来完成硬件设备的同步、数据处理、分析和对硬件设备的控制。软件部分主要由同步模块、控制模块、数据处理模块构成。接收到用户的测量命令后,同步模块驱动控制模块通过RS232接口向硬件部分发送设定和测量命令,包括设定的电压和电压持续时间、测量电流强度和亮度的命令。硬件部分主要由光谱设备、稳压稳流电源组成,硬件部分把测得的一组电流强度、亮度数据传回软件部分,由数据处理模块进行处理。本发明可方便快捷地对固态发光电化学池器件的寿命进行采集、分析、处理。

标签:
化学分析
吉林 - 长春 来源:中冶有色网 2023-03-19
原位精确测定膜状结构化学成分的方法及其应用

本发明属于化学分析技术领域,具体提供了一种原位精确测定膜状结构化学成分的方法及其应用。使用本发明提供的方法操作简单高效,利用树脂将较薄的膜状结构固定在基质上,无须刮取膜状结构,能彻底排除如岩石、土壤等基质的物质成分对测试过程中的干扰;此外,本发明提供的方法,处理过程安全无污染,摒弃了传统成分测试中复杂繁琐的化学溶解处理手段,同时也避免了LA‑ICP‑MS测试时激光能量过高而导致膜被穿透,剥蚀深度直达基质,从而严重干扰测试结果的情况,能精确获取样品的化学成分信息。

标签:
化学分析
湖北 - 武汉 来源:中冶有色网 2023-03-19
针对多气体分析的一体式分析仪表

本实用新型涉及气体分析技术领域,尤其是一种针对多气体分析的一体式分析仪表,包括仪表本体部,仪表本体部内设置有第一气路、第二气路和第三气路,所述第一气路包括第一仪表过滤器、第一三通电磁阀、第一真空泵、第一流量计、第一氧气传感器、第一碳化物传感器、第一温度传感器和第一压力传感器。本实用新型有益效果:本实用新型通过利用红外单元测量和电化学测量等技术进行气体分析,通过在设备中设置多气路结构,摆脱了传统气体分析仪结构复杂,不方便用户操作、检测时间长,效率低下等问题,具有结构简单,方便用户操作、能够同时检测四种气体,且检测时间短,效率高等优点。

标签:
化学分析
江苏 - 南京 来源:中冶有色网 2023-03-19
化学仪表检验用便携式冷却装置

一种化学仪表检验用便携式冷却装置,上盖设有出水口及配合安装的进样管,侧壁设有互动提手;上盖通过螺纹配合安装在罐体上,罐体侧壁底部设有与罐内相连通的注水口及取样管;罐体内部设有冷凝管甲、冷凝管乙,两根冷凝管上端均连接在进样管上,下端均连接在取样管上,所述取样管通过密封配合安装伸出至罐体侧壁外部;可以就地选择温度较低的水源对取样产品进行冷却,操作简单、实用方便。

标签:
化学分析
河南 - 郑州 来源:中冶有色网 2023-03-19
戊型肝炎病毒IGM抗体化学发光免疫测定试剂盒及其制备方法

本发明属于临床体外诊断免疫分析技术领域,涉及一种化学发光法免疫分析测定戊型肝炎病毒IGM抗体的剂盒及其制备方法,本发明试剂盒制备方法包括以下步骤:以戊型肝炎病毒IGM抗体阴、阳性血清制备对照品;以抗人-Μ链抗体(单抗或多抗)包被固相载体;以酶标记戊型肝炎病毒重组抗原;配制酶所作用的化学发光底物液;配制浓缩洗涤液;分装上述戊型肝炎病毒IGM抗体的阴、阳性对照品、标记结合物、化学发光底物及浓缩洗涤液;及组装为成品。本发明制备试剂盒的性能指标(特异性、灵敏度、稳定性)稳定,可应用于戊型肝炎早期诊断。

标签:
化学分析
北京 - 北京 来源:中冶有色网 2023-03-19
光化学传感器和测量值校正的方法

本发明涉及光化学传感器和测量值校正的方法。确定与测量流体的物理或化学被测变量相关的测量信号的光化学传感器包括:具有浸入到测量流体中的至少一个浸没区域的壳体;具有至少一个传感器点的传感器盖,其布置在壳体的浸没区域上,传感器点布置在传感器盖的侧向表面上、包含至少一种分析物敏感指示剂染料,并包含反映传感器点的老化状态的状态描述指示剂;布置在壳体中的至少一个辐射源,其将激发辐射辐射到传感器点上并激发指示剂染料的发光;布置在壳体中的至少一个辐射接收器,其接收由传感器点发射的接收辐射;和布置在壳体中并电连接到辐射源和辐射接收器的传感器电路,其控制辐射源并基于发光的强度和/或发光的相位角来生成测量信号。

标签:
化学分析
其他 - 其他 来源:中冶有色网 2023-03-19
电化学计量器具检定装置

本实用新型公开了实验室设备技术领域的一种电化学计量器具检定装置,包括基板,所述基板的顶部设置有安装架,所述安装架的顶部设置有两组水箱,两组所述水箱呈左右间隔设置,两组所述水箱的相背面均间隔设置有水泵,所述立杆的底部设置有固定横板,所述固定横板顶部的左右侧均贯穿设置有连接孔,所述基板的底部设置有盛接箱,所述基板上均匀贯穿设置有多组流孔,该装置在使用的过程中,先开启左侧一组水泵,使得蒸馏水通过左侧一组喷头处对电极进行清洗处理,开启右侧一组水泵,使该组水泵将标准溶液抽取至右侧一组喷头,标准溶液再经过右侧这组喷头对电极进行自动润洗作业,过程简单,便于操作,同时有利于提高检定效率。

标签:
化学分析
四川 - 广元 来源:中冶有色网 2023-03-19
洞穴滴水的水文水化学自动监测取样装置

本实用新型公开了一种洞穴滴水的水文水化学自动监测取样装置,涉及岩溶动力系统技术领域。本实用新型包括主体,主体包括水化学记录模块、滴率测定模块、自动取样模块和信息记录器,水化学记录模块包括滴水收集器和监测探头,滴率测定模块包括收集盒、翻斗和数据记录器,自动取样模块包括取样器和控制板,通过设置水化学记录模块、滴率测定模块、自动取样模块和信息记录器,达到能高分辨率地连续自动监测洞穴滴水的水化学变化过程,获取长时间尺度的数据,分析其机理以及连续自动取样的效果。

标签:
化学分析
贵州 - 贵阳 来源:中冶有色网 2023-03-19
快速测试改性聚苯胺化学反应活性的方法

本发明公开了一种快速测试改性聚苯胺化学反应活性的方法,该方法利用量子力学和第一性原理,通过密度泛函等理论,得出改性聚苯胺的能量势垒、化学反应能及反应路径,通过与本征态聚苯胺的相应参数进行比较从而分析改性聚苯胺的化学反应活性,从而快速并准确地得到结果,避免了长时间的样品制备及化学反应活性实验测试,大大缩短了测试周期,方法省时省力,简单有效。

标签:
化学分析
广西 - 桂林 来源:中冶有色网 2023-03-19
高温高压水流体环境中的原位电化学-拉曼光谱测量系统

本发明公开了一种高温高压水流体环境中的原位电化学‑拉曼光谱测量系统,包括高温高压反应容器、电化学测量装置和拉曼光谱测量装置,高温高压反应容器具有反应腔体,电化学测量装置包括电极基座、工作电极组件、辅助电极组件和参比电极组件,拉曼光谱测量装置包括光学窗口和工作电极,工作状态下,通过工作电极组件、辅助电极组件和参比电极组件进行原位电化学测量;激光信号透过光学窗口聚焦在反应腔体内部的工作电极表面上,拉曼散射信号再透过所述光学窗口片,由拉曼探头接收,并传回拉曼光谱仪进行分析处理,进而,本发明可进行高温高压水流体环境中的原位电化学‑拉曼光谱测量,更好的满足研究需求。

标签:
化学分析
贵州 - 贵阳 来源:中冶有色网 2023-03-19
高通量电化学测试装备
高通量电化学测试装备 1018     
 0

本实用新型涉及一种高通量电化学测试装备,其包括若干个电化学测试单元及装备主机,电化学测试单元包括正极材料基底、负极材料基底以及位于正、负极材料基底之间的电解质,装备主机与正极材料基底、负极材料基底电性连接用于控制多个电化学测试单元进行测试并分析测试结果的。所述高通量电化学测试装备可实现大规模样品的同步并行测试,正极材料基底、负极材料基底和电解质可根据需求任意配置,极大地提高了材料研究效率,成本低,实用性强。

标签:
化学分析
四川 - 成都 来源:中冶有色网 2023-03-19
高温高压水流体环境中的原位电化学-拉曼光谱测量系统

本实用新型公开了一种高温高压水流体环境中的原位电化学‑拉曼光谱测量系统,包括高温高压反应容器、电化学测量装置和拉曼光谱测量装置,高温高压反应容器具有反应腔体,电化学测量装置包括电极基座、工作电极组件、辅助电极组件和参比电极组件,拉曼光谱测量装置包括光学窗口和工作电极,工作状态下,通过工作电极组件、辅助电极组件和参比电极组件进行原位电化学测量;激光信号透过光学窗口聚焦在反应腔体内部的工作电极表面上,拉曼散射信号再透过所述光学窗口片,由拉曼探头接收,并传回拉曼光谱仪进行分析处理,进而,本实用新型可进行高温高压水流体环境中的原位电化学‑拉曼光谱测量,更好的满足研究需求。

标签:
化学分析
贵州 - 贵阳 来源:中冶有色网 2023-03-19
PCB化学药水的提取检验装置

本实用新型公开了一种PCB化学药水的提取检验装置,包括圆底板,所述圆底板的上端外缘设有圆环槽,所述圆环槽的内部滑动安装有圆环,所述圆环的上侧左右部对称设有支撑杆,所述支撑杆的上端固定连接有圆板,所述圆板的上端外缘环形粘接有量杯,所述量杯的外侧粘接有标识板。向下移动提杆,使得圆环盖板重新盖住量杯的上端口,限制外部灰尘进入量杯内,静置一段时间后,转动提杆,通过滑槽与滑杆的滑动配合,使得套环与立柱保持转动一致,继而可带动不同标识的量杯转动,可将不同量杯转动到实验者自己的面前观看反应效果,配合标识板上对应的退锡水型号,可观看量杯内部的反应情况,对比效果更好。

标签:
化学分析
江西 - 赣州 来源:中冶有色网 2023-03-19
具有防护功能的中医学化学检验装置

本发明提供一种具有防护功能的中医学化学检验装置,包括横向底板,固定吸盘,纵向支架,侧边连接架,储药筒,出料管,排料阀,辅助搅拌混合架结构,横向过滤网板,辅助旋转架结构,分类防护试验观察架结构,可调节辅助固定储存架结构,防护垫和接料斗,所述的纵向支架螺栓安装在横向底板的上部左侧;所述的侧边连接架焊接在纵向支架的左侧上部;所述的储药筒螺钉安装在储药筒的左侧。本发明固定吸盘分别胶接在横向底板的下部四角处,有利于能够增加对该装置的固定效果,从而避免使用者误碰撞到该装置将其撞倒造成损坏;分类标签分别设置在储料斗的前侧,有利于在使用时方便对存放在储料斗内的试验药品进行分类。

标签:
化学分析
山东 - 济南 来源:中冶有色网 2023-03-19
基于电化学感应式振动传感器的电力杆塔状态监测装置

本实用新型提出一种基于电化学感应式振动传感器的电力杆塔状态监测装置,该电力杆塔状态监测装置包括电化学感应式振动传感器和控制装置,通过电化学感应式振动传感器对电力杆塔进行双向倾斜角度及振动情况进行监测,控制装置对数据进行处理和分析。解决了现有技术利用电阻应变传感器测量塔杆的应力变化,通过无线通信方式传递监测信息,但电阻应变式传感器对于大应变有较大的非线性,输出信号较弱,灵敏度相对较低的技术问题,本实用新型利用电化学感应式振动传感器,具有工作频带宽、灵敏度高、体积小、重量轻等优点,它结合无线电通信技术、物联网传感器技术及综合信息处理系统等技术实现对电力杆塔状态进行在线监测。

标签:
化学分析
黑龙江 - 哈尔滨 来源:中冶有色网 2023-03-19
生漆中漆酚总量的电化学测定方法

一种生漆中漆酚总量的电化学测定方法,该方法采用碳糊电极作为工作电极,并与饱和甘汞电极、铂丝电极组成三电极系统,采用循环伏安法或线性扫描伏安法对生漆中漆酚总量进行测定,漆酚是邻苯二酚的衍生物,在pH?12.0的NaOH溶液中,它在碳糊电极上产生一对氧化还原峰,氧化峰电流值与漆酚浓度在一定范围内呈正比,可用于生漆中漆酚总量的直接测定,该方法具有灵敏度高、选择性好、分析速度快、仪器设备价格低廉等优点。

标签:
化学分析
陕西 - 西安 来源:中冶有色网 2023-03-19
电化学方法实时监测熔盐去除稀土离子的方法

本发明提供一种电化学方法实时监测熔盐去除稀土离子的方法,将含有氯化稀土的LiCl和KCl熔盐加热至熔融态,将参比电极、工作电极和对电极三电极体系连接到电化学工作站;向LiCl和KCl熔盐中分批加入无水磷酸钠,每次加入无水磷酸钠后静置30分钟,采用参比电极、工作电极和对电极三电极体系测定方波伏安曲线,根据氯化稀土的标准工作曲线的峰高得出稀土离子浓度的变化;本发明的方法可以净化氯化物熔盐使其循环利用,稀土离子的净化率可达99%以上,同时采用方波伏安法实时监测沉淀反应进行的程度。方波伏安法实时监测离子浓度的变化是一种自动连续的过程,较其他分析方法比较具有灵敏度高、能够快速分析的特点。

标签:
化学分析
黑龙江 - 哈尔滨 来源:中冶有色网 2023-03-19
电站过热器化学清洗管路流通状态在线监测装置

本实用新型公开了一种电站过热器化学清洗管路流通状态在线监测装置,过热器化学清洗时,并列管路之间由于阻力不同,个别管会出现气塞或沉积物堵塞现象;本实用新型通过监测、分析各个管壁之间温度变化判断管路内介质流通情况,并对不通管进行自动报警;本实用新型解决了过热器化学清洗期间由于炉膛内环境温度高无法进行人工监测的问题;本实用新型反馈时间短、准确率高,自动化程度高,解决了现有技术存在的一系列局限性;使用本实用新型,可以实现过热器化学清洗期间并排管路堵塞情况的实时监测,避免了化学清洗后,机组启动期间因管路不通而产生的爆管现象,为化学清洗的成功进行提供了保证。

标签:
化学分析
陕西 - 西安 来源:中冶有色网 2023-03-19
实现化学防护服耐酸碱液渗透测试的装置及方法

本发明涉及一种实现化学防护服耐酸碱液渗透测试的装置及方法,包括测试室、收集室,测试室与收集室之间夹设有待测试的面料测试样,面料测试样两面分别与测试室、收集室紧密接触,测试室顶部开设有测试液进口,测试室底部开设有测试液出口,收集室前侧开设有收集液闭路出口,收集室后侧开设有收集液闭路进口,收集液闭路出口通过收集液导管、循环泵连接收集液闭路进口,收集液闭路出口、收集液导管、循环泵、收集液闭路进口构成闭路测试回路,收集室上方的收集液入口处插入有酸碱度分析仪,酸碱度分析仪与CAD测试数据收集端相连;本发明能够实现化学防护服耐酸碱液渗透性能的测试,且操作简便,有助于增加测试的便利性,提升测试的自动化程度。

标签:
化学分析
上海 - 上海 来源:中冶有色网 2023-03-19
化学需氧量CODcr比色测定管

本实用新型涉及一种水质、废水中还原性物质化学需氧量CODcr测定的比色测定管,化学需氧量比色测定管含有等截面真空密封玻璃管,在玻璃管中装有化学需氧量测定液,测定液在玻璃管中的高度H1和玻璃管等截面留空高度H2之比为H1∶H2=1∶0.5~2,测定液含有摩尔浓度为0.25mol/l的重铬酸钾10~30ml、98%的硫酸30~50ml、化学分析纯试剂硫酸银0.2~0.6克,当测定液中各有效成份浓度提高或降低时,其体积相应缩小或增大。本实用新型化学需氧量测定管将繁琐复杂的测定技术定量化,从而避免人为操作误差和系统误差,结构简单,测定迅速快捷,可在任何污染发生地进行现场测试,避免了水样采集及保存过程中的待测物损失,能够真实反映现场水质的实际情况。

标签:
化学分析
河南 - 郑州 来源:中冶有色网 2023-03-19
用光谱技术测定污水化学需氧量的系统

本实用新型公开了一种用光谱技术测定污水化学需氧量的系统。光谱仪一端与外接电源相连,另一端将光谱仪EPP并口通过数据线与计算机USB接口相连;卤素灯通过自带电源线与外接电源连接;进样池放于光谱仪和卤素灯之间,进样池与卤素灯角度范围为15~45度。将采集到的水样光谱数据传输到计算机。用光谱专用分析软件ASD VIEWSPEC PRO V2.14和UNSCRAMBLE V9.2对采集的数据进行处理分析后反馈信息接收平台,显示实时监测的COD值。整个过程在计算机的控制下,实现数据的采集、存储、显示和处理功能。本实用新型主要用于快速、准确地实现污水中化学需氧量的实时监测,为解决日趋严重的水污染问题提供技术支持。

标签:
化学分析
浙江 - 杭州 来源:中冶有色网 2023-03-19
高通量电化学测试系统

本实用新型涉及一种高通量电化学测试系统,其包括电性连接的主控制器模块及至少两电化学测试通道,主控制器模块用于提供主控制信号,电化学测试通道包括与主控制器模块连接的从控制器模块及电化学测试模块,从控制器模块根据主控制信号控制电化学测试模块对待测对象进行电化学测试后结果反馈回从控制器模块,从控制器模块进行处理并反馈处理后信号至所述主控制器模块,主控制器模块根据所述处理后信号分析生成待测对象的电化学测试数据。采用所述测试系统可同步对不同待测对象进行电化学测试,且多个处理后信号之间不易产生信号干扰。

标签:
化学分析
四川 - 成都 来源:中冶有色网 2023-03-19
植物状态自动化分析装置以及利用其的植物分析方法

本发明涉及植物状态自动化分析装置以及利用其的植物分析方法,本发明的一实施例所涉及的植物状态自动化分析装置包括:传感器单元,其由用于测定目标植物的图像的图像传感器、用于检测上述目标植物所释放的气体的化学传感器、以及用于检测上述目标植物所释放的波长的光学传感器构成;传感器移动单元,其使上述传感器单元相对于上述目标植物按照已设定的方向和距离移动;以及植物状态分析单元,其利用在上述传感器单元中检测出的图像、释放气体以及释放波长,分析植物的内在状态和外在状态。

标签:
化学分析
其他 - 其他 来源:中冶有色网 2023-03-19
上一页 1990 1991 1992 1993 1994 ... 2000 ... 2305 下一页
共2305页    到第

中冶有色为您提供最新的有色金属化学分析技术理论与应用信息,涵盖发明专利、权利要求、说明书、技术领域、背景技术、实用新型内容及具体实施方式等有色技术内容。打造最具专业性的有色金属技术理论与应用平台!

全国热门有色金属设备推荐
展开更多 +
全国热门有色金属技术推荐
展开更多 +

 

江西省隆恩特环保设备有限公司
宣传

报名参会
更多+

报告下载

有色专家
更多+

西北稀有金属材料研究院宁夏有限公司
党委书记 / 董事长
蒙纳士苏州校区
中国工程院外籍院士/校长
江西理工大学
副校长/教授
中国矿业大学
副院长/教授
武汉科技大学
院长 / 教授
赤泥综合利用研究报告2025
推广

热门技术
更多+

推荐企业
更多+

福建省金龙稀土股份有限公司
宣传

发布

在线客服

公众号

电话

顶部
咨询电话:
010-88793500-807