青岛垚鑫智能科技有限公司
宣传

位置:中冶有色 >

有色技术频道 >

> 化学分析技术

分类:
全部
矿山技术
冶金技术
材料制备及加工技术
环境保护技术
分析检测技术
 
全部
物理检测技术
化学分析技术
力学检测技术
无损检测技术
失效分析技术
环境检测技术
地区:
全部
北京
天津
上海
重庆
河北
山西
辽宁
吉林
黑龙江
江苏
浙江
安徽
福建
江西
山东
河南
湖北
湖南
广东
海南
四川
贵州
云南
陕西
甘肃
青海
内蒙
广西
西藏
宁夏
新疆
其他
其他
展开
 
全部
济南
青岛
淄博
枣庄
东营
烟台
潍坊
济宁
泰安
威海
日照
滨州
德州
聊城
临沂
菏泽

山东青岛有色金属化学分析技术理论与应用

免费发布技术信息>>
混凝土内部水分和氯离子同步传输感知装置

本发明公开一种混凝土内部水分和氯离子同步传输感知装置,包括电信号控制模块、多梯度原位监测传感器、电信号采集模块和数据分析与储存模块,通过对多梯度原位监测传感器基于电学和电化学原理进行设计,用于原位测试混凝土内部水分和氯离子同步传输的监测;依据不同含水量试块的介电常数的差异,可直接测量混凝土电容值表征混凝土中水分渗透过程,通过设置多梯度传感器,监测混凝土中水分和氯离子的传输过程,得到水分和氯离子传输的速度和深度,为进一步揭示混凝土内部水分和氯离子同步传输机理提供了试验依据,本方案结构设计原理简单,受环境影响作用小,测试结果迅速,测试结果稳定、可靠,具有较高的实用价值和推广价值。

标签:
化学分析
山东 - 青岛 来源:中冶有色网 2023-03-19
热稳定可变体积进样阀

本发明涉及一种在线可变进样体积、能保持热稳定性的进样阀,包括阀体、锥形阀塞、体积调节微珠和上端盖,锥形阀塞由上端盖弹力压紧并保持在阀腔内,锥形阀塞中间部分挖空,进样体积通过挖空容积内置的体积调节微珠的数目调节;通过旋转锥形阀塞,实现进样和变容积功能。本发明实现了热稳定和在线变定量容积,系统结构简单、紧凑性好、变工况自动化程度高、重现性好、适用性强,能够应用在生化分析、生物工程和化学合成、制备领域,尤其适用于要求反应温度准确的分析和测试。

标签:
化学分析
山东 - 青岛 来源:中冶有色网 2023-03-19
海洋环境中微塑料来源的判定方法

本发明涉及一种海洋环境中微塑料来源的判定方法,属于环境监测技术领域,采集特征源介质中微塑料代表性的样品分析其颜色、形状、成分等关键参数;构建不同生产、使用和排放途径的微塑料指纹信息库;通过对比海水样品与可能来源的微塑料样品形态和化学特征,筛选出可以指示微塑料来源的关键区别性指标及特征指示物;最后利用统计学软件SPSS18.0,对海水微塑料样品和常见塑料源稳定特征指纹信息库中的参数进行系统分析,用于判定海水微塑料样品的可能来源。本发明可以为我国海洋环境微塑料污染的监管提供技术支持,对海洋微塑料污染的治理具有重要意义。

标签:
化学分析
山东 - 青岛 来源:中冶有色网 2023-03-19
基于软件模拟的炼油污水生化处理单元的优化方法

本发明公开了一种基于软件模拟的炼油污水生化处理单元的优化方法,其包括如下步骤:a对炼油污水生化处理单元进行调研,确定其工艺流程;b获取各生化段各构筑物尺寸和工艺运行参数;c从水厂的化验系统获取历史进水水质数据;d补充测量该工艺一段时间内的进水与出水水质参数,通过组分计算确定含油污水特征化组分参数;e利用数学软件进行建模,输入构筑物尺寸和工艺运行参数、含油污水特征化组分参数、历史进水水质和水量进行静态和动态模拟;f调整动力学参数和化学计量数对模型进行校正;g进行多种运行状况分析并选取最优运行方案。本发明通过校正后的模型分析不同情形下的出水和能耗,提出最优的运行方案,提高单元处理效率并降低能耗。

标签:
化学分析
山东 - 青岛 来源:中冶有色网 2023-03-19
MIL-53针管式固相微萃取探头及制备方法

本发明公开了一种MIL-53针管式固相微萃取探头及制备方法。本发明的固相微萃取探头,包括不锈钢基体和涂层材料,所述探头基体采用不锈钢材质,探头基底呈管状;所述涂层材料为金属有机骨架材料,即MIL-53(M)(M=Fe,Al,Cr)材料;该方法通过采用耐高温环氧树脂胶将涂层材料直接粘覆到不锈钢基体表面的方式制备上述探头。本发明所提供的固相微萃取探头,结构简单、热稳定性和化学稳定性好、操作便捷、携带方便、可用于环境复杂样品中多环芳烃(PAHs)测定,且探头材质易取得、制作方法简单、成本低廉;涂层材料具有孔状结构,萃取效率和分析效率高、胶粘牢固、耐溶剂冲洗、可重复使用多次,大大节约了分析成本。

标签:
化学分析
山东 - 青岛 来源:中冶有色网 2023-03-19
La-Mg-Ni系A5B19相储氢合金热处理工艺

本发明公开了一种La-Mg-Ni系A5B19相储氢合金热处理工艺,热处理工艺对(LaNdPrMg)(NiCoAl)3.8合金相成分和电化学性能的影响。总结发现1323K保温5h急冷的热处理过程,在改善相成分方面,可以使合金中高容量的A5B19相丰度达到68%(质量分数),电化学性能测试表明,其最大放电容量达到400.9mAh·g-1,电化学循环100周容量保持率达到82.44%。经分析认为,加热保温过程对改善储氢合金相结构的均匀性起到一定的作用,而急冷过程对改善储氢合金综合性能起到至关重要的作用。

标签:
化学分析
山东 - 青岛 来源:中冶有色网 2023-03-19
藏黄连多糖硒纳米粒结构表征及其活性研究方法

本发明提供一种藏黄连多糖硒纳米粒结构表征及其活性研究方法,涉及植物化学研究领域。该藏黄连多糖硒纳米粒结构表征的研究方法,包括以下方法:A)粒径分布;B)红外光谱分析;C)扫描电子显微镜分析;D)X射线衍射分析;E)紫外可见光吸收光谱;F)刚果红测试。通过从藏黄连中提取分离藏黄连多糖,去除蛋白后再将去蛋白藏黄连多糖还原亚硒酸钠合成藏黄连多糖‑硒纳米颗粒,经天然多糖还原无机硒如亚硒酸钠,得到的多糖‑硒纳米颗粒具有粒径小,与无机硒比,其生物活性更高,并且毒性较低,研究其结构表征,抗氧化活性和细胞毒性,为研发新型的抗氧化型食品添加剂或饲料添加剂提供理论依据,值得大力推广。

标签:
化学分析
山东 - 青岛 来源:中冶有色网 2023-03-19
实海环境海洋污损生物腐蚀试验方法

本发明属于海洋生物腐蚀测试技术领域,涉及一种实海环境海洋污损生物腐蚀试验方法,工艺过程包括准备工作、试验、获取数据和分析数据共四个步骤,通过金属材料实验室无菌海水腐蚀试验、实海环境材料筛绢包覆腐蚀试验和实海环境材料裸露腐蚀试验的电化学测试方式,综合分析污损微生物和污损生物群落对金属材料腐蚀影响,能够准确的确定海洋环境不同污损状态对材料的腐蚀影响,为材料的生物腐蚀防护设计提供针对性的设计依据,可用于评价海洋工程及船舶典型金属材料的生物腐蚀影响,明确海洋环境污损微生物和大型污损生物对材料的腐蚀规律,具有显著的经济效益和行业发展推动作用。

标签:
化学分析
山东 - 青岛 来源:中冶有色网 2023-03-19
多场加载下高/低温岩体强化传热与动力扰动试验方法

本发明公开了一种多场加载下高/低温岩体强化传热与动力扰动试验方法,其主要是利用加热模块对干热岩加热成为高温岩体,对高温岩体注入低温流体,高温岩体受低温诱导热应力以及注入流体相态变化的作用孔隙结构发生变化;利用制冷模块对天然气水合物制冷获得低温天然气水合物,然后对低温天然气水合物注入高温流体,注热过程冷岩体受热膨胀,水合物升温分解导致孔隙结构变化,在此实现储层增产过程中多场作用对岩体的强化传热及动力扰动分析测试。解决了热源与冷源以及力学条件的低干扰加载问题,建立了多物理场加载下温度场/化学场→应力场→损伤场间的联系,实现了相变及孔隙结构变化对岩体强化换热与动力扰动测试分析的技术效果。

标签:
化学分析
山东 - 青岛 来源:中冶有色网 2023-03-19
互联网远程控制生物膜污水处理在线监控系统

本实用新型公开了一种互联网远程控制生物膜污水处理在线监控系统,具体涉及生物反应器污水处理工厂或处理装置的交互系统技术领域,包括格栅,所述格栅一侧设置有调节池,所述调节池一侧设置有厌氧池,所述厌氧池一侧设置有好氧池,所述好氧池一侧设置有MBR膜池,所述MBR膜池一侧设置有消毒池,所述消毒池一侧连通有排水管,所述好氧池一侧设置有信号采集联网终端。本实用新型通过设有化学成分分析仪,监测进水口和排污口的污水PH值以及化学组分,然后将监测数据通过信号采集联网终端反馈至服务器端,由服务器端汇总各水装置测数据,交互控制的生物膜反应器水处理系统,从而实现在线交互与监控,从而降低人力和管理成本。

标签:
化学分析
山东 - 青岛 来源:中冶有色网 2023-03-19
多功能笔式分规
多功能笔式分规 753     
 0

本实用新型涉及测量工具类,是一种多功能笔式 分规。其属于物理测量器具技术领域。该笔式分规,利用原分规,配以带有活动圆珠笔 或铅笔的硬质分规套。使得该分规可以随身携带,可 随时随地取出做测量分析记录用。该分规结构简单, 制造容易,该分规套外壳上设有各种测量计算表尺, 常用物理、化学、数学数据和公式或心电图测量尺,供 各行业测量分析用。

标签:
化学分析
山东 - 青岛 来源:中冶有色网 2023-03-19
基于遗传算法驱动支持向量机的烃源岩类型识别方法

本发明公开一种基于遗传算法驱动支持向量机的烃源岩类型识别方法,该方法通过岩石热解分析仪对岩样进行热解分析,并测量样品的S0、S1、S2、S4、Tmax、总有机碳含量TOC等关键参数,通过HI‑Tmax图版识别烃源岩类型,结合研究区地质特征进一步分析不同类型烃源岩的测井响应特征,依据不同类型烃源岩测井响应,建立基于遗传算法驱动的支持向量机识别烃源岩类型。本发明采用了地球物理方法基于常规测井曲线数据来识别烃源岩类型,打破了使用常规地球化学参数交会图识别烃源岩类型的局限性,可以根据已建立的研究区域的识别模型对多口井资料进行处理,对烃源岩类型的识别具有重要意义。

标签:
化学分析
山东 - 青岛 来源:中冶有色网 2023-03-19
浅层天然气成因及来源的综合判识方法及识别系统

本发明属于油气资源地质勘探技术领域,公开了一种浅层天然气成因及来源的综合判识方法及识别系统,浅层天然气地球化学特征分析,对采集的浅层天然气样品进行测试,分析地球化学特征;浅层天然气成因判识,通过天然气的组分、同位素等特征可有效判识天然气的成因类型;浅层天然气来源判识,对稠油发育区稀油、稠油和天然气的轻烃指纹进行测试,通过对比,判识浅层天然气的来源。本发明能够满足稠油发育区浅层天然气成因及来源的定量判识要求,于研究区应用效果良好,资料易获取,且易于操作,可以推广应用于其它类似浅层稠油发育的地区,从而提高浅层天然气的识别精度及勘探成功率。

标签:
化学分析
山东 - 青岛 来源:中冶有色网 2023-03-19
一株用于防治烟蚜的菌株

本发明涉及一株用于防治烟蚜的菌株,为来自海洋褐藻的小不整球壳属(Plectosphaerella cucumerina) mfz19菌株,其保藏编号为:CGMCC No.6859。本发明获得的对烟蚜有生物活性的mfz19菌株,可应用于烟草上烟蚜的防治,采用毛细管滴定法对烟蚜的生物测定表明,其发酵液中次生代谢物对烟蚜的致死率最高可达92.9%。采用GC/MS进行化学分析和结构鉴定后,次生代谢物包括有9种主要化合物,其中酯类化合物4种,酸类化合物两种,肼类化合物、脲类化合物、醇类化合物各1种。对烟蚜乙酰胆碱酯酶的抑制作用研究表明,抑制率最高可达76.45%。

标签:
化学分析
山东 - 青岛 来源:中冶有色网 2023-03-19
用于防治烟蚜的海洋专性菌株

本发明的目的是提供一株用于防治烟蚜的菌株,其保藏号为CGMCC?NO.11660。本发明获得的对烟蚜有生物活性的mfz38菌株,可应用于烟草上烟蚜的防治,采用微量点滴法对烟蚜的生物测定表明,其发酵液中次生代谢物对烟蚜的致死率最高可达97.78%。采用GC/MS进行化学分析和结构鉴定后,次生代谢物包括有6种主要化合物,其中酯类化合物2种,生物碱类化合物,萜类化合物,脲类化合物、醇类化合物各1种。

标签:
化学分析
山东 - 青岛 来源:中冶有色网 2023-03-19
用于防治烟蚜的枝顶孢属菌株

本发明的目的是提供一株用于防治烟蚜的菌株,即一株来自海洋底泥的枝顶孢属(Acremonium?sp.)菌种,保藏号为:CGMCC?NO.11658。本发明筛选的mfn1菌株用于防治烟蚜,也可用来制备具有防治烟蚜功能的制品。本发明获得的对烟蚜有生物活性的mfn1菌株,可应用于烟草上烟蚜的防治,采用微量点滴法对烟蚜的生物测定表明,其发酵液中次生代谢物对烟蚜的致死率最高可达97.78%。采用GC/MS进行化学分析和结构鉴定后,次生代谢物包括有7种主要化合物,其中肽类化合物3种,酯类化合物2种、生物碱累化合物,肼类化合物,各1种。

标签:
化学分析
山东 - 青岛 来源:中冶有色网 2023-03-19
利用岩屑元素含量评价岩石可钻性的方法

本发明提供了一种利用岩屑元素含量评价岩石可钻性的方法,涉及地质勘探领域,成本低、操作简便、实时性强,对钻头选型、钻进参数优选、降低钻井成本具有重要意义。该利用岩屑元素含量评价岩石可钻性的方法,具体包括分析岩石的主要化学成分及含量,测量待测地区钻井岩屑的化学元素组成和含量,筛选与岩性最相关的10‑12种元素,绘制地层分层的元素含量与岩性剖面、利用测井资料获得的岩石可钻性级值的曲线变化图;通过曲线变化图,进一步在上述10‑12种元素中筛选出与岩石可钻性相关的7种元素,根据变化曲线图的元素含量和可钻性级值数据进行回归分析,得出评价岩石可钻性的计算模型。

标签:
化学分析
山东 - 青岛 来源:中冶有色网 2023-03-19
海底沉积物保气采样器

本发明涉及一种借助于测定材料的物理或化学性质来测试或分析材料的装置,具体地说涉及一种采样装置,更具体地说,涉及一种液体或流体的采样装置,本发明提供了一种能实现分段保真取样的海底沉积物保气采样器,其包括释放装置和采样装置,其中采样装置包括下端开口的套管和位于套管内的衬管,套管的下端设置刀头,衬管与套管之间为活动连接,衬管的上端固定活塞,活塞上端通过钢丝绳与释放装置连接,在衬管上设置分割衬管腔室的锁闭机构,在套管上设置对应的触发机构,本发明的浅层沉积物保气采样器,其衬管可以从中间分开,可以对指定深度的海底沉积物。

标签:
化学分析
山东 - 青岛 来源:中冶有色网 2023-03-19
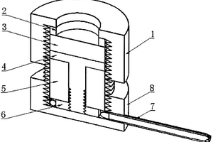
可拆卸电极
可拆卸电极 755     
 0

本发明涉及一种可拆卸电极,包括电极帽、电极密封橡胶片、电极试片、电极导电连接螺栓、电极固定螺栓、电极导电连接螺母、导线及电极后座,电极导电连接螺栓的一端插设在电极固定螺栓内、并由电极固定螺栓穿出与电极导电连接螺母螺纹连接,电极固定螺栓的两端分别螺纹连接有电极帽、电极后座,电极导电连接螺母容置于电极后座内,导线的一端与电极导电连接螺母相连,另一端由电极后座穿出、为自由端;电极导电连接螺栓的另一端依次设有容置于电极帽内的电极试片及电极密封橡胶片。本发明可简单方便地在短时间内快速制作出所需工作电极,在进行电化学测试测量后,可将电极试片与电极外壳分离作为挂片进行表面形貌观察和元素分析。

标签:
化学分析
山东 - 青岛 来源:中冶有色网 2023-03-19
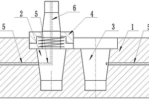
组合式电解池
组合式电解池 1060     
 0

本发明涉及电解池,具体地说是一种同时用于电化学测试测量和材料表面形貌观察以及元素分析的组合式电解池,包括电解池盖、电解池体、电解池后座、电极试片、导电连接螺栓及导电连接螺母,其中电解池体的上下两端分别与电解池盖、电解池后座螺纹连接,所述电解池后座上设有导电连接螺栓,该导电连接螺栓的下端由电解池后座穿出、与所述导电连接螺母螺纹连接,导电连接螺栓的上端与电解池体之间设有电极试片,该电极试片与所述电解池体的下端密封连接。使用本发明进行电化学实验,不需要单独制作工作电极,并且在进行电化学实验后,可将电极试片取出进行表面形貌观察和元素分析,也可将挂片实验中的挂片作为电极进行电化学实验。

标签:
化学分析
山东 - 青岛 来源:中冶有色网 2023-03-19
恒温进样绝热合流装置
恒温进样绝热合流装置 1015     
 0

本发明涉及一种结合恒温进样和绝热合流的装置,由恒温体、热绝缘锥形旋塞和压盖组成。热绝缘锥形旋塞由压盖弹力压紧并保持在恒温体的锥形塞孔内,锥形塞孔和热绝缘锥形旋塞开有三路用于进样的水平流入孔道和一路流出孔道,所述热绝缘锥形旋塞开有与锥形塞孔的三路所述流入孔道配合的三路所述流入孔道。整体结构紧凑,不易泄露,热稳定性能好,可多种模式进样,实现单流入单流出、双流入单流出和三流入单流出,自动化程度高,适应性好,可应用于生化分析、生物工程和化学合成、制备领域,尤其应用于现场量热分析和测试具有优势。

标签:
化学分析
山东 - 青岛 来源:中冶有色网 2023-03-19
海洋微生物菌株Y112及其产α-环糊精葡萄糖基转移酶

本发明涉及一种产α-环糊精葡萄糖基转移酶的海洋微生物菌株Y112及其产的酶,经过16SrDNA序列分析结合其生理生化特征,该菌株为芽孢杆菌属,测序得到16S?rDNA序列长度为1420bp左右,碱基组成如图1。在医药、食品、化工、化妆品、工业和农业以及分析化学等方面得到广泛的应用。

标签:
化学分析
山东 - 青岛 来源:中冶有色网 2023-03-19
海岸带地下卤水储层间水力联系识别方法及系统

本公开提供了一种海岸带地下卤水储层间水力联系识别方法及系统,所述方案包括:获取不同测定区地下卤水样本,并对地下卤水的现场指标进行现场测定;采用主成分分析法选取主要水化学离子指标,并对卤水样本进行指标测定;利用层次聚类分析方法对所述主要水成分化学离子指标进行聚类分析,基于聚类结果,对不同测定区地下卤水储层间的水力联系进行初步识别;基于高通量测序方法对卤水样本进行微生物分析测试,确定不同测定区地下卤水中微生物组成;计算不同测定区地下卤水中微生物组成的相似度,基于所述相似度对初步识别结果进行验证,实现地下卤水储层间水力联系的识别。

标签:
化学分析
山东 - 青岛 来源:中冶有色网 2023-03-19
溶解铜的腐蚀产物的方法

本发明属于无机化学分析技术领域,具体地讲,本发明涉及一种溶解铜的腐蚀产物的方法。在无氧条件下,将待处理样品置于氨水溶液中,超声波震荡,即可将待检测样品上的腐蚀产物溶解至氨水中。本发明方法能够将铜的各种腐蚀产物完全溶解下来,比如铜的氧化物、铜的碱式硫酸盐、铜的碱式氯化盐等。更重要的是本发明方法在溶解铜的腐蚀产物时,不损伤铜基体,也不引入其他杂质,更有利于铜的腐蚀机理的研究。

标签:
化学分析
山东 - 青岛 来源:中冶有色网 2023-03-19
具有仿氧化酶和仿过氧化物酶活性的生物质无定形碳及其制备方法和应用

本发明提供一种具有仿氧化酶和仿过氧化物酶活性的生物质无定形碳及其制备方法和应用,本发明以浒苔为原料,通过简单高温煅烧即获得一种同时具有仿氧化酶和仿过氧化物酶活性的生物质无定形碳,本发明的生物质无定形碳还可基于其仿氧化酶性质对酸性磷酸酶进行定性和定量检测,同时本发明生物质材料原料廉价易得,制备方法简单,绿色环保,因此在分析化学、催化领域、生物医药以及环境工程方面具有广阔的应用前景。

标签:
化学分析
山东 - 青岛 来源:中冶有色网 2023-03-19
大菱鲆耐高温个体的筛选方法

一种大菱鲆耐高温个体的筛选方法,通过在大菱鲆胚胎发育至出现心跳之后的三个发育时期:器官形成期、尾芽期、出膜前期,使用不同温度的高温海水进行不同时间长度的高温胁迫,通过死亡淘汰法选择耐高温的大菱鲆个体,而不同热激温度-热激时长的组合,可以获得不同比率的正常初孵仔鱼。本方法成本低廉,仅需要简单的实验条件,并且不需要花费大量资金购买相关实验的试剂、化学药品;本发明要求的实验条件低,仅需要水浴锅/控温仪、加热设备、显微镜等简易设备,无需其它设备;本发明操作便捷,不需要进行大量检测实验和分析;能快速获得耐高温个体;可以短时间大批量处理胚胎,获得较大数量耐高温大菱鲆个体。

标签:
化学分析
山东 - 青岛 来源:中冶有色网 2023-03-19
舒肝颗粒中特定成分的鉴别方法

本发明公开了一种舒肝颗粒中特定成分的鉴别方法,所述方法以丹皮酚、栀子苷、芍药苷、甘草苷为标准品,以甘草为对照药材,进行薄层色谱分析。本发明通过利用一种提取方法,两个薄层条件,即可专属性的鉴别4味中药,方法简单、便捷、环保,减少企业检验费用,操作简单,成本低,以期为舒肝颗粒药效物质基础及质量控制研究提供参考,避免了因只测定单一化学成分而判定制剂整体质量的片面性,又减少了为质量达标而人为处理的可能性。

标签:
化学分析
山东 - 青岛 来源:中冶有色网 2023-03-19
质谱图的合成方法、系统、装置及介质

本发明涉及生物化学分析技术领域,具体提供一种质谱图的合成方法、系统、装置及介质,旨在解决如何在根据待合成质谱图获得合成质谱图时,提升合成质谱图的分辨率和信噪比的问题。为此目的,本发明能够先根据多张待合成质谱图获取参考质谱图,并对每个待合成质谱图进行区间划分,针对每张待合成质谱图子区间进行待合成质谱图校正,并对校正后的质谱图进行合成,获取合成质谱图。由于对每张质谱图的每个子区间进行分别校正,能够使得待合成质谱图获得更好的校正效果,能够进一步提升合成质谱图的分辨率和信噪比。且由于本发明的质谱图的合成方法无需进行峰值检测,使得本发明可以应用于各种质谱图的合成,可以应用于原始质谱图的合成阶段。

标签:
化学分析
山东 - 青岛 来源:中冶有色网 2023-03-19
过渡金属二硫化物增强石墨烯基SERS装置及其制备方法

本发明涉及一种过渡金属二硫化物增强石墨烯基SERS装置,该装置的具体结构为M‑FeS2/FeS‑石墨烯,其中,M为贵金属纳米层,FeS2/FeS为交替的FeS2和FeS纳米多层结构。以聚苯乙烯胶体球模板为衬底,在其表面化学气相沉积石墨烯层;(2)在石墨烯层表面原子层沉积交替的FeS2和FeS纳米多层结构;(3)在交替的FeS2和FeS纳米多层结构表面磁控溅射贵金属纳米层。FeS2的引入,可以明显增加装置对不同探针分子的检测灵敏度。交替的FeS2和FeS纳米多层结构于石墨烯层和贵金属层复合作用,使得基底可以实现对于多种激发波长下的拉曼增强,拓宽了其拉曼分析应用范围。

标签:
化学分析
山东 - 青岛 来源:中冶有色网 2023-03-19
艾地骨化醇异构体杂质的制备方法

本发明公开了一种艾地骨化醇异构体杂质的制备方法。以(1R,3aR,7aR)‑7a‑甲基‑1‑((R)‑6‑甲基‑6‑((三乙基甲硅烷基)氧基)庚烷‑2‑基)八氢‑4氢‑茚‑4‑酮为起始物料,经异构化、对接、脱保护、重结晶等步骤获得高纯度的艾地骨化醇异构体杂质,属于化学及生物制药领域。该杂质可用于对艾地骨化醇成品检测分析过程中杂质的准确定位和定性,有利于加强对该杂质的控制,进而提高艾地骨化醇原料药和制剂的质量。

标签:
化学分析
山东 - 青岛 来源:中冶有色网 2023-03-19
上一页 16 17 18 19 20 ... 51 下一页
共51页    到第

中冶有色为您提供最新的山东青岛有色金属化学分析技术理论与应用信息,涵盖发明专利、权利要求、说明书、技术领域、背景技术、实用新型内容及具体实施方式等有色技术内容。打造最具专业性的有色金属技术理论与应用平台!

全国热门有色金属设备推荐
展开更多 +
全国热门有色金属技术推荐
展开更多 +

 

江西省隆恩特环保设备有限公司
宣传

报名参会
更多+

报告下载

有色专家
更多+

江西理工大学
副校长/教授
紫金矿业信息化研发中心
副总经理
中南大学
院长/教授
中铝检测科技(郑州)有限公司/国家轻金属质量检验检测中心
正高级工程师
长沙矿冶院检测技术有限责任公司
总经理
赤泥综合利用研究报告2025
推广

热门技术
更多+

推荐企业
更多+

福建省金龙稀土股份有限公司
宣传

发布

在线客服

公众号

电话

顶部
咨询电话:
010-88793500-807