青岛垚鑫智能科技有限公司
宣传

位置:中冶有色 >

有色技术频道 >

> 探矿技术

分类:
全部
矿山技术
冶金技术
材料制备及加工技术
环境保护技术
分析检测技术
 
全部
探矿技术
采矿技术
选矿技术
通用技术
地区:
全部
北京
天津
上海
重庆
河北
山西
辽宁
吉林
黑龙江
江苏
浙江
安徽
福建
江西
山东
河南
湖北
湖南
广东
海南
四川
贵州
云南
陕西
甘肃
青海
内蒙
广西
西藏
宁夏
新疆
其他
其他
展开
 
全部
济南
青岛
淄博
枣庄
东营
烟台
潍坊
济宁
泰安
威海
日照
滨州
德州
聊城
临沂
菏泽

山东济南有色金属探矿技术理论与应用

免费发布技术信息>>
隧道等地下工程先验形态信息约束的联合超前预报方法

本发明涉及一种隧道等地下工程先验形态信息约束的联合超前预报方法,其主要步骤为:首先对探测区域收集地质资料、钻探资料分析,对于重点高风险突涌水区域,实施陆地声纳法、瞬变电磁法、地质雷达法、激发极化法超前预报数据采集,选取确定性探测结果异常作为已知先验信息;根据获取的异常体区域,构造该区域的方向向量及其权重,组装成先验信息约束对角阵,对激发极化反演进行约束,形成了先验形态信息约束的联合超前预报方法。该方法实现了联合预报数据约束,显著压制了多解性,提高了综合超前预报的准确性与可靠性。实现了掌子面前方突涌水灾害源的三维空间形态预报,尤其可以实现对突涌水灾害源边界的识别。

标签:
探矿技术
山东 - 济南 来源:中冶有色网 2023-03-03
地下工程高分辨率三维电阻率CT成像超前预报系统和方法

本发明公开了一种地下工程高分辨率三维电阻率CT成像超前预报系统和方法,其设计了平行双钻孔加正交测线的立体三维测量方式,采用多次覆盖、全自动、全组合的自由数据采集模式,改善了常规的电法数据采集模式,可获得更丰富的数据量,实施三维全空间电阻率数据反演解译方法,能够得到更精确的三维成像效果,获得工作面前方一定范围内地质体的三维电阻率精细结构,可实现地质异常体的高分辨率精确成像,尤其是显著提高了深部分辨率,打破了超前钻孔仅能探测局部区域的瓶颈,弥补了传统超前预报地球物理探测方法精度与分辨率较低的不足,为实现地下工程施工期高分辨率精确超前预报提供了可行的途径。

标签:
探矿技术
山东 - 济南 来源:中冶有色网 2023-03-03
基于多元前兆信息的地下工程突水突泥风险评价方法

本发明公开了一种基于多元前兆信息的地下工程突水突泥风险评价方法,获取地下工程突水突泥灾害工程围岩的地球物理场特征、力场特征、渗流场和位移场特征,初步构建指标体系;确认构建的指标体系间的各个指标的相互作用规律,针对不同工程的地质特征,对指标体系进行属性约简分析,建立优化后的指标体系;采用权重反分析法和专家打分法获取优化后的指标体系内各指标权重,基于工程地质勘查,确定各指标参数,获得工程设计阶段的风险等级;基于现场监测的地球物理场数据和力场位移场数据,获得工程建设阶段的风险等级,同时对设计阶段评价等级进行修订。

标签:
探矿技术
山东 - 济南 来源:中冶有色网 2023-03-03
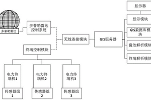
多普勒雷达气象矢量化电网精细预警系统

本发明属于电力电网领域,具体涉及一种多普勒雷达气象矢量化电网精细预警系统。包括多普勒雷达部、预警中心部和电力终端部,电力终端包括传感器组,传感器组设置多个气象传感器;GIS服务器根据多普勒雷达部的雷达信息生成气象预警信息,并根据预警信息控制所述终端机上传感器组的工作状态。将雷达信息与电力设备关联以后进一步采用电力设备上设置传感器的方式,进一步提高预警结果的准确性;将雷达预警等级与地质等级结合,气象对于发生地质灾害的影响更加精细化;GIS系统采用双工作模式,GIS系统的负担,提高收集速度。

标签:
探矿技术
山东 - 济南 来源:中冶有色网 2023-03-03
适用于钻爆法隧道的地震超前预报装置、系统及方法

本发明公开了一种适用于钻爆法隧道的地震超前预报装置、系统及方法,它解决了现有技术中超前地质探测自动化程度较低、探测时间较长、探测质量不高的问题,能够实现掌子面前方地质异常体的自动化超前预报,为施工方案优化、保障施工安全提供借鉴;其技术方案为:包括激震模块、刚度加强模块、定位模块和控制模块,刚度加强模块安装有压力传感器,压力传感器实时感知压力值并反馈至控制模块,通过控制模块实现可控支撑;定位模块包括用于定位激震方向的红外线定位装置和用于拍摄激震点周围岩体情况的图像定位装置;像定位装置将采集到的图像信号传输至控制模块,控制模块自动识别激震模块与岩体表面的空间位置关系,以控制激震模块角度。

标签:
探矿技术
山东 - 济南 来源:中冶有色网 2023-03-03
可用于盾构掘进机分布式无线通讯测量装置

本发明公开了一种可用于盾构掘进机分布式无线通讯测量装置,包括分布式采集模块、磁耦合谐振传输模块和电磁波无线传输模块,其中,测量电极设置在刀盘上,分布式采集模块前端的集线端子连接测量电极,采集测量电极测得的数据,分布式采集模块连接耦磁合谐振传输模块,磁耦合谐振传输模块与刀盘连接的同时,还与电磁波无线传输模块之间通过光纤连接,将信号传输到主控室的电磁波无线接收模块。本发明使得超前地质预报仪器经刀盘上测量电极采集到的数据传输到主控室的主机中,实现对掘进面前方不良地质情况的预报,确保掘进机的安全施工。

标签:
探矿技术
山东 - 济南 来源:中冶有色网 2023-03-03
富水极破碎围岩隧道塌方段围岩控制方法

本发明涉及隧道工程施工领域,具体为一种富水极破碎围岩塌方段围岩控制方法,解决现有方法治理周期长、加固范围及效果差、初期支护侵限变形开裂及易引发二次地质灾害等问题,包括塌方致灾因素及成灾程度探查分析、堆积体暴露面稳固及深部排水泄压、塌方段及影响区支护强度强化、塌方堆积体防突充实加固、非对称周边帷幕注浆加固、注浆加固塌方段开挖方法及初期支护方式确定、局部补充注浆、仰拱开挖及二衬施工等步骤。采取本工法施工后,缩短了富水极松散围岩隧道塌方处治工期,保障了围岩加固范围和强度,特别是直接塌方区围岩得到充分注浆加固,减缓了初期支护变形量,避免了侵限及二次地质灾害发生;有效地提高了塌方事故处治质量,创造了良好的社会效益和经济效益。

标签:
探矿技术
山东 - 济南 来源:中冶有色网 2023-03-03
城市地下水安全四维智慧调控的信息化系统

本发明公开了一种城市地下水安全四维智慧调控的信息化系统,属于城市水位监测技术领域,包括获取城市地图及地理信息,建立城市三维地质模型,在三维地质模型中预设多个监测节点和中继节点,监测节点对城市水位进行监控检测,将采集到的数据发送至中继节点,中继节点对数据信息进行判断和筛选,同时将筛选后的数据发送至其它中继节点,进行第二次判断筛选再发送至服务器,服务器对数据信息进行判断和筛选并进行高精度静态解算,得到城市地下水监测结果数据,实现对城市地下水的实时监控,得到城市地下水四维模型,本发明能满足对城市地下水环境数据的实时传输要求,让最终服务器生成的城市地下水四维模型更加安全可靠。

标签:
探矿技术
山东 - 济南 来源:中冶有色网 2023-03-03
现场隧道实时围岩分级系统及方法

本发明公开了一种现场隧道实时围岩分级系统及方法,该系统包括承载台,承载台承载测量尺、可对现场围岩试样进行点荷载试验的点载荷试验仪和用于确定围岩软弱结构面产状的地质罗盘,测量尺、点载荷试验仪与地质罗盘可拆卸设置于承载台,承载台的下部设置用于带动承载台移动的移动部件;整个系统的设置,便于将测量部件移动到现场,进行实时测量,实现了隧道围岩的实时分级工作,有效提高了隧道围岩分级工作的效率,提高了分级工作的灵活率,且能够对隧道掌子面附近岩体分级得到实时反馈,便于对后续工作的直接开展。

标签:
探矿技术
山东 - 济南 来源:中冶有色网 2023-03-03
模拟承压水地层的室内回灌模型试验系统的试验方法

本发明提供模拟承压水地层的室内回灌模型试验系统的试验方法,包括以下步骤:步骤1:根据实际工程地质状况,在模型箱中配制模拟实际水文地质条件的土层;步骤2:分别进行定压力回灌和定流量回灌模拟,获取上述两种回灌方式的实测指标;步骤3:针对所获得的实测指标进行对比分析,确定实际的回灌方式。本发明可以模拟定压回灌和定流量回灌里两种回灌模式,可方便的通过试验比选最佳回灌方式,有利于节省工期、费用,并可以通过试验得出的参数,为实际工程实施提供前瞻性的技术依据。

标签:
探矿技术
山东 - 济南 来源:中冶有色网 2023-03-03
用于控制隧道围岩变形破坏的防护结构及支护体系及施工方法

本发明公开了用于控制隧道围岩变形破坏的防护结构及支护体系及施工方法,防护结构包括间隔设定距离设置的两个压板,两个压板之间固定有缓冲减震装置,缓冲减震装置与两个压板固定为一体结构,该结构设于两段隧道围岩支护体系之间且两个压板分别与一段隧道围岩支护体系连接,本发明通过上层刚性的压板、中层柔性的气囊和弹簧、下层刚性的压板的设置,实现刚柔结合的支护体系,满足了在松散土质、上软下硬、富水软弱和胀缩性土质等软弱破碎地质条件下隧道建设的安全需要;支护体系不仅可以减少隧道掌子面上覆的土压力、减小拱顶和地表沉降以及提高围岩自稳能力,降低了施工成本和难度,且施工工艺简单易于施工人员操作,提高了工作效率。

标签:
探矿技术
山东 - 济南 来源:中冶有色网 2023-03-03
相似模型试验中无充填型溶洞或岩溶管道系统及埋设方法

本发明涉及一种相似模型试验中无充填型溶洞或岩溶管道系统,包括试验台架,试验台架内铺设有若干层相似材料,相似材料中开挖有隧道,相似材料中设置有无充填型溶洞或岩溶管道,无充填型溶洞或岩溶管道中有不透水树脂膜袋,不透水树脂膜袋通过进出水管与试验台架外部的水泵连接。同时本发明还公开了所述系统的埋设方法。本发明研究了模型试验中无充填型溶洞或岩溶管道系统及埋设方法,解决了无充填型溶洞或岩溶管道的埋设和模拟问题。将无充填型溶洞或岩溶管道埋入模型试验相似材料中,与前人研究相比,与工程实践更接近,所得出的地质力学形似模型试验研究成果适用范围更广。

标签:
探矿技术
山东 - 济南 来源:中冶有色网 2023-03-03
密贴下穿既有车站主动顶升力确定方法

本发明涉及一种密贴下穿既有车站主动顶升力确定方法,包括以下步骤:获取既有车站和新建车站的设计参数,获取施工场地的地质参数;根据设计参数、地质参数和Mindlin解计算模型,得到既有车站受到主动顶升力的应力解表达式,得出在竖向荷载P的作用下,半无限空间体内任一点的应力解,将竖向荷载P换做作用于既有车站的竖向荷载,并在开挖区域内进行积分,得到既有车站竖向应力解;根据弹性地基梁模型的微分方程得到既有车站挠度与应力解的关系表达式;根据弹性地基梁两端的边界条件,将既有车站受到主动顶升力的应力解表达式,代入到既有车站挠度与应力解的关系表达式中,得到控制既有车站挠度的主动顶升力。

标签:
探矿技术
山东 - 济南 来源:中冶有色网 2023-03-03
基于PCA-KNN的TBM施工围岩综合分级预测方法

本发明公开了一种基于PCA‑KNN的TBM施工围岩综合分级预测方法,采用k近邻算法对所得到的若干主成分变量及对应的综合围岩等级进行训练学习,建立各指标‑综合围岩分级的数学模型;基于训练数据对检测数据提取主成分并用已建立的数学模型验证所建立模型的准确性;获取未开挖掌子面附近进行影响因素指标值,并基于训练数据的平均值和标准差等进行主成分分析,得到相应的主成分后用已获得的数学模型进行TBM施工围岩综合分级预测。本发明克服了岩体条件的不确定性、岩机相互作用的复杂性等带来的困难,有效选取TBM性能及围岩预测的主要影响因素,FPI可以作为联系掘进参数与地质参数的纽带,选取的各地质因素也是影响TBM性能的主要影响因素。

标签:
探矿技术
山东 - 济南 来源:中冶有色网 2023-03-03
利用地下冲洪积扇储存水资源方法及系统

本公开提供一种利用地下冲洪积扇储存水资源方法及系统,涉及水资源利用领域,通过确定工程选址区域并进行探测确定冲洪积扇区域范围及形态;依据水文地质参数,获取储水空间储量;观测并分析冲洪积扇区域与周边水力联系,确定回灌注水速率;依据水文地质参数,确定试验抽水试验时抽水速率;把冲洪积扇作为地下储水空间,充分发挥地下水调蓄作用,储存城市汛期雨水或富余再生水,净化满足标准后回灌至冲洪积扇的储水区域,旱季时抽取此部分水源作为城市用水,解决城市季节性缺水问题。

标签:
探矿技术
山东 - 济南 来源:中冶有色网 2023-03-03
含软夹层的基岩地下水流网探究方法及双胶囊止水器

本发明公开了一种含软夹层的基岩地下水流网探究方法,该方法是利用已完成的水文地质观测孔,根据岩心编录划分裂隙段、岩溶发育、破碎带、溶洞、完整基岩段、塑性岩性段的分布位置,确定孔内塑性岩石、完整脆性岩石的不同深度,从而确定止水位置,然后通过双胶囊止水器和水位测试仪测定不同径流段的水头值,进而绘制地下水流网,分析计算不同深度的地下水径流强度。本发明不需要再另行投入额外的工作专门进行地下水流场勘察,节约经费、提高了工作效率。另外本发明以钻孔内不同径流段的实测水头值为依据,不需要对地质条件进行人为的概化,完全消除以往数值计算或室内实验的误差,精度可靠,取得的成果符合野外实际,具有科学性。

标签:
探矿技术
山东 - 济南 来源:中冶有色网 2023-03-03
减少氮淋溶损失的设施蔬菜施肥方法及其应用

本发明提供了一种减少氮淋溶损失的设施蔬菜施肥方法及其应用,涉及设施蔬菜栽培技术领域;所述施肥方法通过优化化肥施用量以及和肥料增效剂相结合,在实现提高设施番茄产量品质的同时,减少氮素淋溶损失,可操作性强,对于保护地下水环境,提高耕地质量具有重要意义。利用所述施肥方法,单季番茄产量最高达135.80t/hm2,两茬产量最高达342.06t/hm2;在番茄品质研究中,除硝酸盐含量显著降低外(降低量最高达39%),其余品质指标未产生显著性影响;同时还能提高肥料的表观利用率以及肥料偏生产力,降低全氮累积淋溶量(最高降低15.99%);此外在肥料生产或者种植过程中均方便添加,具有非常广阔的应用前景。

标签:
探矿技术
山东 - 济南 来源:中冶有色网 2023-03-03
地下工程中对软弱围岩注浆加固效果的检测与评价方法

本发明公开了一种地下工程中对软弱围岩注浆加固效果的检测与评价方法,它主要由σ-D曲线法、围岩加固平均达标值计算法、注浆加固效果达标率计算法、注浆加固效果指标系数计算法,辅助由钻孔电视与地质雷达组合成像观测法组成。本发明依据的数据全面可靠,不仅能够通过钻孔电视与地质雷达对软弱围岩的浆液扩散及岩层加固情况进行可视化的定性分析,同时通过注浆加固效果指标系数计算法和注浆加固效果达标率计算法定量的得到不同深度围岩整体的加固程度,提高了评估结果的系统性和科学性,为地下工程尤其是在软弱围岩进行注浆加固施工时对于注浆效果的评估提供了依据,可指导对于软弱围岩注浆加固效果的评估工作。

标签:
探矿技术
山东 - 济南 来源:中冶有色网 2023-03-03
基于大数据的土地一体化监测和决策方法、平台

本发明提供一种基于大数据的土地一体化监测和决策方法、平台,涉及数据处理技术领域,包括:基于遥感影像设备获取目标区域的第一遥感图像,对所述第一遥感图像进行分区块处理;确定与第一监测图斑对应的像素时序区间;确定提取第二遥感图像的监测时刻;将监测时刻与像素时序区间比对,得到与监测时刻对应的第一像素范围,若第二遥感图像的像素值不位于第一像素范围内,则输出异常的决策结果,对第二监测图斑在第二遥感图像中突出显示后输出至显示端。本发明解决了无法对土地进行自动分析、监测的问题,使得本发明能够基于遥感图像对土地进行监测的同时,根据时间关系,进行相应的决策提醒,有效辅助用户进行地质监测,提高地质监测效率。

标签:
探矿技术
山东 - 济南 来源:中冶有色网 2023-03-03
临近河道盾构始发端头地层加固方法

一种临近河道盾构始发端头地层加固方法,包括以下步骤:S1、注浆加固;所述的注浆加固包括咬合桩加固、袖阀管注浆加固、大管棚加固,S2、辅助降水;本发明可用于水位较高、非黄土地质、硬土、透水性较弱的地质层、没有加固条件、地层埋深大、地下水压水流大等地区,地层加固效果明显。

标签:
探矿技术
山东 - 济南 来源:中冶有色网 2023-03-03
盾构搭载的非接触式频域电法实时超前探测系统与方法

本发明公开了一种盾构搭载的非接触式频域电法实时超前探测系统与方法,本发明在盾构机刀盘上安装非接触式电极,利用电容耦合发射和接收电流,通过多路回转接头连接到主机,对测量数据实时反演和解释,并将预报结果传输到盾构机控制系统中,为盾构机的安全施工提供技术支撑;在盾构刀盘上安装非接触式电极,避免了传统接触电极耦合困难的问题;同时不需要盾构停机在盾构掘进过程中可实现掌子面前方地质的实时超前探测,满足盾构施工的快速化的需求,大大提高了盾构机超前地质探测的效率,仅在刀盘上安装电极系可有效避免后方金属物的干扰,提高对前方的超前探测能力,更为重要的是克服了刀盘与掌子面空间极为狭小的问题。

标签:
探矿技术
山东 - 济南 来源:中冶有色网 2023-03-03
TBM隧道环境下的瞬变电磁抗干扰探测方法与系统

本发明属于地下工程领域,提供了一种TBM隧道环境下的瞬变电磁抗干扰探测方法与系统。其中,TBM隧道环境下的瞬变电磁抗干扰探测方法包括在掌子面上设置两个相互平行的电偶极子源,并连接这两个电偶极子源,实现瞬变电磁场的发射;在掌子面上的两电偶极子源之间均布若干电场观测点;在每个电场观测点处布设接收电极,并与发射电极连接,形成接收阵列;在两个相互平行的电偶极子源中通电;在电场观测点上采集平行于辐射源方向的二次电场分量,用于对隧洞附近地质体的相关物理参数进行解释。其通过在掘进面上布置多电性辐射源及阵列式的接收电极,能够提高探测深度和信噪比,同时提高不良地质体的分辨率。

标签:
探矿技术
山东 - 济南 来源:中冶有色网 2023-03-03
基于电法和数值模拟的滑坡稳定性评价方法

本发明公开了一种基于电法和数值模拟的滑坡稳定性评价方法,包括以下步骤:基于insar技术开展区域性的地质普查,获得潜在的滑坡区域,利用高密度电法对潜在的滑坡区域进行电法测量,寻找潜在的滑动面;根据测量结果,建立初评系统,对滑坡稳定性进行初步评价,对风险大于设定值滑坡区域进行地质勘查,获得相应的岩石物理力学参数;对风险区域进行数值模拟,获得滑坡的安全系数,对滑坡风险进行二次评价,获取对应模拟工况的滑坡安全系数。

标签:
探矿技术
山东 - 济南 来源:中冶有色网 2023-03-03
铁晶砂胶结岩土相似材料及其制备方法

本发明选择铁矿粉、重晶石粉、石英砂、石膏粉、松香和工业酒精作原材料,研制成铁晶砂胶结岩土相似材料。其中,铁矿粉、重晶石粉和石英砂作为主骨料,松香与酒精配制的溶液作为胶结剂,石膏粉作为调节剂。将铁矿粉、重晶石粉、石英砂、石膏粉和松香酒精溶液按规定的配比称量并充分搅拌均匀,将拌和好的混合料倒入钢制模具内,并在压力机下以一定的压力将混合料压实,然后将模具拆开、取出压制成型的试件,放置在常温下干燥2~3天。力学参数测试表明:材料具有容重高,力学参数变化范围广,制作工艺简单,干燥时间短,价廉易得,没有任何毒副作用且可重复使用等优点。可广泛应用于能源、交通、水利、矿山等领域的岩土工程地质力学模型试验研究,应用前景广阔,经济效益显著。

标签:
探矿技术
山东 - 济南 来源:中冶有色网 2023-03-03
用于模型试验的微型预应力锚索及其埋设和加载方法

本发明涉及一种用于模型试验的微型预应力锚索,包括调节螺栓、钢绞线,调节螺栓的螺母固定在洞室边墙上,螺栓旋入螺母中,共同作为锚索头,钢绞线穿过螺栓,并通过一薄片固定在螺栓头上,钢绞线的另一端与设于模型里面的内锚固段里的弹簧相连接。本发明同时公开了微型预应力锚索的埋设和加载方法。本发明具有以下优点:(1)通过改变钢绞线和弹簧的长度,可以任意调节模型预应力锚索尺寸,满足模型试验相似率要求。(2)通过选择弹簧刚度,可以控制模型预应力锚索的预应力范围,满足模型试验要求。(3)模型锚索的预应力调控方便、准确,可以在较恶劣的工况下使用。(4)可应用于水利、交通、能源、矿山等工程领域岩土地质力学模型试验研究。

标签:
探矿技术
山东 - 济南 来源:中冶有色网 2023-03-03
双向多角度智能翻转模型试验装置及试验方法

本发明公开了一种双向多角度智能翻转模型试验装置及试验方法,包括模型加载反力装置、左右翻转装置、前后翻转装置以及开挖槽,模型加载反力装置可实现1/2缩尺或整体模型尺寸自由组装,左右翻转装置可实现0°-60°范围内的自由定量翻转,前后翻转装置可在0°-90°范围内自由定量翻转,整个系统可同时实现左右和前后多角度组合翻转,且前后反力梁内嵌钢化玻璃实现整个过程的可视化监测,方便模型的制作和试验后模型的取出剖视和保留,实现模拟不同地质条件、不同岩层倾角、不同模型尺寸岩层的变形破坏特征和岩层运动规律。

标签:
探矿技术
山东 - 济南 来源:中冶有色网 2023-03-03
分层多次调压调浆注浆方法

本发明涉及一种分层多次调压调浆注浆方法,包括以下工艺步骤:(1)对加固区域放样,确定止浆带位置及深度;(2)在注浆孔轴线方向,根据不同的地质情况、工程特点要求确定注浆土层分布;(3)在注浆孔轴线方向,根据不同的承压条件,埋设不同数量、不同长度的注浆管,以使浆液在不同的特定部位扩散;(4)对单孔进行多次或对被加固区域土体分序孔进行注浆。本发明具有实质性特点,针对性强,适用于对固定区域进行注浆加固时,特别是对岩溶发育地区、孔隙率大等地质条件下传统注浆方法易跑浆、露浆等问题提供了一种有效的地基处理方法,通过对注浆工艺、注浆材料等技术的改进,解决了原有施工工艺的不足和缺陷。

标签:
探矿技术
山东 - 济南 来源:中冶有色网 2023-03-03
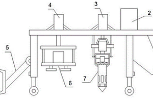
建筑地基勘探采样检测装置

一种建筑地基勘探采样检测装置,包括移动小车,移动小车设置有车顶平板,车顶平板上设置有控制器、蓄电池、电动推杆Ⅰ和电动推杆Ⅱ,电动推杆Ⅰ的下端连接有地质雷达,旋转电机Ⅰ下端连接有采样筒,采样筒内为圆柱形的采样空腔,采样筒的上部侧壁内部沿轴线方向均匀开有若干圆柱形的穿杆空腔,每个穿杆空腔下方的采样筒侧壁上均开有与穿杆空腔、采样空腔相连通的取样口。本发明的有益效果是:能够方便快速地对建筑地基进行地质检测,而且还可以对土壤进行取样,还能实时监测土壤的含水量,并能够在特定含水量的土层取样,取样方便快速,清理比较方便。

标签:
探矿技术
山东 - 济南 来源:中冶有色网 2023-03-03
隧道掘进机破岩震源三维地震超前探测装置及方法

本发明公开了一种隧道掘进机破岩震源三维地震超前探测装置及方法,包括震源传感器阵列、接收传感器及其支撑装置、噪声传感器,以及多通道地震波数据采集仪,多通道地震波数据采集仪,连接震源传感器阵列、接收传感器和噪声传感器,接收地震波信号与噪声源的噪声信号。针对掘进机施工隧道的特殊情况,采用基于独立分量分析理论的震源信号盲源分离方法、震源信号重构方法、以及针对接收传感器信号进行强干扰噪声衰减的方法,最终获得掘进机工作面前方及隧道周围岩体的地质情况及其相应的力学参数,可以实现地质异常体的超前预报,也可以用于评价待开挖区域的围岩质量,为掘进机工作参数优化、保障施工安全提供借鉴。

标签:
探矿技术
山东 - 济南 来源:中冶有色网 2023-03-03
用于凿岩台车的钻孔摄像装置、方法及凿岩台车

本公开提供了一种用于凿岩台车的钻孔摄像装置、方法及凿岩台车,包括:摄像单元、伸缩单元和控制单元;所述摄像单元设置在伸缩单元的自由端,伸缩单元与控制单元通信连接,所述伸缩单元包括多级伸缩杆,所述多级伸缩杆包括多个依次套设的套管;本公开可以在凿岩台车驾驶室内实现对掌子面前方短距离的地质状况的钻孔摄像,实现了对前方不良地质状况的超前预报。

标签:
探矿技术
山东 - 济南 来源:中冶有色网 2023-03-03
上一页 11 12 13 14 15 ... 43 下一页
共43页    到第

中冶有色为您提供最新的山东济南有色金属探矿技术理论与应用信息,涵盖发明专利、权利要求、说明书、技术领域、背景技术、实用新型内容及具体实施方式等有色技术内容。打造最具专业性的有色金属技术理论与应用平台!

全国热门有色金属设备推荐
展开更多 +
全国热门有色金属技术推荐
展开更多 +

 

江西省隆恩特环保设备有限公司
宣传

报名参会
更多+

报告下载

有色专家
更多+

有研科技集团有限公司
中国工程院 院士
南方科技大学
外籍院士
湖南科技大学
所长/教授
赣州有色冶金研究所有限公司
副主任/高级工程师
中国有色金属工业协会
副会长兼秘书长
赤泥综合利用研究报告2025
推广

热门技术
更多+

推荐企业
更多+

福建省金龙稀土股份有限公司
宣传

发布

在线客服

公众号

电话

顶部
咨询电话:
010-88793500-807