青岛垚鑫智能科技有限公司
宣传

位置:中冶有色 >

有色技术频道 >

分类:
全部
矿山技术
冶金技术
材料制备及加工技术
环境保护技术
分析检测技术
 
全部
探矿技术
采矿技术
选矿技术
通用技术
地区:
全部
北京
天津
上海
重庆
河北
山西
辽宁
吉林
黑龙江
江苏
浙江
安徽
福建
江西
山东
河南
湖北
湖南
广东
海南
四川
贵州
云南
陕西
甘肃
青海
内蒙
广西
西藏
宁夏
新疆
其他
其他
展开
 
全部
广州
韶关
深圳
珠海
汕头
佛山
江门
湛江
茂名
肇庆
惠州
梅州
汕尾
河源
阳江
清远
东莞
中山
潮州
揭阳
云浮

广东广州有色金属矿山技术理论与应用

免费发布技术信息>>
TBM掘进不良地质带的超前管棚支护方法

本发明公开了一种TBM掘进不良地质带的超前管棚支护方法,旨在解决TBM过活动断裂带时连续实施超前管棚难度高、风险大及施工效率低的技术问题;本发明的主要包括以下步骤:S1,洞室扩挖;S2,扩挖部分进行锚网喷支护;S3,TBM护盾结构改造;S4,调节钻机位置及角度;S5,超前管棚架设并注浆加固;本发明避免了传统管棚施工时割除拱架导致支护强度变弱的风险,大大提升了TBM通过的时间和效率,安全性高。

标签:
探矿技术
广东 - 广州 来源:中冶有色网 2023-02-28
地质勘探用岩芯钻取装置

地质勘探用岩芯钻取装置,包括钻井钻头、外钻筒、中心供水管和四组取芯组件,中心供水管同中心设置在外钻筒内,钻井钻头固定安装在外钻筒的下端,外钻筒和中心供水管之间的环腔通过四块竖直隔板分隔为四个容纳腔,四组取芯组件分别对应收纳设置在四个容纳腔中,外钻筒的外圆周上圆周阵列设置有若干个支撑机构,中心供水管的下端设置有第一电动截止阀,中心供水管的上端与地面冷却液输送管连接,中心供水管与各组取芯组件之间均连接有冷却液供液管,各根冷却液供液管上均设置有第二电动截止阀。本发明能够一次在四个目标深度层取岩芯,效率高,无需反复提出钻井钻头,工作量小,而且在井壁侧面钻取岩芯,对岩芯进行环切截断,岩芯断面平整。

标签:
探矿技术
广东 - 广州 来源:中冶有色网 2023-02-28
基于地质雷达数据转化地基承载力的方法及系统

本发明提供了一种基于地质雷达数据转化地基承载力的方法及系统,该方法包括地基数据接收步骤和数据处理步骤。本发明的有益效果是:本发明基于探地雷达探测数据,在对地基缺陷进行数据处理和图像解释的基础上,转化为地基承载力数据;结合起重机的实际应用需求,通过探地雷达数据间接判定起重机防倾覆安全。

标签:
探矿技术
广东 - 广州 来源:中冶有色网 2023-02-28
用于隧道超前地质探测的瞬变电磁同步可移动式偶极定位装置

本发明公开了一种用于隧道超前地质探测的瞬变电磁同步可移动式偶极定位装置,包括用于放置于隧道内、且独立设置的发射线圈和接收线圈,发射线圈和接收线圈沿隧道走向间隔设置,且两线圈相平行,其中,接收线圈位于靠近掌子面侧;还包括底部辅助装置,底部辅助装置均包括圆盘,各圆盘的上壁面上设置有两个对称区,两个对称区以圆点为对称中心;沿两个对称区的边缘均间隔开设有多个刻槽,两个对称区内的刻槽位置相对应,位于同一直径的两端的两个刻槽为一组,各组刻槽均用于卡持对应的发射线圈和接收线圈。发射线圈和接收线圈同时按同一角度对掌子面前方进行三维探测,从而实现对隧道掌子面前方含水体位置和形态的准确定位。

标签:
探矿技术
广东 - 广州 来源:中冶有色网 2023-02-28
基于Lora和数传电台的地质灾害监测点的通信装置及方法

本发明公开了基于Lora和数传电台的地质灾害监测点的通信装置,该通信装置应用于监测点,包括数传电台接收模块和Lora模块,数传电台模块、Lora模块分别于监测点中的主控模块电性连接;数传电台接收模块通过接收基准站发送的广播信号,进而获取基准站发送的基础数据,并将基础数据发送给监测点的主控模块,使得主控模块根据监测点监测的数据以及基准站的基础数据根据预存的本地解算系统计算得出解算结果;Lora模块用于将主控模块得出的解算结果以及监测点的参数数据发送给基准站。本发明可在保证低功耗的情况下,保证基准站与监测点之间数据传输的稳定性和安全性。

标签:
探矿技术
广东 - 广州 来源:中冶有色网 2023-02-28
高海拔等恶劣地形地质勘探测绘工作箱

本发明公开了一种高海拔等恶劣地形地质勘探测绘工作箱,包括工作箱,所述工作箱顶部端上设有开口向上的盖板腔,所述盖板腔内底壁上设有开口向上的测绘镜收纳腔,所述测绘镜收纳腔右侧内壁上升与用于电离水的储液腔,所述测绘镜收纳腔左侧内壁上设有用于点火的燃烧室;本发明通过工作箱运输时的动力转换为电能电解水,产生氧气与氢气,使氧气保障高海拔地区工作人员测绘时的供氧安全,同时利用氢气为能源自动展开测绘工作镜与三脚架,便于测绘工作同时氢气点燃后产生的热量能保证工作人员在饭点能吃上热食并有助于工作人员的保暖。

标签:
探矿技术
广东 - 广州 来源:中冶有色网 2023-02-28
三维地质建模中新旧钻孔关联的插值方法

本发明属于三维地质建模领域,具体涉及一种在二次钻孔情况下,基于旧钻孔数据和新钻孔数据的空间插值方法,本方法包括以下步骤:步骤1,基于旧钻孔数据确立统一地层序列;步骤2,基于旧钻孔点位置进行Delaunay三角剖分;步骤3,通过对步骤2所得的三角剖分中的三角形进行边的约束和角度的约束确定插值点,即虚拟钻孔点,并使用合适的插值方法进行插值;步骤4,在旧钻孔点已完成插值的情况下,获得了新钻孔点数据,结合新旧钻孔点数据进行局部重塑步骤3中的三角剖分后完成插值。本发明通过改善Delaunay三角剖分保留部分旧插值点,解决了因新钻孔点的出现而需要重新确定所有空间插值点的问题,从而增加了工作效率,特别是在新钻孔点相对于旧钻孔点比较少的情况下,效果显著。

标签:
探矿技术
广东 - 广州 来源:中冶有色网 2023-02-28
富水层淤泥地质水泥搅拌桩施工方法

本发明公开了一种富水层淤泥地质水泥搅拌桩施工方法,其包括S1:施工准备:提前预制止水板并将止水板运至施工现场;S2:桩机打孔以及安放止水板:桩机移动至打孔位,并将钻头对准打孔位,将若干止水板在桩机的钻杆周侧围成周侧封闭的止水护筒,接着,桩机在对应打孔位钻孔,钻头打至一定深度后停止钻孔,然后将止水护筒下压至施工孔内;S3:安放钢筋笼以及浇筑混凝土:将钢筋笼吊放至施工孔内,然后往施工孔内注入水泥,注浆过程对水泥进行振捣,水泥在圆形止水板围成的区域内凝固成型并形成桩结构。本发明具有减少水层对水泥成型的影响的效果。

标签:
探矿技术
广东 - 广州 来源:中冶有色网 2023-02-28
具有地质识别功能的锚杆钻机

本发明公开了一种具有地质识别功能的锚杆钻机,包括气动锚杆钻机,所述气动锚杆钻机包括驱动总成,所述驱动总成的顶部传动连接有钻杆接头,所述驱动总成的顶部设置有岩质收集观测装置,所述驱动总成的底部设置有支腿,所述驱动总成的一侧转动安装有操纵臂总成,所述支腿的底部通过螺栓组件固定连接有底部接板,所述底部接板的底部设置有支撑座。本发明通过利用滑杆、内衬杆和外套杆的滑动配合,对驱动总成的升降进行导向支撑,使设备工作升降时更加平稳,而通过三个斜支杆底部的抓地板与地面进行接触支撑,以保证设备整体放置的稳定性,进而极大地提高了设备使用的便捷和实用性,保证了设备使用的安全性。

标签:
探矿技术
广东 - 广州 来源:中冶有色网 2023-02-28
地质测绘用摇杆控制装置

本实用新型公开了一种地质测绘用摇杆控制装置,包括遥感控制器、架板、竖杆、卡口板、支撑竖脚、支撑横脚、调整斜杆、固定盘、插脚、扣环、转运带和若干转轴;架板为长方形板体结构;竖杆设置在架板的四个直角处;竖杆的杆体上还设有用于固定转运带的扣环,其中扣环设有开口;支撑竖脚、调整斜杆都为可伸缩的杆体结构,顶部通过转轴与架板进行连接;支撑竖脚的数量为2个。本实用新型结构简单,设计科学合理,可以有效的解决现有的摇杆控制器中缺乏支架、稳固性差、缺乏角度调节功能和转运不方便的问题。

标签:
探矿技术
广东 - 广州 来源:中冶有色网 2023-02-28
生态环境地质勘察取样器

本实用新型公开了一种生态环境地质勘察取样器,包括取样筒与液压取样头,所述取样筒设置在上连接板顶端,所述取样筒内部设置有液压仪,所述液压仪一端设置有液压升降杆,所述液压升降杆另一端设置有电机控制室,所述电机控制室内部设置有驱动电机,所述驱动电机一端转动连接有螺纹杆,所述螺纹杆另一端设置有勘察转头,所述取样筒顶端设置有吸引泵,通过液压升降杆的移动,能够带动一端的电机控制室一移动,从而带动勘察转动移动,当装置处于岩石土壤环境时,通过转动勘察转动进行取样,在装置处于软性土壤环境时,利用设置的吸引泵,通过一端设置的吸引软管对土壤进行取样,通过这种方式,能够极大的扩大装置的适用范围。

标签:
探矿技术
广东 - 广州 来源:中冶有色网 2023-02-28
地质勘察用便携式工具箱

本实用新型公开了一种地质勘察用便携式工具箱,包括有工具箱本体,工具箱本体四角内部竖向滑动连接有伸缩杆件,且工具箱本体底部为开口,便于伸缩杆件的伸缩,伸缩杆件包括有主杆、由上至下依次套设的若干副杆,便于对工具箱本体进行固定支撑,主杆、副杆上端两侧均设置有橡胶球,通过工具箱本体底部设置的伸缩杆件,使用时,将副杆逐个的拉出,并每个橡胶球与凹槽之间卡合,使得多个伸缩杆件之间形成一个固定支架,在收纳时,将副杆逐个收纳,并将收纳后的多个副杆收纳至主杆的内部,随后将主杆向工具箱本体的内部推动,使得主杆收纳至工具箱本体的四角的竖向收纳槽内部,二合一结构,便于携带使用。

标签:
探矿技术
广东 - 广州 来源:中冶有色网 2023-02-28
地质测绘用气压计防尘保护装置

本实用新型公开了一种地质测绘用气压计防尘保护装置,包括本体、电机、液压缸、风机和底座,所述电机输出端与转盘固定连接,所述液压缸输出端固定安装移动块,所述移动块上端固定安装滑块,所述移动块上设有铣槽,所述铣槽内滑动安装滚珠,所述固定板左端内部转动安装转轴,所述第一连杆另一端与第二连杆铰接连接,所述第二连杆另一端与第三连杆铰接连接,所述第三连杆另一端固定安装支撑板,所述吸尘箱左端出口处固定安装风机,所述过滤管右端与吸尘管固定连接,所述吸尘管右侧对应竖直安装气压计,所述气压计底端固定安装在底座内。该实用新型具有可以全方位多角度的进行吸尘的优点。

标签:
探矿技术
广东 - 广州 来源:中冶有色网 2023-02-28
地质单位档案管理用文件存储盒

本申请公开了一种地质单位档案管理用文件存储盒,包括放置箱与盖板,所述放置箱侧壁中心处固定连接T型固定柱,所述放置箱侧壁贴合L型连接板,所述L型连接板固定设有通槽,所述T型固定柱位于通槽内,所述盖板通过合页与放置箱连接,所述放置箱底端中心处固定连接分隔板,所述放置箱底端固定连接支撑腿。通过固定柱与盲孔设置,将盲孔与固定柱设置成为均为“L”形状,使得在施力板受力的作用下,即可将放置箱打开,在施力板不受力时,通过弹簧的作用,即可将放置箱密封,操作较为方便。

标签:
探矿技术
广东 - 广州 来源:中冶有色网 2023-02-28
工程地质勘察用安全防护系统

本申请涉及工程地质勘察用安全防护系统,其包括防护架、用于防御砂石的防护板;所述防护架包括顶架与若干支撑架,其中两所述支撑架相对转动连接于顶架的两端,所述防护板可拆卸安装于顶架,所述支撑架远离顶架的一端设有用于使支撑件移动的滑轮件,所述支撑架的远离滑轮件的一端与顶架的端部铰接,所述支撑架的侧壁铰接有连接片,所述连接片远离支撑架的一端滑动连接于顶架的侧壁,所述顶架设有用于限定连接片滑动的限位组件。本申请具有在一些山洞野外作业增加安全性的效果。

标签:
探矿技术
广东 - 广州 来源:中冶有色网 2023-02-28
用于隧道超前地质预报和隧道无损检测的雷达台车装置

本实用新型公开了一种用于隧道超前地质预报和隧道无损检测的雷达台车装置,包括承载板、第一轮架、第一轮体、第二轮体、第二轮架、第三轮体、第四轮体、探测臂、雷达、控制台和控制电脑,第一轮体和第二轮体设于第一轮架上,第三轮体和第四轮体设于第二轮架上,探测臂包括第一支杆、第二支杆、销轴和液压油缸,第一支杆的一端连接雷达,另一端利用销轴与第二支杆的一端转动连接,第二支杆的另一端固定于承载板上,液压油缸的一端转动连接第一支杆的侧部,另一端转动连接承载板,控制台设于承载板上,控制电脑设于控制台上,雷达与控制电脑电性连接。与现有技术相比,本实用新型通过设置台车避免了工人的高空作业,从而减小了安全隐患。

标签:
探矿技术
广东 - 广州 来源:中冶有色网 2023-02-28
生态环境地质勘查土壤取样装置

本实用新型涉及一种生态环境地质勘查土壤取样装置,包括基座,基座上下贯通有通道,通道内滑动连接有筒形钻头,基座上端面设置有连杆机构,连杆机构包括驱动杆和传动杆,驱动杆的一端与基座上端面铰接,驱动杆套接有滑块,滑块与传动杆的一端铰接,传动杆另一端与筒形钻头的上端面连接。通过采用上述技术方案,通过在基座上下贯通供传动杆穿过的通道,使得传动杆带螺纹的一端通过与筒形钻头的上端面螺纹连接,以贯通于筒形钻头的上端面;通过设置连杆机构,使传动杆、筒形钻头、限位环的轴线均同轴设置,以便于筒形钻头插入土壤,或从土壤中取出,利用杠杆原理,使得操作更加省力,使得操作更加方便、省力和科学。

标签:
探矿技术
广东 - 广州 来源:中冶有色网 2023-02-28
提高地质灾害位移监测精准度的方法、设备、介质及产品

本发明提供提高地质灾害位移监测精准度的方法,包括根据获取的每个历元对应的观测数据构建出不同卫星对应的历元间站间残差方程;将构建的历元间的所有站间卫星差分观测误差方程组通过最小二乘法解算,将解算结果代入至不同卫星对应的历元间站间残差方程中,得到不同卫星对应的验后残差,根据验后残差计算验后标准化残差,将验后标准化残差不小于预设阈值的卫星作为最大残差卫星进行剔除,在当前时段静态滤波完成后,将当前时段的时段信息传递至后一时段的时段信息上,并对后一时段的初始历元坐标参数状态加入预设过程噪声。本发明中的技术方案提高了静态定位整体解精度,满足了不同场景下地灾监测的业务需求。

标签:
探矿技术
广东 - 广州 来源:中冶有色网 2023-02-28
智能地质灾害监测装置
智能地质灾害监测装置 1086     
 0

本实用新型公开了一种智能地质灾害监测装置,包括通过电信号顺序连接的超声波探头、摄像机、超声波测距芯片、摄像信号处理单片机、单片机和通信单元,其中:超声波探头通过发出一组超声波触碰到被监测点地面标志物后返回;超声波测距芯片计算得出超声波探头与地面标志物的距离;所述摄像头用于拍摄被监测点的实况图像发送到所述单片机中;所述单片机对距离数据以及摄影的二进制数据进行打包处理,结合ID信息发送给服务器。本实用新型采用超声波探头监测被监测点发生位移的情况,然后结合摄像头拍摄的实时图片实时监控灾害易发地段的灾害情况,本装置制造成本低,安装方便,使用的范围更为广泛。

标签:
探矿技术
广东 - 广州 来源:中冶有色网 2023-02-28
复杂地质深孔桩施工用跟管钻机

本申请涉及钻孔设备的技术领域,尤其是涉及一种复杂地质深孔桩施工用跟管钻机,包括钻机本体和设置在钻机本体上的钻杆保持架,在钻杆保持架上设置有钻杆和钻头,在钻杆的外部套设有跟管,所述钻杆保持架上设置有用于提升跟管稳定性的稳定装置,所述稳定装置包括稳定框和稳定板,所述稳定板和钻杆保持架连接,所述稳定板背离钻杆保持架的一端和稳定框连接,所述稳定框上设置有抵接组件,所述稳定框和跟管通过抵接组件连接,所述稳定板在钻杆保持架上沿朝向跟管的方向滑动设置,所述钻杆保持架上设置有用于调节钻杆保持架位置的调节装置。本申请具有提升钻孔质量的效果。

标签:
探矿技术
广东 - 广州 来源:中冶有色网 2023-02-28
地质测绘用的测量装置
地质测绘用的测量装置 1166     
 0

本实用新型涉及一种地质测绘用的测量装置,包括底座、支撑杆、顶座、测绘仪器以及加强组件,底座的上表面设有安装块,安装块上设有安装孔;支撑杆的下端插接在安装孔内,支撑杆的上端与顶座连接;测绘仪器可拆卸地连接在顶座上;加强组件包括连接块、第一加强条和第二加强条,支撑杆的表面上设有滑槽,滑槽内可滑动地设有滑块,连接块与滑块连接,第一加强条和第二加强条对称设置在支撑杆的两侧,第一加强条的一端和第二加强条的一端分别与连接块的两端连接,第一加强条的另一端和第二加强条的另一端均可滑动地连接在底座的上表面。本实用新型通过第一加强条和第二加强条的设置可以增强支撑杆的稳定性,避免出现晃动,提高了测量的准确性。

标签:
探矿技术
广东 - 广州 来源:中冶有色网 2023-02-28
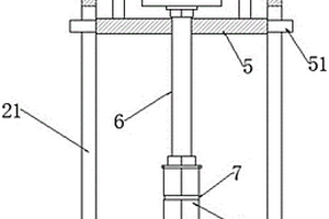
地质勘探用岩土取样装置

本实用新型涉及一种地质勘探用岩土取样装置,包括底座、左/右侧板、钻机、取样筒、滑座和传动杆;左/右侧板垂直开设有两条平行的滑槽,滑座通过滑槽水平架设在左/右侧板之间,滑座上固定钻机,钻机转轴向下穿过滑座后与传动杆连接,传动杆末端连接取样筒,取样筒贯穿底座后其筒口垂直朝下;取样筒由对称的左右半圆筒组成,其径向开设有一圈凹槽,凹槽内固定抱箍用于完成左右半圆筒固定,取样筒外壁设置有凸起的外螺纹,取样筒内壁设置有与外螺纹螺旋方向相同的螺纹槽,螺纹槽内按螺旋方向设置有倒齿,本方案通过在取样筒内外设置螺纹的形式,使得取样筒以反转方式退出取样,可避免样品无法与岩石层断裂的问题,从而实现一次性取样。

标签:
探矿技术
广东 - 广州 来源:中冶有色网 2023-02-28
地质勘探用易于检修维护的钻机

本实用新型公开了一种地质勘探用易于检修维护的钻机,包括底座,所述底座的顶部固定安装有滑杆,且滑杆上滑动安装有安装架,所述安装架上固定安装有钻机主机,且钻机主机上设有油箱,所述钻机主机的底部转动安装有固定座,且固定座上设有固定轴,所述固定座内固定安装有钻杆,且钻杆的底部固定安装有钻头,所述底座的一侧固定安装有调节杆。本实用新型设置有移动轮与手拉杆配合,可以对钻机进行移动,同时工作人员通过手拉杆可以对钻机进行拉移,便于工作人员对钻机进行移动,设置有牵引座与牵引销配合,便于钻机与外部的动力装置连接,从而通过动力装置可以对钻机进行拉移,使钻机更加便于使用,扩大了适用范围,便于推广使用。

标签:
探矿技术
广东 - 广州 来源:中冶有色网 2023-02-28
用于不良地质路段高边坡滑坡的加固处理装置

本实用新型公开了一种用于不良地质路段高边坡滑坡的加固处理装置,包括边坡和位于边坡一侧的固定座,所述固定座的顶部固定安装有防护板,防护板与边坡相接触,所述防护板上安装有多个固定板,固定板上螺纹安装有丝杠,丝杠的一端固定安装有第一锥头,所述固定座靠近边坡的一侧开设有移动槽,移动槽内滑动安装有移动板,所述移动板靠近边坡的一侧固定安装有移动柱,移动柱远离移动板的一侧固定安装有第二锥头,移动柱与边坡相配合,所述移动板远离移动柱的一侧固定安装有齿条,所述固定座的顶部开设有第一通孔。本实用新型便于将防护板安装在边坡上,通过防护板对边坡进行防护,省时省力,结构简单,使用方便。

标签:
探矿技术
广东 - 广州 来源:中冶有色网 2023-02-28
山洪泥石流地质灾害监控预警装置

本发明涉及山洪泥石流地质灾害监控预警装置,包括底盘,底盘的顶部固定连接有第一固定杆,底盘的顶部且位于第一固定杆的一侧固定连接有横截面为矩形的第二固定杆,第二固定杆的外表面活动套接有滑动套,滑动套远离第一固定杆的一侧表面固定连接有固定环,固定环的内部固定套接有盛水器,盛水器的顶部螺纹连接有滤框,滤框的内部活动卡接有滤网,滑动套靠近第一固定杆的一侧表面固定连接有连接块,连接块的顶部固定连接有弹性组件,本发明盛水器的顶部安装有滤网,能够大大减小树叶等杂物落入盛水器内部的情况,防止雨水对盛水器内部的造成影响的同时,方便对盛水器进行拆卸,便于对底盘上的翻斗等进行清理。

标签:
探矿技术
广东 - 广州 来源:中冶有色网 2023-02-28
基于最大熵模型的地质灾害生态安全评价模型的构建方法

本发明公开了基于最大熵模型的地质灾害生态安全评价模型的构建方法,包括:(1)通过MAXENT模型将对象已知分布点的像元作为样点,根据样点像元的环境变量得出约束条件;(2)滑坡数据;(3)环境变量数据;(4)土壤质地与土壤类型数据;(5)岩性因子数据;(6)NDVI数据;(7)道路及河流数据;(8)分析。本发明的滑坡灾害分布模型中,加入建设用地距离变量的预测模型,其滑坡高敏感和极高敏感区域范围更小,高敏感区域的范围会更精确的锁定在建设用地周围。

标签:
探矿技术
广东 - 广州 来源:中冶有色网 2023-02-28
多功能地质勘查钻探装置

多功能地质勘查钻探装置,包括钻井钻头、外钻筒、中心供水管和四组取芯组件,中心供水管同中心设置在外钻筒内,钻井钻头固定安装在外钻筒的下端,外钻筒和中心供水管之间的环腔通过四块竖直隔板分隔为四个容纳腔,四组取芯组件分别对应收纳设置在四个容纳腔中,外钻筒的外圆周上圆周阵列设置有若干个支撑机构,中心供水管的下端设置有第一电动截止阀,中心供水管的上端与地面冷却液输送管连接,中心供水管与各组取芯组件之间均连接有冷却液供液管,各根冷却液供液管上均设置有第二电动截止阀,钻井钻头的底部设有若干个旋转破碎机构。本发明能够一次在四个目标深度层取岩芯,效率高,岩芯断面平整,能提高对坚硬岩石的切削钻进效果。

标签:
探矿技术
广东 - 广州 来源:中冶有色网 2023-02-28
具有土壤取样功能的路政地质勘测仪器

本实用新型涉及一种具有土壤取样功能的路政地质勘测仪器,包括驱动电机、集料盘、护套和螺旋轴,所述驱动电机固定在集料盘上部中心位置,所述护套固定在集料盘下部中心位置,所述螺旋轴上部依次穿过护套和集料盘与驱动电机传动连接,所述护套外侧的集料盘底部安装有多个可拆卸的储样瓶,所述螺旋轴处于集料盘内的部位安装有两片分料叶片,所述驱动电机带动螺旋轴转动使得土壤顺着护套进入到集料盘内,而水平转动的分料叶片将集料盘内的土壤扫入到储样瓶内。应用本实用新型技术方案的仪器能够自动化进行土壤取样,使用方便可靠,容易维护。

标签:
探矿技术
广东 - 广州 来源:中冶有色网 2023-02-28
富水地质条件下公路隧道道面排水结构

本实用新型公开了一种富水地质条件下公路隧道道面排水结构,包括开设在地面上的下水井,所述下水井上设有凹槽,凹槽的底部内壁上放置有沉积板,沉积板的顶部开设有沉积槽,沉积板的顶部四角均焊接有倾斜设置的支撑杆,四个支撑杆的顶端焊接有同一个拉杆,拉杆上固定连接有拉绳,所述凹槽的一侧内壁上开设有放置槽,拉绳远离拉杆的一端延伸至放置槽内并固定连接有提拉环,所述放置槽的顶部内壁上开设有一侧设置开口的转动槽,放置槽的底部内壁上开设有卡槽。本实用新型结构简单,操作方便,便于解除对挡板的固定,工人能够通过提拉环和拉绳将沉积板从下水井内取出,便于工人对淤泥进行清理,有利于人们的使用。

标签:
探矿技术
广东 - 广州 来源:中冶有色网 2023-02-28
用于特殊地质的预应力混凝土管桩的基础结构

本实用新型涉及用于特殊地质的预应力混凝土管桩的基础结构,其基础结构包括沉管(1),其特征在于:在沉管(1)的内底端部设置具有防止沉管外部往内渗水及防止管内混凝土砂浆向外渗水功能的防水层(2),在防水层(2)的上表面设置细石混凝土层(4),形成具有底部防水结构的预应力混凝土管桩。本实用新型有效的防止水分外流处管桩端导致岩土层的软化具有增加管桩基础的承载力,提高管桩基础的稳定性,同时沉降小、避免管桩基础产生倾斜或折断的现象。

标签:
探矿技术
广东 - 广州 来源:中冶有色网 2023-02-28
上一页 70 71 72 73 74 ... 87 下一页
共87页    到第

中冶有色为您提供最新的广东广州有色金属矿山技术理论与应用信息,涵盖发明专利、权利要求、说明书、技术领域、背景技术、实用新型内容及具体实施方式等有色技术内容。打造最具专业性的有色金属技术理论与应用平台!

全国热门有色金属设备推荐
展开更多 +
全国热门有色金属技术推荐
展开更多 +

 

江西省隆恩特环保设备有限公司
宣传

报名参会
更多+

报告下载

有色专家
更多+

中国瑞林工程技术有限公司
中国工程院院士
中国矿业大学
副院长/教授
中国有色金属工业协会
副会长兼秘书长
北京科技大学、中国科学院
院士
北京工业大学、中国工程院
中国工程院 院士
赤泥综合利用研究报告2025
推广

热门技术
更多+

推荐企业
更多+

福建省金龙稀土股份有限公司
宣传

发布

在线客服

公众号

电话

顶部
咨询电话:
010-88793500-807