青岛垚鑫智能科技有限公司
宣传

位置:中冶有色 >

有色技术频道 >

> 化学分析技术

分类:
全部
矿山技术
冶金技术
材料制备及加工技术
环境保护技术
分析检测技术
 
全部
物理检测技术
化学分析技术
力学检测技术
无损检测技术
失效分析技术
环境检测技术
地区:
全部
北京
天津
上海
重庆
河北
山西
辽宁
吉林
黑龙江
江苏
浙江
安徽
福建
江西
山东
河南
湖北
湖南
广东
海南
四川
贵州
云南
陕西
甘肃
青海
内蒙
广西
西藏
宁夏
新疆
其他
其他
展开
 
全部
南京
无锡
徐州
常州
苏州
南通
连云港
淮安
盐城
扬州
镇江
泰州
宿迁

江苏无锡有色金属化学分析技术理论与应用

免费发布技术信息>>
磁微粒化学发光法地高辛测定试剂盒及其使用方法

本发明公开了生物化学相关技术领域的一种磁微粒化学发光法地高辛测定试剂盒及其使用方法,包括相互独立包装的荧光素地高辛鼠单克隆抗体、碱性磷酸酶标记地高辛衍生物、鼠抗荧光素单克隆抗体磁珠、校准品和质控品;采用磁微粒碱性磷酸酶酶促化学发光法在临床上检测血药浓度中的地高辛,具有方法简便、自动化强、时间短、试剂稳定时间长的优点。

标签:
化学分析
江苏 - 无锡 来源:中冶有色网 2023-03-19
胃黏膜样品中幽门螺旋杆菌的化学发光免疫测定法

本发明涉及一种胃黏膜样品中幽门螺旋杆菌的化学发光免疫测定法,包括以下步骤:(a)制作带检测物质的样品稀释液、(b)抗体-抗原复合体的形成、(c)把步骤(b)的样品和步骤(b)所得到的抗体-抗原复合体进行分离、(d)抗体-抗原-抗体复合体的形成、(e)发光底物的添加和(f)测定标记的抗体的量,所述样品稀释液含有蛋白质和碱性物质,样品稀释液的pH在8.0~10之间。本发明胃黏膜样品中幽门螺旋杆菌的化学发光免疫测定法通过含有蛋白质和碱性物质的样品稀释液,保证了试验结果的准确性,同时采用的发光底物成本低廉,而复合型增强剂使光信号增强而持久。

标签:
化学分析
江苏 - 无锡 来源:中冶有色网 2023-03-19
汞离子的光电化学测定
汞离子的光电化学测定 1125     
 0

本发明提供汞离子的光电化学测定。水溶性ZnX(X代表硫、硒)量子点可以修饰到ITO电极表面,在一定缓冲条件和一定浓度电子供体的存在下,光照后可以产生光电流但电流值较小,然后当加入Hg2+之后,光电流强度升高,从而使Hg2+得到测定。与最常用的通过分光光度法、原子吸收或原子发射光谱法测定汞离子相比,本发明使用的仪器设备比较简单和廉价,并且能够提高汞离子测定的选择性,常见的共存离子Ag+、Cu2+、Pb2+等在较高浓度时也不干扰测定。据我们所知,基于量子点纳米材料的光电化学方法还没有应用于汞离子的测定中。本发明能够对Hg2+实现高灵敏和高选择性测定,线性范围为1.0×10-8mol/L到1.0×10-5mol/L,检测限为4.6×10-9mol/L。

标签:
化学分析
江苏 - 无锡 来源:中冶有色网 2023-03-19
用于测定有机溶剂中微量水的铱配合物电致化学发光试剂盒

本发明属于一种灵敏快速检测有机溶剂中微量水的电致化学发光试剂盒研制,试剂盒中包含高效发光物质铱配合物,支持电解质四丁基六氟磷酸铵以及氢氧化钠。仅需将试剂盒中物质完全溶解于一定量有机溶剂中,通过测量电化学发光强度即可测得其中的水含量。其特点是灵敏度高、响应快速、经济实用,而且检测限特别低。

标签:
化学分析
江苏 - 无锡 来源:中冶有色网 2023-03-19
金属材料或表面镀层电化学性能测试用工作电极制备装置

本实用新型涉及一种金属材料或表面镀层电化学性能测试用工作电极制备装置,属于金属材料电化学性能检测的技术领域。它包括有机玻璃外腔体,所述有机玻璃外腔体内部设置有不锈钢内腔体;所述有机玻璃外腔体的左侧设置样品口,顶部开设圆孔;测试样品设置在有机玻璃外腔体左侧的样品口内,所述测试样品的背端设置有样品锁紧螺丝,所述样品锁紧螺丝设置在不锈钢内腔体内;所述有机玻璃外腔体的顶部圆孔内设置有导电杆,所述导电杆的外侧包裹设置有绝缘保护套;所述不锈钢内腔体的开口侧设置腔体绝缘密封盖。本实用新型能快速、便捷、高效的制备出电化学测试需要的工作电极。

标签:
化学分析
江苏 - 无锡 来源:中冶有色网 2023-03-19
同时测定苏木精和巴西苏木素含量的电化学传感器

一种同时测定苏木精和巴西苏木素含量的电化学传感器,其特点为用对聚对氨基苯磺酸/铂纳米线-碳纳米管复合膜修饰电极作工作电极的三电极体系,在pH=3-11的缓冲溶液中,温度为20-80℃,扫描速度为30-600mv/s,测量不同浓度的苏木精和巴西苏木素中的CV曲线,以获得线性响应关系和检测下限等,此电化学传感器可同时检测溶液中苏木精和巴西苏木素的含量。

标签:
化学分析
江苏 - 无锡 来源:中冶有色网 2023-03-19
航空化学镀镍工艺用结合力测试专用工装

本实用新型涉及航空化学镀镍工艺用结合力测试专用工装,包括固定板、固定夹持块和转动夹持块;固定板通过螺丝固定在外部的工作台上,固定板的中心位置竖直向上设有转轴;固定夹持块固定在固定板上,且位于转轴的一侧,固定夹持块上与待检测的镀镍航空零件检测片相接触的侧面上通过螺栓设有垫板,转动夹持块上与垫板上的螺栓相对应的位置处设有放置槽;转动夹持块的底部一端设有与转轴相配合的铰接孔,转动夹持块通过铰接孔转动设置在转轴上,转动夹持块上远离转轴的一端设有把手。本实用新型提供的航空化学镀镍工艺用结合力测试专用工装,可以按照标准里的相关要求对检测试片进行180度弯折,操作简单快捷。

标签:
化学分析
江苏 - 无锡 来源:中冶有色网 2023-03-19
基于分子印迹技术测定氨基甲酸乙酯的电化学传感器

本发明涉及一种基于分子印迹技术测定氨基甲酸乙酯(Ethyl?Carbamate,EC)的电化学传感器,属于电化学、食品安全检测领域。其原理是将含有EC模板分子的分子印迹液滴涂在电极表面形成分子印迹电化学传感器,将模板洗脱后该传感器对EC有很好的选择性响应。传感器制作方法简单、廉价,为发酵食品和酒饮料中EC的检测提供方法,应用前景广阔。

标签:
化学分析
江苏 - 无锡 来源:中冶有色网 2023-03-19
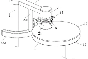
化学机械研磨设备防碰撞侦测系统

本发明属于化学机械研磨设备技术领域,具体的说是化学机械研磨设备防碰撞侦测系统,包括支撑单元和打磨单元;支撑单元包括转轴、转盘和研磨垫;支撑单元的一侧打磨单元;打磨单元包括转动杆、横杆、电机和研磨头;电机与研磨头之间设有圆柱形状的基板;基板的下端面与研磨头的上端面之间留有间隙,基板的外圈上设有距离传感器;在研磨头一旁安置距离传感器,实时检测研磨垫用调节器与研磨头之间的距离,一旦距离传感器检测距离小于用户设置的安全距离时,危险距离信息传到操控电脑上,操控电脑将信号反馈给研磨垫用调节器的驱动器,电机停止工作,报警并对检修和清理研磨垫上的金属碎屑。

标签:
化学分析
江苏 - 无锡 来源:中冶有色网 2023-03-19
基于线性传感器的电化学原位监测装置

本实用新型提供了一种基于线性传感器的电化学原位监测装置,属于电池领域,其包括上模具、下模具、密封圈和绝缘套,下模具中央开槽,开槽底部设置有绝缘套,开槽内设置待检测的电化学单元,电化学单元位于绝缘套之上,绝缘套之上且位于上、下模具之间设置有密封圈,上模具和下模具之间连接固定,下模具上设置有容置线性传感器的通孔和电极孔。下模具中央开槽为圆形台阶状,具有多种不同直径,直径最小的开槽里固定外界的锂金属负极,直径中等大小的槽开放置带检测的电化学单元,直径最大开槽里放置密封圈。本实用新型将线性传感器简单方便的集成在电池内部,能够对电池中发生的电化学反应原位进行机理研究。

标签:
化学分析
江苏 - 无锡 来源:中冶有色网 2023-03-19
混合菌体结合电化学技术测定水体中IC50值的方法

一种混合菌体结合电化学技术测定水体中IC50值的方法,它涉及一种测定水体毒性的方法。本发明的目的是要解决现有检测水体毒性的方法存在耗时长,费用高和应用范围狭窄的问题。方法:一、标准电流输出值的测定;二、加入毒性物质后的电流输出值测定;三、计算IC50值,通过IC50值评价水体中毒性的大小,即完成一种混合菌体结合电化学技术测定水体中IC50值的方法。本发明操作简单,省时低耗,避免了由于生物检测水体毒性引起的道德争议,并且能够实现在线实时监测;在废水处理,生活用水和食用液体质量的检测领域具有潜在的应用价值。本发明可获得一种混合菌体结合电化学技术测定水体中IC50值的方法。

标签:
化学分析
江苏 - 无锡 来源:中冶有色网 2023-03-19
谷丙转氨酶干化学法快速测定试剂条及其制造方法

本发明公开了谷丙转氨酶干化学法快速测定试剂条及其制造方法。目的是提供一种能快速半定量/定量检测谷丙转氨酶在人体内的含量是否正常的试剂条及其制造方法。检测谷丙转氨酶(GPT)的试剂条,包括用来支撑整个反应的PVC硬质板条,板条上带有吸附着L-丙氨酸和丙酮酸氧化酶、Α-酮戊二酸的载体膜。本发明的产品为一次性检测用耗材,属于快速微量检测。GPT的检测范围为:0~1000U/L,对于快速判断人体内GPT的含量具有重要意义。

标签:
化学分析
江苏 - 无锡 来源:中冶有色网 2023-03-19
同时测量苯二酚三种异构体的电化学方法

一种同时测量苯二酚三种异构体的电化学方法,包括以下步骤,(1)制备了石墨烯/碳纳米管/壳聚糖/离子液体多层膜修饰玻碳电极;(2)支持电解质为弱酸性缓冲溶液;(3)循环伏安实验条件,扫描电压范围为-0.5V~1.0V,扫描速度为100mV/s,苯二酚三种异构体的峰电位分别为0.08V,0.21V,0.68V,利用峰电流的增加与苯二酚三种异构体的浓度呈很好的线性关系同时进行定量分析。该方法制备的多层膜修饰玻碳电极灵敏度高、选择性好、线性范围宽,不需预先分离,可用于环境水样中苯二酚三种异构体的同时快速测定。

标签:
化学分析
江苏 - 无锡 来源:中冶有色网 2023-03-19
测量邻苯二酚的电化学方法

一种测量邻苯二酚的电化学方法,包括以下步骤,(1)制备了石墨烯/壳聚糖/离子液体多层膜修饰玻碳电极;(2)支持电解质为弱酸性缓冲溶液;(3)循环伏安实验条件,电压范围为-0.4V~1.1V,电流范围为±10μA,静置时间为5s,扫描速率为200mV/s,利用峰电流的增加与邻苯二酚的浓度呈很好的线性关系进行定量分析。该方法制备的多层膜修饰玻碳电极灵敏度高、选择性好、线性范围宽,不需预先分离,可用于环境水样中邻苯二酚的快速测定。

标签:
化学分析
江苏 - 无锡 来源:中冶有色网 2023-03-19
合金渣料中化学成分快速测定用样品制备方法

本发明涉及一种合金渣料中化学成分快速测定用样品制备方法,包括以下步骤:选料、在碱性清洗液中加热超声清洗、纯水清洗、在有机试剂中超声清洗、负压条件下和惰性气体气氛中熔化制样和打磨及抛光步骤。本发明的方法步骤简单、操作方便,易于制备成满足光谱或质谱分析的块状样品;熔炼样品数量多,可用于合金渣料的均匀性分析。

标签:
化学分析
江苏 - 无锡 来源:中冶有色网 2023-03-19
测量油脂氧化诱导时间的电化学方法

一种测量油脂氧化诱导时间的电化学方法,包括以下步骤,电沉积还原石墨烯悬浮液制备了石墨烯修饰电极;将待测油脂用支持电解质溶液稀释,将稀释液加入电解池中,组成三电极系统(工作电极为石墨烯修饰电极、对电极为铂片电极、参比电极为甘汞电极)调节扰动电压和频率,测量并记录交流阻抗谱;通过阻抗谱的等效电路求出溶液的阻抗值;通过双切线法即可准确地求得油脂的氧化诱导时间。该方法制备的石墨烯修饰玻碳电极可快速准确地测量油脂氧化过程中阻抗值的变化,从而建立了一种简便、灵敏和准确地测量油脂氧化诱导时间的电化学分析方法。

标签:
化学分析
江苏 - 无锡 来源:中冶有色网 2023-03-19
全谱直读光谱仪测量化学元素的方法

本发明涉及一种全谱直读光谱仪测量化学元素的方法,所述方法包括:使用全谱直读光谱仪对样品进行分析,所述对样品进行分析中包括:调用分析曲线,激发样品;采集光谱;进行数据预处理;通过寻峰法计算参考谱线的标定位置与谱线峰值的偏移量并以所述的偏移量作为分析谱线的偏移量;根据分析谱线的偏移量对分析谱线进行偏移修正;计算谱线强度,带入分析曲线,计算得到元素的含量。本发明根据测试时在标定时参考谱线的峰值位置处的值,通过寻峰法计算测试时参考谱线的峰值位置与标定时参考谱线的峰值位置的偏移量。根据所述偏移量能够实时校正分析谱线的位置,减小了光谱位置偏移对分析数据的影响,提高了分析数据的稳定性和准确性。

标签:
化学分析
江苏 - 无锡 来源:中冶有色网 2023-03-19
利用电化学传感器测量气体浓度的装置

一种利用电化学传感器测量气体浓度的装置,由样品室、小气室、电化学传感器、泵及阀门组成,所述样品室,电化学传感器,泵及阀门由管路连接成循环气路,在循环气路中,电化学传感器与泵串联,在泵与电化学传感器的另一端通过阀门并联一小气室,其体积小于样品室的1/10;所述样品室为细长管路,体积大于循环气路总体积的95%,分析时气体在其中的流动为活塞流,用于储存待分析流体样品;所述电化学传感器封闭于循环流路中,用于测量响应信号及对待测电化学活性组分进行电解;所述泵用于推动流体在循环流路中循环流动,可至少两次通过传感器。

标签:
化学分析
江苏 - 无锡 来源:中冶有色网 2023-03-19
血清中3,5,3’-三碘甲腺原氨酸的化学发光免疫测定方法

本发明涉及一种血清中3,5,3’-三碘甲腺原氨酸的化学发光免疫测定方法,包括T3标准品制备、酶标记物的制备和稀释、包被抗原成为预包被反应板、发光底物液的制备和浓缩洗液的制备等步骤。本发明血清中3,5,3’-三碘甲腺原氨酸的化学发光免疫测定方法在酶免疫分析基础上结合了化学发光技术使得检测灵敏度和检测范围得到大幅度提高,同时也改变了传统的化学发光底物液的局限性,不再把两种发光底物液进行混合后使用,而只使用一种发光底物液,使操作变的更简单,为产品的大规模生产和临床应用带来更大的方便性和灵活性。

标签:
化学分析
江苏 - 无锡 来源:中冶有色网 2023-03-19
存储半导体超纯化学品的泄漏自检型储罐

本实用新型涉及存储半导体超纯化学品技术领域,且公开了存储半导体超纯化学品的泄漏自检型储罐,包括矩形底板和圆形底座,矩形底板位于圆形底座的右方,矩形底板的左面与圆形底座的右面固定连接在一起,圆形底座的上表面内凹有一个圆形凹孔,形凹孔的内部设置有一个储罐,该新型自锁螺母存储半导体超纯化学品,通过电机的旋转带动转轴的旋转,竖杆三的上下移动带动横杆四的上下移动,横杆四的上下移动带动圆环的上下移动,圆环的上下移动在配合圆环内壁上的激光检测扫描仪,可对储罐进行检测扫描,当储罐有泄漏的地方,激光扫描仪第一时间就能发现并触发报警装置,使工作人员第一时间发现,避免危险的发生。

标签:
化学分析
江苏 - 无锡 来源:中冶有色网 2023-03-19
化学发光类试剂盒质控品检验方法

本发明公开了一种化学发光类试剂盒质控品检验方法,包括将待测质控品分为两组,在不同时间或不同仪器下分别测定待检的质控品、工作参考品和参考质控品的发光值;以工作参考品的曲线拟合待检质控品及参考质控品,计算出待检质控品及参考质控品的值,保证待检质控品拟合浓度的值与理论浓度的偏差在±10%范围内;以参考质控品为标准,计算待检质控品的值与参考质控品的偏差,保证待检质控品拟合的值与参考质控品的偏差在±10%范围内;以及赋值和验证等步骤。本发明的检验检验方法可以合理准确给出化学发光类试剂盒质控品的范围,能有效的监控临床检验试剂的测试值;且相对于以往采用的检验方法具有成本低、效率高、赋值准确、利于大批量生产的优点。

标签:
化学分析
江苏 - 无锡 来源:中冶有色网 2023-03-19
基于纳米TiO2光催化氧化-KMnO4化学发光法测定化学需氧量的方法

基于纳米TiO2光催化氧化-KMnO4化学发光法测定化学需氧量的方法,属于水环境监测分析领域。将具有催化效果的TiO2薄膜固定在石英盘管内,并将紫外灯管套在盘管内部。当水样流经盘管时会受到TiO2的光催化氧化作用,之后与酸性高锰酸钾混合发光。通过采集的光信号对水样的COD值进行测量。

标签:
化学分析
江苏 - 无锡 来源:中冶有色网 2023-03-19
具有泄露监测报警功能的六氟化硫气体分析装置

本实用新型公开了一种具有泄露监测报警功能的六氟化硫气体分析装置,包括外壳和电化学式气体分析仪,所述外壳的上端外表面设置有报警灯,所述外壳的上端外表面位于报警灯的一侧的位置设置有信号发射器,所述外壳的一侧外表面设置有气体入口,所述外壳的一侧外表面位于气体入口的下方设置有电源接口。本实用新型所述的一种具有泄露监测报警功能的六氟化硫气体分析装置,能够快速分析出空气中的SF6气体含量,当含量超标时能快速报警和将检测报告发送到其他设备,并能准确的检测出空气中的SF6气体含量,避免出现错误检测,还可以节省电力资源,不用经常更换电解液,使用方便,带来更好的使用前景。

标签:
化学分析
江苏 - 无锡 来源:中冶有色网 2023-03-19
30CrMo阀体热处理裂纹的检验分析方法

本发明涉及一种30CrMo阀体裂纹检验分析方法,通过超声波对阀体锻坯进行探伤,探伤进行两次,一次探伤在阀体锻坯热处理前,另一次探伤在阀体锻坯热处理后,阀体为十字阀,其特征在于,包括如下步骤:S1:将进行分区编号;通过超声波对进行阀体锻坯的各个区域进行探伤;S2:对有缺陷的区域进行数据统计,统计内容包括缺陷大小、缺陷深度、底波和代表性波形;S3:对阀体锻坯进行取样检测与分析,判断钢锭的化学成分、力学性能和金相组织是否达标;S4:根据S2、S3的分析结果判断阀体出现裂纹与阀体制造工艺的哪个步骤有关。本发明避免钢锭的浪费,提高了锻造效率,节约了锻造的人工成本和时间成本。

标签:
化学分析
江苏 - 无锡 来源:中冶有色网 2023-03-19
可以同时检测多巴胺和扑热息痛的碳纳米管复合材料电化学传感器的制备

本发明提供了一种双亲光电活性功能支化大分子修饰碳纳米管制备碳纳米管复合材料及其应用于电化学传感器的制备方法,属于大分子自组装和复合材料电化学传感器领域,由以下步骤制备而得:1)首先合成了一种双亲光电活性支化功能大分子;2)将合成的功能大分子用于修饰碳纳米管制备可水分散的碳纳米管复合材料;3)将碳纳米管复合材料分散液滴到干净的电极表面,通过紫外光照交联成膜;4)将修饰后的电极插在高氯酸锂/乙腈溶液中电聚合制备得到碳纳米管复合材料电化学传感器。该方法采用水做溶剂,节能环保,且制得的纳米复合材料传感器稳定性好,灵敏度高、延长了使用周期。

标签:
化学分析
江苏 - 无锡 来源:中冶有色网 2023-03-19
CuS/GO/MWCNTs复合纳米粒子修饰电极的制备方法及其产品、应用

本发明公开了一种CuS/GO/MWCNTs复合纳米粒子修饰电极的制备方法及其产品、应用,其包括,多壁碳纳米管的活化:将多壁碳纳米管在H2SO4/HNO3混合溶液中活化,稀释、过滤、干燥;CuS/GO/MWCNTs复合材料的制备:称取经过活化的多壁碳纳米管溶于水,加入氧化石墨烯溶胶,超声分散得到均匀的溶液,加入硝酸铜、聚乙烯吡咯烷酮和硫脲,搅拌,加热进行反应,反应后冷却、洗涤、干燥,得到所述CuS/GO/MWCNTs复合材料。本发明对过氧化氢有非常好的检测效果,检测底限0.6μM,线性检测范围0.45mM~60mM,应用电位低:‑0.31V,检测的灵敏度高达386μA/(mM·cm2)。

标签:
化学分析
江苏 - 无锡 来源:中冶有色网 2023-03-19
用于呼气检测的NO电化学传感器

本发明公开了一种高选择性、高稳定性的用于呼气检测的NO电化学传感器。该传感器由过滤层、壳体、工作电极、对电极、参比电极及电解液组成三电极体系,其特征在于:置于传感器进气处的过滤层为可以同时吸附VOC和硫化物的负载锌铜镁的碳材料,传感器壳体底部是封闭式的。

标签:
化学分析
江苏 - 无锡 来源:中冶有色网 2023-03-19
基于铂包金纳米探针的肿瘤标志物的电化学检测方法

本发明涉及基于铂包金纳米探针的肿瘤标志物的电化学检测方法。本发明通过金种介导生长法合成对过氧化氢(H2O2)具有优异催化活性的核壳结构的纳米探针Au@Pt。纳米探针Au@Pt可以通过与巯基化的癌坯抗原(CEA)适配体Apt‑II直接偶联,形成对CEA的识别元件及信号输出的纳米信号探针Apt‑II‑Au@Pt。当肿瘤标志物CEA存在时,修饰在电极表面的发夹结构的捕获探针(Apt‑I)特异性捕获CEA,此时CEA可以作为纳米信号探针的识别位点,从而形成Apt‑I/CEA/Apt‑II‑Au@Pt的三明治结构。最终通过Apt‑II‑Au@Pt催化H2O2产生电流信号指示CEA的浓度信息。

标签:
化学分析
江苏 - 无锡 来源:中冶有色网 2023-03-19
放射化学纯度检测用层析纸晾干架

本实用新型涉及一种放射化学纯度检测用层析纸晾干架,包括固定件,所述固定件上开设有多个固定孔,所述固定孔穿透固定件的顶壁和底壁;多个框架,和固定孔对应设置,所述框架其中一边上设有缺口,所述固定件位于缺口内,所述缺口处的框架边从固定孔的两端伸入到固定孔内,所述框架在固定件上水平转动;夹持件,设置在所述框架内,每个所述框架至少设置有两个,适于对层析纸进行夹持固定,本实用新型具有收缩了晾干架整体的体积,方便了对晾干架进行拿取和携带,同时方便在实验室中对晾干架进行储存,占用的空间小的效果。

标签:
化学分析
江苏 - 无锡 来源:中冶有色网 2023-03-19
人高迁移率族蛋白B1光激发化学发光检测试剂盒

本实用新型公开了一种人高迁移率族蛋白B1光激发化学发光检测试剂盒,包括白色不透明微孔板、包被有人高迁移率族蛋白B1单抗的发光微粒试剂、一套标准品、生物素化抗人高迁移率族蛋白B1单抗溶液和包被有链霉亲和素的感光微粒试剂。所述试剂盒分为双层,试剂瓶放置在下层,下层环绕试剂瓶放置环形设置冰袋腔,可置入冰袋,运输时可保证冷却效果,防止失效。白色不透明微孔板在试剂瓶上层,使试剂盒体积减小,且试剂瓶置入白色不透明微孔板保护之下,可减少碰撞损伤风险。

标签:
化学分析
江苏 - 无锡 来源:中冶有色网 2023-03-19
上一页 31 32 33 34 35 ... 39 下一页
共39页    到第

中冶有色为您提供最新的江苏无锡有色金属化学分析技术理论与应用信息,涵盖发明专利、权利要求、说明书、技术领域、背景技术、实用新型内容及具体实施方式等有色技术内容。打造最具专业性的有色金属技术理论与应用平台!

全国热门有色金属设备推荐
展开更多 +
全国热门有色金属技术推荐
展开更多 +

 

江西省隆恩特环保设备有限公司
宣传

报名参会
更多+

报告下载

有色专家
更多+

东北大学
院长/教授
江西理工大学
教授
西安建筑科技大学
教授
西安建筑科技大学
院长/教授
北京工业大学、中国工程院
中国工程院 院士
赤泥综合利用研究报告2025
推广

热门技术
更多+

推荐企业
更多+

福建省金龙稀土股份有限公司
宣传

发布

在线客服

公众号

电话

顶部
咨询电话:
010-88793500-807