青岛垚鑫智能科技有限公司
宣传

位置:中冶有色 >

有色技术频道 >

> 化学分析技术

分类:
全部
矿山技术
冶金技术
材料制备及加工技术
环境保护技术
分析检测技术
 
全部
物理检测技术
化学分析技术
力学检测技术
无损检测技术
失效分析技术
环境检测技术
地区:
全部
北京
天津
上海
重庆
河北
山西
辽宁
吉林
黑龙江
江苏
浙江
安徽
福建
江西
山东
河南
湖北
湖南
广东
海南
四川
贵州
云南
陕西
甘肃
青海
内蒙
广西
西藏
宁夏
新疆
其他
其他
展开
 
全部

有色金属化学分析技术理论与应用

免费发布技术信息>>
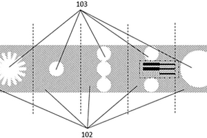
基于MEMS技术的电化学地震检波器

本发明公开了一种基于MEMS技术的电化学地震检波器,涉及地震检波技术,能够检测微弱地震波,是一个层状叠加结构的敏感单元密封在一个盛满电解质溶液的腔体里,敏感单元的每一层包括正面的两对共面叉指形排列的电极和背面的沟槽形绝缘流道。当地震检波器受到地震波的振动时,相当于受到一个加速度的作用,溶液内部将产生压力梯度,改变了溶液的离子浓度分布和速度场,影响电极处的电化学反应速率,从而使电极电流发生改变。通过测量电极电流的变化,就可以实现对地震波的检测。传感器采用层状和共面叉指电极的结构,提高了地震检波器的灵敏度,电极一致性好,便于调节电极宽度和间距。

标签:
化学分析
北京 - 北京 来源:中冶有色网 2023-03-19
光致电化学测定谷胱甘肽的方法

本发明属于分析化学领域,具体涉及一种光致电化学测定谷胱甘肽的方法。利用液相超声剥离法将本体MoS2超声剥离成nanoMoS2,由化学氧化法聚合苯胺单体得到PANI。然后将PANI与nanoMoS2用共混法混合成纳米复合材料。将纳米复合材料修饰到金电极表面,制备一种新型的光致电化学传感器,实现对谷胱甘肽的高灵敏度检测。方法具有简单、灵敏度高的优势。

标签:
化学分析
山东 - 青岛 来源:中冶有色网 2023-03-19
基于磁微球化学发光法测定醋酸甲羟孕酮含量的方法及试剂盒和应用

本发明公开了一种基于磁微球化学发光法测定醋酸甲羟孕酮含量的方法及试剂盒和应用,检测方法灵敏、准确、快速、特异性强,还能搭配全自动化学发光免疫分析仪实现大批量样本的全自动检测。所述试剂盒组成成分包括:磁微球、MPA抗体工作液、吖啶酯标记物工作液、MPA标准品、底物液1、底物液2、浓缩提取液和浓缩洗涤液。本发明试剂盒的分析灵敏度为:0.057ppb;IC50为0.48ppb;精密性:分析内的变异系数(CV%)不大于8%,分析间的变异系数(CV%)不大于8%;准确度通过回收率实验进行测定,回收率为85%~120%之间;线性相关系数|r|不小于0.9800。

标签:
化学分析
广东 - 广州 来源:中冶有色网 2023-03-19
电化学测试传感器
电化学测试传感器 773     
 0

本发明提供了一种用于检测样本中被分析物浓度的电化学测试传感器。该电化学测试传感器包括为流体测试样本提供流动路径的基底,该基底的表面上具有与电流检测器电通信的对电极和工作电极。该电化学测试传感器还包括直接位于工作电极的表面上的试剂层。该试剂层包括适于与被分析物反应的酶。该电化学测试传感器还包括适于与基底相配合并帮助形成毛细管空间的盖子,其具有用于将样本引入毛细管空间中的开口。毛细管空间是利用盖子的三维部分形成的。

标签:
化学分析
其他 - 其他 来源:中冶有色网 2023-03-19
化学滤料的测试系统
化学滤料的测试系统 740     
 0

本实用新型公开了一种化学滤料的测试系统,涉及空气过滤领域,按照气体的流动方向依次设置有进气系统、吸附试验系统、检测系统和尾气处理系统,所述进气系统处设置有高效过滤器,所述化学滤料的测试系统还包括控制系统,所述进气系统、吸附试验系统、检测系统和尾气处理系统分别与控制系统电气连接。本化学滤料通过改变进气气体的种类、浓度和流速等测试参数,可以模拟化学滤料的使用环境。不仅可以得到滤料的效率时间曲线,还可以对滤料进行寿命分析;使用专有的数据采集分析系统进行数据处理,得到滤料的最优的使用环境参数,从而有助估算出化学滤料实际使用寿命,确保产品在失效前及时更新,进而提升用户的使用体验。

标签:
化学分析
江苏 - 苏州 来源:中冶有色网 2023-03-19
化学品胚胎毒性预测模型及其建立方法

一种化学品胚胎毒性预测模型包括细胞种类;该细胞种类包括核型为XX的SP3ES细胞诱导分化出的心肌细胞。其建立方法包括步骤一、小鼠胚胎成纤维细胞的分离和培养;二、小鼠ES的体外扩增培养;三、小鼠ES的核型分析及性别鉴定;四、小鼠ES多能性的维持和鉴定;五、小鼠ES体外诱导分化为心肌细胞;六、小鼠ES诱导分化的心肌细胞的心肌特异性标志蛋白的免疫化学检测;七、小鼠ES诱导分化的心肌细胞的表达谱的Real-time?PCR检测;八、模式化合物的选择;九、模式化合物细胞毒性的检测;十、模式化合物对ES分化能力的抑制效应的检测;十一、模式化合物胚胎毒性的评价。填补EST体系中无雌性小鼠胚胎干细胞的空白。

标签:
化学分析
上海 - 上海 来源:中冶有色网 2023-03-19
用于电化学元件的漏泄检验的方法

一种用于电化学元件的漏泄检测的方法,该电化学元件具有由金属板或金属/塑料复合板构成的薄柔性外壳,在该方法中,在电化学元件装配之后,并且如有需要在于密闭容器中成形之后,使电化学元件承受增大的压力,然后承受下降的压力,并且测量发生在厚度上的任何变化。或者,在电化学元件于密闭容器中装配、成形和存储之后,使电化学元件承受下降的压力,并且测量发生在厚度上的任何变化。

标签:
化学分析
其他 - 其他 来源:中冶有色网 2023-03-19
基于力平衡反馈的电化学地震检波器

本发明提供了一种电化学地震检波器,包括拾振单元、转换单元、反馈单元、输出单元、检测电路及反馈电路,其中,拾振单元感应外部震动力,产生震动信号,转换单元将震动信号转换为输出电流,检测电路检测输出电流,得到所述输出信号,反馈电路根据所述输出信号,产生反馈电流,反馈单元根据反馈电流,产生与震动力的方向相反的反馈力,并使该反馈力作用于拾振单元上。本发明既能保证大幅度的拓展电化学检波器的频带范围,又能保证检波器输出的稳定性以及减小非线性失真度。

标签:
化学分析
北京 - 北京 来源:中冶有色网 2023-03-19
基于纸基电化学装置的测定葡萄糖的方法

本发明公开了一种基于纸基电化学装置的测定葡萄糖的方法,包括如下步骤:(1)以滤纸作为纸基基板的检测平台,铅笔手工绘制电极,以石墨作为电极材料,检测平台包括两个区域,检测区和酶区,每一区域都有一个圆形的亲水区域,亲水区域以外的是疏水区域;(2)根据葡萄糖氧化酶氧化反应的原理,以二茂铁甲酸作为电子媒介体,安培法测定葡萄糖,检测平台可在干扰物存在下灵敏测定葡萄糖;将待测样品加入检测平台可进行实际样品中血糖浓度的检测。本发明的纸基电化学分析系统是一种新的电化学装置,其制作简单,成本低,可用于许多应用领域,包括临床诊断的便携式、一次性的分析设备,食品质量控制和环境监测等。

标签:
化学分析
江苏 - 南通 来源:中冶有色网 2023-03-19
基于新型材料PPTC的极板阳极电化学性能的测试方法

本发明实施例公开了基于新型材料PPTC的极板阳极电化学性能的测试方法,包括如下步骤:预处理:将PPTC极板阳极样品采用无水乙醇进行超声清洗,然后在室温中吹干即得待测的PPTC材料的极板阳极;提供电化学工作站:工作站采用三电极和电解液;将待测的极板阳极连接于电化学工作站;设置电化学工作站的参数;通过电化学性能的表征方法对电极进行电化学性能测试,其中,所述表征方法包括电化学交流阻抗谱分析(EIS)、阳极极化曲线分析(LSV)、过电位分析的塔菲尔曲线分析(Tafel)或平带电位分析的莫特‑肖特曲线分析(mott‑schottky)中的一种或多种;评估电化学性能,该方法具有操作简单、检测速率快等特点。

标签:
化学分析
广东 - 肇庆 来源:中冶有色网 2023-03-19
水体化学需氧量测定方法

水体化学需氧量测定方法,属于利用化学和光学 手段测量水体化学需氧量的方法,目的是克服已有各种测量方 法的缺陷,提供一种结构简单、易于推广应用的COD分析方 法,以快速、准确地实现对水体COD的实时监测。本发明包 括下述步骤:(1)对COD为确定值的标液进行铬法消解,将其 pH值调节到2.5-5.5之间,(2)向反应室中加入鲁米诺和H2O2溶液,再加入消解液,(3)利用光电二极管或三极管检测混合液发光强度,(4)对不同COD值的标液重复上述(1)-(3)步骤,建立发光强度-COD关系曲线,(5)对被测水样按照同条件重复上述(1)-(3)步骤,所测发光强度依照(4)所述关系曲线推算出COD值。

标签:
化学分析
湖北 - 武汉 来源:中冶有色网 2023-03-19
用于磺胺类药物多残留检的超灵敏电化学免疫传感器

本发明公开了一种电化学免疫传感器在磺胺类药物多残留检测方面的应用。所述的应用为:首先通过原位电化学聚合法在玻碳电极表面修饰聚磺胺嘧啶,然后基于磺胺嘧啶抗体与磺胺类药物的交叉免疫反应,实现对包括磺胺嘧啶、磺胺二甲基嘧啶、磺胺醋酰和磺胺胍在内的四种磺胺类药物的检测,检测限在0.06~0.15ng/mL之间,线性范围在0.1~1500ng/mL或0.3~500ng/mL之间。

标签:
化学分析
江苏 - 淮安 来源:中冶有色网 2023-03-19
测量水体化学需氧量的自动在线监测仪

本实用新型公开了一种测量水体化学需氧量的自动在线监测仪,包括对紫外光透明的电解池,电解池中设置有参比电极、对电极和TiO2纳米材质的工作电极,所述参比电极与对电极平行设置在工作电极的同一侧,参比电极、对电极和工作电极连接到恒电位仪,所述电解池位于工作电极一侧上端设置有入液口、外部设置有大功率的LED紫外灯,电解池位于工作电极另一侧下端设置有出液口。本实用新型采用大功率紫外LED光源和高效散热结构,纳米TiO2工作电极和小型蠕动泵和微型电磁阀,实现了小型化,快速,自动化在线监测,每次分析所需试液体积小。不产生二次污染。适用于现场和在线监测,也可以用于实验室分析使用。

标签:
化学分析
江苏 - 南京 来源:中冶有色网 2023-03-19
测定循环肿瘤细胞的电致化学发光免疫传感器及其制备方法与应用

本发明公开了一种测定循环肿瘤细胞的电致化学发光免疫传感器及其制备方法与应用,包括磁性ECL探针Fe3O4@SiO2/AuNPs/WS2‑Aptamer,以及循环肿瘤细胞抗体进行表面结合的基底电极,所述基底电极表面采用Nafion/AuNPs/Ru(bpy)32+溶液进行修饰。利用WS2量子点作为Ru(bpy)32+电致化学发光共反应剂信号放大的三明治型ECL免疫传感器,用于循环肿瘤细胞的定量分析,具有优异的抗干扰性能和较高的选择性,既不需要常规检测方法中对样品进行复杂处理,也避免了使用流式细胞仪等常规检测方法费用高、操作繁琐等问题。

标签:
化学分析
江苏 - 南京 来源:中冶有色网 2023-03-19
存储半导体超纯化学品的泄漏自检型储罐

本实用新型涉及存储半导体超纯化学品技术领域,且公开了存储半导体超纯化学品的泄漏自检型储罐,包括矩形底板和圆形底座,矩形底板位于圆形底座的右方,矩形底板的左面与圆形底座的右面固定连接在一起,圆形底座的上表面内凹有一个圆形凹孔,形凹孔的内部设置有一个储罐,该新型自锁螺母存储半导体超纯化学品,通过电机的旋转带动转轴的旋转,竖杆三的上下移动带动横杆四的上下移动,横杆四的上下移动带动圆环的上下移动,圆环的上下移动在配合圆环内壁上的激光检测扫描仪,可对储罐进行检测扫描,当储罐有泄漏的地方,激光扫描仪第一时间就能发现并触发报警装置,使工作人员第一时间发现,避免危险的发生。

标签:
化学分析
江苏 - 无锡 来源:中冶有色网 2023-03-19
折纸结构的体表汗液电化学传感器及监测方法

本发明公开了一种折纸结构的体表汗液电化学传感器及监测方法,属于电化学领域。该传感器中纸基底折叠形成5层纸结构,每层纸结构均由疏水层和亲水层组成;在折叠状态下,汗液收集层上的第一亲水层、汗液导流层上的第二亲水层、汗液分析层上的第三亲水层、电极承载层上的第四亲水层和汗液蒸发层上的第五亲水层逐层接触,形成供汗液从汗液收集层底部开始向汗液蒸发层顶面扩散的竖直通道;电极承载层朝向汗液分析层折叠的一面上设有电化学电极系统,且电极检测端与汗液分析层上的第三亲水层接触。本发明能够将汗液收集、检测和蒸发分开,减少相互之间的干扰;并能够实现汗液的流动,提高检测实时性、准确性的同时,减少对使用者带来的不适。

标签:
化学分析
浙江 - 杭州 来源:中冶有色网 2023-03-19
电化学法侧流式免疫检查方法、其传感器及其制造方法

本发明目的在于提供一种电化学法侧流式免疫检查方法及其所使用的传感器,其能通过控制试料溶液流动实现反应时间短、灵敏度优异、精度高的定量测定和电检测。技术方案是在树脂制薄片的支撑体2配设电极部5、传导来自电极部5的电流的导电部7、和与测定该电流值的电气测定器4连接的连接部12;并且还在上述支撑体2上部分叠层地配置垫类8、10、11、13、15、16,使试料溶液经多个垫类流下去,在上述电极部5的位置控制流动,进行电化学检测。继而,通过流速控制垫15、流路部纤维垫10或流速控制用突起27a、27b、27c控制流动。

标签:
化学分析
其他 - 其他 来源:中冶有色网 2023-03-19
流动注射臭氧氧化方式测量化学需氧量和总有机碳的方法

本发明提供了一种流动注射臭氧氧化方式测量化学需氧量和总有机碳的方法,通过电解式臭氧发生器产生已知浓度的臭氧溶液,采用臭氧溶液平衡室,使臭氧溶液的氧化能力大大增强,臭氧溶液与水样混合进行氧化发应后,再先后与碳酸氢钠溶液、鲁米诺溶液、钴离子溶液混合,产生的化学发光信号由光电倍增管检测,并计算出水样的化学需氧量和总有机碳。本发明具有灵敏度高,线性范围宽,而且快速、重现性好、自动化程度高,可以在环境分析等领域得到推广应用,并解决传统氧气或者空气高压发电产生臭氧安全性差、臭氧浓度低、能耗大的缺点。

标签:
化学分析
山东 - 青岛 来源:中冶有色网 2023-03-19
危险化学品安检装置以及闸机系统

本发明涉及危险化学品安检装置以及闸机系统。危险化学品安检装置,包括第一机体与第二机体,两者相距一定间距相对设置,形成安检通道,第一机体中设置有吹风模块,吹风模块向所述安检通道内吹风,第二机体中设置有吸风模块,吸风模块吸入安检通道内的气体,对气体进行危险化学品检测。

标签:
化学分析
北京 - 北京 来源:中冶有色网 2023-03-19
化学剂质检用取样装置

本实用新型涉及取样检测技术领域,且公开了一种化学剂质检用取样装置,包括暗色试剂盒、盒盖、转接筒、抽气管、取样管和活塞筒,所述盒盖的内侧固定连接有挡环,所述挡环的下表面活动连接有T字挡板,所述T字挡板的一端活动连接有弹簧,所述转接筒的内侧固定连接有十字顶杆。该化学剂质检用取样装置,当工作人员从盒盖处取下本装置后,T字挡板在弹簧的作用下复位,从而使样品被密封保存起来,从而减少化学剂在取样期间的步骤,使样品能够直接被密封保存,减少了样品接触外界的情况同时也减少了样品接触空气的次数,降低工作人员意外吸入挥发的化学剂的可能,增加了本装置在使用时的安全性,降低工作人员受到意外伤害的可能。

标签:
化学分析
河南 - 鹤壁 来源:中冶有色网 2023-03-19
化学战剂侦检仪
化学战剂侦检仪 829     
 0

本实用新型提供一种化学战剂侦检仪,涉及化学战剂检测设备技术领域,包括:吊装座,设置于化学战剂侦检仪顶部;升降机构,设置于吊装座上方,升降机构具体包括:第一升降臂,第一升降臂通过一第一球面运动副连接吊装座,且第一升降臂顶部设有第一驱动装置;第二升降臂,第二升降臂通过一第二球面运动副连接吊装座,且第二升降臂顶部设有第二驱动装置;第三升降臂,第三升降臂通过一第三球面运动副连接吊装座,且第三升降臂顶部设有第三驱动装置;第一球面运动副、第二球面运动副和第三球面运动副设置于吊装座顶部,且在吊装座上呈三角形分布。能够实时调节化学战剂侦检仪的水平位置和垂直高度,无需操作人员进行登高操作。

标签:
化学分析
上海 - 上海 来源:中冶有色网 2023-03-19
高密度等离子体化学气相淀积设备的腔体检漏方法

本发明公开了一种高密度等离子体化学气相淀积设备的腔体检漏方法,在生产工艺步骤中增加腔体检漏工艺,腔体检漏工艺自动执行并实时报警;当腔体检漏工艺得到的测量结果超标时,高密度等离子体化学气相淀积设备发出警报并使生产工艺步骤停止执行;当腔体检漏工艺得到的测量结果正常时,生产工艺步骤继续执行。本发明能降低检漏的时间、提高设备的产能,能够使检漏的实施达到可控并能通过自动的规格管理来有效避免产品事故的发生,使产品的质量得到保证。

标签:
化学分析
上海 - 上海 来源:中冶有色网 2023-03-19
游离人绒毛膜促性腺激素β亚单位磁微粒化学发光法定量测定试剂盒及其制备方法

本发明涉及免疫分析医学领域,具体地提供了一种简便、快速、灵敏度高、线性范围宽、稳定性好的游离人绒毛膜促性腺激素β亚单位磁微粒化学发光法定量测定试剂盒及其制备方法。该方法结合磁微粒免疫分离技术在酶联免疫分析的基础上应用酶促化学发光底物,通过检测发光第五产生的光信号代替酶免疫分析中的显色底物,因而其灵敏度大大提高,并且操作简便实用性广,既可应用于开放式的半自动化学发光检测仪,也可用于全自动的测量系统,可实现大批量、快检测,使用成本低,更易推广应用。

标签:
化学分析
北京 - 北京 来源:中冶有色网 2023-03-19
电化学测量方法
电化学测量方法 1149     
 0

本发明属于电化学测量技术领域,公开了一种降低电化学测试条中还原性干扰物影响的电化学测量方法。本发明所述电化学测量方法为分别测量目标分析物所产生的电流信号I1和还原性干扰物产生的干扰电流信号I2,由目标分析物所产生的电流信号I1和还原性干扰物产生的干扰电流信号I2计算出相应的校正系数k,用校正系数k校正目标分析物所产生的电流信号,得到与目标分析物真实浓度相对应的真实校正电流值Ic;其中Ic=I1/k。本发明所述测量方法可有效减小还原性干扰物对测量结果的影响,不仅适用于降低检测氧化电流时的正干扰,而且可有效消除检测还原电流时负干扰,测量准确度高,抗干扰能力强,适用范围广。

标签:
化学分析
湖南 - 长沙 来源:中冶有色网 2023-03-19
化学示踪剂井间示踪测定技术

本发明涉及油田开发中利用化学示踪剂进行井间示踪测定的技术,尤其是在三次采油中的应用,提供一种化学示踪剂监测技术,经8年多的现场试验,取得了较好的效果。我们在国内外同类技术的基础上,研究出一整套具有自己特点化学示踪剂监测技术的使用方法,开发出的示踪剂,生物稳定性和化学稳定性好,采用流动注射分析法进行浓度检测,速度快,灵敏度高,数据重现性好,准确度大大提高。

标签:
化学分析
辽宁 - 盘锦 来源:中冶有色网 2023-03-19
耦合传热及流场的腐蚀电化学测量装置及测量方法

本发明属于材料腐蚀与防护技术领域,涉及一种耦合传热及流场的腐蚀电化学测量装置及测量方法。采用均匀流道方式和电极表面两侧热传递的方式进行三电极电化学测试,能够较好的模拟金属在流动传热条件下的腐蚀规律,实现了测试界面温度分布均匀,热流分布均匀,温度和速度边界层厚度分布均匀,经过多物理场耦合模拟误差均在5%以内。本装置通过改变流量或流道可以调节流速,改变温度可以调节传热面的热流,可以实现变量独立或耦合的影响规律分析,结构耐高温、耐腐蚀、易于拆卸、密封效果好、操作便捷。

标签:
化学分析
广东 - 广州 来源:中冶有色网 2023-03-19
注采主流线与分流线油藏剩余油参数特征及关系的地球化学测定方法

注采主流线与分流线油藏剩余油参数特征及关系的地球化学测定方法,涉及到原油开发领域。它解决了现有采用物理模拟的方法不能获得主流线和分流线上实际的剩余油饱和度等参数及其关系的问题。它通过测定油田开发主流线和分流线上取心检查井油砂样品获得剩余油饱和度、驱油效率、剩余油粘度、渗透率、孔隙度参数;然后获得主流线和分流线的剩余油油层流度参数和地球化学特征;根据对获得的参数的相关性分析,分别确定主流线和分流线的剩余油地球化学参数之间的关系;并确定注采主流线和分流线剩余油地球化学参数特征及其关系,进而获得变化趋势。本方法对认识主流线和分流线油藏的剩余油的分布规律、制定剩余油开发方案、提高原油采收率有重要意义。

标签:
化学分析
黑龙江 - 大庆 来源:中冶有色网 2023-03-19
监测玉米赤霉烯酮的光电化学适配体传感器的制备方法

本发明属于生物传感检测技术领域,涉及一种监测谷物霉变产生的玉米赤霉烯酮的光电化学适配体传感的制备方法;本发明首先制备了基于宽带隙半导体氧化锌和窄带隙半导体氮杂石墨烯量子点的复合材料;然后通过引入特异性识别元件ZEN的适配体,构建了基于ZnO‑NGQDs的光电化学适配体传感器,可实现对ZEN的高灵敏、选择性分析,检测范围为1×10‑13‑1×10‑7g mL‑1,检出限为3.33×10‑14g mL‑1;本发明制备了一种灵敏度高、选择性好、可靠性高的光电化学适配体传感器用于监测谷物霉变产生的ZEN,实现对谷物霉变的早期诊断;操作简单方便。

标签:
化学分析
江苏 - 镇江 来源:中冶有色网 2023-03-19
肿瘤细胞快检电化学生物传感器及其制备方法和应用

本发明公开了肿瘤细胞快检电化学生物传感器,包括柔性丝网印刷电极以及沉积在柔性丝网印刷电极表面的金纳米颗粒,金纳米颗粒的表面修饰有巯基化叶酸分子,且柔性丝网印刷电极表面被牛血清白蛋白封闭;或者包括柔性丝网印刷电极以及修饰在柔性丝网印刷电极表面的金纳米颗粒‑巯基化叶酸分子复合物,且柔性丝网印刷电极表面被牛血清白蛋白封闭;本发明还公开了采用滴涂法的制备方法;本发明还公开了在该电化学生物传感器中滴加样品液孵育并采用电化学工作站检测电化学阻抗的应用过程。本发明传感器与肿瘤细胞表面的叶酸受体特异性结合能力较强,实现了对肿瘤细胞的快速检测;本发明的制备方法简单;本发明的应用过程提高了肿瘤细胞的检测效率。

标签:
化学分析
陕西 - 西安 来源:中冶有色网 2023-03-19
化学发光类试剂盒质控品检验方法

本发明公开了一种化学发光类试剂盒质控品检验方法,包括将待测质控品分为两组,在不同时间或不同仪器下分别测定待检的质控品、工作参考品和参考质控品的发光值;以工作参考品的曲线拟合待检质控品及参考质控品,计算出待检质控品及参考质控品的值,保证待检质控品拟合浓度的值与理论浓度的偏差在±10%范围内;以参考质控品为标准,计算待检质控品的值与参考质控品的偏差,保证待检质控品拟合的值与参考质控品的偏差在±10%范围内;以及赋值和验证等步骤。本发明的检验检验方法可以合理准确给出化学发光类试剂盒质控品的范围,能有效的监控临床检验试剂的测试值;且相对于以往采用的检验方法具有成本低、效率高、赋值准确、利于大批量生产的优点。

标签:
化学分析
江苏 - 无锡 来源:中冶有色网 2023-03-19
上一页 2007 2008 2009 2010 2011 ... 2305 下一页
共2305页    到第

中冶有色为您提供最新的有色金属化学分析技术理论与应用信息,涵盖发明专利、权利要求、说明书、技术领域、背景技术、实用新型内容及具体实施方式等有色技术内容。打造最具专业性的有色金属技术理论与应用平台!

全国热门有色金属设备推荐
展开更多 +
全国热门有色金属技术推荐
展开更多 +

 

江西省隆恩特环保设备有限公司
宣传

报名参会
更多+

报告下载

有色专家
更多+

北方民族大学
院长/教授
广西大学
处长/教授
武汉理工大学
外籍院士/教授
江西铜业集团有限公司
党委书记、董事长
赣州江钨钨合金有限公司
工程师
赤泥综合利用研究报告2025
推广

热门技术
更多+

推荐企业
更多+

福建省金龙稀土股份有限公司
宣传

发布

在线客服

公众号

电话

顶部
咨询电话:
010-88793500-807