青岛垚鑫智能科技有限公司
宣传

位置:中冶有色 >

有色技术频道 >

> 化学分析技术

分类:
全部
矿山技术
冶金技术
材料制备及加工技术
环境保护技术
分析检测技术
 
全部
物理检测技术
化学分析技术
力学检测技术
无损检测技术
失效分析技术
环境检测技术
地区:
全部
北京
天津
上海
重庆
河北
山西
辽宁
吉林
黑龙江
江苏
浙江
安徽
福建
江西
山东
河南
湖北
湖南
广东
海南
四川
贵州
云南
陕西
甘肃
青海
内蒙
广西
西藏
宁夏
新疆
其他
其他
展开
 
全部

有色金属化学分析技术理论与应用

免费发布技术信息>>
用于预测作为生产过程的产物的化学化合物和/或其制剂的品质的系统和方法

本发明大体上涉及作为包括多于一个子过程的生产过程的结果的化学化合物和/或其制剂的基于模型的品质预测的领域。本发明还涉及一种用于对所述产物或其制剂的一个或多个品质属性的变化进行根本原因分析的解决方案。

标签:
化学分析
其他 - 其他 来源:中冶有色网 2023-03-19
测试催化剂电化学催化性能的方法及应用

本发明属于电化学领域,特别涉及一种测试催化剂电化学催化性能的方法及应用,具体为一种直观评价催化剂动态脱除SO2或其他有害电化学活性物质的测试方法,在三电极体系中利用催化剂对SO2或其他电化学活性物质的瞬时电流阶跃响应评价催化剂的动态催化效果。该方法直观有效,操作简单,对SO2等物质响应明显。测试充分利用了系统的流场特点,构成了双搅拌体系;采用液面下的加入方式,起到液封的作用,对检测电化学活性的有毒有害气体、液体物质有积极意义;该方法对筛选评价SO2电化学氧化催化剂有指导作用,也可以用于评价其他电化学活性杂质、有毒物质对催化剂的响应和影响。

标签:
化学分析
辽宁 - 大连 来源:中冶有色网 2023-03-19
用于微区电化学测试的双电解池装置及其使用方法

本发明提供了一种用于微区电化学测试的双电解池装置及其使用方法,装置包括充氢机构、微区电化学测试机构和集气机构,充氢机构包括充氢池、观察镜、入液口、顶板、充氢孔、辅助电极、参比电极、下密封圈、上密封圈,在下密封圈与上密封圈之间安装有试样,在充氢池内装有充氢溶液,充氢溶液与试样下表面接触;微区电化学测试机构包括电化学工作站、检测池、检测孔、微型参比电极和铂电极探针;检测池固定在顶板上,检测池的充氢孔与检测池的检测孔正对布置;试样充氢时集气机构排出试样下表面的气泡。本发明采用双电解池结构,简化实验样品制备和安装流程,实现对试样进行充氢及原位微区电化学测试,拓展扫描电化学显微镜在氢渗透研究领域的应用。

标签:
化学分析
黑龙江 - 哈尔滨 来源:中冶有色网 2023-03-19
化学发光测量仪器的温育模块

一种化学发光测量仪器的温育模板,它涉及测量仪器技术领域。它是由温育板(1)、第一加热片槽(2)、第二加热片槽(3)、布线槽(4)、铂电阻槽(5)、螺纹孔(6)组成;温育板(1)的内部两侧分别设置有第一加热片槽(2)和第二加热片槽(3),第一加热片槽(2)与第二加热片槽(3)之间设置有布线槽(4),温育板(1)的内部下端设置有铂电阻槽(5),温育板(1)的四角分别设置有螺纹孔(6)。它结构简单,使用方便,加热均匀,温度控制精确,温育效果好,满足了医药、临床环境等快速、准确、高通量分析的要求。

标签:
化学分析
江苏 - 苏州 来源:中冶有色网 2023-03-19
气体化学与稀有气体同位素组成同时测量装置

本实用新型涉及一种气体化学与稀有气体同位素组成同时测量装置,该装置包括稀有气体质谱仪系统、四极质谱仪、设有主管线的高真空系统、冷阱和海绵钛炉。所述主管线分别连有真空管线Ⅰ、真空管线Ⅱ、真空管线Ⅲ;所述真空管线Ⅰ的末端与所述稀有气体质谱仪系统相连;所述真空管线Ⅱ的末端分别连有真空管线Ⅳ、真空管线Ⅴ;所述真空管线Ⅳ的末端与所述四极质谱仪相连;所述真空管线Ⅴ的末端与所述海绵钛炉相连;所述真空管线Ⅲ经所述冷阱连有进样口。本实用新型一次进样,测量结果全面,不但校正了气体采样和运输过程中混入的空气干扰,而且校正了样品转移到仪器分析过程中混入空气的干扰。

标签:
化学分析
甘肃 - 兰州 来源:中冶有色网 2023-03-19
用于金属基材涂层电化学测试的测试池装置

一种用于金属基材涂层电化学测试的测试池装置,本发明根据杠杆原理的反向使用,采用力臂式测试池夹具,测试池夹具一端用顶紧螺栓顶起,另一端与涂层接触的压紧部件配有弹性垫片,微调顶紧螺栓上下位置可将测试池固定于金属基材涂层表面,本发明可以弥补现有技术的不足,既不会破坏涂层,也无需对测试池进行拆卸即可进行试样的安装和辅助电极、参比电极的放置和更换等,本发明具有结构简单、操作方便、成本低廉,不会对涂层造成不可逆影响,在安装试样、放置和更换参比电极和对电极时,无需对电解池进行拆卸。

标签:
化学分析
河南 - 洛阳 来源:中冶有色网 2023-03-19
慢应变速率拉伸条件下结合DIC的电化学原位测试装置

一种慢应变速率拉伸条件下结合DIC的电化学原位测试装置。其包括电子万能材料试验机、DIC检测系统、电化学原位测试系统、液体循环装置和计算机;本发明中电化学原位测试系统与DIC检测系统分别检测拉伸试样的两面,因此使得电化学测试过程不会受到DIC检测系统需要喷涂散斑而对电化学测量的干扰,保证能够更加稳定地进行原位测试。同时又使得DIC检测系统不会受到电化学原位测试系统装置的干扰而影响位移场的测量,保证能够准确地进行测量。工作电极采用内嵌导线的方式与电化学工作站相连,使得连接更加牢固。参比电极与辅助电极采取外置的方式与电化学工作站相连,易于更换。

标签:
化学分析
天津 - 天津 来源:中冶有色网 2023-03-19
生化学测定仪及其保管外壳

本发明的目的在于提供一种可以不操心传感器的寿命。进行高精度的尿液测定的生化学测定仪。在本发明中,分别计算测定的程度、测定次数、或在每个测定日计算测定天数,例如,如果测定次数达到180次、测定天数达到90天,则作为传感器寿命到来,在进行传感器更换的同时,禁止以后的测定。另外,如果测定次数达到170~179次,或测定天数达到85~89天,则作为接近传感器寿命显示更换传感器。

标签:
化学分析
其他 - 其他 来源:中冶有色网 2023-03-19
化学需氧量的水质软测量预测方法

本发明实施方式涉及环境监测领域,公开了一种化学需氧量的水质软测量预测方法。包括:获取待测水环境中多个水质监测指标的数据值,每个水质监测指标被获取到的数据值有多个,多个水质监测指标中至少有一个为COD;从除COD之外的各水质监测指标中选取若干个水质监测指标,将所选的水质监测指标的数据值形成数据样本集,将数据样本集划分为训练集及测试集,利用模糊神经网络算法对训练集进行训练,获得COD软测量模型;利用测试集,对COD软测量模型进行测试,获得测试结果;重复执行模型的建立和模型测试,直至获得的测试结果符合预设条件,将符合预设条件的COD软测量模型作为最终的软测量模型。所得模型预测效果精确,降低COD的水质软测量预测成本。

标签:
化学分析
上海 - 上海 来源:中冶有色网 2023-03-19
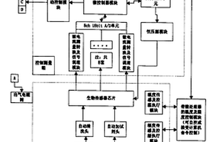
多通道电化学自动测试系统

多通道电化学自动测试系统,由4-16通道的电化学测量单元、测试流程控制单元、温度湿度控制单元和数据处理与显示系统构成,每个通道电化学测量单元均设有从传感器芯片输出的微电流检测与调理电路、A/D转换电路,并连接微处理器的输入端;数据处理和测试流程控制单元由微处理器构成,设有控制传感器芯片温度和湿度的温度和湿度显示和控制单元,从微处理器的输出端连接温度和湿度显示和控制单元,能同时进行4-16个通道以上的电化学联合检测。

标签:
化学分析
江苏 - 南京 来源:中冶有色网 2023-03-19
用于感测化学品的方法

本发明涉及一种用于检测样品中的被分析物(10)的方法,包括以下步骤:提供具有热电或压电元件和电极的换能器(3)、固定在换能器上的第一试剂(9),其中所述换能器能够将能量变化转换成电信号,并且所述第一试剂具有能够结合被分析物或被分析物的衍生物的结合位点;将样品暴露于换能器,由此允许被分析物或被分析物的衍生物与第一试剂结合以形成第一试剂-被分析物复合物(13);引入第二试剂(11),所述第二试剂具有能够选择性结合所述第一试剂-被分析物复合物的结合位点,其中所述第二抗体具有附至其上的标记,所述标记能够吸收电磁辐射以生成非辐射衰减的能量;用电磁辐射照射样品;将所生成的能量转换为电信号;以及检测所述电信号。本发明还提供了用于执行所述方法的套件。

标签:
化学分析
其他 - 其他 来源:中冶有色网 2023-03-19
基于功能化核酸的化学发光传感器对赭曲霉毒素A的测定方法

本发明提供一种基于功能化核酸的化学发光传感器对赭曲霉毒素A的测定方法,涉及食品检测技术领域。该检测方法采用功能化核酸探针、纳米材料、工具酶信号放大、生物识别事件相结合的技术,利用λ核酸内切酶进行循环补助信号放大,稳定的G‑Quadruplexes/HeminDNAzyme结构,表现出类似于过氧化物酶的活性,能够催化H2O2氧化luminal产生化学发光并避免背景光和杂散光的干扰,并且鲁米诺产生的化学发光与WS2纳米材料在一定条件下发生化学发光共振能量转移,可大大提高检测灵敏度。

标签:
化学分析
广西 - 南宁 来源:中冶有色网 2023-03-19
神经细胞网络化学信号和电信号同步监测方法

本发明公开了一种神经细胞网络化学信号和电信号同步监测方法,首先在经预处理后的微电极阵列上原位培养神经细胞网络;后对神经元囊泡进行染色处理,后加入缓冲液;采用全内反射荧光显微镜观察神经细胞网络,将拍摄相机、微电极阵列的控制器与脉冲信号发生器相连;对神经细胞网络进行外界刺激,同时开启脉冲信号发生器,拍摄相机和微电极阵列的控制器分别同步收集荧光信号和电信号。本发明的同步监测方法背景信号低,信噪比高,具有时空分辨响应性,可以满足神经细胞网络监测要求;本方法信号稳定、灵敏度高、可针对多种神经细胞及网络实现成像测量,并可以实现高通量分析。

标签:
化学分析
江苏 - 南京 来源:中冶有色网 2023-03-19
化学品毒性藻红外测试的三指标评价方法

本发明公开了一种化学品毒性藻红外测试的三指标评价方法,该方法采用对照组与加药组的最大藻温差绝对值的比较值、对照组与加药组的平均藻温差之和的比较值和藻响应率(ψ)的三个指标评价藻对药液的响应,相较于采用加药组最大藻温差绝对值与对照组最大藻温差绝对值的正差值的一指标法,本发明方法有效降低了分析结果的偶然性,保证了测试藻对药液响应结果的质量,能够控制假结果出现率为20%,由其评价藻响应重金属的灵敏度为0.001~0.1mg/L,由其得到的测试结果的平均重现率为86.8~100%、重现性的出现率为100%,具有准确性高,重复性好,灵敏度高的特点。

标签:
化学分析
四川 - 成都 来源:中冶有色网 2023-03-19
钴锰原料中钴和锰含量的化学测定方法

本发明公开了一种钴锰原料中钴和锰含量的化学测定方法,先用EDTA滴定钴锰原料,得到原料中的钴锰的总浓度;再通过预处理除锰,得到钴液,通过电位滴定法测得钴的浓度,并通过作差法计算得到锰的浓度。本发明分析准确,操作简便,重复性好,误差小于5%。

标签:
化学分析
江苏 - 常州 来源:中冶有色网 2023-03-19
利用化学示踪剂测试体积压裂水平井各段油水贡献的方法

本发明公开了一种利用化学示踪剂测试体积压裂水平井各段油水贡献的方法,主要包含以下四个关键环节:一是确定油剂及水剂的种类;二是估算各段油剂及水剂的用量;三是明确水平井各段油剂及水剂的注入方式;四是在压裂液返排及生产过程中取样及分析化验,确定每段油剂及水剂中的有效示踪物质采出浓度,计算各段产油产水贡献率,该方法解决了以往示踪剂监测技术中地层吸附、细菌蚕食、放射性污染、发生特殊作业时,示踪材料已消耗殆尽、只能评价产液贡献的问题。

标签:
化学分析
北京 - 北京 来源:中冶有色网 2023-03-19
同时测量苯二酚三种异构体的电化学方法

一种同时测量苯二酚三种异构体的电化学方法,包括以下步骤,(1)制备了石墨烯/碳纳米管/壳聚糖/离子液体多层膜修饰玻碳电极;(2)支持电解质为弱酸性缓冲溶液;(3)循环伏安实验条件,扫描电压范围为-0.5V~1.0V,扫描速度为100mV/s,苯二酚三种异构体的峰电位分别为0.08V,0.21V,0.68V,利用峰电流的增加与苯二酚三种异构体的浓度呈很好的线性关系同时进行定量分析。该方法制备的多层膜修饰玻碳电极灵敏度高、选择性好、线性范围宽,不需预先分离,可用于环境水样中苯二酚三种异构体的同时快速测定。

标签:
化学分析
江苏 - 无锡 来源:中冶有色网 2023-03-19
电化学腐蚀制作纳米探针的实时监测系统

一种电化学腐蚀制作纳米探针的实时监测系统,包括有内部装有腐蚀液体的U型管;浸入到U型管一个端口内的纳米探针,和浸入到U型管的另一个端口内的电极,纳米探针的另一端和电极的另一端分别与电源的两端相连接;与纳米探针相连用于调节纳米探针的位置的微操作仪,还设置有用于观察纳米探针制备情况的显微镜;在显微镜的另一端连接有摄像装置,摄像装置还连接计算机。还设置有与电源相连接的用于观察电压波形的示波器。本实用新型能够记录探针的制作过程,进行追踪研究,同时能够实时在线监视纳米探针加工的情况,定量分析探针的参数,并根据观测到的情况及时调整腐蚀过程的各种控制参数,研究不同环境条件对针尖腐蚀的影响,降低了劳动强度。

标签:
化学分析
天津 - 天津 来源:中冶有色网 2023-03-19
用于测量生物化学方法中NOx和硝化/脱氮速度的设备和方法

本发明涉及在生物化学过程中测量NOx的设备和方法,以及实时测量含悬浮固体或不含悬浮固体的液体的硝化速度和/或脱氮速度的设备和方法。

标签:
化学分析
其他 - 其他 来源:中冶有色网 2023-03-19
用于监测和控制工业流体的光电化学感测系统

用于基于光学和电化学特性的测量来控制工业流体系统的操作参数的系统和方法。该系统包括手持或便携式仪表,该仪表可基本上同时测量来自流体系统体的样本的一个或多个光学特性和一个或多个电化学特性。基于系统进行的测量或计算的信息可用于手动或自动地改变各种操作参数以控制流体系统,并有助于维持优选规范内的流体系统的稳定操作。

标签:
化学分析
其他 - 其他 来源:中冶有色网 2023-03-19
生化学测定仪用保管外壳

本发明的目的在于提供一种可以不操心传感器的寿命,进行高精度的尿液测定的生化学测定仪及其保管外壳。在本发明中,分别计算测定的程度、测定次数、或在每个测定日计算测定天数,例如,如果测定次数达到180次、测定天数达到90天,则作为传感器寿命到来,在进行传感器更换的同时,禁止以后的测定。另外,如果测定次数达到170~179次,或测定天数达到85~89天,则作为接近传感器寿命显示更换传感器。

标签:
化学分析
其他 - 其他 来源:中冶有色网 2023-03-19
可用于电化学测量的反向加法式恒电位器及IV转换测量电路

本发明提出了一种可用于电化学测量的反向加法式恒电位器及IV转换测量电路,包括:恒电位器、IV转换电路、电解池,其中,恒电位器的正向输入端与函数发生器相连,恒电位器的反向输入的和输出端与电解池连接,以由恒电位器和电解池构成负反馈放大的闭环回路,输出极化电流;IV转换电路的负向输入端接电解池,IV转换电路的正向输入端接地,IV转换电路的输出端与后续的接收信号采集回路相连,用于将电解池在电化学反应过程中输出的极化电流转换成电压信号,以供后续的接收信号采集回路进行数据采集和处理。本发明在高速的控制电压下,具有较高的稳定性和转换精度;电流测量分辨率高,重复性好。

标签:
化学分析
北京 - 北京 来源:中冶有色网 2023-03-19
测定卤素试剂水平,特别是泳池水中的卤素试剂水平的化学试剂和相关的测定方法

本发明涉及一种测定卤素试剂水平,特别是泳池水中的卤素试剂水平的化学试剂,本发明还涉及一种相关的测定方法,本发明的化学试剂包含一种多糖、一种酸稳定剂化合物、碘化钾、一种染料和蒸馏水。

标签:
化学分析
其他 - 其他 来源:中冶有色网 2023-03-19
测定土壤溶液和地表水中汞化学形态的被动采样器

本实用新型提供了一种测定土壤溶液和地表水中汞化学形态的被动采样器,包括:阴离子交换膜、阳离子交换膜、特氟龙材质被动采样腔、进样口、出样口、O型密封圈、进样口软管和出样口软管;其中,特氟龙材质被动采样腔设置有进样口和出样口,进样口连接进样口软管,出样口连接出样口软管,进样口软管和出样口软管均设置有接头。本实用新型降低吸附,扩大提取液测定容积,实现土壤溶液和地表水中汞自由阳离子的提取和分析测定。

标签:
化学分析
北京 - 北京 来源:中冶有色网 2023-03-19
测量邻苯二酚的电化学方法

一种测量邻苯二酚的电化学方法,包括以下步骤,(1)制备了石墨烯/壳聚糖/离子液体多层膜修饰玻碳电极;(2)支持电解质为弱酸性缓冲溶液;(3)循环伏安实验条件,电压范围为-0.4V~1.1V,电流范围为±10μA,静置时间为5s,扫描速率为200mV/s,利用峰电流的增加与邻苯二酚的浓度呈很好的线性关系进行定量分析。该方法制备的多层膜修饰玻碳电极灵敏度高、选择性好、线性范围宽,不需预先分离,可用于环境水样中邻苯二酚的快速测定。

标签:
化学分析
江苏 - 无锡 来源:中冶有色网 2023-03-19
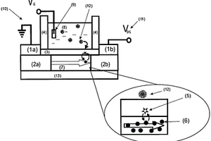
用于测量在生物的、化学的或者其他试样处的小的电压和电势的设备和方法

本发明涉及用于测量在生物的、化学的或者其他试样处的小的电压和电势的设备和方法。所述设备包括至少一个具有源极、漏极和栅极的场效应晶体管,所述栅极与试样接触,并且通过栅极电介质与场效应晶体管的导电沟道绝缘,以及包括用于在源极和漏极之间施加电压的装置和用于对栅极加载偏置电压的装置。按照本发明,栅极电介质在其内部具有至少一个积聚点,所述积聚点能够从沟道捕获载流子,并且相反地发出给沟道。通过这样的积聚点永久地以统计方式将载流子与沟道交换,所述积聚点将流过沟道并且因此流过晶体管的电流与电报调制信号叠加,所述电报调制信号的表示特性的时间常数代替迄今所使用的漏极电流时间平均值可以被用作用于试样的电势或者电压的测量信号。由此所测量的信息的较大的分量鉴于所寻求的结果被分析,这明显地改善测量的灵敏度和精度。

标签:
化学分析
其他 - 其他 来源:中冶有色网 2023-03-19
磁微粒化学发光法测定细胞角蛋白19片段含量的试剂盒

本发明提供了一种磁微粒化学发光法测定细胞角蛋白19片段含量的试剂盒,所述试剂盒包括细胞角蛋白19片段抗体标记的磁微粒试剂、细胞角蛋白19片段抗体标记的碱性磷酸酶试剂;所述细胞角蛋白19片段抗体标记的磁微粒试剂中,细胞角蛋白19片段抗体标记的磁微粒的浓度为0.05‑1mg/ml;所述细胞角蛋白19片段抗体标记的碱性磷酸酶试剂中,细胞角蛋白19片段抗体标记的碱性磷酸酶浓度为0.05‑2μg/ml。本发明采用抗体直接标记磁微粒方式,有效避免内源性生物素对测试结果的干扰,提高试剂盒分析灵敏度及精密度。

标签:
化学分析
浙江 - 宁波 来源:中冶有色网 2023-03-19
管路冲刷腐蚀及电化学测试装置

本发明提供了管路冲刷腐蚀及电化学测试装置,该实验装置的试样为一段实际管路,由两端PVC法兰夹持并由法兰连入管路,其中一端法兰用于安装固态参比电极。辅助电极采用圆柱形电极,位于管路中心轴线,迎水端为圆锥形,插入外接法兰中心圆环,兼有支撑和调节位置的作用。出水端外侧设置螺纹固定于钛合金法兰中心,兼有固定和支撑的作用。本发明的实验装置中试样为管状,可由实际管路裁下或者由棒材等加工而成,其环形管段内流态近似于实际管路,安装方便,提高测试效率。三电极的接入方式有利于保持试验管路内介质流态稳定,使得测试结果更加稳定可靠,有利于更好的分析材料在管路冲刷腐蚀环境中的腐蚀机理。

标签:
化学分析
山东 - 青岛 来源:中冶有色网 2023-03-19
基于对抗强化学习的电力物联网终端设备边信道安全监测方法

本发明公开了一种基于对抗强化学习的电力物联网终端设备边信道安全监测方法,属于智能电网安全领域。通过对终端设备的功耗边信道信息进行预处理和统计分析,确定与终端设备工作状态变化相关的特征组合,将预处理后的边信道特征作为异常监测模型的输入。将终端设备正常工作状态下的历史边信道数据作为正常样本输入异常监测模型,训练多种正常工作状态下的基于单分类的异常监测模型,通过新的终端设备异常状态数据,验证基于边信道信息的终端设备异常监测模型的有效性及其性能。在实际监测过程中,采用异常监测智能体自动选择单一异常监测模型执行程序,实现算法复杂度的自适应调节,兼顾准确度和快速性,提高了电力物联网终端设备的安全性能。

标签:
化学分析
吉林 - 长春 来源:中冶有色网 2023-03-19
水凝胶拉伸环境保湿装置与化学-力学耦合拉伸测试方法

本发明公开了一种水凝胶拉伸环境保湿装置与化学‑力学耦合拉伸测试方法,包含拉伸机、连接装置、销、夹持装置、拉力传感器、箱体、橡胶封闭膜、隔板、雾化器、传感器、环境监测器、排气阀与水分发生装置、微分/积分调节分析模块。拉伸机在箱体内部通过夹具向水凝胶样品施加载荷,完成拉力‑拉伸位移的力学性能曲线测试。本发明通过密封箱体和雾化器可以构建一种环境保湿装置,可防止水凝胶在拉伸时加载段易失水现象的发生;将雾化器镶嵌于箱体下部,由于其产生的水蒸气密度比空气密度小,水蒸气将经由拉伸水凝胶试件充斥于箱体内部;箱体处于封闭状态,在拉伸时拉伸机主轴的往复运动可能导致箱体内压强改变,所以采用排气阀控制箱体内压强。

标签:
化学分析
北京 - 北京 来源:中冶有色网 2023-03-19
上一页 1979 1980 1981 1982 1983 ... 2000 ... 2305 下一页
共2305页    到第

中冶有色为您提供最新的有色金属化学分析技术理论与应用信息,涵盖发明专利、权利要求、说明书、技术领域、背景技术、实用新型内容及具体实施方式等有色技术内容。打造最具专业性的有色金属技术理论与应用平台!

全国热门有色金属设备推荐
展开更多 +
全国热门有色金属技术推荐
展开更多 +

 

江西省隆恩特环保设备有限公司
宣传

报名参会
更多+

报告下载

有色专家
更多+

昆明理工大学
副校长
武汉工程大学
教授
广西大学
处长/教授
江西理工大学
副校长/教授
辽宁忠旺集团
教授级高工
赤泥综合利用研究报告2025
推广

热门技术
更多+

推荐企业
更多+

福建省金龙稀土股份有限公司
宣传

发布

在线客服

公众号

电话

顶部
咨询电话:
010-88793500-807