青岛垚鑫智能科技有限公司
宣传

位置:中冶有色 >

有色技术频道 >

> 化学分析技术

分类:
全部
矿山技术
冶金技术
材料制备及加工技术
环境保护技术
分析检测技术
 
全部
物理检测技术
化学分析技术
力学检测技术
无损检测技术
失效分析技术
环境检测技术
地区:
全部
北京
天津
上海
重庆
河北
山西
辽宁
吉林
黑龙江
江苏
浙江
安徽
福建
江西
山东
河南
湖北
湖南
广东
海南
四川
贵州
云南
陕西
甘肃
青海
内蒙
广西
西藏
宁夏
新疆
其他
其他
展开
 
全部
广州
韶关
深圳
珠海
汕头
佛山
江门
湛江
茂名
肇庆
惠州
梅州
汕尾
河源
阳江
清远
东莞
中山
潮州
揭阳
云浮

广东有色金属化学分析技术理论与应用

免费发布技术信息>>
全自动化学发光免疫分析仪的样本仓

本实用新型公开了一种全自动化学发光免疫分析仪的样本仓,包括主体、底座、缓冲组件、试管架、试管、限位组件以及安装组件,所述主体一侧设置中间偏上位置设置有第一固定螺栓,所述主体一侧中间偏下位置设置有第二固定螺栓,所述主体另一侧开设有开口,所述开口一侧设置有移动杆,所述主体顶部设置有防尘板,所述底座与缓冲组件均设置在主体内部。本实用新型通过打开防尘板,然后通过拧松第二固定螺栓,在通过使用移动杆即可完成对于试管进行移动,从而方便了使用者对于试管的拿取,同时通过设置防尘板,进而在将试管放入装置内部以后,通过盖上防尘板,使得装置能够形成一个密闭空间,从而避免了试管内部的液体被污染。

标签:
化学分析
广东 - 广州 来源:中冶有色网 2023-03-19
全自动电化学发光免疫分析仪的孵育装置

本实用新型公开一种全自动电化学发光免疫分析仪的孵育装置,该孵育装置包括支架、孵育盘、温控加热膜片、码盘、电机和同步带,孵育盘呈圆盒状,其内部多个同心圆上布设有若干孵育盘孔并置放有孵育杯,孵育杯按孵育盘上等分的圆弧段区域组合成孵育杯组,码盘在圆周上设有等分的若干码齿,孵育杯在孵育盘上的角度位置可对应于码齿在码盘上的角度位置,码盘下方设有码盘转动精度感应器和码盘零位感应器;本实用新型的有益效果是:设有码盘、码盘零位感应器和码盘转动精度感应器控制孵育盘精确转动,可同时进行批量样本的孵育反应且可进行温度控制,可整体更换孵育杯组,极大地节省人力、方便生产和维护、提高孵育装置的工作效率。

标签:
化学分析
广东 - 深圳 来源:中冶有色网 2023-03-19
用于化学发光免疫分析仪的抓手

本实用新型公开了一种用于化学发光免疫分析仪的抓手,包括基准板,所述基准板下侧转动安装有第一夹臂和第二夹臂,所述第一夹臂与基准板之间设有第一弹簧,第二夹臂与基准板之间设有第二弹簧,第一弹簧和第二弹簧用于驱动第一夹臂和第二夹臂朝相互靠近的方向转动;所述基准板上固定安装有电机,电机的输出轴上固套有凸轮,所述凸轮位于第一夹臂与第二夹臂之间,在电机的驱动作用下,凸轮能够迫使第一夹臂与第二夹臂朝相互远离的方向转动;所述第一弹簧的弹力大于和第二弹簧的弹力。本实用新型的有益效果是:能够保证抓手与其夹持的反应杯之间具有相对恒定的位置关系,使反应杯准确定位。

标签:
化学分析
广东 - 深圳 来源:中冶有色网 2023-03-19
用于全自动化学发光免疫分析仪的废液桶

本实用新型提供了一种用于全自动化学发光免疫分析仪的废液桶,包括废液桶主体、桶瓶盖一、桶瓶盖垫、液路管、传感器和收集箱,所述废液桶主体的顶端设有开口,所述开口上设有桶瓶盖一,所述桶瓶盖一的顶端设有加工孔,所述桶瓶盖垫与所述桶瓶盖一的顶端内侧贴合,所述液路管和传感器平行设置且二者均垂直设于所述废液桶主体内,所述液路管和传感器的顶端伸出所述加工孔且贯穿所述桶瓶盖垫,所述液路管和传感器的底端保持水平,所述废液桶主体内设有最高液位线,所述最高液位线处设有通向所述废液桶主体外部的溢流管,所述溢流管连接收集箱。本实用新型提供的废液桶结构简单、能有效防止废液外溢且使用寿命长。

标签:
化学分析
广东 - 广州 来源:中冶有色网 2023-03-19
用于全自动化学发光免疫分析仪的摇匀机构

本实用新型公开了一种用于全自动化学发光免疫分析仪的摇匀机构,包括基准板,所述基准板上转动安装有旋转基座,所述旋转基座上偏心装配有与其转动配合的反应杯安装部件,所述反应杯安装部件的上端设有置杯槽,所述基准板上固定安装有向上延伸的支架,支架靠近反应杯安装部件的一侧设有定位槽,所述反应杯安装部件的上端装配有保持杆,该保持杆的远端活动连接在所述定位槽内;所述基准板上设有驱动部件,用于驱动所述旋转基座转动。本实用新型的有益效果是:能够带动反应杯的下部摇晃运动,使反应杯内部的液体充分混合,具有更好的摇匀效果。

标签:
化学分析
广东 - 深圳 来源:中冶有色网 2023-03-19
用电化学发光PCR进行基因检测的方法及其装置

本发明涉及一种用电化学发光PCR进行基因检测的方法及装置,所述装置包括反应样品池、定时器、检测样品池、恒电位仪、光纤、光电倍增管、模数转换器、计算机构成,其中检测样品池内安装有进样管、工作电极、对电极、参比电极、出样管;反应样品池、检测样品池、光纤、光电倍增管、模数转换器、计算机依次相连;定时器与反应样品池相连;检测样品池与恒电位仪相连。所述检测方法的特点是待测序列可以在仪器中进行聚合酶链式反应,然后用探针杂交筛选待测样品,进行电化学发光检测。本发明方法和装置检测灵敏度高、安全、快速、准确、操作简便。

标签:
化学分析
广东 - 广州 来源:中冶有色网 2023-03-19
电化学检测试纸及电化学检测系统

本实用新型公开了一种电化学检测试纸及电化学检测系统。所述电化学检测试纸,包括依次连接的进样口、抗干扰区和检测区,所述抗干扰区和检测区之间设置有相变阀。本实用新型在抗干扰区和检测区之间设置有相变阀,相变阀可以根据需去除的干扰物的不同精确控制打开时间,确保检测结果的准确性,且相变阀不会引入新的干扰,确保检测结果的稳定性。本实用新型还公开了包含上述电化学检测试纸的检测系统及其操作方法。

标签:
化学分析
广东 - 东莞 来源:中冶有色网 2023-03-19
分析化学的液体取样装置

分析化学的液体取样装置,包括取样筒、顶盖和设置在取样筒内部的限位板;取样筒为透明筒体,取样筒的底部设置有喇叭状的导向板;导向板为多孔板;取样筒上设置有密封盖,密封盖上设置有顶盖;顶盖和密封盖上设置有贯穿的通气孔;限位板固定在取样筒的内壁上,限位板位于密封盖和导向板之间;限位板上设置有通孔;限位板、取样筒以及导向板合围形成容纳液体的取样仓;限位板、取样筒以及密封盖合围形成隔离仓;取样筒中设置有连杆,连杆的顶部从密封盖和顶盖中穿过,连杆的顶部安装拨杆;连杆的底部从限位板中穿过,连杆的底部设置有密封塞;密封塞与导向板形状相同,本实用新型体积小,结构简单,单手即可进行操作更加省时省力。

标签:
化学分析
广东 - 广州 来源:中冶有色网 2023-03-19
用于水质化学需氧量分析装置

本实用新型公开了一种用于水质化学需氧量分析装置,包括箱体和电炉,所述电炉为四个,且四个电炉均匀的固定在箱体上端,所述电炉上端放置有锥形瓶,且锥形瓶上端通过磨口连接有冷凝管,所述箱体由冷水箱和存水箱组成,所述冷水箱位于存水箱的下端,所述箱体的左侧下端固定有水泵,所述水泵通过送水管与冷凝管下端的进水口连接,且水泵与冷水箱底部连通,所述冷凝管的出水口通过回流管与存水箱的右侧上端连通。本实用新型通过使水泵均与每个冷凝管的进水口连接,保证了每个冷凝管均能导入从刚从冷水箱内抽出的冷凝水,使得每个冷凝管的冷凝效果均不会受到影响,且使用后的冷凝水会再次导入到存水箱和冷水箱内被冰块冷却,节约了水源。

标签:
化学分析
广东 - 东莞 来源:中冶有色网 2023-03-19
TIP头存放盒和化学发光免疫分析仪

本发明公开了一种TIP头存放盒和具有其的化学发光免疫分析仪,TIP头存放盒包括盒体和载架;盒体上设有上部开口的容置腔,容置腔供TIP头的下端放置;载架上设有上下贯通的放置孔,放置孔供TIP头插设并能够卡接TIP头的上端,载架上设有上下贯通的定位孔,盒体的上端对应设有能够穿设定位孔的定位柱,定位柱能够与定位孔卡接,以使得载架卡接固定在盒体上。本发明结构简单合理,能够避免机械手在获取TIP头时容易带动TIP头载架产生偏移,方便后续机械手对TIP头进行定位获取,且能够方便对TIP头的补充更换,提高本发明的使用便捷性。

标签:
化学分析
广东 - 中山 来源:中冶有色网 2023-03-19
化学发光免疫分析仪清洗液

本发明公开了一种化学发光免疫分析仪清洗液,所述清洗液由二水合磷酸二氢钠、十二水合磷酸氢二钠、氯化钠、氯化钾、表面活性剂、防腐剂和去离子水组成;所述清洗液中,二水合磷酸二氢钠的浓度为0.70~2.8g/L、十二水合磷酸氢二钠的浓度为0.80~4.9g/L、氯化钠的浓度为7.5~9.5g/L、氯化钾的浓度为0.05~1g/L、表面活性剂的浓度为1~7ml/L、防腐剂的浓度为0.1~0.5ml/L;清洗液的pH值为6.3~7.6。本发明的清洗液配置简单,成本低廉,且准确度和精密度高,重复性好。

标签:
化学分析
广东 - 广州 来源:中冶有色网 2023-03-19
加样装置和全自动化学发光免疫分析设备

本发明公开一种加样装置,包括有支架组件、安装于该支架组件上的传动机构、和设于该传动机构上,用于固定和移动加样针的臂组件,所述传动机构包括有:设于所述支架组件内部的丝杆组件;与所述丝杆组件连接的丝杆驱动组件;与所述丝杆组件的顶端连接,并穿过所述支架组件与所述臂组件连接的滚珠花键轴组件;以及与所述滚珠花键轴组件连接的滚珠花键轴驱动组件。本发明还公开了相应的全自动化学发光免疫分析设备。本发明可大大降低对零件的加工精度和安装精度要求,减少构成零件,有效降低产品的制造成本,提高产品的可靠性。

标签:
化学分析
广东 - 深圳 来源:中冶有色网 2023-03-19
运用于开发新能源的化学元素提纯及分析方法

本发明涉及一种运用于开发新能源的化学元素提纯及分析方法。现有的元素周期表使用至今已经一百多年,但是周期表中所列的元素不是纯净元素,在实际操作误差很大。本发明方法为:A、把所有元素,根据其光谱,重新提炼成只有一种颜色光谱的纯净的元素,把元素周期表重新排列。B、将所有的元素,根据其光谱颜色分为金、木、水、火、土五种类型:也就是白色;青色;黑色;赤(红)色;黄色。C、根据五行五行相生相克的原理将纯净元素从新排列,并加运用,从而制成新的能源,适用于各行各业。本发明可以快速地寻找到适合的元素;以及通过对元素提纯,及时发现目前还不了解的元素并加以研究,可操作性强,成本低,应用范围广泛,数据精确,利于推广。

标签:
化学分析
广东 - 深圳 来源:中冶有色网 2023-03-19
化学发光免疫分析仪的试剂条卡座装置

本实用新型公开了一种化学发光免疫分析仪的试剂条卡座装置,包括一左卡座、一右卡座、一U型连接板和一弹性卡扣;所述左卡座的头部连接在U型连接板的左端,所述右卡座的头部连接在U型连接板的右端,连接后左卡座和右卡座之间形成便于插入试剂条的插槽,所述弹性卡扣呈C形且连接在U型连接板的U型部,用于卡住试剂条前端最外侧的圆柱试剂管的外壁;由于采用了左右卡座形成便于插入试剂条的插槽,以及连接在U型连接板处C形弹性卡扣,不仅便于试剂条的快速放进、推入和取出,而且也便于试剂条的快速卡入、固定和拆卸。

标签:
化学分析
广东 - 广州 来源:中冶有色网 2023-03-19
用于免疫分析的化学发光试剂AMPPD的合成方法

本发明公开了一种用于免疫分析的化学发光试剂AMPPD的合成方法。该方法以价格便宜的3-甲氧基苯甲醛为原料,经缩醛化、取代、缩合、脱甲基、磷酸化和光氧化六步反应,以36%的总收率高效合成了AMPPD。本发明从价格便宜的3-甲氧基苯甲醛出发,大大降低了成本;在合成路线中改进了磷酸化的方法,提高了磷酸化反应的产率;合成路线中不涉及严格的无水无氧操作,合成过程中反应产率均很高,适合于工业生产,解决了目前市场合成路线不易放大生产的缺点。

标签:
化学分析
广东 - 深圳 来源:中冶有色网 2023-03-19
微型毛细管电泳电化学检测池及其制作方法

本发明涉及电化学检测设备领域,目的在于克服现有技术的缺点,提供一种结构简单,成型及脱模方便,可以批量生产的微型毛细管电泳电化学检测池及其制作方法。设计了一种采用聚二甲基硅氧烷制作微型毛细管电泳电化学检测池,PDMS是一种硅橡胶,具有透光性能好、折射率低、绝缘和可通过模具浇铸法进行大批量生产等特点。用PDMS来制作检测池,制作工艺十分简单,且脱模效果好,成品率高,具有大批量生产的特点。

标签:
化学分析
广东 - 广州 来源:中冶有色网 2023-03-19
化学分析用干燥设备
化学分析用干燥设备 872     
 0

本实用新型属于化学试剂干燥技术领域,尤其为一种化学分析用干燥设备,包括干燥瓶,所述干燥瓶一侧固定连接有折叠导流嘴用以对农药进行导流,所述折叠导流嘴包括起到主体支撑作用的导流弧板和对所述导流弧板进行限位的限位弧形杆,所述导流弧板两侧与所述干燥瓶活动连接,所述限位弧形杆两端与所述干燥瓶固定连接;瓶内的浓硫酸从折叠导流嘴内流出,折叠导流嘴的导流弧板能够对浓硫酸等试剂进行导流,避免试剂顺着瓶身外壁流出,导流弧板与干燥瓶的连接处能够发生形变,从而实现与干燥瓶的活动连接,当需要倾倒液体时,导流弧板在自身弹性的作用下能够向外张开,在外力作用下导流弧板向内折叠合拢,避免试剂从缝隙溢出。

标签:
化学分析
广东 - 湛江 来源:中冶有色网 2023-03-19
制冷仓装置和化学发光免疫分析仪

本实用新型公开了一种制冷仓装置和具有其的化学发光免疫分析仪,制冷仓装置包括仓体、试剂条和制冷机构;试剂条上设有供试剂瓶放置的放置孔,仓体内设有供试剂条放置的放置腔,仓体的侧边开设有与放置腔连通的取放开口,试剂条能够通过取放开口进入或离开放置腔,仓体上部设有与放置腔连通的取液孔,取液孔的分布位置与试剂条放置在放置腔时的放置孔的位置相对应;制冷机构固定连接于仓体上并用于对放置腔进行制冷。通过设置侧边开口结构的仓体,对试剂条进行更换时,通过水平抽拉的方式,将试剂条通过取放开口从放置腔中取出,能够方便对试剂条进行更换,且制冷保温效果较好。

标签:
化学分析
广东 - 中山 来源:中冶有色网 2023-03-19
反应杯加载装置和全自动化学发光免疫分析设备

本实用新型公开一种反应杯加载装置和全自动化学发光免疫分析设备,所述反应杯加载装置包括有传动机构和推送机构,所述传动机构包括有底板和设于所述底板上的第一水平传动机构,所述推送机构包括有支架组件、设于所述支架组件上的第二水平传动机构、和与所述第二水平传动机构连接的推杆,所述推送机构还包括有:导向控制块,该导向控制块包括有设于所述推杆的推杯行程终点的起始端、设于所述推杆的推杯行程起点的终止端、和设于所述起始端和终止端之间,并绕开所述推杯行程的回程轨道,且所述起始端和终止端之间的间距为一个杯位以上、两个杯位以下。本实用新型可大大降低故障发生率,提高稳定可靠性,加快工作效率,减小产品体积。

标签:
化学分析
广东 - 深圳 来源:中冶有色网 2023-03-19
用于在线间断化学分析仪的取样装置

本实用新型涉及一种用于在线间断化学分析仪的取样装置,包括由位置移动装置驱动的取样臂,位置移动装置驱动取样臂在三维空间移动,取样臂设有取样针和混合圈,混合圈的一端连接取样针,混合圈的另外一端连接有稀释器,稀释器包括器腔和活塞,活塞位于器腔内并能够在器腔内移动,活塞由步进电机驱动移动,取样针与混合圈连接的通道上设有三通电子阀,三通电子阀连接有清洗液桶,取样针连接有固位传感器和液位传感器。与现有技术的蠕动泵加软管的技术方案相比,其使用寿命长,不用经常更换配件,设备运行维护成本低,且计量精确,误差小,自动化程度高。

标签:
化学分析
广东 - 深圳 来源:中冶有色网 2023-03-19
基于大数据强化学习的广告分析和监控方法

本发明涉及一种基于大数据强化学习的广告分析和监控方法,包括:中控单元根据广告后的内容类型对广告投放的类型进行确定;中控单元根据广告后的内容时长对广告投放的时间进行确定;投放单元进行投放;数据收集单元对用户在观看广告时,点击跳过广告按钮时的广告播放时长进行收集并传输至中控单元进行处理;中控单元对观看广告时长低于预设值的广告进行类型的更换,并根据实际观看广告的不同时长对广告进行精准的投放。中控单元接收数据收集单元的数据,根据用户对每种类型的广告的观看时间对用户的喜好程度进行判定,从而判断出用户对广告的需求,进行精准的广告投放,提高广告的转化效果。

标签:
化学分析
广东 - 深圳 来源:中冶有色网 2023-03-19
化学发光微流控芯片及具有其的分析仪器

本实用新型公开了一种化学发光微流控芯片,其包括芯片主体、以及设置在所述芯片主体上的进样口、液体驱动力入口、底物发光液入口、清洗液入口、底物发光液支通道、清洗液支通道、主流体通道和多个功能区;所述主流体通道连通所述多个功能区。本实用新型的化学发光微流控芯片通过特定的液体定量区来实现液体样品的识别定位和定量,降低了芯片的制作工艺难度,提高了检测的准确性。

标签:
化学分析
广东 - 广州 来源:中冶有色网 2023-03-19
化学分析实验用液体取样器

本实用新型公开了一种化学分析实验用液体取样器,包括一管状本体,所述管状本体一端活动插入一活塞推杆,所述管状本体另一端安装一环形连接件,所述环形连接件可沿所述管状本体端部旋转,所述环形连接件端部可拆卸安装一用于取液的吸口筒及若干用于排液的出口筒,所述吸口筒和出口筒沿同一圆周排布;所述管状本体端部开设一用于与所述吸口筒和出口筒连通的连接口;所述吸口筒内侧可拆卸安装有用于过滤液体的过滤组件,所述过滤组件包括一环形滤网,所述环形滤网侧面设置有若干弹性卡柱,所述吸口筒内侧面设有与所述弹性卡柱一一对应卡接的卡接槽。本实用新型技术方案改善现有取样器的结构,方便化学实验的取液操作。

标签:
化学分析
广东 - 深圳 来源:中冶有色网 2023-03-19
化学发光免疫分析仪试剂及样品取放窗口

本实用新型公开了一种化学发光免疫分析仪试剂及样品取放窗口,包括:分析仪壳体,其上开设有取物孔,所述取物孔的孔壁上设有支撑台阶;以及与所述取物孔相适应的主盖板,所述主盖板支撑在所述支撑台阶上,所述主盖板上设有缺口,缺口上滑动装配有滑门。本实用新型的有益效果是:通过在主盖板上设置滑门,以更少的零组件实现了试剂仓系统和样本系统的独立打开,对于试剂仓系统和样本系统集成在同一区域的分析仪具有较好的实用性。

标签:
化学分析
广东 - 深圳 来源:中冶有色网 2023-03-19
自动式化学分析仪及其相分离器

本实用新型涉及分析仪器技术领域,提供了一种自动式化学分析仪及其相分离器,所述相分离器,包括本体、设于所述本体上的流体入口以及设于所述本体上的两个相出口,还包括由所述流体入口伸入所述本体内的辅助管,所述辅助管伸入端的管口呈倾斜状。本实用新型中,通过增加辅助管直接插入到本体内,消除了原有相分离器在分离时玻璃材质表面对相分离带来的干扰,同时,辅助管倾斜状的管口起到导流作用,使相分离更加顺畅,也使相分离更加稳定,不存在因偶尔的有机相与无机相无法正常分离而导致分析中断的情况。

标签:
化学分析
广东 - 深圳 来源:中冶有色网 2023-03-19
试剂架及化学发光免疫分析仪

本发明公开了一种试剂架及化学发光免疫分析仪,包括外壳,所述外壳一端部设置有第一开口;隔板,所述隔板设置于所述外壳的内部并将所述外壳的内部分隔为若干放置位,若干所述放置位均与所述第一开口连通以存放试剂瓶;限位条,所述限位条设置于所述外壳的内侧壁,且所述限位条的长轴方向与试剂瓶进入所述放置位的运动方向平行,用于和所述试剂瓶接触。限位条可减少试剂瓶进入放置位过程中受到的摩擦力,使放入或取出试剂瓶的步骤简洁便利。限位条对进出放置位的试剂瓶阻力较低,且其对晃动或转动的试剂瓶阻力较高,既能够保障试剂瓶在放置位中的稳定性,又加快了从试剂架中取放试剂瓶的操作速度,从而提升分析仪的准确性和工作效率。

标签:
化学分析
广东 - 广州 来源:中冶有色网 2023-03-19
电化学发光免疫分析仪的试剂仓

本实用新型公开一种电化学发光免疫分析仪的试剂仓,该试剂仓包括用以存放试剂盒的仓体、制冷单元和搅拌单元;所述制冷单元固定于所述仓体底部用以恒温冷藏所述试剂盒中试剂瓶内装有的试剂;所述搅拌单元与部分所述试剂瓶传动连接用以搅拌其内装试剂;其有益效果是:该电化学发光免疫分析仪的试剂仓可实现多种试剂同时进行存放、冷藏、搅拌的功能;其制冷单元利用半导体制冷芯片进行制冷,不需要任何制冷剂,寿命长、成本低、安装简单;同时,试剂仓内设有封闭式搅拌单元,在不影响试剂制冷效果的情况下实现试剂搅拌功能。

标签:
化学分析
广东 - 深圳 来源:中冶有色网 2023-03-19
光化学反应-非接触电导检测方法和检测器

本发明为一种色谱类检测方法和检测器。其检测方法是将在线分离后的原始目标分析物先经过光化学反应器,经光照后转化为带电或具有较强极性的物质,然后用非接触电导检测法检测。检测器由光化学反应器和非接触电导检测器组成。光化学反应器的入口接色谱柱的出口,光化学反应器的出口接非接触电导检测器。本发明的优点在于无需化学衍生,可直接对无紫外吸收或弱吸收、无荧光或弱荧光、弱极性或非极性的化合物进行检测,不影响目标物质的分离,反应器和检测电极可避免中毒污染、灵敏度高、应用范围广、使用方便、仪器成本和运行成本低。

标签:
化学分析
广东 - 广州 来源:中冶有色网 2023-03-19
化学试剂用具有血细胞稀释杯固定结构的分析仪

本实用新型公开了一种化学试剂用具有血细胞稀释杯固定结构的分析仪,涉及分析仪技术领域,针对现有的放置方法是直接将稀释杯放在台上,稀释杯容易掉落,并且是开口朝上放置的,清洗之后的稀释杯不易晾干,从而产生细菌的问题,现提出如下方案,其包括分析仪本体,所述分析仪本体的一侧安装有固定座,所述固定座的底端安装有底板,且所述底板以固定座的中轴线呈对称分布,所述底板的顶端安装有侧板,且所述侧板以底板的中轴线呈对称分布,所述底板的顶端安装有固定轴,且所述固定轴的圆周侧壁设置有稀释杯本体。本实用新型结构新颖,且该装置不仅能够将稀释杯固定,防止稀释杯晃动,同时稀释杯为倒置的,可以快速晾干。

标签:
化学分析
广东 - 广州 来源:中冶有色网 2023-03-19
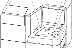
全自动化学发光免疫分析仪器台

本实用新型公开了一种全自动化学发光免疫分析仪器台,包括顶柜壳体,所述顶柜壳体的一侧设置有侧边电源座,所述顶柜壳体的前端面安装有活动盖板,所述活动盖板的一侧固定安装有固定导向条,所述固定导向条的内侧设置有放置通道,所述固定导向条的一侧滑动连接有抽拉板,所述活动盖板的上方固定安装有固定观察板,所述顶柜壳体的上端面设置有警报灯,所述顶柜壳体的后端面固定安装有后部进风机构,所述后部进风机构包括进风管、管体支撑架和连接卡环,所述进风管上端的外侧固定安装有管体支撑架。本实用新型通过对分析仪器内形成正压,便于保持内部气体的纯净,避免外部气体进入造成分析结果出现误差,且使用方便。

标签:
化学分析
广东 - 广州 来源:中冶有色网 2023-03-19
上一页 181 182 183 184 185 ... 190 下一页
共190页    到第

中冶有色为您提供最新的广东有色金属化学分析技术理论与应用信息,涵盖发明专利、权利要求、说明书、技术领域、背景技术、实用新型内容及具体实施方式等有色技术内容。打造最具专业性的有色金属技术理论与应用平台!

全国热门有色金属设备推荐
展开更多 +
全国热门有色金属技术推荐
展开更多 +

 

江西省隆恩特环保设备有限公司
宣传

报名参会
更多+

报告下载

有色专家
更多+

中国科学院赣江创新研究院
院长
武汉工程大学
教授
湖南科技大学
所长/教授
矿冶科技集团
中国工程院院士
武汉科技大学
院长 / 教授
赤泥综合利用研究报告2025
推广

热门技术
更多+

推荐企业
更多+

福建省金龙稀土股份有限公司
宣传

发布

在线客服

公众号

电话

顶部
咨询电话:
010-88793500-807