青岛垚鑫智能科技有限公司
宣传

位置:中冶有色 >

有色技术频道 >

> 无损检测技术

分类:
全部
矿山技术
冶金技术
材料制备及加工技术
环境保护技术
分析检测技术
 
全部
物理检测技术
化学分析技术
力学检测技术
无损检测技术
失效分析技术
环境检测技术
地区:
全部
北京
天津
上海
重庆
河北
山西
辽宁
吉林
黑龙江
江苏
浙江
安徽
福建
江西
山东
河南
湖北
湖南
广东
海南
四川
贵州
云南
陕西
甘肃
青海
内蒙
广西
西藏
宁夏
新疆
其他
其他
展开
 
全部
广州
韶关
深圳
珠海
汕头
佛山
江门
湛江
茂名
肇庆
惠州
梅州
汕尾
河源
阳江
清远
东莞
中山
潮州
揭阳
云浮

广东深圳有色金属无损检测技术理论与应用

免费发布技术信息>>
用于钢结构无损探伤的检测装置

本实用新型公开了一种用于钢结构无损探伤的检测装置,包括横向外壳、竖向外壳、橡胶套、把手、防滑手胶、输出连接柱、背板、紧固螺丝、主板、超声波发生器、振频接收器、蓄电池和输出电极。本实用新型的有益效果是:主板、超声波发生器、振频接收器均通过导线与蓄电池并联连接,将每根线路独立,防止由于某一根线路的损坏而对整体线路进行检测修复,提高检修的工作效率,背板通过紧固螺丝与竖向外壳旋拧锁定,便于更换蓄电池,橡胶套呈梯台状,并具有弹性,保证该装置能够紧紧贴附在待检测的钢材上。

标签:
无损检测
广东 - 深圳 来源:中冶有色网 2023-03-19
钢丝绳无损检测方法及装置

本发明提供一种钢丝绳无损检测方法及装置,该方法包括:通过磁通检测传感器获取被测钢丝绳的磁通信号,通过磁场强度检测传感器获取被测钢丝绳的漏磁信号;对磁通信号和漏磁信号进行预处理,根据预处理后的磁通信号得到磁通特征值,根据预处理后的漏磁信号得到漏磁特征值;根据磁通特征值和漏磁特征值得到被测钢丝绳的缺陷宽度;将被测钢丝绳的缺陷宽度与预设的宽度阈值相比对;若缺陷宽度大于或等于预设的宽度阈值,则根据磁通特征值得到被测钢丝绳的截面损失量;若缺陷宽度小于预设的宽度阈值,则根据磁通特征值和漏磁特征值得到被测钢丝绳的截面损失量。本发明能识别被测钢丝绳所有类型缺陷,截面损失定量精度高。

标签:
无损检测
广东 - 深圳 来源:中冶有色网 2023-03-19
基于X射线的手机数据线生产缺陷无损检测方法

本发明公开了一种基于X射线的手机数据线生产缺陷无损检测方法,属于图像处理技术领域;包括以下步骤:获取手机数据线的X射线图像;并获取X射线图像中每个像素点的对比度;构建对比度‑灰度矩阵;获取每个对比度的增强权重分布;获取增强因子曲线上所有的截断点;利用增强后的灰度值替换X射线图像中原本的灰度值,获取增强后的图像;根据增强后的图像利用DNN神经网络识别手机数据线的生产缺陷。本发明通过对手机数据线X射线图像进行增强,根据增强后的X射线图像检测手机数据线的生产缺陷,以便根据手机数据线的生产缺陷调整生产工艺提高手机数据线的合格率。

标签:
无损检测
广东 - 深圳 来源:中冶有色网 2023-03-19
叠片电池智能无损检测设备

本发明涉及一种叠片电池智能无损检测设备,包括分拣机械臂、顶伸托架、压迫机、支撑腿、支撑块、底座、控制面板、显示屏、装置外壳、门板一、门板二以及计算机,所述底座上端固定有装置外壳,所述底座下端固定有支撑块,所述底座上端固定有分拣机械臂以及顶伸托架,所述顶伸托架位于分拣机械臂右侧,所述顶伸托架上端固定有压迫机,所述顶伸托架、分拣机械臂以及压迫机均位于装置外壳内侧,所述底座右侧固定有支撑架,所述支撑架下端固定有支撑腿,所述支撑架上端固定有整形机,所述整形机右侧固定有生产流水传送带,本发明检测效率高,精度高,劳动强度低,人工成本低。

标签:
无损检测
广东 - 深圳 来源:中冶有色网 2023-03-19
核电站热交换器传热管的无损检测分析方法、装置及系统

本发明适用于核电技术领域,提供了一种核电站热交换器传热管的无损检测分析方法、装置及系统。本发明通过对多个标定管管壁外侧沿标定管的周向开设具有预设周向角度的凹槽,将测量得到的标定管的涡流信号在电压平面生成标定图,再对待测传热管的管腔沿其轴线方向移动检测至少5个位置的涡流信号并将涡流信号于标定图上生成缺陷瞬态响应线以依次获取缺陷瞬态响应线端点的缺陷深度及周向角度,最后根据依次获取周向角度及缺陷深度判定缺陷类型,由此可以直观显示缺陷的周向范围,并通过周向范围及缺陷深度等特征信号判断缺陷的类型,实现定性判伤,从而准确地判定热交换器传热管的缺陷及其类型,减少热交换器传热管的失效风险。

标签:
无损检测
广东 - 深圳 来源:中冶有色网 2023-03-19
无损检测样品品质的方法

本发明公开了一种无损检测样品品质的方法,包括:(1)发射一束光照强度固定的光,并垂直照射待测样品;(2)接收贯穿待测样品后的光束,并根据光强转换成对应的电压值;(3)旋转待测样品,重复步骤(1)、(2);(4)设定残次品判定值,并与同一光照强度不同角度照射下的电压差值进行比较,根据比较结果确定是否为残次品,是,结束检测;否,则执行步骤(5);(5)设定污品判定值,并与同一光照强度照射下的电压值进行比较,根据比较结果确定是否为污品,是,结束检测;否,则确定为好品。本发明判断产品品质的方式,流程简单、实用、可靠、不损伤产品、鉴别精度高,为人们高效率、大批量产品品质的鉴别需求提供了行之有效的保障。

标签:
无损检测
广东 - 深圳 来源:中冶有色网 2023-03-19
贵金属无损检测定位装置

本实用新型公开了一种贵金属无损检测定位装置,包括定位盒,定位盒的内部具有一个顶部开口的密封腔,密封腔的顶部通过一顶盖密封,所述顶盖的顶部固定一凸台,凸台的下端面固定安装一支架,支架中间设置一转动腔,转动腔内壁各开设一第一转轴孔,转动腔内安装一定位臂,定位臂正对第一转轴孔的位置均设置一第一转轴,第一转轴转动安装于第一转轴孔内;所述定位臂的另一端铰接一定位盒。本实用新型采用一个密封的环境来定位贵金属,使其在一个密闭的环境下进行检测,并能够定位在透明面板上,利用软接触实现更好的定位,可实现对贵金属的快速翻面,实现对多个面的快速定位检测。

标签:
无损检测
广东 - 深圳 来源:中冶有色网 2023-03-19
电子元件X光无损检测装置

本实用新型公开了一种电子元件X光无损检测装置,包括第一升降机构、第二升降机构、平移机构、X光发射器、X光接收器、载物台。第一升降机构位于平移机构的上方;第二升降机构位于平移机构的下方。X光接收器装设在第一升降机构上。X光发射器装设在第二升降机构上。载物台装设在平移机构上。第一升降机构包含第一升降滑轨、第一升降驱动电机、摆动驱动电机、横梁。摆动驱动电机通过第二传动组件与旋转轴相连接。摆动驱动电机带动第一升降滑轨在横梁上左、右倾斜,从而调整X光接收器相对于载物台的角度,实现对待测电子元件的多角度检测,操作简单、节省检测时间,提高了电子元件的检测效率。

标签:
无损检测
广东 - 深圳 来源:中冶有色网 2023-03-19
光栅无损检测方法及系统

本发明提供了一种光栅无损检测方法及系统,方法包括:获取样品光栅图像;对样品光栅图像进行背景校正,获得样品光栅透射图;对样品光栅透射图提取样本区域进行分析,获得样品光栅透射图的像素灰度平均值;根据样本区域以及像素灰度平均值判断样品光栅的均匀性;采用Sobel算子对样品光栅透射图进行缺陷提取;将均匀性结果信息和缺陷信息进行显示;该方法通过对样品光栅透射图采样,计算样本区域的相对误差、方差,提取直方图,从而对样品光栅的均匀性进行判断,根据光栅的结构特点,利用Sobel算子消除垂直方向的条纹,从而查找出非垂直方向轮廓的缺陷,方法简单,可靠性高,无需破坏光栅即可检测出样品光栅的均匀性,为样品光栅是否能投入使用提供依据。

标签:
无损检测
广东 - 深圳 来源:中冶有色网 2023-03-19
管道内壁氧化层无损检测装置

本实用新型公开了一种管道内壁氧化层无损检测装置,包括检测设备和检测设备上端安装的底柱,底柱上端安装的伸缩杆一侧上端安装有凸块,凸块一侧内腔安装有探照灯,凸块一侧安装的摆杆一侧安装有凸轮块,伸缩杆上端安装的连接片轴接有滚轮,滚轮一侧安装的第一旋转轴一端安装有第一锥形齿,伸缩杆内腔轴接的旋转盘正面边缘处安装有连杆,连杆另一端与凸轮块轴接,旋转盘背面安装的第二旋转轴另一端安装有第二锥形齿,第二锥形齿与第一锥形齿通过第三旋转轴驱动连接,凸轮块旋转后使摆杆能够不断往复刮擦探照灯表面,从而使探照灯在使用时,防止灰尘遮盖探照灯光源。

标签:
无损检测
广东 - 深圳 来源:中冶有色网 2023-03-19
基于镜面反射的红外线无损检测系统

本实用新型公开了一种基于镜面反射的红外线无损检测系统,其包括用于采集和图像处理的计算机、与计算机连接的激光发生器、用于接收经待检测物反射后的红外辐射的热成像仪、用于调整激光发生器的位置或其发射激光的角度的第一控制装置、用于扩大系统检测范围的反射镜面、第二控制装置。光纤可将激光能量以极小的损耗传递至便携式激光器前端,且便携式激光器前端可小型化,因此可在空间上尽量靠近被检测物体;由激光发生器产生的激光能量经光纤传输至便携式激光器前端,并在光学镜头组件控制装置和光学镜头组件的驱动下,以一定规律扫描在红外辐射反射镜面上扫描,该入射激光经红外辐射反射镜面反射可以更全面的对被检测物体进行检测。

标签:
无损检测
广东 - 深圳 来源:中冶有色网 2023-03-19
导磁构件锈蚀度无损定量检测方法、系统及存储介质

本发明公开一种导磁构件锈蚀度无损定量检测方法、系统及存储介质,该方法包括:获取被测导磁构件的漏磁检测信号;采用预设信号处理方式将所述漏磁检测信号分解成多组数据信号;查询预先建立的锈蚀特征模型,从所述多组数据信号中提取对应的数据组,其中,所述锈蚀特征信号模型包括所述多组数据信号的组号与锈蚀特征的对应关系、以及锈蚀特征信号标准值;采用锈蚀磁信号分析方法将所述数据组转换成对应的锈蚀特征信号;采用锈蚀程度及锈蚀位置分析方法,根据所述锈蚀特征信号、所述锈蚀特征信号标准值,获取所述被测导磁构件的锈蚀位置和锈蚀程度。本发明不需要复杂计算方法或者训练拟合样本,能准确定量判定导磁构件的锈蚀程度和锈蚀位置。

标签:
无损检测
广东 - 深圳 来源:中冶有色网 2023-03-19
用于核电站的支管焊缝无损检测方法

本发明涉及核电站设备管理与检测技术领域,特别是涉及一种用于核电站的支管焊缝无损检测方法。该方法包括将第一胶片放置在相对于待测支管的焊缝的第一位置,将放射源设置在第二位置并使放射源对焊缝进行放射以在第一胶片上成像;将第二胶片放置在相对于待测支管的焊缝的第三位置,将放射源设置在第四位置并使放射源对焊缝进行放射以在第二胶片上成像;第二位置的中心和第四位置的中心以及待测支管的焊缝的中心依次连线形成三角形,相邻的支管位于三角形内;第一位置与第二位置位于待测支管的相反两侧,第三位置和第四位置位于待测支管的相反两侧。该方法避开了相邻的支管的焊缝对检测结果的影响,保障了检测结果的准确性。

标签:
无损检测
广东 - 深圳 来源:中冶有色网 2023-03-19
X光无损检测机
X光无损检测机 992     
 0

本实用新型公开了一种X光无损检测机,包括水平检测台和垂直设置在所述水平检测台上的竖直立柱,所述水平检测台的中间位置设置有圆盘组件,所述圆盘组件能绕其自身轴线360度转动,所述竖直立柱上设置有移动装置,所述移动装置可在竖直立柱上上下移动以及沿其自身轴线转动,所述移动装置上设置有分别位于所述圆盘组件左右两侧的光管组件和增强器组件,且所述光管组件、增强器组件可分别在所述移动装置上左右移动和前后移动,所述光管组件和增强器组件的工作面朝向圆盘组件。本实用新型可以对造件进行360度的全方位检测。

标签:
无损检测
广东 - 深圳 来源:中冶有色网 2023-03-19
水下钢缆无损检测设备

本实用新型公开了一种水下钢缆无损检测设备,支撑体,所述支撑体上设有两端贯通的安装通道,该安装通道具有敞口侧,以使支撑体能够套设在钢缆上;以及设置在所述支撑体上的锁定装置和行走驱动装置,其中,所述锁定装置用于将钢缆保持在安装通道内,所述行走驱动装置用于带动支撑体沿钢缆长度方向移动。本实用新型的有益效果是:能够在水下直接对钢缆进行无损检测。

标签:
无损检测
广东 - 深圳 来源:中冶有色网 2023-03-19
应用于无损检测的超声波手提探伤装置

本实用新型涉及超声波探伤技术领域,尤其为一种应用于无损检测的超声波手提探伤装置,包括探伤装置,探伤装置包括下夹片,下夹片的顶部设置有上夹片,上夹片的顶部安装有探伤支架。该应用于无损检测的超声波手提探伤装置,通过第二万向滚球在侧滑槽内部运动,带动滑板在上夹片上运动,可以将探伤支架在钢管表面位置发生倾斜,使得操作孔的施力方向和钢管的弯折方向保持一致,解决了当探伤支架运动到弯折处时,会产生一定的摩擦力和阻力,导致探伤支架在钢管表面运动受阻,同时对探伤支架造成一定的损害的问题,能够有效降低探伤支架在钢管弯折表面运动的阻力,实现了对探伤支架的保护。

标签:
无损检测
广东 - 深圳 来源:中冶有色网 2023-03-19
电梯钢带电磁无损检测方法及装置

本发明提供一种电梯钢带电磁无损检测方法及装置,其中,所述检测方法包括安装励磁回路、安装检测单元、安装多个感应单元和检测;所述检测装置包括励磁回路、检测单元、多个感应单元、装置主体和端盖。本发明相对于传统钢丝绳检测,无需磁轭,传感器布置及接线方便,体积小,重量轻,检测精度高;可区分缺陷具体出现在哪一根钢丝绳上,实现精确的定位检测;本发明可用于电梯钢带在线检测,也适用于出厂检测和使用过程中钢丝绳的定期检测。

标签:
无损检测
广东 - 深圳 来源:中冶有色网 2023-03-19
应用于无损检测的射线探伤机支撑架

本实用新型涉及探伤机技术领域,尤其为一种应用于无损检测的射线探伤机支撑架,包括底板,所述底板的表面设有两个相互平行的滑轨槽,所述底板上设有两个相互平行的滑动支撑板,所述滑动支撑板的底端滑动嵌设于滑轨槽内,且每个所述滑动支撑板上均固定安装有夹持竖板。本实用新型通过在底板上的滑动支撑板上安装有由夹持竖板和夹持横板组成的夹持机构,可实现对探伤机的夹持固定,达到对探伤机的固定支撑,方便对待检测金属管件的检测,且在底板上安装可折叠式万向轮安装架,通过可折叠式万向轮安装架上的万向轮在展开时实现探伤机的便捷式移动效果,在收合时支撑腿对底板及其上的探伤机的稳定支撑,保证了在检测作业时的检测精确度。

标签:
无损检测
广东 - 深圳 来源:中冶有色网 2023-03-19
海底管道无损检测用牵引装置及其使用方法

本发明公开了一种海底管道无损检测用牵引装置及其使用方法,包括安装板和升降盘,安装板的底部固定连接有固定箱,固定箱内部转动连接有收卷辊,收卷辊的外侧设有牵引绳,升降盘的顶部等距设有与牵引绳配合使用的吊耳,升降盘的底部设有连接板,连接板的底部固定连接有检测器,升降盘的底部对称固定连接有固定板,固定板的外侧对称滑动连接有限位杆;本发明所达到的有益效果是:通过设置了防护板、第一连接块、连接杆、第二连接块、缓冲弹簧和缓冲块实现了在发生碰撞时进行减震缓冲的功能,防止检测元件受到损伤;通过设置了拉杆、卡槽、卡块和连接弹簧实现了对连接板进行拆装的功能,可以将检测器取下进行检修,便于实际中的使用。

标签:
无损检测
广东 - 深圳 来源:中冶有色网 2023-03-19
在线式X射线无损探伤检测方法及其系统

本发明公开了属于探伤检测技术领域的一种在线式X射线无损探伤检测方法及其系统,该方法包括在待检测件触发到漫反射光障向下发射的红外光束时,得到包含结构特征的待检测图像输入预先训练的图像模型进行匹配,对匹配得到的所述待检测图像对应的图像匹配值大于图像匹配阈值,则匹配通过并去除结构特征的干扰,生成待识别区域计算局部动态阈值对比和区域灰度值对比,以判断所述待检测件是否合格。本发明通过对待检测图像进行模型匹配、去干扰和计算识别区域的明亮度和灰度,实现对待检测件的瑕疵、拉伤、断裂等位置的分段异步的高清在线检测,以减少人力投入和缩短检测的总体时间,提高生产质量和生产效率。

标签:
无损检测
广东 - 深圳 来源:中冶有色网 2023-03-19
辅助实现自动化无损检测的方法及装置

本发明实施例公开了一种辅助实现自动化无损检测的方法及装置。该方法包括:获取被检测物体上的预设标识条的颜色信息,所述预设标识条为与所述待测物体的颜色差别度大于预设差别度阈值的颜色标识条;获取所述颜色信息对应的增强图像信息;根据所述增强图像信息获取所述预设标识条的特征信息,所述特征信息用于指示检测物体的自动扫查;本发明实施例通过选用带磁性的柔性材质做标识条,这样就可以沿着任意复杂几何曲面表面上的任意复杂形状的空间曲线焊缝铺设;并通过给柔性标识条表面带上颜色,提升标识条和钢材表面的对比度,可以代替人眼识别焊缝;配合有驱动能力的扫查器,采用识别出来的标识条做引导,可以实现扫查器自动扫查。

标签:
无损检测
广东 - 深圳 来源:中冶有色网 2023-03-19
反应堆控制棒导向筒锁紧杯焊缝无损检测装置

本实用新型公开了一种反应堆控制棒导向筒锁紧杯焊缝无损检测装置,它包括定位座、视频系统、用于驱动视频系统沿轴向运动和周向运动的轴向运动机构和周向运动机构。周向运动机构包括静止的大齿轮、与大齿轮固定的静套筒、与静套筒通过轴承连接的动套筒、周向机构盖板、固定在动套筒上的周向电机和其驱动的周向小齿轮,小齿轮与大齿轮啮合;轴向运动机构包括固定在周向机构盖板上的轴向电机、轴向电机驱动的轴向小齿轮、与小齿轮啮合的齿条管;视频系统固定连接于齿条管的下端部。解决了反应堆控制棒导向筒锁紧杯焊缝无损检查的自动化程度不高、图像不清晰的问题。

标签:
无损检测
广东 - 深圳 来源:中冶有色网 2023-03-19
快速新能源电池无损检测方法

本发明涉及电池检测的技术领域,揭露了一种快速新能源电池无损检测方法,包括:利用改进的双边滤波算法对采集到的新能源电池图像进行滤波去噪处理;利用最优支持平面对去噪后的新能源电池图像进行分割;利用改进的小波变换算法对提取到的目标区域图像进行图像增强;构建新能源电池缺陷检测指标体系,对增强后的目标区域图像进行指标特征提取;利用改进的随机森林优化算法对新能源电池进行优化分类,检测识别新能源电池是否存在表面缺陷以及缺陷位置。本发明所述方法基于新能源电池的图像快速实现新能源电池是否存在表面缺陷以及缺陷位置的检测识别,并基于多种启发式算法对检测方法进行优化,有效提高算法速度,提高检测识别的时效性。

标签:
无损检测
广东 - 深圳 来源:中冶有色网 2023-03-19
管道用无损检测自适配夹具智能磁粉探伤装置

本实用新型公开了一种管道用无损检测自适配夹具智能磁粉探伤装置,包括探伤仪本体,探伤仪本体包含方型壳体,方型壳体包含顶面和一侧面,方型壳体的顶面固定设置手柄,该管道用无损检测自适配夹具智能磁粉探伤装置还包括支撑板座、安装槽孔、轴承和旋转支撑柱,支撑板座包含第一板面和第二板面,支撑板座的第一板面的中部设置安装槽孔,轴承位于安装槽孔内,轴承的外侧壁与安装槽孔的槽内侧壁固定连接,旋转支撑柱的一端探入轴承内与轴承的内侧壁固定连接,旋转支撑柱的另一端与方型壳体的一侧面的中部固定连接。本实用新型避免现有技术中只能通过手提手柄调整探伤仪本体的使用角度造成用户的手每次手提调整均需要承受探伤仪本体整个重力的情况。

标签:
无损检测
广东 - 深圳 来源:中冶有色网 2023-03-19
水果无损检测的方法及装置

本发明涉及一种水果无损检测的方法及装置,包括光源,用于对作为评价对象的水果进行光照;和光谱检测部,用于对所述水果的透射光或反射光进行分光检测并将检测结果的光谱数据输出;计算装置,用于接收所述光谱数据并计算,输出计算结果;包括如下步骤:在所述计算装置中建立基于水果高光谱成像技术的糖度检测模型和成熟度检测模型;获取被检测水果的透射光或反射光的光谱数据,并将所述光谱数据输入所述糖度检测模型和成熟度检测模型进行计算,输出计算结果。本发明不仅能检测水果的糖度,还能检测水果的成熟度。

标签:
无损检测
广东 - 深圳 来源:中冶有色网 2023-03-19
应用于无损检测的磁粉探伤用喷淋装置

本实用新型涉及设备检测技术领域,尤其为一种应用于无损检测的磁粉探伤用喷淋装置,包括两个相互平行的支撑架。本实用新型通过在两个支撑架之间的支撑横梁上的液压缸支撑柱上安装液压缸,通过液压缸的液压动力,可实现推动与其通过液压伸缩杆固定连接的待检测工件夹持块的移动,从而实现对待检测工件的夹持固定,在两个支撑架之间的环体固定板之间安装环体,通过环体上方的磁悬液储存箱可实现对环体内部的喷管进行注液,从而实现通过环体上的一圈喷管对待检测工件的喷淋作业,且通过丝杆的传动作用,可实现环体固定板的水平来回移动,进而达到环体及其上的喷管的水平来回移动,实现对待检测工件表面的全方位喷淋作业,大大提高了检测效率。

标签:
无损检测
广东 - 深圳 来源:中冶有色网 2023-03-19
钢管混凝土密实度超声波层析成像无损检测方法

本发明公开一种钢管混凝土密实度超声波层析成像无损检测方法,该方法包括下述步骤:步骤S1.使用非金属超声检测仪,测得构件的首波声时值;步骤S2.将所有首波声时数据输入到层析成像(CT)软件,即可得到构件的声速分布图;步骤S3.将声速分布图导入sufer软件,进一步描绘图像,得到更加直观的声速分布图,声速分布图中颜色较深的部分,即是识别到的缺陷位置。(1)本发明弥补了技术上的空缺,克服了传统超声波检测结果精度低、不直观,且无法识别缺陷位置的问题;(2)采用本发明还可使经济效益提高,其克服了传统检测方法效率低的问题,可大面积推广使用,节省人力物力。

标签:
无损检测
广东 - 深圳 来源:中冶有色网 2023-03-19
压力管道无损检测机构
压力管道无损检测机构 1067     
 0

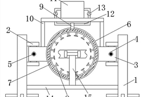
本实用新型公开一种压力管道无损检测机构,因为安装有卡槽式旋转固定座和卡柱式旋转柱装置,且卡柱式旋转柱装置通过凸字形旋转圆柱与卡槽式旋转固定座中的凸字形旋转圆槽套接,同时卡柱式旋转柱装置通过固定卡柱与卡槽式旋转固定座中的固定卡槽套接,所以通过对卡槽式旋转固定座和卡柱式旋转柱装置进行操作,就可以进行角度调节工作,方便工作人员进行检测工作,又因为安装有便拆式卡座装置,且两个半圆形卡座通过固定连接块、弹簧卡柱装置和通过槽装置固定连接,同时两个半圆形卡座通过旋转铰链固定连接,所以通过对便拆式卡座装置进行拆装工作,就可以快速地对待检测管道进行固定套接工作,这样就会节约工作人员的时间。

标签:
无损检测
广东 - 深圳 来源:中冶有色网 2023-03-19
全自动无损透视视觉检测仪

本发明涉及检测仪技术领域,尤其涉及一种全自动无损透视视觉检测仪,包括检测仪本体、连接板、活动杆、滑块、安装板、滑轨、电动推杆、安装箱、防尘丛毛、螺纹杆、螺纹套、驱动马达、滑杆、滑套和固定板,所述检测仪本体的顶部与连接板的底部固定连接,所述连接板顶部的中间位置与活动杆的底部固定连接,所述活动杆的顶部与滑块的底部固定连接,所述安装板底部的中间位置与滑轨的顶部固定连接,本发明使整个检测仪本体在十字交叉的横向平面内达到自由移动的目的,从而使检测仪本体能够根据检测需求进行改变所处位置,同时避免了反复调整工件的繁琐操作方式,节省了检测过程中的繁琐工序,进而保证了对于检测位置的准确性。

标签:
无损检测
广东 - 深圳 来源:中冶有色网 2023-03-19
高分辨图像重构方法、装置及隐裂无损检测系统

本发明提供了一种高分辨图像重构方法、装置以及隐裂无损检测系统,通过尺度不变特征变换SIFT方法进行特征点匹配、运动估计、亚像素级像素点映射等实现采集图像的高分辨重构,提高成像质量,检测精微结构,使得本发明适用范围广,可推广性和可迁移性强,可广泛应用于工业检测场合。

标签:
无损检测
广东 - 深圳 来源:中冶有色网 2023-03-19
上一页 14 15 16 17 18 ... 19 下一页
共19页    到第

中冶有色为您提供最新的广东深圳有色金属无损检测技术理论与应用信息,涵盖发明专利、权利要求、说明书、技术领域、背景技术、实用新型内容及具体实施方式等有色技术内容。打造最具专业性的有色金属技术理论与应用平台!

全国热门有色金属设备推荐
展开更多 +
全国热门有色金属技术推荐
展开更多 +

 

江西省隆恩特环保设备有限公司
宣传

报名参会
更多+

报告下载

有色专家
更多+

北方民族大学
院长/教授
鞍钢集团有限公司
中国工程院院士
郑州大学
校长/党委书记
武汉理工大学
外籍院士/教授
中国瑞林工程技术有限公司
中国工程院院士
赤泥综合利用研究报告2025
推广

热门技术
更多+

推荐企业
更多+

福建省金龙稀土股份有限公司
宣传

发布

在线客服

公众号

电话

顶部
咨询电话:
010-88793500-807