青岛垚鑫智能科技有限公司
宣传

位置:中冶有色 >

有色技术频道 >

> 化学分析技术

分类:
全部
矿山技术
冶金技术
材料制备及加工技术
环境保护技术
分析检测技术
 
全部
物理检测技术
化学分析技术
力学检测技术
无损检测技术
失效分析技术
环境检测技术
地区:
全部
北京
天津
上海
重庆
河北
山西
辽宁
吉林
黑龙江
江苏
浙江
安徽
福建
江西
山东
河南
湖北
湖南
广东
海南
四川
贵州
云南
陕西
甘肃
青海
内蒙
广西
西藏
宁夏
新疆
其他
其他
展开
 
全部
广州
韶关
深圳
珠海
汕头
佛山
江门
湛江
茂名
肇庆
惠州
梅州
汕尾
河源
阳江
清远
东莞
中山
潮州
揭阳
云浮

广东深圳有色金属化学分析技术理论与应用

免费发布技术信息>>
改进干式化学分析装置
改进干式化学分析装置 1048     
 0

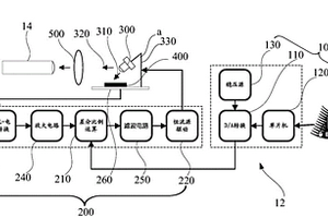
本实用新型公开了一种改进干式化学分析装置,包括安装支架,设置在安装支架上的工作平台,工作平台上设置有一组第一导轨副,第一导轨副的滑块上安装有试纸夹具,试纸夹具一侧与第一驱动气缸连接,第一导轨副之间的工作平台上设置有通孔,通孔的正上方通过一组支撑板设置有图像采集组件,通孔的正下方安装有导向插接组件,图像采集组件和导向插接组件与上位机连接;试纸夹具包括夹具底座,夹具底座上部设置有试纸容置槽,试纸容置槽内安装有加热板和热电偶,加热板和热电偶与夹具底座下部的电路板连接,电路板通过若干承插端子与导向插接组件的插接端子连接。本实用新型能够实现全自动化的试纸送入,快速测定,获得良好的测定结果。

标签:
化学分析
广东 - 深圳 来源:中冶有色网 2023-03-19
用于化学发光免疫分析仪的磁清洗分离装置

本实用新型适用于自动化生化分析技术领域,提供了一种用于化学发光免疫分析仪的磁清洗分离装置,包括机架和安装在所述机架上的安装板;中心转盘,所述中心转盘设于所述安装板上,并能相对于所述安装板进行周向旋转;所述中心转盘上设有承载反应杯的承载孔;清洗组件;所述清洗组件用于对反应杯进行注液和吸液;分离组件,所述分离组件用于吸附混匀后所述反应杯内的磁珠;所述混匀组件包括封闭机构与混匀机构;所述混匀机构用于带动反应杯旋转;在反应杯旋转时,所述封闭机构用于堵塞反应杯开口端;本装置优化了混匀机构,提高混匀效率,保证了反应杯中磁珠的清洗效果,保证了后续测试的测试效率及测试结果的准确度。

标签:
化学分析
广东 - 深圳 来源:中冶有色网 2023-03-19
阴道分泌物检测仪、干化学检测装置和干化学检测方法

本发明提供的阴道分泌物检测仪、干化学检测装置和干化学检测方法,采集白带样本,根据白带样本对应的测试项目,将白带样本添加到对应的试剂块;采集试剂块中感兴趣区域的图像;根据图像得到感兴趣区域的RGB颜色数据;将RGB颜色数据转换成HSV颜色数据;将HSV颜色数据与对应的预设阈值进行比较,得到比较结果;根据比较结果得到白带样本对应的测试项目的检测结果。本发明不仅无需人工参与识别颜色,而且采用HSV颜色模型的数据进行判断,提高了白带样本检测的准确性。

标签:
化学分析
广东 - 深圳 来源:中冶有色网 2023-03-19
用于化学发光免疫分析仪的磁清洗分离装置及方法

本发明适用于自动化生化分析技术领域,提供了一种用于化学发光免疫分析仪的磁清洗分离装置,包括机架和安装在所述机架上的安装板;中心转盘,所述中心转盘设于所述安装板上,并能相对于所述安装板进行周向旋转;所述中心转盘上设有承载反应杯的承载孔;清洗组件;所述清洗组件用于对反应杯进行注液和吸液;分离组件,所述分离组件用于吸附混匀后所述反应杯内的磁珠;所述混匀组件包括封闭机构与混匀机构;所述混匀机构用于带动反应杯旋转;在反应杯旋转时,所述封闭机构用于堵塞反应杯开口端;本装置优化了混匀机构,提高混匀效率,保证了反应杯中磁珠的清洗效果,保证了后续测试的测试效率及测试结果的准确度。

标签:
化学分析
广东 - 深圳 来源:中冶有色网 2023-03-19
小型电化学发光免疫分析仪

本实用新型公开一种小型电化学发光免疫分析仪,包括底部设有平台的机架,平台上设有专用试剂单元、样本仓单元、孵育单元、通用试剂单元,机架的后上方设有上平台,上平台上设有机械臂单元,该机械臂单元包括设有加样针的第一机械臂和设有后处理针的第二机械臂,在机架上还设有用于测量分析已孵育反应样本的测量分析单元、用于控制样本、试剂及废液流向的液路单元、用于人机交互的显示器单元、用于对各单元进行电路控制的板卡控制单元。本实用新型有益效果是:该分析仪结构紧凑,占地面积小,试剂可以长期保存,整个孵育、测量分析过程自动化程度高,不需要人工辅助,减少了人为误差,具有优异的测量精度,测量操作简便,极大地提高了工作效率。

标签:
化学分析
广东 - 深圳 来源:中冶有色网 2023-03-19
化学发光免疫分析用反应杯储存装置

本发明提供一种化学发光免疫分析用反应杯储存装置,设置于反应杯存放底座上,用于化学发光免疫分析系统中储存反应杯,所述储存装置由储存架和升降机构组成,所述升降机构包括:一升降架,一升降电机,一反应杯探测装置以及一控制电路极,通过控制电路自动控制所述储存架的升降。其有益效果是,有效地解决了现有化学发光免疫分析系统中反应杯存放底座空间有限的技术问题,大大提高了系统的工作效率,同时,具有机械噪音小、各机构运行灵活稳定、自动化控制的优点。

标签:
化学分析
广东 - 深圳 来源:中冶有色网 2023-03-19
化学发光免疫分析设备

本申请属于化学发光免疫分析技术领域,提供了一种化学发光免疫分析设备,包括第一机架、设置于第一机架上的采样系统、孵育系统和清洗系统;孵育系统,包括混匀抓手组件、样本盘和孵育盘,样本盘上设置有多个加样位,孵育盘内设置有多个孵育位,混匀抓手组件用于对加样位的反应杯进行混匀操作后移送至孵育位;清洗系统,包括清洗抓手组件、底物组件以及可对反应杯进行清洗分离的第一清洗组件和第二清洗组件,第一清洗组件和第二清洗组件上均包括多个清洗位,清洗抓手组件用于将反应杯移送至清洗位以及用于将第一清洗组件上经清洗分离后的反应杯移送至加样位。通过本申请只需一次开机就能完成多个测试样本的测试,且不会降低测试速度。

标签:
化学分析
广东 - 深圳 来源:中冶有色网 2023-03-19
用于原位电化学X射线衍射分析的样品台

本发明专利公布了一种用于原位电化学X射线衍射分析的样品台,属于材料测试及研究领域,本装置可以对金属离子电池电极材料在二电极及三电极电化学充放电过程中进行原位X射线衍射分析,对材料的晶体结构,化学变化,所受应力进行跟踪分析,适用于目前常用的X射线衍射分析仪器,通过正极固定片和半圆形视窗的设计来实现任意角度的X射线衍射分析,本装置有利于最大限度的收集光学信号,为研究电极材料的性能提供信息,具有安装拆卸方便,适于在长期循环过程中的原位观测等优点。

标签:
化学分析
广东 - 深圳 来源:中冶有色网 2023-03-19
用于生物或化学分析的生物传感器及其制造方法

本发明的实施方案提供用于生物或化学分析的改进的生物传感器。根据本发明的实施方案,背面照射(BSI)互补金属氧化物半导体(CMOS)图像传感器可用于有效分析和测量样品的荧光或化学发光。该测量值可用于帮助识别样品。本发明的实施方案还提供制备用于生物或化学分析的改进的生物传感器的方法以及DNA测序的系统和方法。

标签:
化学分析
广东 - 深圳 来源:中冶有色网 2023-03-19
小型自动化学发光免疫分析系统

本发明提出一种针对中小型医院而设计的小型自动化学发光免疫分析系统,包括主机外壳、温育装置、样品存放架、试剂存放架、化学发光测量室和系统控制中心,所述小型自动化学发光免疫分析系统还包括一公用加样臂、一公用清洗站和一反应杯放置台,所述反应杯放置台设置在所述温育装置的入口,所述公用清洗站设置在所述样品存放架和试剂存放架之间,所述公用加样臂设置在一支架上,所述支架固定于所述主机外壳上支撑所述共用加样臂,所述公用加样臂由所述系统控制中心控制并往返运动于所述样品存放架和试剂存放架之间。其有益效果是,结构设计合理,制造成本低,适用于中小型医院的化学发光免疫分析,能实现自动化地化学发光免疫分析,能有效地保证分析过程和结果的准确无误,减少人为误差。

标签:
化学分析
广东 - 深圳 来源:中冶有色网 2023-03-19
化学发光免疫分析仪试剂存储系统

本实用新型公开了一种化学发光免疫分析仪试剂存储系统,具体涉及免疫检测设备技术领域,包括箱体,所述箱体内部设有晃动机构;所述晃动机构包括分隔板,所述分隔板固定设于箱体内部,所述分隔板一侧设有多个放置架,多个所述放置架上均开设有第一放置槽,多个所述第一放置槽内壁上均镶嵌有第一橡胶圈,所述放置架前后两侧均固定设有转动轴,所述转动轴与箱体通过轴承连接。本实用新型通过晃动机构的设计,可以通过不断的晃动来使箱体内部的磁微粒及其他一些试剂混匀,通过晃动来达到混匀的效果,使得占用箱体内部的空间较少,避免了采用旋转混匀的方式使得箱体内部的空间浪费,同时也避免了设备的大型化。

标签:
化学分析
广东 - 深圳 来源:中冶有色网 2023-03-19
化学发光免疫分析仪恒温孵育箱

本实用新型提供一种化学发光免疫分析仪恒温孵育箱,包括恒温孵育箱体、推拉把手、密封保温箱门、合页、控制柜以及电源开关,恒温孵育箱体右侧设置有控制柜,恒温孵育箱体前侧设置有密封保温箱门,密封保温箱门前端面上侧安装有推拉把手,密封保温箱门下侧与恒温孵育箱体连接处转动连接有合页,恒温孵育箱体前侧设置有电源开关,电源开关上侧设置有加热定时旋钮,加热定时旋钮上侧设置有温度调节旋钮,恒温孵育箱体内部设置有隔热内衬板,该设计能够通过电加热管从上侧对孵育托盘中的血清样品进行加热,通过电加热棒以及加热水箱能够从下侧对孵育托盘中的血清样品进行加热,从而实现对血清样品的恒温加热孵育,提供了检测效率。

标签:
化学分析
广东 - 深圳 来源:中冶有色网 2023-03-19
电化学发光免疫分析仪的试剂盒

本实用新型公开一种电化学发光免疫分析仪的试剂盒,该试剂盒包括盒体、用以盛装试剂的试剂瓶、用以盛装磁珠试剂的圆柱形磁珠瓶,盒体设有容腔以容纳试剂瓶和磁珠瓶,磁珠瓶可在盒体中自由转动,磁珠瓶包括主体部以及主体部下端设有的传动部,主体部两端设有环状凸肩卡在容腔两端以防止磁珠瓶轴向串动,传动部露出于盒体;本实用新型的有益效果是:通过盒体将试剂瓶及磁珠瓶整合为一个整体,实现了磁珠搅拌、试剂盒定位、光耦检测、RFID识别等多种功能性需求,结构紧凑,配合稳定可靠,同时,在进行试剂分装时试剂瓶及磁珠瓶相互独立,极大提高了试剂分装准确性及分装效率。

标签:
化学分析
广东 - 深圳 来源:中冶有色网 2023-03-19
微孔电极及分析化学物质的方法

一种微孔电极,所述微孔电极包括:一个或多个第一电极(301);与每个第一电极(301)相对设置的第二电极(303),每个第一电极(301)和与其相对的第二电极(303)之间具有通道(601),通道(601)的至少一端连通有腔(401);位于所述腔(401)中的一个或多个引导电极(501),该微孔电极检测信号灵敏,读长大大提升。还涉及该微孔电极的制造方法、微孔电极阵列、传感器芯片及测序系统,以及基于该微孔电极的分析化学物质和核酸分子的方法。

标签:
化学分析
广东 - 深圳 来源:中冶有色网 2023-03-19
准自动化学发光免疫分析仪

本发明提供一种准自动化学发光免疫分析仪,包括分析仪控制中心、分析仪外壳,设置于分析仪外壳内的底物容器、底物喷头和化学发光测量室,所述底物容器用于盛装化学发光反应底物,所述底物喷头密封连接所述底物容器用于将所述化学发光反应底物加入所述化学发光测量室进行化学发光反应,所述底物容器与所述底物喷头之间设置有无阀柱塞泵,所述无阀柱塞泵连接所述分析仪控制中心并由所述分析仪控制中心所控制,所述无阀柱塞泵通过连接管路密封连接底物容器和底物喷头。其有益效果是,结构简单,具有很好的耐腐蚀性能,能对化学发光反应底物进行识别,防止发生分析误差。

标签:
化学分析
广东 - 深圳 来源:中冶有色网 2023-03-19
用于纤维含量定量化学分析法中硫酸的回收循环利用方法

一种用于纤维含量定量化学分析法中硫酸的回收循环利用方法,利用该方法对检测使用后的硫酸进行回收、处理、测定、还原国家标准要求的75%硫酸浓度,从而可再利用进行试验,该方法操作简单、使用效果好,可有效降低企业的生产成本,还有利于环保。

标签:
化学分析
广东 - 深圳 来源:中冶有色网 2023-03-19
标准光源及采用该标准光源的化学发光免疫分析仪

本发明涉及一种标准光源及采用该标准光源的化学发光免疫分析仪。该标准光源,包括输入模块,用以产生基准信号;反馈控制模块,包括差分比例运算电路与恒流源驱动电路,差分比例运算电路连接输入模块及恒流源驱动电路;发光二极管,与恒流源驱动电路连接,用以为检测模块提供第一光信号以及为光电倍增管提供第二光信号;检测模块,与差分比例运算电路连接,用以接收第一光信号,并将第一光信号转化为电信号。上述标准光源发光强度稳定。

标签:
化学分析
广东 - 深圳 来源:中冶有色网 2023-03-19
汽车材料限禁用有毒有害物质化学分析试验装置

本实用新型公开了汽车材料限禁用有毒有害物质化学分析试验装置,包括机体,所述机体的内部设置有移动机构,所述机体的上表面上对称固定连接有夹紧机构,所述机体的上表面上固定连接有外壳,所述外壳的内顶部上对称固定连接有电动伸缩杆,所述电动伸缩杆的输出端固定连接有固定板。本实用新型中,两个第一电机驱动时,可以带动第一螺杆在连接筒、内部移动,从而实现夹持板对汽车材料起到夹持固定的效果,保证在对材料试验检测时的稳定行更好,提高试验检测时数据的准确性,实用性更强。

标签:
化学分析
广东 - 深圳 来源:中冶有色网 2023-03-19
液态金属化学成分光谱分析取样模具

本实用新型涉及模具技术领域,特指液态金属化学成分光谱分析取样模具,包括有凹模、设置在凹模底部的基板,凹模上开设有贯穿凹模上下两端面的型腔,本实用新型的凹模为一体式,样品不会出现组合模具的毛刺,保护检测人员的手部;并且型腔的表面上形成一层石墨烯纳米薄膜,能极大地增强模具型腔表面机械性能,并可使模具快速加热或冷却,提高样品质量,并延长模具寿命;另外凹模中开设有通入冷却水的螺旋冷却管道,螺旋冷却管道螺旋环绕在型腔外侧,使样品检测位置激冷并白口化,提高了取样的成功率。

标签:
化学分析
广东 - 深圳 来源:中冶有色网 2023-03-19
电解质分析装置和生物化学体外诊断设备

本实用新型公开一种电解质分析装置和生物化学体外诊断设备。所述电解质分析装置包括有进样杯、通过标准液抽取泵与所述进样杯的进口端导通连接的标准液容器、与所述进样杯的出口端导通连接的电极盒、与所述电极盒导通连接的样本抽取泵和废液容器,所述电极盒内设有离子选择性电极测量组件,所述进样杯的出口端通过导管直接连接到所述电极盒的进口端,所述样本抽取泵通过导管连接到所述电极盒的出口端,且在所述电极盒的出口端和样本抽取泵之间的管路上设置有液体检测器。本实用新型结构精简、体积小、节约成本、故障率低,更适合集成到大型的生化体外诊断设备中;且更利于简化抽取泵的校准操作和提高抽取泵校准的准确率、提高系统的稳定性和精度。

标签:
化学分析
广东 - 深圳 来源:中冶有色网 2023-03-19
POCT全自动化学发光免疫分析仪

本实用新型公开一种POCT全自动化学发光免疫分析仪,包括机架、反应机构、清洗机构及与所述反应机构相对设置的试剂样本机构,所述反应机构与所述试剂样本机构均设置于所述机架上,所述反应机构为中空结构,所述清洗机构设置于所述反应机构的中空结构中,用于清洗所述反应机构中的反应杯。本实用新型技术方案通过将反应盘设为中空结构,并将清洗机构设置在反应盘中。从而实现在反应机构中即可完成清洗操作,从而达到减小设备体积的目的,符合当前的临床测试需求。清洗后再将反应杯传送到光学检测机构上进行检测。

标签:
化学分析
广东 - 深圳 来源:中冶有色网 2023-03-19
流体状态监控装置及化学发光免疫分析仪

本实用新型涉及一种流体状态监控装置及化学发光免疫分析仪。包括:存储池,开设有用于存储废液的缓存腔;输入组件,安装在所述存储池上,所述输入组件开设有连通外界和所述缓存腔的输入通道,所述输入通道用于向所述缓存腔中输入废液;排放组件,安装在所述存储池上,所述排放组件开设有连通外界和所述缓存腔的排放通道,所述输入通道用于将废液从缓存腔中排出;及检测组件,与所述存储池连接,所述检测组件用于检测所处缓存腔中废液的容量。通过设置检测组件,使得该检测组件可以检测所处缓存腔中废液的容量,继而使得缓存腔中的废液能够及时排放以避免外溢,同时防止外溢的废液对周边环境构成的污染。

标签:
化学分析
广东 - 深圳 来源:中冶有色网 2023-03-19
用于化学发光免疫分析仪的磁微粒运动控制结构

本实用新型公开了一种用于化学发光免疫分析仪的磁微粒运动控制结构,基座;转动安装在所述基座上的支撑盘,所述支撑盘上设有圆周阵列分布的支撑孔,所述支撑孔用于定位安装反应杯;嵌设在所述基座内部的磁块,所述磁块沿支撑盘所在圆周方向阵列分布,各个所述磁块的高度沿支撑盘的圆周方向逐渐降低;以及用于驱动支撑盘转动的驱动机构。本实用新型的有益效果是:能够将反应杯中所有的磁微粒吸附引导至杯底,使得杯内所有的有效物质均集中至杯底,防止杂质夹杂在磁微粒中,避免有效物质随废液一起被吸走而造成磁丢,且获得纯净度较高的有效物质,进而提升免疫分析检测的精准度。

标签:
化学分析
广东 - 深圳 来源:中冶有色网 2023-03-19
电化学式氧气分析仪
电化学式氧气分析仪 839     
 0

本实用新型公开了一种电化学式氧气分析仪,包括人机界面、电路主板、氧传感器室、样气入口、校检气入口、气体出口,样气入口管接有取样泵,取样泵的出口管接有过滤器,过滤器的出口管接有流量控制阀,过滤器的出口和流量控制阀的入口之间还与校检气入口管接,流量控制阀、气体出口分别管接在氧传感器室的两端;本实用新型具有不受被测气体中还原性气体的影响,不需样气处理并能快速、免维护地分析氧气含量的优点。

标签:
化学分析
广东 - 深圳 来源:中冶有色网 2023-03-19
化学发光免疫分析芯片盒

本申请涉及一种化学发光免疫分析芯片盒,包括试剂杯、反应杯,所述试剂杯和所述反应杯构成长条形结构,所述长条形结构的一端部设置驱动沟,所述驱动沟用于驱动所述芯片盒进行直线移动;所述反应杯的仓口包括凹槽结构,所述凹槽结构用于进行遮光。所述芯片盒能够适用于直线动作的免疫分析装置,具有较好的遮光效果,利用芯片盒自身的精密设计,无需额外的遮光装置,同时,具有多个试剂杯和反应杯,能够适用于多靶标、多通道的免疫分析分析检测。

标签:
化学分析
广东 - 深圳 来源:中冶有色网 2023-03-19
化学发光免疫分析芯片盒及操作方法

本申请涉及一种化学发光免疫分析芯片盒及操作方法,包括试剂杯、反应杯,所述试剂杯和所述反应杯构成长条形结构,所述长条形结构的一端部设置驱动沟,所述驱动沟用于驱动所述芯片盒进行直线移动;所述反应杯的仓口包括凹槽结构,所述凹槽结构用于进行遮光。所述芯片盒能够适用于直线动作的免疫分析装置,具有较好的遮光效果,利用芯片盒自身的精密设计,无需额外的遮光装置,同时,具有多个试剂杯和反应杯,能够适用于多靶标、多通道的免疫分析分析检测。

标签:
化学分析
广东 - 深圳 来源:中冶有色网 2023-03-19
基于深度强化学习的多设备边缘视频分析系统

本发明涉及计算机技术领域,具体涉及一种基于深度强化学习的多设备边缘视频分析系统。该系统包括边缘服务器以及与所述边缘服务器通信连接的多移动设备;所述边缘服务器上部署有用于视频分析的深度学习模型,用于支持多分辨率输入的检测任务,所有移动设备共享一个无线上行链路用于向所述边缘服务器发送视频帧,所述边缘服务器上部署的深度学习模型用于对接收的视频帧进行视频分析,生成视频分析任务结果,所述移动设备用于通过无线下行链路下载所述视频分析任务结果。本发明具备在线联合退化自适应和通信资源分配,在边缘视频分析任务中缺少实时GT时使用模型输出的置信度近似表示视频分析准确度,同时采用n‑step奖励保证训练的稳定性。

标签:
化学分析
广东 - 深圳 来源:中冶有色网 2023-03-19
全自动电化学发光免疫分析仪的反应杯组

本实用新型公开一种全自动电化学发光免疫分析仪的反应杯组,该反应杯组包括空心圆盘状或部分空心圆盘状的杯架和垂直插套于杯架上的若干相同的反应杯,杯架上设有杯套孔,反应杯设有可盛装反应液的杯内腔,反应杯包括上杯体和下杯体,上杯体外壁与杯套孔内壁紧密配合连接,下杯体露出于杯架下面;其有益效果是:该反应杯组可避免反应杯从杯架掉落,以便于安全运输和拆装;在测试时可方便地将反应杯组按组整体装载和取出,既可极大地提高检测的工作效率,又可充分保证反应杯的安装质量;另反应杯在杯架中呈同心圆分布及任一同心圆上任意相邻反应杯具有一定角度数的位置排列,使每个反应杯都能转动到固定位置以便分析仪自动准确添加样本或试剂。

标签:
化学分析
广东 - 深圳 来源:中冶有色网 2023-03-19
在线化学分析仪
在线化学分析仪 1024     
 0

本发明公开了一种在线化学分析仪,包括基座、存储部和分析部,基座设有第一平台和第二平台,存储部包括样品槽和试剂盘,样品槽固定于第二平台,试剂盘与第一平台转动连接,分析部包括与基座动连接的取样装置和与第二平台转动连接的比色装置,比色装置包括多个比色皿和用于收容比色皿的比色皿盘。通过样品槽固定于第二平台,试剂盘与第一平台转动连接,比色皿盘与第二平台转动连接,取样器吸取样品槽中的样品和试剂盘中的不同试剂加入比色皿进行反应,取消了流通池结构,加快了分析速度,减少了交叉污染,节约了对流通池进行清洗的步骤,比色皿的数量为多个,多个反应可以同时进行,进而提高了分析仪的检测效率。

标签:
化学分析
广东 - 深圳 来源:中冶有色网 2023-03-19
化学尿液分析用自动滴样装置

本实用新型公开了一种化学尿液分析用自动滴样装置,包括吸样针主体,所述吸样针主体的外壁上安装有一号连接结构,所述吸样针主体的前端安装有可拆卸针头,所述可拆卸针头的内部安装有过滤网,所述可拆卸针头的外壁上安装有二号连接结构,所述二号连接结构的前端设置有螺纹环,所述吸样针主体的内部开设有一号流道,所述一号连接结构上开设有一号安装孔。本实用新型所述的一种化学尿液分析用自动滴样装置,属于尿液检测设备领域,通过设置过滤网,可以便于阻挡杂质进入到吸样针主体的内部,从而避免吸样针主体被堵塞;通过设置可拆卸针头,可以便于过滤网的清理,从而最终降低使用者的使用成本。

标签:
化学分析
广东 - 深圳 来源:中冶有色网 2023-03-19
上一页 57 58 59 60 61 下一页
共61页    到第

中冶有色为您提供最新的广东深圳有色金属化学分析技术理论与应用信息,涵盖发明专利、权利要求、说明书、技术领域、背景技术、实用新型内容及具体实施方式等有色技术内容。打造最具专业性的有色金属技术理论与应用平台!

全国热门有色金属设备推荐
展开更多 +
全国热门有色金属技术推荐
展开更多 +

 

江西省隆恩特环保设备有限公司
宣传

报名参会
更多+

报告下载

有色专家
更多+

郑州大学
副院长/教授
矿冶科技集团江苏北矿金属循环利用科技有限公司
书记 / 总经理
中南大学
中国工程院 院士
南方科技大学
外籍院士
广东省科学院资源利用与稀土开发研究所
教授
赤泥综合利用研究报告2025
推广

热门技术
更多+

推荐企业
更多+

福建省金龙稀土股份有限公司
宣传

发布

在线客服

公众号

电话

顶部
咨询电话:
010-88793500-807