青岛垚鑫智能科技有限公司
宣传

位置:中冶有色 >

有色技术频道 >

分类:
全部
矿山技术
冶金技术
材料制备及加工技术
环境保护技术
分析检测技术
 
全部
物理检测技术
化学分析技术
力学检测技术
无损检测技术
失效分析技术
环境检测技术
地区:
全部
北京
天津
上海
重庆
河北
山西
辽宁
吉林
黑龙江
江苏
浙江
安徽
福建
江西
山东
河南
湖北
湖南
广东
海南
四川
贵州
云南
陕西
甘肃
青海
内蒙
广西
西藏
宁夏
新疆
其他
其他
展开
 
全部
其他

其他有色金属分析检测技术理论与应用

免费发布技术信息>>
生物化学物质的分析方法

在使用微流路把对象物质捕捉在固相上的分子检测设备中,实现以高灵敏度通过定量发光的分析方法。在具有结合在固相上的探针的流路状设备中,捕捉作为检测对象的生物化学物质,作成用于发光的标记后,使发光试剂流入,光学检测探针附近的发光。

标签:
化学分析
其他 - 其他 来源:中冶有色网 2023-03-19
可在同一测试条中包含用于不同分析物的一项或多项测定的通用电化学测试条的系统和方法

用于电化学测试血液分析物的测试条包括用于对单个测试条上的分析物进行电化学测试的多个测试点。每个测试点包括第一接收端口,第一接收端口用于接收血液样本,第一接收端口位于测试条的第一末端。测试点还包括第一电极和第二电极,第一电极和第二电极靠近第一接收端口。每个测试点还包括第一触点和第二触点,第一触点和第二触点位于测试条的第二末端,第一触点和第二触点分别与第一电极和第二电极互连。

标签:
化学分析
其他 - 其他 来源:中冶有色网 2023-03-19
具有电极电压感测连接件的基于电化学的分析测试条以及与其一起使用的手持式测试仪

本发明公开了一种手持式测试仪,所述手持式测试仪用于在体液样本中的分析物的测定中与基于电化学的分析测试条一起使用,所述手持式测试仪包括:外壳;条端口连接器,所述条端口连接器至少部分地设置在所述外壳内并且被配置成接收基于电化学的分析测试条;微控制器,所述微控制器设置在所述外壳中并且被配置成生成微控制器命令信号;电极偏压驱动电路块,所述电极偏压驱动电路块设置在所述外壳中并且被配置成基于所述微控制器命令信号来生成偏压驱动信号;以及动态偏压驱动调节电路块,所述动态偏压驱动调节电路块设置在所述外壳中,并且被配置成接收至少一个感测到的电极电压并基于所感测到的电极电压来调节来自所述电极偏压驱动电路块的偏压驱动信号,以形成经调节的偏压驱动信号。

标签:
化学分析
其他 - 其他 来源:中冶有色网 2023-03-19
用于测量生理性液体的方法

描述了用于测量生理性液体采样中分析物浓度的电化学测量技术。更具体地,本发明涉及用于区别由外来事件引起的信号与提供比如一个表示测量误差的信号的期望信息的技术。

标签:
化学分析
其他 - 其他 来源:中冶有色网 2023-03-19
微化学分析系统
微化学分析系统 963     
 0

本发明提供一种微化学分析装置、微混合装置和微化学分析系统。在第1液体和第2液体的合流点或其以后的流路内,配置暂时保存这些液体的混合罐,通过将检测上述第1液体和上述第2液体的反应结果的分析传感器配置在混合罐的下游,在该流路中混合不同种类的液体并使它们发生反应,进行一种液体的化学分析。由此,在液体流完合流点以后的流路前,在混合罐内产生紊流或涡流而一口气地均匀混合。

标签:
化学分析
其他 - 其他 来源:中冶有色网 2023-03-19
用于分析物测定的电化学测试条带

本发明提供了电化学测试条带和利用其检测生理样本中分析物的方法。所述的测试条带具有一由相对的工作电极和参比电极以及隔离所述电极的间隔层限定而成的反应区。所述电极中至少1个的金属表面经过了均一表面修饰层修饰,该修饰层由线性自-组装分子组成,该分子具有一第一巯基末端基团和一第二磺酸盐末端基团,其中所述巯基末端基团和磺酸盐末端基团被一短链烷基连接基团分隔,在特定实施方案中,该分子优选为2-巯基乙磺酸或其盐。所述电化学测试条带可以用来检测多种分析物,特别适于葡萄糖的检测。

标签:
化学分析
其他 - 其他 来源:中冶有色网 2023-03-19
电化学生物感测试纸、生物感测器装置、分析物测量系统

本发明公开一种具有校正血容比功能的分析物测量电化学生物感测试纸、生物感测器装置、系统及方法,该试纸包括一用以检测分析物浓度的第一组电极和一用以检测血容比浓度的第二组电极,该第一组和第二组电极另分别对应于不同的反应区,而与待测物反应的反应层只覆盖设于该第一组电极上,通过提供包括直流信号的第一信号予第一组电极和提供包括固定频率交流信号的第二信号予第二组电极,进而分别测量出未校正的分析物浓度和血容比值,并借此获得更为准确经由血容比值校正的分析物浓度。

标签:
化学分析
其他 - 其他 来源:中冶有色网 2023-03-19
单芯片化学测定装置和单芯片核酸测定装置

本发明涉及一种单芯片化学测定装置和一种单芯片核酸测定装置。所述单芯片化学测定装置包含:在电路支持基底中形成的传感器阵列,所述阵列中的每个传感器包含化学场效应晶体管,且设置成提供与其附近的化学或生物样品的浓度或存在有关的至少一个输出信号,对于所述阵列中的每个传感器而言,响应于相同化学或生物样品的相同浓度或存在,这种输出信号是基本上相同的;在所述电路支持基底中的多个样品保留区,每个样品保留区设置在至少一个传感器上;和在所述电路支持基底中的控制电路,所述控制电路与所述传感器阵列耦联,从而以至少1帧/秒的速率接收来自所述化学场效应晶体管的输出信号的样值。

标签:
化学分析
其他 - 其他 来源:中冶有色网 2023-03-19
用于化学、生物化学、生物和物理分析、反应、测定等的装置和方法

本发明涉及一种用于进行化学、生物化学实验,生物和物理分析,反应和测定的装置和方法,其中采用一种反应单元,在一种优选的具体实施方式中,该反应单元包括:毛细作用反应室、非毛细管作用区域和底部结构,其可以利用毛细管作用来单独地定量吸取并将液体保持在反应室中。多单元板,其包括在平板架上的多个反应单元,可以连同贮藏板、绒垫、以及液体输送导向器一起用来进行平行实验。

标签:
化学分析
其他 - 其他 来源:中冶有色网 2023-03-19
带有相对裸电极的可溶电化学活性涂层的基于电化学的分析测试条

本发明公开了一种带有相对裸电极的可溶电化学活性涂层的基于电化学的分析测试条,用于确定体液样本中的分析物的基于电化学的分析测试条(EBATS)包括:电绝缘基底层、设置在电绝缘基底层上并且包括多个电极的图案化导电层和设置在图案化导电层的一部分上并且从多个电极限定裸电极和多个覆盖酶试剂的电极的酶试剂层。EBATS也包括图案化隔层、具有下侧表面(USS)的顶层以及设置在顶层的USS上的可溶电化学活性涂层(SEAC)。此外,至少图案化隔层和顶层限定EBATS内的样本接收室。此外,SEAC设置在样本接收室的至少一部分内的顶层的USS上并且与裸电极处于相对的关系。

标签:
化学分析
其他 - 其他 来源:中冶有色网 2023-03-19
对可通过导管进入测量室中的液态测量样品进行电化学测量的方法和相应的布置

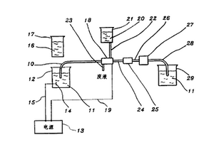
特别在一具有一微流体系统的封闭样品管中使用储存干燥试剂来进行所谓的酶联DNA杂交实验时,必须在测量之前即时将所述试剂溶解在所述微流体系统中,并将其输送至测量室。其中,必须避免在将所述试剂溶入水中时在液态试剂的前方产生不能进入所述测量室的气泡。因此,本发明对液态测量样品和液态试剂(R1,R2)的输送方式为,先使所述气泡进入废料导管(W1,W2),再以不产生气泡的方式将所述测量样品和所述试剂(R1,R2)送入所述测量室(150)。借此可避免出现误测。

标签:
化学分析
其他 - 其他 来源:中冶有色网 2023-03-19
基于测量的温度、物理特性和估计的分析物值确定分析物测量时间的电化学测试条的准确分析物测量

本发明提供了一种方法的多种实施方案,所述方法允许利用生物传感器通过以下方式来获得更准确的分析物浓度:确定代表包含所述分析物的所述样品的至少一个物理特性信号,以及基于测量的温度、物理特性和估计的分析物值来选择分析物测量取样时间。

标签:
化学分析
其他 - 其他 来源:中冶有色网 2023-03-19
电化学测定用电极、电化学测定用电解池和电化学测定用分析装置以及它们的制造方法

本发明实现提高分析数据的长期稳定性的电极、电解池和电化学分析装置。在电解池1中配置工作电极2、对电极3、参比电极4。工作电极是在以铂或铂合金作为母材、在该母材中金属氧化物分散而含有的复合材料,或者将阀金属与铂层叠、铂部的板厚方向的截面结晶组织相对于电极表面形成为层状、铂部的各层的厚度成为5微米以下的层叠材料中形成引线而构成的电极。作为上述的金属氧化物,选自氧化锆、氧化钽、氧化铌,铂或铂合金中的含有比率以锆、钽、铌金属换算计,为0.005~1重量%。如果将上述电极表面的采用X射线衍射测定得到的结晶方位的取向率(%)记为I(hkl)/ΣI(hkl)×100(其中,I(hkl)为各面的衍射强度积分值,ΣI(hkl)为(hkl)的衍射强度积分值的总和),则得到的多个结晶方位内的一个结晶方位的取向率为80%以上。

标签:
化学分析
其他 - 其他 来源:中冶有色网 2023-03-19
电化学分析中的电容检测

本发明提供了一种用于通过测定生物传感器测试室的电容而确定所述测试室的填充是否足量的方法和系统。

标签:
化学分析
其他 - 其他 来源:中冶有色网 2023-03-19
检测并且实时分析大气中的化学和/或生物物质的方法和装置

本发明涉及一种通过火焰分光分度术分析气体成分的装置,其用于识别当前试验光谱并且基于一种知识获取和诊断方法。本发明方法包括以下步骤:对来自当前光谱的缩减数据的主成分分析;建立一个表示有效成分集的投影光谱的矩阵;把该有效成分集的投影光谱集分类到各当前族中;评估当前光谱对所有当前族的成员可能;如果当前光谱族的一个当前族的成员可能大于预定阈值,该当前光谱是所述有效成分集的所述族的成员;如果该有效成分组的一个当前族呈现比预定阈值大的该族不同成分的出现频率发出告警;以及如果所述当前光谱足够脱离现存形式,间接拒绝当前光谱并聚集到一个正在形成的一个族上以形成一个新族的一部分。

标签:
化学分析
其他 - 其他 来源:中冶有色网 2023-03-19
用于检测化学和生物分析物的扫描装置和方法

一种装置可以包括容器、参考表面、预载荷、扫描致动器和发射器。所述参考表面可以与检测器形成结构环。可以将所述预载荷配置为推动所述容器接触所述参考表面上的区域。所述扫描致动器可以配置为使所述容器沿所述参考表面在扫描维度上滑动。所述发射器可以配置成当所述容器受所述预载荷推动接触所述参考表面时,将来自所述容器的信号引导至检测器和/或将来自能量源的能量引导至所述容器。

标签:
化学分析
其他 - 其他 来源:中冶有色网 2023-03-19
用于电化学测定被分析物或氧化还原酶的方法和敏感电极系统以及为此而使用的化合物

本发明的主题是一种在氧化还原酶和可还原物质存在的情况下电化学测定被分析物的方法,所述可还原物质将测量反应过程中产生的电子从氧化还原酶处传送到电极上,从而产生一个作为要测定的被分析物的量度的信号,由此,可还原物质被酶催还原,并在电极上被氧化,该方法的特征在于,在电极上被氧化形成的物质不同于最开始时使用的可还原物质。本发明还包括相应的敏感电极系统和适当的化合物的应用。最后,新的亚硝基苯胺衍生物及其制备方法也是本发明的内容。

标签:
化学分析
其他 - 其他 来源:中冶有色网 2023-03-19
具有改进的采样时间偏移的电化学分析中的电容检测

本发明提供了通过确定电化学测试电池的电容来确定电化学生物传感器测试电池的填充充分性的方法和系统。

标签:
化学分析
其他 - 其他 来源:中冶有色网 2023-03-19
电化学检测金属标记的分析物

描述了用于确定样品中金属标记的分析物(12)的存在或量的方法。所述方法包括以下步骤:将释放剂(20)添加至所述金属标记的分析物(12),从而将所述金属标记物(18)从所述分析物(12)中释放,所述释放剂(20)与金属标记物(18)形成带电稳定物质(22),施加电势从而将所述带电稳定物质(22)送至电极(22),在正电势下溶解所述带电稳定物质(22),从而形成金属离子(26),和执行量化测定步骤如阳极溶出伏安法来确定所述金属标记的分析物(12)的存在或量。

标签:
化学分析
其他 - 其他 来源:中冶有色网 2023-03-19
用于采用电化学生物传感器进行分析物检测的方法和设备

本发明涉及一种用于利用具有工作电极的传感器感测分析物的方法,该方法包括向工作电极提供分析物特异性酶和氧化还原介体,向所述分析物提供所述工作电极,使源自与所述分析物特异性酶和所述氧化还原介体反应的所述分析物的电荷累积达设定的时间段,在所述设定的时间段之后将所述工作电极连接至电路,和测量来自所累积的电荷的信号。

标签:
化学分析
其他 - 其他 来源:中冶有色网 2023-03-19
电化学分析方法、电化学分析装置以及试剂组

提供一种能够高敏感度且高精度地检测、定量来源于生物的样品中含有的镉的电化学分析方法、装置以及试剂组。一种电化学分析方法,是使用对电极(3)以及作用电极(5)以电化学方式分析来源于生物的样品中含有的镉的方法,具备提取工序,对来源于生物的样品添加具有氧化性,不与镉形成络合物的酸,从上述来源于生物的样品中提取镉。

标签:
化学分析
其他 - 其他 来源:中冶有色网 2023-03-19
基于包含分析物的样品的感测物理特性和导出的生物传感器参数的电化学测试条的精确分析物测量

本发明提供了下述方法的各种实施例,所述方法允许利用生物传感器来获得更加精确的分析物浓度,具体方式为确定包含所述分析物的所述样品的至少一个物理特性具体地讲血细胞比容、以及基于此特征导出与所述生物传感器相关的参数以获得精确的葡萄糖浓度。

标签:
化学分析
其他 - 其他 来源:中冶有色网 2023-03-19
基于由包含分析物的样品的感测物理特性限定的多个离散测量的电化学测试条的精确分析物测量

本发明提供了各种实施例,所述实施例允许通过下述方式来获得更加精确的分析物浓度,所述方式为确定包含所述分析物具体地讲葡萄糖的所述血样的至少一个物理特性具体地讲血细胞比容、以及基于所述物理特性与取样时间之间的关系来导出特定取样时间,使得能够利用所述特定取样时间点来更加精确地确定所述分析物浓度。

标签:
化学分析
其他 - 其他 来源:中冶有色网 2023-03-19
用于电化学分析的检测装置

本发明涉及用于确定样品中存在的一种或多种被分析物的检测装置,使用这些检测装置的方法,以及制造这些检测装置的方法。一种检测装置,其包括:一种基质,在基质上配制了2个或多个导电轨道;被设置在至少一个导电轨道的部分上的一种试剂成分;并且掩盖于2种或多种导电轨道的部分上的顶层,顶层与基质结合形成样品收集腔。至少一个导电轨道包含一种导电聚合物。

标签:
化学分析
其他 - 其他 来源:中冶有色网 2023-03-19
用于检测醌类、二苯乙烯类、黄酮类及生物碱类组合物的化学特征分析

本发明公开一种分析产品中的化合物的化学特征的方法,化合物包括醌类化合物、二苯乙烯类化合物、黄酮类化合物及/或生物碱类化合物,醌类包括大黄酸、番泻苷A、芦荟大黄素,二苯乙烯类包括白藜芦醇苷,黄酮类包括黄芩苷,生物碱类包括小檗碱及黄藤素。该分析方法是(a)以高效液相色谱法对该产品及对应该化合物的标准品进行色谱分析;(b)比较该产品及该标准品的高效液相色谱图谱;以及(c)根据比较结果来分析该产品的该化学特征。

标签:
化学分析
其他 - 其他 来源:中冶有色网 2023-03-19
分析物的电化学检测
分析物的电化学检测 689     
 0

本文描述了一种检测分析物的方法,包括提供在其表面包含设计以与所述分析物特异性结合的探针分子的捕获电极,将所述捕获电极与样品溶液接触以使溶液中的所述分析物在所述捕获电极的表面形成探针-分析物复合物,以及在与所述样品溶液接触后测量所述捕获电极的电性质,其中所述电性质上的改变指示电极表面探针-分析物复合物的形成。所述测量在包含具有高介电常数的溶剂的测量溶液或具有高pH值的测量溶液中或用已经与包含有机溶剂的溶液接触的电极表面进行。

标签:
化学分析
其他 - 其他 来源:中冶有色网 2023-03-19
用化学抑制检测的电泳
用化学抑制检测的电泳 1103     
 0

改进的毛细管电泳装置,包括一毛细管,靠近毛细管的入、出口端的第一电极和第二电极以及与第一和第二电极相通的高压电源。改进之处是使膜抑制器与毛细管的出口端相连,使电导率检测器与膜抑制器相连并将第二电极置于膜抑制器的再生剂室内。阴离子分析的方法包括:(a)在缓冲液中进行电泳分离所研究的阴离子;(b)用膜抑制器将缓冲液阴离子交换成再生剂阴离子,从而使缓冲液的电导率降低,形成受抑制的缓冲液;(c)测量受抑制的缓冲液的电导率以测定分离的阴离子。用相似方法分析阳离子。

标签:
化学分析
其他 - 其他 来源:中冶有色网 2023-03-19
用于检测、分析、定量和测试生物制剂/遗传特征的寡核苷酸编码的化学文库、相关系统、装置和方法

本申请提供了一种具有共价连接的化合物和共价连接的DNA条形码的珠粒以及使用这种珠粒的方法。所述珠粒具有所述化合物的许多基本上相同的拷贝和所述DNA条形码的许多基本上相同的拷贝。所述化合物由一个或多个化学单体组成,其中所述DNA条形码采取条形码模块的形式,其中每个模块对应于对应的化学单体并允许标识对应的化学单体。所述核酸条形码可以具有级联结构或正交结构。提供了一种用于对珠粒结合的核酸条形码进行测序、用于从珠粒切割化合物以及用于评估所释放化合物的生物学活性的方法。

标签:
化学分析
其他 - 其他 来源:中冶有色网 2023-03-19
侧向流动免疫化学中的定量分析物检测

提供一种侧向流动免疫化学测试系统和方法。系统可包括具有至少两条对照线和至少一条测试样品线的测试器基片。具有未知量分析物的测试样品可沉积在所述测试器基片上并且所述测试样品可沿所述测试器基片移动,以接触所述至少两条对照线和所述至少一条测试样品线。可使用测量装置来将所述至少一条测试样品线与所述至少两条对照线进行比较,以给出所述测试样品中存在的分析物的量的定量值。

标签:
化学分析
其他 - 其他 来源:中冶有色网 2023-03-19
通过对电化学测试条进行准确的分析物测量,基于测量的温度、物理特性和估计的分析物值以及它们的温度补偿值,来确定分析物测量的时间

本发明提供了一种方法的多种实施方案,所述方法允许利用生物传感器来获得更加精确的分析物浓度,具体方式为确定代表包含所述分析物的所述样品的至少一个物理特性信号,并且基于测量的温度、物理特性和估计的分析物值以及针对在所述测试测定中使用的特定参数提供的温度补偿来选择分析物测量取样时间。

标签:
化学分析
其他 - 其他 来源:中冶有色网 2023-03-19
上一页 244 245 246 247 248 ... 252 下一页
共252页    到第

中冶有色为您提供最新的其他有色金属分析检测技术理论与应用信息,涵盖发明专利、权利要求、说明书、技术领域、背景技术、实用新型内容及具体实施方式等有色技术内容。打造最具专业性的有色金属技术理论与应用平台!

全国热门有色金属设备推荐
展开更多 +
全国热门有色金属技术推荐
展开更多 +

 

江西省隆恩特环保设备有限公司
宣传

报名参会
更多+

报告下载

有色专家
更多+

郑州大学
中国工程院 院士
南昌航空大学
副院长/教授
长沙矿冶研究院有限责任公司
中国工程院院士
昆明理工大学
教授
广东省科学院工业分析检测中心
副主任
赤泥综合利用研究报告2025
推广

热门技术
更多+

推荐企业
更多+

福建省金龙稀土股份有限公司
宣传

发布

在线客服

公众号

电话

顶部
咨询电话:
010-88793500-807