青岛垚鑫智能科技有限公司
宣传

位置:中冶有色 >

有色技术频道 >

> 化学分析技术

分类:
全部
矿山技术
冶金技术
材料制备及加工技术
环境保护技术
分析检测技术
 
全部
物理检测技术
化学分析技术
力学检测技术
无损检测技术
失效分析技术
环境检测技术
地区:
全部
北京
天津
上海
重庆
河北
山西
辽宁
吉林
黑龙江
江苏
浙江
安徽
福建
江西
山东
河南
湖北
湖南
广东
海南
四川
贵州
云南
陕西
甘肃
青海
内蒙
广西
西藏
宁夏
新疆
其他
其他
展开
 
全部

有色金属化学分析技术理论与应用

免费发布技术信息>>
用于测量电化学反应器的多个电化学电池的电压的电压测量装置

电压测量装置被配置成用于测量电化学反应器的多个电化学电池(10)的电压,所述电化学反应器由堆叠的分隔件(6)和膜电极组件(8)形成,每个电化学电池(10)是由膜电极组件(8)插设在两个分隔件(6)之间的形成的,所述电压测量装置包括支架(22),所述支架(22)具有基座(24)和沿着共同延伸方向(D)从所述基座(24)延伸的多个齿(26),每个齿(26)具有与所述基座(24)相连接的近端(26A)和带有适合于与分隔件(6)接合的电接触件(28)的自由远端(26B),所述支架包括齿(26),所述齿的所述远端沿着所述延伸方向(D)彼此偏移。

标签:
化学分析
其他 - 其他 来源:中冶有色网 2023-03-19
化学发光测量室校准光源及化学发光测量室

本申请涉及一种化学发光测量室校准光源,包括光源盒、光电耦合接头和光纤,光源盒内发出的光进过光纤、光纤接头与化学发光测量室连接,LED光源发出的光导入化学发光测量室内,以对化学发光测量室进行校准,从而不需要依赖标准发光液来对测量室进行校准,具有结构简单,使用方便的优点。

标签:
化学分析
江苏 - 苏州 来源:中冶有色网 2023-03-19
电化学测定方法、电化学测定装置以及传感器

一种电化学测定方法,通过电化学方式测定溶液中的生物样品所生成或消耗的化学物质,作为已知条件包含与化学物质发生电子的转移而使氧化还原反应进行的工作电极的电极面尺寸和生物样品的尺寸,以生物样品与电极面的沿着相对于电极面垂直的方向距离为变量,基于在生物样品中生成或消耗化学物质的化学反应的速度、溶液中的化学物质的浓度分布的变化、电极面上的与化学物质发生电子转移的速度而进行计算出在工作电极中流通的电流的模拟,求出包括电流达到最大值的点在内、电流达到最大值的90%以上的大小的垂直方向距离的范围,在溶液中使生物样品与电极面在相对于电极面垂直的方向上分开属于所述范围的距离而进行测定。

标签:
化学分析
其他 - 其他 来源:中冶有色网 2023-03-19
监测氮含量的电化学传感器及其制备方法

本发明涉及一种监测氮含量的电化学传感器,其包括:固体电解质层,所述固体电解质层以Y2O3掺杂的氧化锆YSZ为基体材料;辅助电极层,所述辅助电极层以氮离子取代YSZ中部分氧离子形成的氮掺杂的Y2O3稳定氧化锆YNSZ为基体材料。本发明还进一步包括所述电化学传感器的制备方法,是在已制成的YSZ固体电解质的表面利用高温表面氮化处理方法,使该YSZ固体电解质表面原位生成一定厚度的YNSZ辅助电极层,不仅工艺快速简单,YNSZ辅助电极层致密无气孔、且与YSZ固体电解质基体结合紧密牢固,相容性好,界面电阻小,因而借助所述制备方法有助于进一步获得性能优异的氮含量电化学传感器。

标签:
化学分析
辽宁 - 沈阳 来源:中冶有色网 2023-03-19
用于降低直接和间接干扰电流影响的改进的电化学测试条

本发明涉及电化学传感器(800)或测试条,其包括衬底(50)、布置在衬底上的第一个工作电极(808)、布置在衬底上的第二个工作电极(806)、参比电极(810)、布置在第一个工作电极(808)上的活性试剂层(820),其中活性试剂层(820)完全覆盖第一个工作电极(808),和布置在第二个工作电极(806)上的非活性试剂层(818),其中非活性试剂(818)完全覆盖第二个工作电极(806)。本发明还涉及电化学传感器(1000),其包括衬底(50)、布置在衬底上的第一个工作电极(100)、布置在衬底上的第二个工作电极(102)、参比电极(104)、布置在第一个工作电极(100)上的活性试剂层(820),其中活性试剂层(820)完全覆盖第一个工作电极(100),第二个工作电极(102)具有活性区域(102A)和非活性区域(102I),活性试剂层(820)布置在第二个工作电极(102)的活性区域(102A)上,非活性试剂层(818)布置在第二个工作电极(102)的非活性区域(102I)上。

标签:
化学分析
其他 - 其他 来源:中冶有色网 2023-03-19
原位pH值监测及多电极电化学测试的电化学反应釜

本实用新型提供一种原位pH值监测及多电极电化学测试的电化学反应釜,属于反应釜技术领域。该反应釜包含釜体与釜盖,釜体含有加热套、热电偶,将其与高温高压精密控制数显器连接可以精确控制釜体温度,釜盖上装配有pH电极或多电极固定装置,pH电极与反应釜内环境接触可以达到实时监测试样原位pH值变化的目的,而装配为多电极可以同时进行多个电化学测试。该反应釜具有独创设计特色,以更加精准测定电化学反应;其设计巧妙,实用性强,具有良好的实际产业化生产前景。

标签:
化学分析
北京 - 北京 来源:中冶有色网 2023-03-19
电化学测定方法、电化学测定装置以及转换器

在于包测定对象物的电解液中设置与测定对象物进行电子的得失而使其进行氧化还原反应的作用极以及经由外部电源与作用极相连的对电极、对作用极与对电极之间施加测定用电压并根据测定对象物的量测定流经作用极与对电极之间的电流的电化学测定方法中,在电解液中设置测定对象物消除用电极,并执行:测定对象物消除步骤,对测定对象物消除用电极与对电极之间施加与测定用电压相同极性的消除用电压,将测定对象物通过氧化或还原而消除;测定对象物扩散步骤,在停止施加消除用电压之后,使新的测定对象物扩散;电化学测定步骤,在使新的测定对象物扩散之后,对作用极与对电极之间施加测定用电压而测定电流。

标签:
化学分析
其他 - 其他 来源:中冶有色网 2023-03-19
应力-电化学腐蚀测试装置

本发明涉及一种能实现厌氧菌存在下的应力-电化学腐蚀测试装置。装置由电化学工作站、应力腐蚀拉伸机、恒温水浴槽和自制拉伸盒构成,自制拉伸盒为圆柱双室结构,外室走介质溶液,内室半盛放试验溶液,外室顶端封死,内室壁有支架,内室高度低于外室,盒盖钻有多个孔洞,盒盖与盒体间空隙用封口膜密封,拉伸盒外套有一层棉布筒状保温罩,保温罩两头带有橡皮筋,恒温水浴槽内可采用两种介质溶液,用于加热或制冷试验溶液。本装置可避免拉伸盒内溶液溢出,并为拉伸试样提供恒温密闭的应力腐蚀环境,实现多种测试方法的同步测量。

标签:
化学分析
辽宁 - 抚顺 来源:中冶有色网 2023-03-19
电化学测定方法以及电化学测定装置

本发明提供一种电化学测定方法以及电化学测定装置。通过以下的电化学测定方法以电化学的方式对生物体样品的状态进行测定。准备具备作用电极并填充有测定液且使测定液与作用电极相接的电化学测定设备。在测定液放入生物体样品。对作用电极施加测定电位,并测定流过作用电极的电流值。对作用电极施加氧化电位来使作用电极的表面氧化。通过该电化学测定方法,能稳定地进行生物体样品的周围的环境的测定。

标签:
化学分析
其他 - 其他 来源:中冶有色网 2023-03-19
化学发光测量中的模拟光测量和光子计数

发光计(400)包括被配置成感测光子(135)的光检测器(630)。发光计(400)包括:模拟电路(915a),其被配置成基于在一段时间内从化验反应发射的光子(135)来提供模拟信号(965);以及计数器电路(915b),其被配置成基于在一段时间内从化验反应发射的光子(135)来提供光子计数(970)。发光计(400)包括发光计控制器(905),该发光计控制器(905)被配置成响应于模拟信号(965)的模拟信号值大于预定值,基于模拟信号(965)的模拟信号值和线性函数(1010)确定并报告在一段时间内从化验反应发射的光子(135)的测量值。可选地,线性函数(1010)是根据模拟信号(965)和光子计数(970)之间的关系得出的。

标签:
化学分析
其他 - 其他 来源:中冶有色网 2023-03-19
生乳中尿素含量的分析测试方法

本发明涉及化学检测领域,具体公开了一种快速检测尿素含量的试纸及其应用。本发明所述试纸浸泡液包括硫氰酸钾、对二甲氨基苯甲醛、酒石酸盐、抗坏血酸。试纸在光电测色仪上的检测波长为420~450 nm,反应时间为5~15min。本发明具有反应灵敏、便于操作等优点,检测准确度和灵敏度较高。

标签:
化学分析
黑龙江 - 哈尔滨 来源:中冶有色网 2023-03-19
化学发光测量仪及化学液体发光强度的测量方法

本发明涉及一种化学发光测量仪及化学液体发光强度的测量方法。现有化学发光测量仪体积大、测量速度慢。为此,本化学发光测量仪包括微孔板、光电传感器和微孔板驱动系统,微孔板驱动系统可带动微孔板作纵向移动,其特征在于:其还包括光导纤维,该光导纤维一端固定在所述光电传感器的输入端上,其另一端为移动端,配有横向驱动机构,该横向驱动机构可带动移动端在微孔板上方作横向移动。作为优化,光导纤维移动端相对于微孔板移动时,逐行往返运动或逐列往返运动。本发明化学发光测量仪具有体积小,测量速度快、效率高的优点,本发明化学液体发光强度的测量方法在往返行程均进行测量,速度快、效率高,适用于生物化学和临床诊断领域。

标签:
化学分析
广东 - 珠海 来源:中冶有色网 2023-03-19
装有集成测试器的电化学电池

公开用于装有与标签成整体以形成标签/测试器组合体(8)的状态测试器的电化学电池的标牌条。标签/测试器组合体具有与电化学导电材料(40)热接触的热变色材料(12)。防粘条上形成含有固化的导电材料最好也含有热变色材料的底层,然后就离开条转换到热收缩基膜(10)的内表面上。可以在被转换的导电材料上涂敷隔离涂层(60)。最好的是,把具有用于截留空气的大窗口孔的纸片或塑料薄膜敷在隔离涂层上并在导电材料的发热部分上对齐。随着具有窗口孔的纸或塑料薄膜贴着电池外壳把标签/测试器组合体敷在电池外壳上。通过压下在标签/测试器组合体表面上的一个或二个区域从而使导电材料与电池电极连接可以启动测试器。随后加热导电材料,在热变色材料的外表上引起变化,显示电池的状态。

标签:
化学分析
其他 - 其他 来源:中冶有色网 2023-03-19
基于纳米TiO2光催化氧化-KMnO4化学发光法测定化学需氧量的方法

基于纳米TiO2光催化氧化-KMnO4化学发光法测定化学需氧量的方法,属于水环境监测分析领域。将具有催化效果的TiO2薄膜固定在石英盘管内,并将紫外灯管套在盘管内部。当水样流经盘管时会受到TiO2的光催化氧化作用,之后与酸性高锰酸钾混合发光。通过采集的光信号对水样的COD值进行测量。

标签:
化学分析
江苏 - 无锡 来源:中冶有色网 2023-03-19
应用于电化学试条的阻抗测试方法及电化学测量系统

本申请公开了一种应用于电化学试条的阻抗测试方法,电化学试条包括至少两个电极,其中,当电化学试条插入到测试仪时,由两个电极至少可形成一条与待测样本不连通的电极连通回路,并且,由两个电极至少可形成一条与待测样本相连通的样本连通回路;该方法包括:获取电极连通回路的阻抗值,并根据电极连通回路的阻抗值和试条的阻抗标定值确定电化学试条的校正系数;获取样本连通回路的阻抗值,并根据样本连通回路的阻抗值、校正系数和阻抗标定值确定待测样本的目标阻抗值。显然,由于通过此种方法可以将样本连通回路中电极所具有的电极阻抗值去除,所以,通过该方法就可以避免试条电极在印刷过程中所产生阻抗差异而对样本测试结果的影响。

标签:
化学分析
湖南 - 长沙 来源:中冶有色网 2023-03-19
基于电化学‑热耦合模型的预测锂电池循环寿命的方法

一种基于电化学‑热耦合模型的预测锂电池循环寿命的方法,包括以下步骤,1)获取锂电池的物性参数和电化学参数,并对电池进行充放电循环测试;2)利用步骤1)获得的参数信息,建立电化学‑热耦合模型,并对模型进行有效性验证;所述电化学‑热耦合模型是一个准二维电化学模型和一个三维热模型的耦合模型;3)验证模型的有效性;4)确定经验寿命函数;5)得到最终的寿命函数。本发明通过构建电化学热耦合多物理场模型,对仿真计算得到的寿命曲线进行函数拟合得到了具有快速响应、预测能力强、适用范围广的电池寿命预测方法。

标签:
化学分析
湖南 - 长沙 来源:中冶有色网 2023-03-19
电化学测试方法
电化学测试方法 708     
 0

本发明涉及一种电化学测试方法。技术方案在基础操作平台内先营造出薄液膜分布,再利用测量装置进行液膜高度测量,进而连接电化学测试系统测量不同液膜高度下的局部腐蚀参数。有益效果是:经过除氧剂后的湿气流,保证圆柱水筒内的湿度,减少制备液膜的蒸发;通过高纯氮气除氧,并利用溶解氧测量棒测量溶液氧含量,保证无氧环境,在通入气体的同时,定期旋转搅拌叶片,实现溶液内部充分混合,减少溶液各处的差异;利用螺旋装置测量液膜高度;通过丝束电极技术,能够得到薄液膜下不同位置处的电化学腐蚀信息。

标签:
化学分析
山东 - 青岛 来源:中冶有色网 2023-03-19
化学辅料测试用固定工装和化学辅料测试装置

本实用新型提供了一种化学辅料测试用固定工装和化学辅料测试装置,化学辅料测试用固定工装包括:支撑板;设置于支撑板上且用于支撑测试样条中部的凸台,该凸台的顶面高于支撑板的顶面;位于凸台的两侧,用于将测试样条两端固定于支撑板上的固定件。本实用新型提供的化学辅料测试用固定工装,通过采用凸台支撑测试样条的中部,固定件将测试样条的两端固定于支撑板上,由于凸台的顶面高于支撑板的顶面,则测试样条的中部受到向上的作用力,使得测试样条呈拱状,这样便于显示化学辅料对测试样条的影响,进而能够测试化学辅料对塑料件是否有影响。

标签:
化学分析
广东 - 珠海 来源:中冶有色网 2023-03-19
电化学测定器件以及电化学测定系统

电化学测定器件使用具有导电性的测定液来测定生物体试样的活动。该电化学测定器件具备:板,设置有第一容池和第二容池;测定电极,配置在第一容池内;以及第一载置部,设置在第一容池的底面,构成为载置生物体试样。在板的上表面设置有第一容池,且在上表面的与第一容池不同的位置设置有第二容池。板具有将第一容池的底面从第二容池的底面分离的壁。测定电极在第一容池的底面上设置在第一载置部的周围。构成为在第二容池内配置有对置电极。构成为测定液可进入到第一容池和第二容池中。构成为测定液的进入到第一容池的部分与测定液的进入到第二容池的部分导通。该电化学测定器件能够在短时间进行多个容池中的电化学测定。

标签:
化学分析
其他 - 其他 来源:中冶有色网 2023-03-19
用于在电化学测试条中降低直接和间接干扰电流影响的方法

本发明涉及降低电化学传感器(800)中的干扰的方法,其中所述方法包括下列步骤:测量在第一个工作电极(808)上的第一个电流的步骤,所述第一个工作电极(808)被活性试剂层(820)覆盖;测量在第二个工作电极(806)上的第二个电流的步骤,所述第二个工作电极(806)被非活性试剂层(818)覆盖;以及使用第一个工作电极(808)的活性区域面积与第二个工作电极(806)的非活性区域面积的比例来计算代表葡萄糖浓度的校正电流值的步骤。本发明还涉及降低电化学传感器(1000)中的干扰的方法,其中所述方法包括下列步骤:测量在第一个工作电极(100)上的第一个电流的步骤,所述第一个工作电极(100)被活性试剂层(820)覆盖;测量在第二个工作电极(102)上的第二个电流的步骤,其中活性试剂层(820)布置在第二个工作电极(102)的活性区域(102A)上,并且第二个工作电极(102)的非活性区域(102I)被非活性试剂层(818)覆盖;以及使用在第一个和第二个工作电极上的活性区域面积与在第二个工作电极上的非活性区域面积的比例来计算代表葡萄糖浓度的校正电流值的步骤。

标签:
化学分析
其他 - 其他 来源:中冶有色网 2023-03-19
碳负极材料电化学性能快速测试工艺

一种碳负极材料电化学性能快速测试工艺,该工艺包括如下步骤:a、将待测碳负极材料与导电剂、粘结剂和增稠剂制成的电极片敷料按0.6~1.0g/dm2的面密度均匀涂布在铜箔上,烘干后形成电极片;b、将电极片按1.1~1.5 g/cm3的压实密度进行辊压并裁切成半电池所需的电极片;c、将半电池组件按正极壳、电极片、隔膜、锂片、垫片、负极盖的顺序组装,在70~85MPa的压力下封口,形成半电池;d、通过测试柜对半电池分正常组和实验组进行测试,测试一次或循环测试多次,根据测试结果判定碳负极材料的首次充放电克比容量和首次充放电效率是否符合要求。本发明可简便、快速、准确的测试碳负极材料电化学性能,同时可有效降低碳负极材料电化学性能的测试成本。

标签:
化学分析
广东 - 深圳 来源:中冶有色网 2023-03-19
电解质膜电化学阻抗谱测试装置及电化学测试系统

本实用新型公开了一种电解质膜电化学阻抗谱测试装置及电化学测试系统,涉及电解质阻抗谱测试技术领域,为提供一种提高电化学阻抗谱测试精确度的电解质膜电化学阻抗谱测试装置而设计。电解质膜电化学阻抗谱测试装置包括支架、夹持组件和升降台;夹持组件包括相对布设且用于夹持电解质膜的两个夹持件,两个夹持件均为导电体,且两个夹持件上均安装有外接极耳;升降台滑动安装在支架上,且升降台与其中一个夹持件连接。本实用新型电解质膜电化学阻抗谱测试装置及电化学测试系统用于提高测试数据的精确度。

标签:
化学分析
河北 - 廊坊 来源:中冶有色网 2023-03-19
CO2无氧环境下薄液膜的局部电化学测试系统及方法

本发明涉及一种CO2无氧环境下薄液膜的局部电化学测试系统及方法。技术方案包括基础操作平台、CO2无氧环境下薄液膜系统、CO2无氧环境下薄液膜腐蚀动力学测量系统,在基础操作平台内先营造出CO2无氧环境下薄液膜分布,再利用测量装置进行液膜高度测量,进而连接电化学测试系统测量不同液膜高度下的局部腐蚀参数。有益效果是:经过除氧剂后的湿气流,保证圆柱水筒内的湿度,减少制备液膜的蒸发;通过高纯氮气除氧,并利用溶解氧测量棒测量溶液氧含量,保证无氧环境,在通入气体的同时,定期旋转搅拌叶片,实现溶液内部充分混合,减少溶液各处的差异;利用螺旋装置测量液膜高度;通过丝束电极技术,能够得到薄液膜下不同位置处的电化学腐蚀信息。

标签:
化学分析
山东 - 青岛 来源:中冶有色网 2023-03-19
测定钢液/铁液中锰的电化学传感器及其制备方法

一种测定钢液/铁液中锰的电化学传感器及其制备方法,属于固体电解质和电化学领域。该电化学传感器的固体电解质管的封闭端外壁设置有辅助电极涂层,在固体电解质管内由封闭端到开口端依次设置有参比电极粉末、惰性Al2O3粉末和高温粘结剂,在固体电解质管内还设置有探头端Mo丝,探头端Mo丝、电压表、工作电极导线端Mo丝、Mo棒依次相连;电化学传感器外设置有刚玉支撑管。其制备方法为:固体电解质管涂覆辅助电极涂层,进行烧结,然后将其他部件进行组装,分阶段进行保温。该传感器具有辅助电极耐钢液/铁液高温化学侵蚀,电解质致密度高,抗热震性能好,适用于炼钢和精炼气氛,测定方法灵敏度高、准确性高、能够实现实时监测。

标签:
化学分析
辽宁 - 沈阳 来源:中冶有色网 2023-03-19
应用于化学需氧量测试的催化剂及化学需氧量测试方法

本发明涉及一种应用于化学需氧量测试的催化剂及化学需氧量测试方法。所述应用于化学需氧量测试的催化剂包括硫酸氢钾和/或硫酸钾,其能够有效促进化学需氧量测试过程中待测样品的消解,缩短消解时间,同时环境友好,成本低,采用该催化剂的化学需氧量测试方法,能够实现较现有技术更高的测试效率,且无需加入剧毒的抗干扰试剂或进行额外抗干扰步骤,实现了化学需氧量的绿色清洁测定,操作简便,使测定结果更为精确。

标签:
化学分析
河南 - 郑州 来源:中冶有色网 2023-03-19
研究水处理管道管垢发育与破裂的电化学模拟测试平台

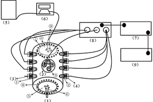
一种研究水处理管道管垢发育与破裂的电化学模拟测试平台,属于金属管道的电化学研究领域。该平台包括(1)一个外壁有多个插孔的圆筒状玻璃电解池;(2)电解池上侧的孔装有铂片辅助电极;(3)电解池一侧装有多个Ag/AgCl参比电极;(4)电解池另一侧装有多个与待测管材材质相同的工作电极;(5)原水箱;(6)进水泵;(7)用作电化学测试的电化学工作站;(8)电化学测试装置的通道扩展器;(9)用作电化学信号收集装置的电脑。该平台可以动态模拟、实时监测水处理管道内壁的管垢发育状况,并可观察水质切换对管垢破裂状况的影响,避免之前管垢研究中的边破坏、边采样、边测试的问题,有助于揭示管垢的发育、破裂过程和机理。

标签:
化学分析
北京 - 北京 来源:中冶有色网 2023-03-19
用于生物制造的多元谱分析与监测

本公开文本的特征在于以下方法,所述方法包括:获得生物制造系统中的溶液的振动光谱(804),使用第一化学计量模型分析所述振动光谱(806)以确定与所述溶液相关的第一质量属性值,使用第二化学计量模型分析所述振动光谱(806)以确定与所述溶液相关的第二质量属性值(812),并且基于所述第一质量属性值和所述第二质量属性值中的至少一个来调节所述生物制造系统的纯化单元的至少一个参数(810)。

标签:
化学分析
其他 - 其他 来源:中冶有色网 2023-03-19
基于模糊神经网络的化学分子生物毒性预测模型算法

本发明公开了一种基于模糊神经网络的化学分子生物毒性预测模型算法,利用模糊神经网络模型预测的方法实现对化学分子的生物毒性提前预测和控制。针对在化学分子合成过程中,不同分子结构的化学分子疏水性对生物毒性的影响具有不确定性、非线性等特点,难以实现针对化学分子合成过程建立精确的模型,因此设计了基于模糊神经网络的生物毒性预测模型,该方法通过调整模糊神经网络参数,提高神经网络处理能力,实现了化学分子的毒性高精度前端预测。实验结果表明该方法具有较好的自适应能力,能够达到提前预测和控制化学分子合成中的生物毒性,降低了化学合成的成本、缩短了化学合成的时间、减少了对环境的污染。

标签:
化学分析
四川 - 成都 来源:中冶有色网 2023-03-19
含杂环氮的聚合物涂覆的分析物监测仪和使用方法

本发明涉及由杂环氮基,例如乙烯吡啶组成的膜和配备有此种膜的电化学传感器。该膜可用于限制分析物向电化学传感器中的工作电极扩散以致该传感器在大的分析物浓度范围内不浸透和/或保持线性响应。配备有本文所述膜的电化学传感器在各种条件下显示相当的敏感性和稳定性,和大的信噪比。

标签:
化学分析
其他 - 其他 来源:中冶有色网 2023-03-19
电化学氢气压缩机电化学阻抗谱的测试方法

一种电化学氢气压缩机电化学阻抗谱的测试方法,涉及电化学压缩机技术领域,通过将电化学氢气压缩机的电源端与电源连接,其中,电化学氢气压缩机采用活化过的膜电极;给电化学氢气压缩机通入不同反应条件下的反应物,对电化学氢气压缩机施加交流电,测量电化学氢气压缩机的电化学阻抗谱,反应物的状态包括:压强、温度以及反应物化学计量比;对电化学阻抗谱分析得出电化学阻抗谱各个部分的归属,从而根据电化学阻抗谱的归属得到电化学氢气压缩机相应部件的运行状态,从而解决了传统的电化学氢气压缩机采用简单的电流电压曲线进行性能评估存在的不能反应问题出现在某一端反应或某一个具体部件上的问题。

标签:
化学分析
广东 - 深圳 来源:中冶有色网 2023-03-19
上一页 2013 2014 2015 2016 2017 ... 2305 下一页
共2305页    到第

中冶有色为您提供最新的有色金属化学分析技术理论与应用信息,涵盖发明专利、权利要求、说明书、技术领域、背景技术、实用新型内容及具体实施方式等有色技术内容。打造最具专业性的有色金属技术理论与应用平台!

全国热门有色金属设备推荐
展开更多 +
全国热门有色金属技术推荐
展开更多 +

 

江西省隆恩特环保设备有限公司
宣传

报名参会
更多+

报告下载

有色专家
更多+

广东省科学院资源利用与稀土开发研究所
教授
长沙矿冶研究院有限责任公司
中国工程院院士
昆明理工大学
校长
中国有色金属工业协会
副会长兼秘书长
北京工业大学、中国工程院
中国工程院 院士
赤泥综合利用研究报告2025
推广

热门技术
更多+

推荐企业
更多+

福建省金龙稀土股份有限公司
宣传

发布

在线客服

公众号

电话

顶部
咨询电话:
010-88793500-807