青岛垚鑫智能科技有限公司
宣传

位置:中冶有色 >

有色技术频道 >

分类:
全部
矿山技术
冶金技术
材料制备及加工技术
环境保护技术
分析检测技术
 
全部
物理检测技术
化学分析技术
力学检测技术
无损检测技术
失效分析技术
环境检测技术
地区:
全部
北京
天津
上海
重庆
河北
山西
辽宁
吉林
黑龙江
江苏
浙江
安徽
福建
江西
山东
河南
湖北
湖南
广东
海南
四川
贵州
云南
陕西
甘肃
青海
内蒙
广西
西藏
宁夏
新疆
其他
其他
展开
 
全部

有色金属分析检测技术理论与应用

免费发布技术信息>>
道路沥青水分敏感性评价试验方法

本发明提供一种道路沥青水分敏感性评价试验方法,属于道路工程材料性能检测技术领域,解决目前道路沥青水分敏感性评价试验方法忽略了沥青膜与水分接触时间影响沥青水分敏感性的问题。本发明首先将沥青加热至流动状态,以硅片作为底片制备沥青膜试样;然后将沥青膜试样浸泡在盛有蒸馏水的玻璃培养皿中,分别放在不同温度的环境箱中32h制得浸水沥青膜试样;其次对沥青膜试样进行原子力显微镜测试,用软件绘出浸水沥青膜表面三维结构图并计算平均粗糙度;用傅里叶红外光谱仪测算浸水沥青膜试样的羟基和亚砜基的特征峰面积;最后绘制不同温度下的沥青膜物理吸水指数、化学吸水指数和平均粗糙度变化曲线,从而评价沥青在不同温度下对于水分的敏感程度。

标签:
化学分析
江苏 - 南京 来源:中冶有色网 2023-03-19
VPD用金属回收液及其配制方法

本发明公开了一种VPD用金属回收液及其配制方法。该金属回收液中按质量百分比计的成分配比为:盐酸0.4%、双氧水3.5%-5%、余量的纯水。其配制方法是:选择原料盐酸、双氧水和纯水,按照配比配制,回收液配制完成后要用ICP-MS进行金属含量测试,标准是低于ICP-MS的检测极限。本发明的金属回收液对金属的回收主要通过HCl和H2O2与硅片的化学反应来实现,HCL可以通过络合反应将硅片表面的金属直接吸收到溶液中,同时H2O2会将硅片表面产生轻微的氧化,氧化层中的金属也被HCL收集到溶液中,相当于将硅片近表层的金属同时收集,提高了测试的可信度。

标签:
化学分析
北京 - 北京 来源:中冶有色网 2023-03-19
污水处理加药量控制方法及系统

本发明公开一种污水处理加药量控制方法及系统,该方法通过多段加药法将一个PID调节过程调整为多个PID调节过程实现加药量控制,具体该方法包括:检测当前化学沉淀反应池内的沉淀离子浓度;根据沉淀离子浓度,确定与沉淀离子浓度相对应的控制参数;根据控制参数控制执行机构闭合;当沉淀离子浓度符合排放标准浓度时控制执行机构打开。本发明通过多段加药法将一个PID调节过程调整为多个PID调节过程实现加药量控制,根据控制参数控制执行机构动作,每个PID调节间歇即为药剂反应时间,本发明采用多次多点加药控制的模式,留出充分的监测和药剂反应时间,使得监测信号准确,且避免了由于实际加药量过量造成浪费或者实际加药量过少造成水质不达标的问题。

标签:
化学分析
北京 - 北京 来源:中冶有色网 2023-03-19
以Cd<sub>2</sub>V<sub>2</sub>O<sub>7</sub>为敏感电极的YSZ基混成电位型NH<sub>3</sub>传感器及制备方法

一种以Cd2V2O7为敏感电极的YSZ基混成电位型NH3传感器及制备方法,属于气体传感器技术领域,其主要用于汽车尾气后处理系统中NH3的检测。传感器依次由带有Pt加热电极的Al2O3陶瓷板、YSZ基板、参考电极和敏感电极组成。参考电极为条状Pt,敏感电极为条状Cd2V2O7,两电极彼此分立且对称地制备在YSZ基板上表面的两侧,YSZ基板下表面与带有Pt加热电极的Al2O3陶瓷板粘结在一起。本发明以YSZ作为离子导电层,使用具有高电化学催化活性的Cd2V2O7为敏感电极,通过研究传感器对不同种类测试气体的响应值对比以及在不同湿度和持续高温测试30天的响应值变化,考察传感器的选择性和稳定性。

标签:
化学分析
吉林 - 长春 来源:中冶有色网 2023-03-19
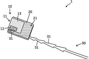
应答器标签和用于应答器标签的制造方法

一种应答器标签(1),包括:具有第一侧(21)和第二侧(22)的介电的间隔体(20);和具有芯片(12)和天线(11)的应答器嵌体(10),其中应答器嵌体(10)施加到间隔体(20)上,使得天线(11)的第一部分(13)设置在间隔体(20)的第一侧(21)上并且天线(11)的第二部分(14)设置在间隔体(20)的第二侧(22)上。应答器标签(1)还包括传感器单元(30),所述传感器单元与应答器嵌体(10)的芯片(12)电耦合并且构成用于,检测测量信号,所述测量信号代表物理的和/或化学的环境参数。

标签:
化学分析
其他 - 其他 来源:中冶有色网 2023-03-19
早龄期硬化混凝土原配合比的回推方法

早龄期硬化混凝土原配合比的回推方法,涉及一种混凝土原配合比的回推方法。本发明是要解决现有硬化混凝土原配合比回推方法存在测试精度较差,过程较为繁琐的问题。方法:计算绝干状态下混凝土的体积密度;另取混凝土试块破碎,碎块中加入稀盐酸溶液浸泡,得泥浆物;对混合浆体筛分,并用水冲洗方孔筛上方颗粒物,收集泥浆;计算整个试块中粉煤灰的质量;计算干燥混凝土中水泥的化学结合水含量;计算每立方米待测混凝土中粗集料G、细集料S、水泥C、粉煤灰或其它火山灰质材料FA的用量。本发明用于建筑材料检测领域。

标签:
化学分析
黑龙江 - 哈尔滨 来源:中冶有色网 2023-03-19
基于非晶态碳膜的加速度传感器芯片

一种基于非晶态碳膜的加速度传感器芯片,包括硅质敏感结构,硅质敏感结构的背面与硼玻璃键合,硅质敏感结构包括质量块以及与质量块相连的悬臂梁,在硅质敏感结构上采用物理气相沉积或化学气相沉积方法镀有四个非晶碳膜电阻,其中第一非晶态碳膜电阻位于硅质敏感结构的悬臂梁上,并靠近边框一端;第二、第三、第四非晶态碳膜电阻位于硅质敏感结构的边框处,四个非晶碳膜电阻连接成惠斯通半桥检测电路,并通过金属导线和焊盘连接,由于本发明采用的非晶态碳膜电阻具有低摩擦系数、耐腐蚀,耐磨等优良特性,彻底解决传统MEMS硅微传感器测量灵敏度和固有频率之间的制约关系,使传感器兼具高固有频率以及高测量灵敏度等特点。

标签:
化学分析
陕西 - 西安 来源:中冶有色网 2023-03-19
防酒驾的车载装置
防酒驾的车载装置 1023     
 0

本实用新型提供的一种防酒驾的车载装置,包括:压力传感器,其设置在主驾驶座椅下方,并用于当主驾驶有人坐在座椅上时获取压力;酒精测试装置,其设置在方向盘上,所述酒精测试装置包括:电化学传感器,其用于酒精信号转换为电信号,并与所述压力传感器电连接;微处理器,其用于测试所述电信号的电流值;判断模块,其用于根据所述电流值判断是否酒驾;电控锁,其用于锁住手刹,并与所述判断模块电连接,当所述判断模块向所述电控锁发送未酒驾指令时,所述电控锁则开启。通过以上设计,手刹一直处于锁死状态,除非检测酒精含量低于阈值则开启电控锁打开手刹,从而彻底杜绝酒驾。

标签:
化学分析
广东 - 东莞 来源:中冶有色网 2023-03-19
二总线远供不分极性通信接口

一种二总线远供不分极性通信接口,由控制电路CZQ、检测电路JC、远供调制电路YG/TZ、二总线RZX、极性变换电路JX、信号分离电路SF、证实电路ZS、译码器YMQ和探测器TCQ组成。其特征是在二总线上实现了分时多址编码脉冲信号与远供电源的同线传输,二总线上的负载不分极性的与之并联,可广泛应用于伴有各种物理量和化学量状态变化的场所,通过对这些现场的探测和监测,以获得越限、防护、烟感、定温、防盗、呼救、故障等开关量或者是数字量的参数值。

标签:
化学分析
江苏 - 扬州 来源:中冶有色网 2023-03-19
用于制备IgM类校准品的方法

本发明公开了一种用于制备IgM类校准品的方法,涉及IgM类校准品领域,步骤一:羊多抗的获取:按固定免疫程序免疫羊,当效价合格后,提取血清;步骤二:羊多抗的纯化:使用亲和层析法纯化提取到的羊多抗血清;步骤三:羊多抗的切割:使用酶对羊多抗IgG进行切割,纯化羊多抗中的Fab片段,并将纯化后的Fab片段用于后续偶联;步骤四:人IgM与Fab片段的偶联:使用化学方法将人IgM与羊多抗的Fab片段进行偶联;步骤五:检测:将人IgM与羊多抗的Fab片段进行偶联后的产物进行亲和性测试以及老化试验测试;制备好的特异性IgM按照一定浓度添加至阴性血清中,即可得到此类IgM抗体血清,可以用于体外诊断IgM类试剂盒的研发及特异性IgM类血清的校准品。

标签:
化学分析
湖北 - 武汉 来源:中冶有色网 2023-03-19
氧化钼的制备方法及应用

本发明公开了一种氧化钼的制备方法及应用,所述方法为:在反应釜中加入谷胱甘肽、钼酸盐和氨水,混合均匀,混合液水热反应后,经离心分离,获得含氧化钼的上清液;本发明制备的氧化钼可用于测定强酸性pH。本发明氧化钼制备方法简单,制得的氧化钼纳米材料光学性质稳定,检测方法绿色环保、成本低廉,整个过程不涉及到复杂的化学合成过程和繁琐的操作步骤,常见的金属离子和氨基酸对pH的测定不会产生干扰。

标签:
化学分析
重庆 - 重庆 来源:中冶有色网 2023-03-19
以纸基微流体燃料电池堆作为自供电源的智能尿不湿

本发明公开了一种以纸基微流体燃料电池堆作为自供电源的智能尿不湿以及制备方法,其结构原理是在尿不湿中由附在滤纸上的吸收垫、碳纸、碳布等进行组合,以滤纸通道上的尿液为燃料,空气中的氧气作为氧化剂,大肠杆菌作为尿液反应的催化剂,基于燃料电池的电化学反应产生电能,作为监测装置的电源。纸基微流体燃料电池堆作为一个整体置于尿不湿的吸收芯层内,每个智能尿不湿内均配备一个,并且是一次性的。检测装置贴敷于尿不湿底布层外侧,可方便拆装重复使用。尿不湿具有良好的柔性和经济性,纸基微流体燃料电池堆可以随着婴幼儿或病人的动作姿态而随意改变形状且不影响性能。尿不湿产生尿液后,监测装置可通过手机发出提示以及定位功能。

标签:
化学分析
天津 - 天津 来源:中冶有色网 2023-03-19
钕镱锰共掺杂型铌酸铋铷压电陶瓷材料及其制备方法

本发明公开了一种钕镱锰共掺杂型铌酸铋铷压电陶瓷材料及其制备方法。该钕镱锰共掺杂型铌酸铋铷压电陶瓷材料具有如下的化学通式:Bi2.5Rb3.5Nb5‑x(NdYbMn)5x/8O18,其中x的数值选自0.1~0.3之间的任意数值。该钕镱锰共掺杂型铌酸铋铷压电陶瓷材料的制备方法包括原料称取、球磨、压制、预烧、二次球磨、造粒、排胶、烧制等工艺步骤。本发明的钕镱锰共掺杂型铌酸铋铷压电陶瓷材料,经检测,压电常数为39.6~42.3 pC/N,居里温度为628~656℃,机械品质因数、径向机电耦合系数及介电损耗均得到了显著的改善,在高温领域具有良好的应用前景。利用这种材料制成的陶瓷元件,可组装成各种高温传感器,在高温测量、探测及自动控制方面具有较好的应用前景。

标签:
化学分析
青海 - 西宁 来源:中冶有色网 2023-03-19
镍锆铜共掺杂型铌酸铋铷压电陶瓷材料及其制备方法

本发明公开了一种镍锆铜共掺杂型铌酸铋铷压电陶瓷材料及其制备方法。该镍锆铜共掺杂型铌酸铋铷压电陶瓷材料具有如下的化学通式:Bi2.5Rb3.5Nb5‑x(NiZrCu)5x/8O18,其中x的数值选自0~0.06之间的任意数值。该镍锆铜共掺杂型铌酸铋铷压电陶瓷材料的制备方法包括原料称取、球磨、压制、预烧、二次球磨、造粒、排胶、烧制等工艺步骤。本发明的镍锆铜共掺杂型铌酸铋铷压电陶瓷材料,经检测,压电常数为40.9~49.6 pC/N,居里温度为688~705℃,机械品质因数、径向机电耦合系数及介电损耗均得到了显著的改善,在高温领域具有良好的应用前景。利用这种材料制成的陶瓷元件,可组装成各种高温传感器,在高温测量、探测及自动控制方面具有较好的应用前景。

标签:
化学分析
青海 - 西宁 来源:中冶有色网 2023-03-19
肝癌的肿瘤标志物热休克因子2结合蛋白及其应用

本发明为热休克因子2结合蛋白(HSF2BP)提供了一种新的生物医药用途,即HSF2BP作为一种肝癌肿瘤标志物及应用。本发明公开了HSF2BP mRNA和蛋白的定量检测在制备作为肝癌肿瘤诊断或预后监测试剂中的应用,特别是指HSF2BP mRNA或蛋白表达增高作为肝癌肿瘤的预测指标或预后不良的指标。本发明通过实时定量PCR、Western Blot法及免疫组织化学法鉴定出血清中增高的HSF2BP mRNA或蛋白的表达可作为肝癌的诊断标志物及预后评估指标,具有重要的临床应用价值。

标签:
化学分析
陕西 - 西安 来源:中冶有色网 2023-03-19
苯并噻唑类识别硫化氢的荧光探针及其应用

一种苯并噻唑类识别硫化氢的荧光探针及其应用,其属于精细化工领域。这种荧光探针为2-(2-羟基苯基)苯并噻唑衍生物;按照比例将2-(2-羟基苯基)苯并噻唑与碳酸钾、2,4-二硝基溴苯混合,最后采用硅胶色谱法进行纯化,得荧光探针。该荧光探针及相应硫化氢含量检测过程不会受生物体系基质及杂质的干扰,可用于各种生物体系中硫化氢含量的定量测定。这种应该探针具有高特异性,可以与硫化氢特异性环化后水解,即醚键断裂的水解产物;廉价易得,可经化学合成获得,合成工艺简单易行;灵敏度高,具有良好的荧光发射光谱特性(450~500nm),通过绘制标准曲线进行硫化氢定量测定。

标签:
化学分析
江苏 - 苏州 来源:中冶有色网 2023-03-19
钒铟共掺杂型铌酸铋铷压电陶瓷材料及其制备方法

本发明公开了一种钒铟共掺杂型铌酸铋铷压电陶瓷材料及其制备方法。该钒铟共掺杂型铌酸铋铷压电陶瓷材料具有如下的化学通式:Bi2.5Rb3.5Nb5‑x(VIn)5x/8O18,其中x的数值选自0.1~0.2之间的任意数值。该钒铟共掺杂型铌酸铋铷压电陶瓷材料的制备方法包括原料称取、球磨、压制、预烧、二次球磨、造粒、排胶、烧制等工艺步骤。本发明的钒铟共掺杂型铌酸铋铷压电陶瓷材料,经检测,压电常数为38.5~43.4 pC/N,居里温度为677~691℃,机械品质因数、径向机电耦合系数及介电损耗均得到了显著的改善,在高温领域具有良好的应用前景。利用这种材料制成的陶瓷元件,可组装成各种高温传感器,在高温测量、探测及自动控制方面具有较好的应用前景。

标签:
化学分析
青海 - 西宁 来源:中冶有色网 2023-03-19
铁蛋白诱导仿生合成石墨烯/金-银纳米杂化材料的方法及其应用

一种铁蛋白诱导仿生合成具有电化学活性的石墨烯/金-银纳米杂化材料的方法。本发明的目的是合成可用来构建H2O2传感器的以石墨烯为基础的纳米杂化材料。首先将球状蛋白质-铁蛋白键合到石墨烯上形成石墨烯/铁蛋白杂化物,接着以石墨烯/铁蛋白杂化物为模板合成石墨烯/金-银纳米杂化材料。获得的石墨烯/金-银纳米杂化材料用来制备一种非酶的安培生物传感器,应用于H2O2的灵敏探测。此传感器对H2O2显示出较高的探测性能,其检测线为2.0×10-6?M,线性范围是2.0?μM?-7.0?mM。

标签:
化学分析
吉林 - 四平 来源:中冶有色网 2023-03-19
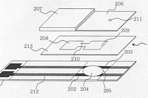
试片
试片 896     
 0

本发明提供用于生物电化学测试的一种试片,包括:载有电极的基片,反应区、导流膜、盖片和分离膜;反应区涂有反应试剂,并与电极接触,电极经导线输出电信号;导流膜设置在基片上,其一端由盖片至少部分地覆盖,其覆盖所述反应区;其另一端由分离膜至少部分地覆盖;在基片与盖片之间的由盖片覆盖的导流膜部分形成有一反应腔;在基片与分离膜之间的由分离膜覆盖的导流膜部分形成有一分离腔;反应腔和分离腔之间由一进样通道连接,待测液体经分离膜分离出的反应液体进入分离腔,并通过进样通道进入反应腔,与反应腔下方反应区中的反应试剂发生反应。本发明不仅工艺简单、成本低,还能够实现全血胆固醇浓度的快速、方便、准确的检测。

标签:
化学分析
北京 - 北京 来源:中冶有色网 2023-03-19
基于R语言的同时提取甘草中皂苷和总黄酮的优化提取工艺

本发明公开了一种基于R语言的同时提取甘草中皂苷和总黄酮的优化提取工艺,选用响应面法中的中心组合设计实验,以甘草中皂苷和黄酮含量作为检测指标,运用R语言环境下的熵权法对上述2指标进行权重赋值,建立BP神经网络和遗传算法数学模型,对提取工艺进行目标寻优,最终得到最佳提取工艺。结果得到最佳提取条件为:氨浓度0.62%,乙醇浓度64%,回流时间1.8h,液固比12∶1。模型综合评价预测值与验证实验的平均综合评价值的相对误差为1.43%,证明神经网络和遗传算法具有较好的预测性。本发明建立的数学模型寻求同时提取甘草皂苷和总黄酮最佳提取条件是科学可行的,为实现中药化学成分乃至药效物质基础多目标寻优提供了新的参考和思路。

标签:
化学分析
浙江 - 杭州 来源:中冶有色网 2023-03-19
铜离子光谱探针及其制备方法和应用

本发明公开了一种铜离子光谱探针及其合成方法和应用。铜离子光谱探针合成方法:由5-R-水杨醛与荧光素酰肼反应得到本发明的探针。该探针与铜离子有很好的络合作用,使光谱吸收增强。铜离子存在时,可以裸眼观察到溶液颜色迅速从无色变为黄色,且紫外可见吸收光谱上在495nm处出现一新的吸收峰。该探针与铜离子的化学计量比为1:1,其他常见金属离子对铜离子的测定无任何干扰。本发明具有易于合成、操作简单、对环境污染小、易生产等优点,且对铜离子有很高的选择性和灵敏度。因此,本发明的探针可简单、灵敏、快速地检测铜离子,在生物体系和环境监测中具有实用价值。

标签:
化学分析
山西 - 太原 来源:中冶有色网 2023-03-19
固相萃取柱及其制备方法与应用

本发明公开了一种用于海产品中重金属痕量测定的固相萃取柱及其制备方法,该固相萃取柱的吸附剂为磷酸氢锡。本发明通过大量实验筛选,优选出磷酸氢锡作为固相萃取吸附介质用于重金属离子富集和痕量测定,具有成本较低、吸附容量大、富集因子高、富集性能稳定,可同时富集多种重金属离子(包括铅离子、铜离子、砷和锌等),可提高海产品中重金属离子的检测灵敏度和准确度,而且磷酸氢锡不溶于水及有机溶剂,耐强酸和一定碱度,化学稳定性高,可重复使用,具有重要的社会效应和经济效益。

标签:
化学分析
江苏 - 连云港 来源:中冶有色网 2023-03-19
三防系统
三防系统 953     
 0

本发明公开了一种三防系统,包括三防控制器(104),所述三防控制器(104)输入端连接位于内部的氧气变送器(103)和差压变送器(101)、位于外部的毒剂/核辐射探头(102),所述差压变送器(101)连接位于外部的压力探头(112);所述三防控制器(104)通过电缆(106)连接滤毒通风装置(105)。本发明设计合理,该新型三防系统集防护、监测与控制为一体,功能集车外化学毒剂、核辐射,车内超压及氧含量监测,对核、生、化防护为一体,不但集成度高、智能性强、体积小、重量轻、功能齐全,而且安装方式简单、方便、灵活(滤毒通风装置既可内置也可外置),并首次将车内氧气含量的检测与控制功能集成到滤毒通风系统中,使系统更加科学、合理、完善、先进。

标签:
化学分析
山西 - 太原 来源:中冶有色网 2023-03-19
β-受体激动剂替代模板分子印迹聚合物微球及其制备方法与应用

本发明公开了一种β‑受体激动剂替代模板分子印迹聚合物微球及其制备方法与应用。所述方法包括如下步骤:(1)将模板分子和甲基丙烯酸进行预聚合;模板分子为对羟基苯乙醇或对羟基苯乙胺;(2)向预聚合后的体系中加入二乙烯基苯和偶氮二异丁腈,进行聚合反应得到聚合物;(3)用乙酸的甲醇溶液洗涤聚合物,即得β‑受体激动剂替代模板分子印迹聚合物微球。本发明将利用分子印迹聚合物中的模板分子与激动剂空间构型相匹配、具有多重作用点的空穴,能对激动剂进行选择性识别,因此具有了更好的包结络合能力和化学稳定性。本发明测试了分子印迹聚合物磁性微球对β‑受体激动剂的吸附性能,并用HPLC/MS/MS对其吸附性能进行检测,并将其应用与尿液中β‑受体激动剂的测定。

标签:
化学分析
北京 - 北京 来源:中冶有色网 2023-03-19
基于凝胶的可穿戴微流控准固态生物芯片的制备方法及其产品和应用

本发明公开了基于凝胶的可穿戴微流控准固态生物芯片的制备方法及其产品和应用,生物芯片由含有导电性好的纳米仿生酶材料的导电水凝胶,调整粘度后印刷在柔性基底上制得;发明的芯片构建方法简单、操作性强且成本低。由于芯片中导电凝胶含有特异性检测生物分子的纳米仿生酶材料,使该微流控芯片对特定的生物分子表现出很好的催化性能,含有不同纳米仿生酶材料的微通道能够同时对人体汗液中的多种生物分子进行实时高灵敏监测;通过全印刷技术构建的柔性可穿戴微流控准固态生物芯片具有很好的溶胀性和吸水性,可快速吸收人体汗液实现对汗液中葡萄糖、尿酸、乳酸、氨基酸、尿素等多种生物分子的同时实时高灵敏电化学监测。

标签:
化学分析
江苏 - 苏州 来源:中冶有色网 2023-03-19
判断Al3+引起的石灰石浆液中毒的方法

本发明公开一种判断Al3+引起的石灰石浆液中毒的方法,其特征在于,该方法步骤包含:(1)首先测定石灰石浆液的pH值;(2)然后测定石灰石浆液的温度;(3)根据浆液中的化学平衡、电荷平衡关系式计算得到浆液中[HCO-3]和[CO2-3]的浓度;(4)依据步骤(3)中得出的[HCO-3]和[CO2-3]的浓度计算结果,计算出造成石灰石浆液中毒的Al3+的浓度范围。本发明具有能准确检测出Al3+造成的石灰石浆液中毒的浓度下限,从而成功提供预警作用的优点。

标签:
化学分析
浙江 - 杭州 来源:中冶有色网 2023-03-19
面向知识图谱问答的复合问句解析方法

本发明公开了一种面向知识图谱问答的复合问句解析方法,包括:接收复合问题并获得中心词,作为查询的起点;在解耦器中,将复合问题分解为多个简单问题;在关系检测器中,计算各个简单问题与候选关系的匹配概率,选择概率最大的关系作为该简单问题所属的关系,以中心词为起点、各个简单问题所属的关系为边,在知识图谱中进行匹配,得到复合问题的预测答案;计算复合问题的预测答案与真实答案的损失值,使用优化算法迭代求解直至损失值收敛,得到复合问题的答案。本发明所述的复合问句解析方法结合强化学习的思想,将复合问题分解为简单问题,再通过各个简单问题的答案组合出原始复合问题的答案,提升了智能问答系统在回答复合问题时的表现。

标签:
化学分析
浙江 - 杭州 来源:中冶有色网 2023-03-19
含芘双胆固醇型荧光探针及其合成方法和应用

本发明公开了含芘双胆固醇型荧光探针以及该探针的合成方法和在测定有机溶剂中水含量的用途。该荧光探针具有化学稳定性好、响应速度快、灵敏度高、响应范围宽等优点,能够连续、实时、在线的测定有机溶剂中的水含量。用本发明荧光探针可对乙腈,甲醇,乙醇,二氧六环溶剂中的微量水分进行测定,并且检出限分别可达到0.0009wt%、0.03wt%、0.1wt%、0.7wt%。

标签:
化学分析
陕西 - 西安 来源:中冶有色网 2023-03-19
软水盐超声波融解调控系统

本发明公开了一种软水盐超声波融解调控系统,本发明的设计构思在于,通过对炉外钠离子交换所涉及的融盐池、储液池、冲洗池进行输送再规划,并通过超声波发生器与循环泵的配合实现高效的融解处理,再通过加水及补水流量监测、浓度监测等机制实现从起点融盐池到终点冲洗池所包含的融解、输送、储存等各个环节全程实时可控。本发明有效解决了现有技术的不足,填补了现有技术空白,能够实时检测食盐或基它钠型化学品的融解存储过程并可在过程中精准调控钠离子浓度,从而可以稳定、高效、受控地保证锅炉软水供应的正常运行。

标签:
化学分析
河南 - 郑州 来源:中冶有色网 2023-03-19
基于等差分层结构的微流体太赫兹光子晶体光纤

本发明公开了一种基于等差分层结构的微流体太赫兹光子晶体光纤,其基本结构由纤芯、包层和左右两个水口以及微流体通道组成。其中,包层为等差分层结构,由以纤芯为中心的交替光敏树脂和空气层组成。微流体通道是在光子晶体光纤包层的第一个空气层中,与出入水口相连接的一个环形通道。本发明可以实现非接触式测量来监测流动液体的折射率变化,因此,在生物和化学检测和传感应用方面具有很大的发展潜力。

标签:
化学分析
天津 - 天津 来源:中冶有色网 2023-03-19
上一页 2012 2013 2014 2015 2016 ... 4376 下一页
共4376页    到第

中冶有色为您提供最新的有色金属分析检测技术理论与应用信息,涵盖发明专利、权利要求、说明书、技术领域、背景技术、实用新型内容及具体实施方式等有色技术内容。打造最具专业性的有色金属技术理论与应用平台!

全国热门有色金属设备推荐
展开更多 +
全国热门有色金属技术推荐
展开更多 +

 

江西省隆恩特环保设备有限公司
宣传

报名参会
更多+

报告下载

有色专家
更多+

西安建筑科技大学
院长/教授
郑州大学
副校长
矿冶科技集团有限公司
正高级工程师/副所长
中国工程院 / 中南大学
中国工程院 院士
东华理工大学
校长/教授
赤泥综合利用研究报告2025
推广

热门技术
更多+

推荐企业
更多+

福建省金龙稀土股份有限公司
宣传

发布

在线客服

公众号

电话

顶部
咨询电话:
010-88793500-807