青岛垚鑫智能科技有限公司
宣传

位置:中冶有色 >

有色技术频道 >

> 探矿技术

分类:
全部
矿山技术
冶金技术
材料制备及加工技术
环境保护技术
分析检测技术
 
全部
探矿技术
采矿技术
选矿技术
通用技术
地区:
全部
北京
天津
上海
重庆
河北
山西
辽宁
吉林
黑龙江
江苏
浙江
安徽
福建
江西
山东
河南
湖北
湖南
广东
海南
四川
贵州
云南
陕西
甘肃
青海
内蒙
广西
西藏
宁夏
新疆
其他
其他
展开
 
全部
济南
青岛
淄博
枣庄
东营
烟台
潍坊
济宁
泰安
威海
日照
滨州
德州
聊城
临沂
菏泽

山东青岛有色金属探矿技术理论与应用

免费发布技术信息>>
新型海底拖网网具
新型海底拖网网具 1165     
 0

本发明涉及一种深海采样工具,具体地说是一种新型海底拖网网具,包括网斗骨架和拖曳架,其中所述拖曳架两侧分别设有一段直臂段,所述网斗骨架包括骨架面板和骨架侧板,所述拖曳架两侧的直臂段分别铰接在网斗骨架左右侧的骨架侧板上,所述网斗骨架前后侧的骨架面板的上边缘设有锯齿,在所述骨架面板中部设有挡板孔,在所述骨架面板上的左右两侧分别设有一排侧边孔,在所述网斗骨架底端外侧设有一圈底边孔。本发明通过拆卸或安装不同的部件实现采样模式的转换,可以满足不同的地质和底栖生物采样需求,且模式之间转换方便,既有效节约人力和时间成本,节省空间,又提高了综合采样效率,特别适合深海综合科考航次调查。

标签:
探矿技术
山东 - 青岛 来源:中冶有色网 2023-03-03
新型混凝土预制块自锁实体墙

一种新型混凝土预制块自锁实体墙,属于矿业工程沿空留巷巷旁支护技术领域。砌体墙由五种不同规格的混凝土砌块通过合理有序的排列组装而成。通过对混凝土砌块规格及其排列顺序的精心设计,使墙体具备了自锁功能,增强了墙体的整体性及抗侧推的能力。采用本沿空留巷成墙技术,可以制备具有早期强度高,成墙速度快,整体性好,抗侧推能力强,对巷道高度变化及地质条件适应性强等优点的墙体,最终实现矿井安全高效的生产。

标签:
探矿技术
山东 - 青岛 来源:中冶有色网 2023-03-03
海上深层天然气储层甜点评价方法

一种海上深层天然气储层甜点评价方法,属于油气储层地质学领域。收集整理地质、测井、地震和分析测试资料;建立成岩演化序列和成岩相划分方案;基于粉末粒度分析、常规岩心分析、岩相学定量统计数据和粘土x射线衍射分析数据,获取成岩数值模拟参数;基于典型的地层切片解释出目标层位砂岩的地震成岩相分布;根据孔隙度、渗透率和成岩相建立储层“甜点”分类标准;将这些参数植入成岩数值模型。在埋藏史和热史基础上将成岩模型和地震成岩相相结合进行成岩数值模拟研究,重现目标层位砂岩的孔隙度演化过程及空间分布;结合储层“甜点”分类标准,重现目标砂岩的储层“甜点”演化过程及空间分布。

标签:
探矿技术
山东 - 青岛 来源:中冶有色网 2023-03-03
含天然气水合物沉积物的高分辨率多频阵列电阻率测井物理模拟方法

本发明公开一种含天然气水合物沉积物的高分辨率多频阵列电阻率测井物理模拟方法,包括以下步骤:a根据研究区域的地质背景等制取地层模型,将地层模型放入天然气水合物生成系统的反应釜中;b在地层模型的中央钻取井眼模型;c使地层模型完全饱和模拟地层水;d采用天然气水合物生成系统中的气体注入及控制系统将气体注入到反应釜中,同时监测系统内部的压力和气体消耗量,直至预定条件;e反应釜置入冷库中,将冷库温度降低至1摄氏度并稳定2小时后,将高分辨率多频阵列电阻率仪插入井眼中,连接信号采集与数据处理系统。本发明可以模拟不同岩性、物性、粒度等沉积物基本性质及其组合条件下含水合物沉积物的多频阵列电阻率响应特征。

标签:
探矿技术
山东 - 青岛 来源:中冶有色网 2023-03-03
受不同采动影响坚硬岩体Hoek-Brown参数m、s的求取方法

本发明属于岩体力学与工程地质领域,具体公开了一种受不同采动影响坚硬岩体Hoek-Brown参数m、s的求取方法。该发明方法首先通过对不同采动影响坚硬岩体打钻取芯,通过实验室加工为标准试件;其次通过单轴压缩试验、获取完整坚硬岩体的单轴抗压强度,利用三轴试验对受不同采动影响试样分别施加5-40MPa不等的围压,然后施加轴压,直至试样破坏,记录整个加载过程的中荷载位移曲线;最后,根据Hoek-Brown准则计算每组条件下的m值和s值。本发明方法的优点在于在结合现场取岩芯与实验室试验的基础上,获得受不同采动影响坚硬岩体Hoek-Brown参数m、s值。

标签:
探矿技术
山东 - 青岛 来源:中冶有色网 2023-03-03
倾斜岩层物理相似模拟试验装置及方法

本发明公开了一种倾斜岩层物理相似模拟试验装置及方法,它由外部框架、可倾斜机架、前后挡板、液压支撑装置和悬吊起重装置组成,通过该装置及方法对地层中不同倾角的岩层进行相似模拟试验,通过观察、测量在外部扰动、地应力、施加外力等作用下岩层内部的应力分布、位移变化等物理力学特性,得出相关的技术指标和参数,来研究真实地质岩层在这一过程中的规律性,有利于对岩层施工过程中进行有效的支护,为地质岩层安全施工提供保证。

标签:
探矿技术
山东 - 青岛 来源:中冶有色网 2023-03-03
井筒失稳破坏的极限应变判别方法

一种井筒失稳破坏的极限应变判别方法,包括以下步骤:(1)建立仿真计算模型,计算岩体的塑性极限应变;(2)建立精细化的三维地质模型,重现地质环境;(3)监测井筒的应变信息;(4)给出井筒在多因素影响下的合理计算模型;(5)给定模型初始水头降高度,取定初始折减系数K,对井壁c、φ进行折减,将其反带入计算模型看是否出现大于极限应变区域;(6)对井壁内超过极限应变的单元进行强度折减;(7)记录折减系数即为当前水位降井壁安全系数。本发明的井筒失稳破坏的极限应变判别方法为矿山技术人员评估井筒稳定性提供理论依据。

标签:
探矿技术
山东 - 青岛 来源:中冶有色网 2023-03-03
隧道施工工艺
隧道施工工艺 733     
 0

本发明涉及隧道工程技术领域,尤其是一种隧道施工工艺,其包括如下步骤:S1.控制测量;S2.超前支护施工:根据围岩地质情况在浅埋、洞口、软弱围岩、层岩互层段落采用超前锚杆、单双层超前小导杆、超前管棚进行超前支护;S3.洞身开挖:隧道进口段Ⅴ级围岩加强段采用中隔壁法开挖;S4.初期支护;S5.仰拱及填充施工;S6.隧道防排水系统施工:包括隧道防排水施工和反坡排水施工。本发明考虑长距离隧道施工过程中可能遇到的多种地形地貌,采用台阶开挖法保护地表建筑物,采用钢管桩、挡土墙、抗滑桩等方式减少边坡、仰坡高度,避免坡顶水泥路的垮塌断道,针对不同类型岩溶地质采取针对性施工方案,保证隧道施工安全、高效推进。

标签:
探矿技术
山东 - 青岛 来源:中冶有色网 2023-03-03
软路基强夯施工方法
软路基强夯施工方法 1219     
 0

本发明涉及一种软路基强夯施工方法,属于软路基施工技术领域,其技术方案的要点是包括:步骤S1,对施工的软路基进行土质采样,对采样土质进行土质分析;步骤S2,根据采样土质的分析报告对施工的软路基进行力学分析,生成区域地质力学报告;步骤S3,根据区域地质力学报告选择路基铺设材料以及夯锤的质量梯度;步骤S4,按照质量由大至小的夯锤依次对路基进行夯实,直至目标值;解决了现有强夯法对软路基进行处理过程,在施工过程中,根据对路基表面夯实的效果对夯锤以及铺设材质进行调整,施工效率底且夯实效果不佳的问题;能够高效良好的对软路基进行强夯处理。

标签:
探矿技术
山东 - 青岛 来源:中冶有色网 2023-03-03
致密油藏井底流压调控方案确定方法、装置和设备

本申请提供了一种致密油藏井底流压调控方案确定方法、装置和设备,其中,该方法包括:获取目标井所在致密油藏的地质参数、岩石与流体参数和多级压裂水平井资料;根据所述致密油藏的地质参数、所述致密油藏的岩石与流体参数和所述多级压裂水平井资料,建立所述目标井开采的数值模拟模型;利用所述目标井开采的数值模拟模型,建立井底流压优化数学模型;基于多级劈分策略利用优化算法对井底流压优化数学模型进行求解,得到求解结果;根据所述求解结果,确定所述目标井的井底流压调控方案。本申请实施例中,在对井底流压进行调控时考虑了致密油藏的特殊性和非均质特征,并且具有较强的可操作性和实用性,能够更高效地对致密油藏进行开发。

标签:
探矿技术
山东 - 青岛 来源:中冶有色网 2023-03-03
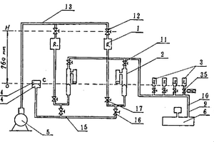
岩芯孔隙结构非接触连续测量装置

一种岩芯孔隙结构非接触连续测量装置,它是由真空装置、补汞装置、高压动力装置,与其连通的压力计量装置和体积计量装置,岩芯室和相应的中央控制装置等组成。其特征是岩芯室的位置应保证较体积计量装置和压力计量装置内初始汞面高760mm,又专门设计了具有校准和测量声道的超声波体积计量装置,且只采用一种与汞无污染的传递介质乙醇。可以获得完整的高精度测量数据,重复性好,操作连续而又方便,是地质油藏岩样研究的必备专用设备。

标签:
探矿技术
山东 - 青岛 来源:中冶有色网 2023-03-03
混凝土构件寿命模拟检测评估方法

本发明公开了一种混凝土构件寿命模拟检测评估方法,其技术方案要点是包括混凝土耐久性性能评估和环境因素评估;混凝土耐久性评估因子包括混凝土磨损率L、氯离子迁移系数D以及渗水高度H;环境因素评估因子包括地下水氯离子浓度W以及地质评分K;计算混凝土构件的寿命得分,满分为100分,80‑100分为良品,60‑80分为合格品,60分以下则为不合格品。本发明增加额外影响混凝土构件寿命的水文、地质来综合评定混凝土的预期服役寿命,从而能够更精确的预期在复杂环境中沿海地区混凝土实体的使用寿命,进一步为混凝土的选用提供具有指导意义的参考信息。

标签:
探矿技术
山东 - 青岛 来源:中冶有色网 2023-03-03
密闭体系下页岩油气产率评价模型建立及参数标定方法

本发明涉及一种密闭体系下页岩油气产率评价模型建立及参数标定方法,包括以下步骤:1)建立页岩油产率评价模型;2)建立页岩气产率评价模型;3)实验测量页岩油产率和页岩气产率;4)标定页岩油评价模型和页岩气产率评价模型中动力学参数。本发明由于同时考虑了页岩油生成和二次裂解这两种情况,在密闭体系中建立页岩油气产率评价模型,因此从实验条件和地质条件的近似程度上考虑,本方法有效地解决了对密闭体系下页岩油生成和二次裂解同时存在的复杂过程的描述,实现了对页岩油气特征的定量、动态地描述。利用本方法标定出的页岩油气动力学参数,再结合实际盆地的埋藏史热史进行地质外推,获得的页岩油气生烃史信息更加准确可靠。

标签:
探矿技术
山东 - 青岛 来源:中冶有色网 2023-03-03
老采空区巷道流态化注浆模拟方法

本发明公开了一种老采空区巷道流态化注浆模拟方法,涉及矿山老采空区修复治理技术领域。该方法包括:首先结合实际地质概况,确定所要注浆巷道的位置,利用大穿透深度地质雷达在巷道正上方进行扫描,了解巷道的形态特征和内部塌陷情况;然后在模拟设备的试验箱中根据雷达扫描结果,通过改变限位棒在试验箱插入的深度实现对巷道内部形态的模拟。之后利用破碎矸石模拟巷道内部碎石堆积情况的模拟;最后通过测速器和光纤传感器得出的数据进一步优化注浆方案。本发明方法可以为现场施工提供一定的理论依据,减少现场施工试错成本,可以更加直观的观察料浆注入老采空区的情况。

标签:
探矿技术
山东 - 青岛 来源:中冶有色网 2023-03-03
多因素融合的井控风险动态定量评估方法及系统

本发明属于石油工程领域,具体地,涉及一种多因素融合的井控风险动态定量评估方法及系统。多因素融合的井控风险动态定量评估方法,包含五个主要步骤:地质数据收集与处理、失效数据采集与处理、建立参数模型、钻井井控风险动态评估、建立结构模型。多因素融合的井控风险动态定量评估系统,包含五个部分:数据收集与分析子系统、钻井设备状态监测子系统、钻井人员状态监测子系统、钻井液监测子系统、地质数据收集与处理子系统。

标签:
探矿技术
山东 - 青岛 来源:中冶有色网 2023-03-03
模拟正逆断层形成的试验装置

本发明公开了一种模拟正逆断层形成的试验装置,涉及煤矿地质技术领域,包含有试验台架(1)、上部垂直加载装置(2)、左侧加载装置(3)、右侧加载装置(4)、液压油囊(5)、承压钢板(6)、钢块(7)和角度调节装置(8)。本发明设计了由液压伺服系统控制的上部垂直加载装置、左右两侧的加载装置,实现不同的水平力加载,模拟不同深度的水平应力,U型推板实际对模拟相似地层材料起到水平方向上的密封作用,可独立或者整体施加载荷,尤其是可以模拟地质构造复杂的区域水平应力,实现水平方向分级加载,更接近于真实效果,在一种设备中实现了模拟正断层、逆断层两种断层的形成过程。

标签:
探矿技术
山东 - 青岛 来源:中冶有色网 2023-03-03
基于小样本学习的剩余油挖潜方法

本发明提出一种基于小样本学习的剩余油挖潜方法,主要涉及深度学习,石油勘探领域。主要步骤包含:对获取的测井曲线数据进行预处理,并进行任务划分,设置支持集和查询集;设计基于小样本学习的地层划分方法,以识别单口井附近的含油储层,从而判断多口井的含油储层是否为同一地层,实现智能小层对比;设计三层循环的MAML(Model‑Agnostic Meta‑Learning)架构,解决井场间地质差异较大问题,根据地层划分所识别的油层,预测单口井附近的储集层的含油饱和度;设计基于度量学习的含油区块搜索方法,根据识别出的油层以及所预测出的该油层的含油饱和度,在横向储层中针对井网结构使用图神经网络进行特征相似度表征,进行剩余油挖潜相关研究。本发明针对地质数据样本量不足,借助小样本学习方法进行剩余油挖潜,并对元学习方法进行优化,实现有效的剩余油挖潜。

标签:
探矿技术
山东 - 青岛 来源:中冶有色网 2023-03-03
任意复杂介质地震波传播矩阵模拟方法

本发明涉及一种任意复杂介质地震波传播矩阵模拟方法,该方法包括以下步骤:1)将水平地表的非均匀地质模型剖分成厚度为Δz的若干水平薄层;2)在每个水平薄层内对广义Lippmann‑Schwinger积分方程进行傅里叶变换,推导反射/透射矩阵;3)利用水平薄层之间的边界连续条件,通过反射/透射矩阵推导广义反射/透射矩阵;4)使用层间迭代关系,使用广义反射/透射矩阵在频率域下进行地震波场的求解;5)使用傅里叶反变换将地震波场转换到时间域,达成所求目标。本发明将传统广义反射/透射矩阵法(推广到界面起伏的分层非均匀地质结构模型,推导的反射/透射矩阵中含有层内非均匀介质的影响,可以在保证精度的同时大大节省计算资源。

标签:
探矿技术
山东 - 青岛 来源:中冶有色网 2023-03-03
基于多源数据融合分析的隧洞围岩等级动态变更与决策方法

本发明公布了一种基于多源数据融合分析的隧洞围岩等级动态变更与决策方法,其特征在于包括以下步骤:A.充分利用已开挖段揭露围岩的先验分布信息及现场监控量测数据,实现当前掌子面围岩变形收敛值的响应预测。B.基于当前掌子面揭露岩体的地质信息对现场围岩质量进行评定,同步确定其围岩亚级分级;C.对当前隧洞里程段超前地质预报信息进行数据解译,对其地层结构、岩体破碎程度、地下水发育状况等进行基本判定。D.以预测收敛变形值为先导判据,可进行围岩稳定性状况在隧洞轴线方向上的交互式耦合分析,为隧洞开挖工法与支护参数实时动态调控提供依据。

标签:
探矿技术
山东 - 青岛 来源:中冶有色网 2023-03-03
隧道底部隐伏溶洞注浆处治方法

本发明涉及隧道工程技术领域,公开了一种隧道底部隐伏溶洞注浆处治方法。所述处治方法包括:第一溶洞检测步骤,针对隧道底部位置,综合运用超前地质预报法来确定隧道底部溶洞的位置,在检测到隐伏溶洞位置处做好标记;第二孔位设计步骤,依据弹性平板中圆形孔洞周围二维应力分布状况,在第一步骤的基础上进行注浆孔位置设计;第三注浆步骤,针对隐伏溶洞应力集中部位采用喷射注浆加固;第四注浆步骤,针对形隐伏溶洞洞身,采用压密注浆技术对其进行填充。本发明以弹性平板中圆形孔洞周围二维应力分布状态为理论依据,克服以往主要靠经验进行施工的弊端,确保隐伏溶洞上部隧道围岩的稳定性,保证隧道后期的正常运行。

标签:
探矿技术
山东 - 青岛 来源:中冶有色网 2023-03-03
致密砂岩储层网状裂缝系统有效性评价方法

本发明属于石油开发领域,具体地,涉及一种致密砂岩储层复杂网状裂缝空间有效性的评价方法。致密砂岩储层网状裂缝系统有效性评价方法,步骤如下:建立裂缝离散网络地质模型,统计分析裂缝形成期次,统计分析裂缝充填物来源,统计分析裂缝优势充填方向及组系,分析裂缝充填主控地质因素,建立裂缝渗透率与现今主应力的关系,评价网状裂缝系统空间有效性。本发明解决了准确获取致密砂岩储层井点裂缝充填期次、充填优势方向、充填程度及网状裂缝系统空间有效性有效评价的问题,有效预测多期地层流体沉淀结晶作用下致密砂岩储层裂缝的充填度、充填优势方向,为裂缝性储层的压裂改造设计和开发方案优化提供了保障,减少了勘探开发的风险和成本。

标签:
探矿技术
山东 - 青岛 来源:中冶有色网 2023-03-03
识别沉积盆地储层中再平衡流体包裹体的方法

本发明属于地球化学领域,特别涉及一种识别沉积盆地储层中再平衡流体包裹体的方法。本发明简单明了,只需应用流体包裹体的岩相学和均一温度即可识别再平衡流体包裹体。在经历多期地质事件的沉积盆地中,有效识别再平衡流体包裹体不仅避免了利用再平衡流体包裹体数据恢复古地温等错误解释,还有助于判别成岩成藏期次,有效指示地质事件的活动强度。

标签:
探矿技术
山东 - 青岛 来源:中冶有色网 2023-03-03
天然气水合物及下伏游离气储集体地震响应特征分析方法

本发明属于天然气水合物技术领域,公开了一种天然气水合物及下伏游离气储集体地震响应特征分析方法,基于初步地震解释建立的天然气水合物/游离气储集体地质模型,参考具体工区的地震主频、子波长度、储层速度、密度等参数,来正演模拟不同的含水合物/游离气地质模型所造成的地震波响应,最后将模拟的地震波与实际地震响应特征进行对比,修正之前对天然气水合物及下伏游离气储集体的地震解释。本发明提供的特征分析方法适用于不同地区的天然气水合物地震分析工作,通过基于工区地震资料参数的正演模拟工作,来验证、修正之前的地震解释结果,从而提高天然气水合物及下伏游离气储集体地震解释结果的精度。

标签:
探矿技术
山东 - 青岛 来源:中冶有色网 2023-03-03
考虑煤层地应力不确定性的钻井液密度设计方法

本发明涉及一种考虑煤层地应力不确定性的钻井液密度设计方法,包括以下步骤:从待钻区块目的煤层钻孔取大块岩芯,确定煤岩的岩石类型系数和地质强度指标;对获得的煤层大块岩芯进行实验试样加工,制得多组标准圆柱体煤岩芯试件;采用单轴抗压试验机对所制得煤岩芯进行岩石力学参数测试,测试参数为煤岩的弹性模量、泊松比和单轴抗压强度;建立煤岩的霍克-布朗准则;确定煤层水平最大主应力、水平最小主应力的分布区间;根据建立的煤岩霍克-布朗准则给出煤层钻井液设计密度公式。本发明解决了现有技术方法忽略储层地应力不确定性设计钻井液密度设计的缺点,使得钻井液密度设计值更加逼近于真实值。

标签:
探矿技术
山东 - 青岛 来源:中冶有色网 2023-03-03
水平井区辫状河三角洲储层地震沉积学定量表征方法

本发明是一种水平井区辫状河三角洲储层地震沉积学定量表征方法,涉及油气开发地质领域。包括以下步骤:1)叠后地震数据体加载;2)地震资料品质分析;3)90°相位转换;4)平均砂厚统计;5)确定与平均砂厚h匹配的地震资料主频f;6)90°相位地震数据体分频分析,制作主频为f的地震数据体Cf;7)利用分频地震数据体Cf制作分频地震切片;8)岩石物理分析;9)水平井段测井曲线向分频地震切片投影;10)利用水平井信息标定地震切片进行精细地质解释;11)建立不同沉积微相类型砂体的定量沉积知识库。本发明操作简单,为水平井区砂体地震沉积学刻画提供一种高效的工业化方法,能够提高砂体预测精度。

标签:
探矿技术
山东 - 青岛 来源:中冶有色网 2023-03-03
用电成像测井测定古流向的方法

本发明属于地质结构测定技术领域,涉及一种用电成像测井测定古流向的方法,利用电成像测井资料分析确定井下储层古流向的方法,先进行电成像测井数据的处理,再对数据进行分层分扇区统计,然后依据统计处理的图表测定古流向;其工艺步骤包括确定储层砂体类型、处理成像数据、生成电成像图像、扣除泥岩层、分层分扇区统计、绘制玫瑰图、确定古流向和验证计算结果;利用电成像测井资料确定古水流方向,无需花费大量时间在电成像图中通过人工方法识别和拾取大量地质特征,同时摆脱了野外露头观察的诸多限制,其测定工艺原理科学可靠,测量准确性好,计算机处理智能化程度高,节省人力财力,处理速度快,应用环境友好。

标签:
探矿技术
山东 - 青岛 来源:中冶有色网 2023-03-03
火山岩区断层封闭性的综合评价方法

本发明公开一种火山岩区断层封闭性的综合评价方法,具体实例基于克拉玛依油田火山岩发育区。火山岩区断层封闭性形成机理主要为岩性对置与成岩作用,岩性对置特征可反映在两侧岩层密度的差异上,断面压力、紧闭程度等影响着断裂带的成岩作用;泥质碎屑物充填使断裂带的封闭性更强,后期流体注入亦起一定作用。基于此,本发明中首先建立断层面密度差的概念模型,多种参数(断面正应力、紧闭指数等)相结合评价成岩封闭及对接封闭,归纳封闭性影响因素,提出权重因子,通过权重系数构建数学模型,得到综合因子,综合评价断层封闭性。本发明考虑多种地质因素,能够满足断层封闭性定量评价的准确要求,可以广泛适用于油气资源地质勘探及开发评价领域。

标签:
探矿技术
山东 - 青岛 来源:中冶有色网 2023-03-03
老空水防水煤柱留设方法

本发明涉及一种老空水防水煤柱留设方法,包括:步骤10,确定即将开采工作面的采煤相关地质参数;步骤20,根据矿山压力理论,计算顶板支撑压力沿煤层方向的分布范围;步骤30,将步骤20所确定的分布范围作为老空水防水煤柱的最小宽度。本发明选取工作面开采煤层的采高和开采下限深度两个采煤相关地质参数,实现了参数易于获取的目的;依据工作面开采煤层的采高h和开采下限深度H确定顶板支撑压力沿煤层方向的分布范围,进而确定老空水防水煤柱的最小宽度的方法,计算方便、简单,适应于现场工作人员的应用。

标签:
探矿技术
山东 - 青岛 来源:中冶有色网 2023-03-03
可变形溶洞充填自动仿真系统及仿真方法

本发明公开了一种可变形溶洞填充自动仿真系统,使用单个溶洞模型单元仿真不同形状的溶洞,通过测量、分析、统计以及标准固化的方式现实了对实际溶洞的模拟,也可以合成多种形状的溶洞模拟,从而提高溶洞在实际操作时的准确程度,同时可以适当节约填充能源,实时监控溶洞内受力情况,可控性能较强。本发明还公开了多形态溶洞充填仿真方法,首先是采用可以多形态变形的溶洞单元自动模拟溶洞形态,此后将这些模拟的数值分析成为标准参数传入实际溶洞填充的控制系统中,实际溶洞填充的PLC控制装置内嵌入这些数据标准,方便控制溶洞填充,并且提高其填充效率,也可以根据溶洞的具体地质情况仿真不同的数据标准,从而满足不同的地质溶洞填充。

标签:
探矿技术
山东 - 青岛 来源:中冶有色网 2023-03-03
基于能量的排列宽度设计方法

本发明提供一种基于能量的排列宽度设计方法,该基于能量的排列宽度设计方法包括:步骤1,根据地质、地震资料,建立最优的三维观测系统设计方案;步骤2,对每一炮进行正演照明模拟计算,并记录每炮每线的接收能量;步骤3,根据步骤2计算得到的接收能量,寻找求导后高斯加权能量曲线的极值点,该点即为该炮点对应的最优排列宽度;步骤4,利用步骤3的方法,统计每一个炮点的最优排列宽度,优化给出适合该工区的最优排列宽度。该基于能量的排列宽度设计方法充分考虑了野外工区实际构造特征,基于以往老资料建立较为精确的三维地质模型,并综合考虑采集成本,自动优化给出最适合该工区的排列宽度,提高野外采集数据质量。

标签:
探矿技术
山东 - 青岛 来源:中冶有色网 2023-03-03
上一页 15 16 17 18 19 ... 41 下一页
共41页    到第

中冶有色为您提供最新的山东青岛有色金属探矿技术理论与应用信息,涵盖发明专利、权利要求、说明书、技术领域、背景技术、实用新型内容及具体实施方式等有色技术内容。打造最具专业性的有色金属技术理论与应用平台!

全国热门有色金属设备推荐
展开更多 +
全国热门有色金属技术推荐
展开更多 +

 

江西省隆恩特环保设备有限公司
宣传

报名参会
更多+

报告下载

有色专家
更多+

广西大学
处长/教授
江西理工大学
教授
矿冶科技集团
副所长/研究员
赣州江钨钨合金有限公司
工程师
赣州江钨钨合金有限公司
副总经理
赤泥综合利用研究报告2025
推广

热门技术
更多+

推荐企业
更多+

福建省金龙稀土股份有限公司
宣传

发布

在线客服

公众号

电话

顶部
咨询电话:
010-88793500-807