青岛垚鑫智能科技有限公司
宣传

位置:中冶有色 >

有色技术频道 >

> 化学分析技术

分类:
全部
矿山技术
冶金技术
材料制备及加工技术
环境保护技术
分析检测技术
 
全部
物理检测技术
化学分析技术
力学检测技术
无损检测技术
失效分析技术
环境检测技术
地区:
全部
北京
天津
上海
重庆
河北
山西
辽宁
吉林
黑龙江
江苏
浙江
安徽
福建
江西
山东
河南
湖北
湖南
广东
海南
四川
贵州
云南
陕西
甘肃
青海
内蒙
广西
西藏
宁夏
新疆
其他
其他
展开
 
全部
济南
青岛
淄博
枣庄
东营
烟台
潍坊
济宁
泰安
威海
日照
滨州
德州
聊城
临沂
菏泽

山东济南有色金属化学分析技术理论与应用

免费发布技术信息>>
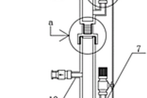
水文地质勘察用地下水取样装置

本实用新型公开了一种水文地质勘察用地下水取样装置,包括多个取水筒,取水筒的底部装设有第一螺纹柱,第一螺纹柱上螺纹连接有螺纹管,螺纹管的底部连接有螺纹盖,取水筒的端口处设有外螺纹且螺纹盖螺纹连接外螺纹,螺纹盖内装设有密封环。上拉牵引杆,球阀被打开,气压作用下,通过球阀的进水端口从球阀边侧吸水,然后通过吸水管排至取水筒中,球阀为单向球阀,水向只能从球阀的进水端口进入,从其出水端口排出,上拉手杆过程中,上层地下水不能进入取水筒中,保障取水筒内下层地下水样品较为完整,送至化学成分检测时,大大降低了与实际化学成分含量的差别。

标签:
化学分析
山东 - 济南 来源:中冶有色网 2023-03-19
砷化氢蒸馏器
砷化氢蒸馏器 871     
 0

本申请涉及一种砷化氢蒸馏器,涉及化学检测设备的领域,其包括烧瓶、导气管、玻璃球管与吸收管,烧瓶内盛放有反应液,吸收管内盛放有吸收液,导气管连通烧瓶与吸收管,导气管靠近吸收管的一端伸入吸收液内,导气管设置有竖直部,玻璃球管串联在竖直部上,玻璃球管内填充有醋酸铅脱脂棉。本申请能够使玻璃球管各部分的醋酸铅脱脂棉的消耗速度更加平均,降低了硫化氢蒸汽进入吸收液中的概率,提高了检测精度。

标签:
化学分析
山东 - 济南 来源:中冶有色网 2023-03-19
氢燃料电池汽车的供氢系统

本实用新型公开了一种氢燃料电池汽车的供氢系统,安装于汽车内部的供氢系统包括依次连通的制氢装置、氢气罐以及氢燃料电池,制氢装置包括通过隔板分离的储氢机构和储液机构以及设于隔板的喷洒机构,氢气罐能够储存制氢装置生成的氢气并向氢燃料电池提供氢气,当气压检测装置检测到氢气罐中氢气不足时,控制装置控制喷洒机构喷出储液机构中的液体,上述液体与储氢机构中的固态储氢材料混合发生化学反应产生通过第一管道流向氢气罐的氢气。通过在汽车中安装体积较小的制氢装置和氢气罐替换现有的大型氢气罐,在产生等量氢气的情况下,上述供氢系统所占用的体积更小,且仅需向制氢设备中添加固液制氢材料,添加氢气更加安全。

标签:
化学分析
山东 - 济南 来源:中冶有色网 2023-03-19
多孔氧化锌纳米片负载过渡金属掺杂的g-C<sub>3</sub>N<sub>4</sub>复合气敏材料的合成方法

本发明涉及一种多孔氧化锌纳米片负载过渡金属掺杂的g‑C3N4复合气敏材料的合成方法,包括步骤如下:(1)将碱式碳酸锌与过渡金属掺杂的g‑C3N4研磨混合均匀;(2)步骤(1)得到的混合物经煅烧,得复合气敏材料。该方法利用前驱体化学合成法,将具有催化活性的过渡金属掺杂的g‑C3N4复合在多孔氧化锌纳米片上,借助两种多孔二维半导体材料之间的协同效应,有效的提高了氧化锌的气敏性能。该材料可用于挥发性有机污染物(VOCs)及氯苯类气体的气敏传感检测,气敏响应良好,材料合成方法绿色简便,重复性好,易于实现规模生产和气体传感检测应用。

标签:
化学分析
山东 - 济南 来源:中冶有色网 2023-03-19
丙肝抗体多聚体酶标记物及其制备与应用

本发明公开了一种丙肝抗体多聚体酶标记物,它是以葡聚糖T500作为多聚体载体,经盐酸肼活化后与HRP交联成多聚体酶标记物(Poly‑HRP),同时用巯基修饰丙肝抗体,再将巯基修饰后的丙肝抗体与多聚体酶标记物(Poly‑HRP)胶联构成。本发明还公开了配套该丙肝抗体多聚体酶标记物使用的多聚体酶稳定剂和稀释液。实验证实,本发明的丙肝抗体多聚体酶标记物加多聚体酶稳定剂后可稳定保存二年,它经多聚体酶稀释液稀释后用于酶联免疫检测及化学发光免疫检测比传统过碘酸钠法或戊二醛法标记的酶标记物灵敏度大大提高。

标签:
化学分析
山东 - 济南 来源:中冶有色网 2023-03-19
稀土镝穴醚荧光配合物及其制备方法

本发明公开了一种稀土镝穴醚荧光配合物及其制备方法,该配合物具有如下式(I)所示的化学结构式:其中,配合物MO的化学结构式如式(Ⅱ)所示。本发明提供的稀土镝穴醚荧光配合物的摩尔消光系数能相对于现有产品提高4倍左右(80000M1cm‑1),适于作为荧光染料分子标记核酸、蛋白等生物分子,可提高检测的灵敏度和准确度;本发明的制备方法工艺相对简单,产品的产率高,具有很好的应用前景。

标签:
化学分析
山东 - 济南 来源:中冶有色网 2023-03-19
高灵敏度葡萄糖生物传感器及其制备方法

本发明涉及一种高灵敏度葡萄糖生物传感器及其制备方法,将打磨好的铂电极置于K2PdCl4与硫酸的混合溶液中电沉积得钯纳米颗粒修饰的铂电极,将葡萄糖氧化酶和牛血清白蛋白溶于磷酸盐缓冲溶液中,然后再加入戊二醛溶液和酸处理过的单壁碳纳米管溶液混合得酶溶液,将钯纳米颗粒修饰的铂电极在酶溶液中蘸取,得到葡萄糖生物传感器。本发明具有电极制作、修饰方法简单,灵敏度高,稳定性好,比其它电化学检测葡萄糖方法的检测限低的特点。

标签:
化学分析
山东 - 济南 来源:中冶有色网 2023-03-19
内质网靶向的双光子硝基还原酶荧光探针及其合成方法和应用

本发明提供了一种内质网靶向的双光子硝基还原酶荧光探针,其化学名称为:4‑硝基‑N‑(2‑(4‑甲基苯磺酰胺基)乙)基‑萘酰亚胺,通过以下步骤合成:乙二胺与对甲苯磺酰氯反应完全得N‑(2‑氨基乙基)‑4‑甲基本磺酰胺;4‑硝基‑1,8‑萘二甲酸酐与N‑(2‑氨基乙基)‑4‑甲基苯磺酰胺反应得到。本发明还提供了一种该荧光探针在利用单光子或双光子荧光检测溶液中及生物体内硝基还原酶活性的应用。本发明的探针合成方法简单、收率高,可定位于内质网对细胞或组织进行双光子荧光检测,灵敏度高,可抗多种干扰物质的干扰。

标签:
化学分析
山东 - 济南 来源:中冶有色网 2023-03-19
基于银杂化的二氧化锰纳米片构建的黄曲霉毒素B1传感器的制备方法及应用

本发明涉及一种基于银杂化的二氧化锰纳米片构建的黄曲霉毒素B1传感器的制备方法及应用,属于新型功能材料、生物传感检测技术领域。基于银杂化的二氧化锰纳米片对双氧水有良好的电化学催化能力和电子转移能力,显著提高了生物传感器的灵敏度,对粮食中黄曲霉毒素B1的检测具有重要的意义。

标签:
化学分析
山东 - 济南 来源:中冶有色网 2023-03-19
阿胶及其衍生产品高纯度DNA的提取试剂盒及其提取方法

本发明公开了一种阿胶及其衍生产品高纯度DNA的提取试剂盒,由组分I、组分II、蛋白酶K溶液和RNA酶溶液组成;所述组分I的组成为:0.08-0.12M?SDS,0.8-1.2M?Tris-HCl,0.4-0.6M?Na2EDTA,PH=7.5-8.5;所述组分II的组成为:8.0-8.5M?CsCl,8-12mM?Tris-HCl,PH=7.5-8.5。本发明还公开了采用该试剂盒从阿胶及其衍生产品中提取高纯度DNA的方法。本发明的试剂盒组分简单,试剂费用低,能有效降低检测成本。提取的DNA纯度高,适于下一步的分子生物学检测,提取过程中不使用酚/氯仿等有毒试剂,能降低危险化学试剂对人体带来的损害。

标签:
化学分析
山东 - 济南 来源:中冶有色网 2023-03-19
消解贵金属用溶剂的配制装置

本发明属于化学检测技术领域,特别公开了一种消解贵金属用溶剂的配制装置。该消解贵金属用溶剂的配制装置,包括底端设置出液口的试剂瓶,其特征在于:所述试剂瓶顶端设置有连通试剂瓶内部的进液管,进液管上连通有若干个并联的量液管,每个量液管与进液管的接口处均设置有活塞;试剂瓶上设置有两个侧口。本发明结构简单,使用方便,设计合理,应用灵活,配制过程中不用开试剂瓶瓶塞,同时免除了移液操作,生成的气体被吸收,对人体无害,适合批量检测不同的贵金属物品。

标签:
化学分析
山东 - 济南 来源:中冶有色网 2023-03-19
卟啉酞菁双层金属配合物及其制备方法和应用

本发明涉及一种卟啉酞菁双层金属配合物及其制备方法和应用,属于有机半导体材料化学技术领域。本发明首次合成了Eu(TPyP){Pc‑(OC8H17)8}及Eu(TPyP){Pc‑(OC8H17)8}纳米管。Eu(TPyP){Pc‑(OC8H17)8}纳米管的制备步骤为:(1)将Eu(TPyP){Pc‑(OC8H17)8}用特定溶剂溶解,制备成溶液;(2)将AAO浸泡在步骤(1)制备的溶液中,密封放置8‑12小时;然后将溶液去除,真空干燥;(3)用氢氧化钠水溶液将AAO溶解掉即可。本发明的制备方法简单有效、实验过程易于控制,能在室温下进行。本发明的Eu(TPyP){Pc‑(OC8H17)8}纳米管,纯净有序,可以在室温下检测二氧化氮;对NO2的响应浓度低,对NO2气敏检测限低及快速的响应和恢复时间;能抗氨气和CO的干扰。

标签:
化学分析
山东 - 济南 来源:中冶有色网 2023-03-19
壳核纳米材料构建的肿瘤标志物免疫传感器的制备及应用

本发明涉及一种壳核纳米材料构建的肿瘤标志物免疫传感器的制备及应用,属于新型纳米功能材料与生物传感器技术领域。其特征在于:(1)纳米多孔金膜的制备;(2)Au@Pd@Pt壳核纳米材料—肿瘤标记物二抗复合物的制备;(3)电化学免疫传感器的构建。本发明的优点在于灵敏度高、特异性好、易于操作、检测限低,能实现多种肿瘤标记物的高灵敏、特异性、快速准确检测。

标签:
化学分析
山东 - 济南 来源:中冶有色网 2023-03-19
基于立方钯-八面氧化亚铜-氧化石墨烯构建的T-2毒素传感器的制备方法及应用

本发明涉及一种基于立方钯-八面氧化亚铜-氧化石墨烯构建的T-2毒素传感器的制备方法及应用,属于新型功能材料、生物传感检测技术领域。基于立方钯-八面氧化亚铜-氧化石墨烯对双氧水有良好的电化学催化能力和电子转移能力,显著提高了生物传感器的灵敏度,对粮食中T-2毒素的检测具有重要的意义。

标签:
化学分析
山东 - 济南 来源:中冶有色网 2023-03-19
基于类酶MOF信号放大传感器的制备

本发明公开了一种基于类酶MOF信号放大传感器的制备,首先合成了具有良好光电化学信号的ZnO‑ZnIn2S4,这个材料是拥有大比表面积的二维花状结构,能够有效的增加抗体生长的区域;另外在二抗上面修饰了MOF作为信号放大载体,一方面增加了传感器的阻抗,引起光电信号的减小,另一方面MOF可以作为类过氧化氢酶催化传感体系中电子供体过氧化氢的分解,导致光电子试剂的减小,使光电流信号进一步的减小,这样通过层层修饰构建成了检测前列腺抗原的光电化学传感器。

标签:
化学分析
山东 - 济南 来源:中冶有色网 2023-03-19
基于花状纳米氧化锌微球和金钯纳米花复合材料构建的生物传感器的制备方法及应用

本发明涉及一种基于花状纳米氧化锌微球和金钯纳米花复合材料构建的生物传感器的制备方法及应用。属于新型功能材料与生物传感检测技术领域。本发明具体是采用具有良好电化学催化性能的花状纳米氧化锌微球和金钯纳米花复合材料,实现了对人免疫球蛋白的高灵敏检测,对肿瘤标志物的早期诊断具有重要的意义。

标签:
化学分析
山东 - 济南 来源:中冶有色网 2023-03-19
电池管理系统
电池管理系统 1082     
 0

本发明涉及一种电池管理系统,包括若干单体电池、CAN总线Ⅰ;连接于CAN总线Ⅰ的中央处理器、单片机A、单片机B;连接于中央处理器的热管理单元以及CAN总线Ⅱ,每个单体电池并联有电子开关Ⅰ串联有电子开关Ⅱ,所述电子开关Ⅰ、电子开关Ⅱ连接于单片机A,所述每个单体电池经电流检测芯片以及电压检测芯片连接于单片机B。通过高频轮流充电,可以为单体电池提供足够的间歇时间,从而使得单体电池有了更充裕的时间进行化学反应,提高了电池的充电效率。通过断路控制的方式,使得回馈电压正好对应电池组的高效充电电压,通过高频信号参加和断路状态变换保证回馈制动瞬时都处于高效回馈制动状态。

标签:
化学分析
山东 - 济南 来源:中冶有色网 2023-03-19
HKUST-1基手性复合材料的制备方法与应用

本发明公开了一种HKUST‑1/壳聚糖/亚甲基蓝/镍手性复合材料的制备方法以及该材料用于天冬氨酸对映体电化学识别的应用,属于纳米催化、手性传感等技术领域。其主要步骤是以镍网为载体,先后浸渍在壳聚糖和钴离子组成的凝胶、混有亚甲基蓝的配体溶液中,经过加热、洗涤、活化,快速制得HKUST‑1/壳聚糖/亚甲基蓝/镍手性复合材料。该复合材料制备所用原料成本低,制备工艺简单,反应能耗低。制备的手性传感器用于L‑天冬氨酸氨酸和D‑天冬氨酸对映体含量的检测,方法简单、易操作,手性检测效果显著。

标签:
化学分析
山东 - 济南 来源:中冶有色网 2023-03-19
基于花状金铂-花状二氧化铈-氧化石墨烯构建的呕吐霉素传感器的制备方法及应用

本发明涉及一种基于花状金铂-花状二氧化铈-氧化石墨烯构建的呕吐霉素传感器的制备方法及应用,属于新型功能材料、生物传感检测技术领域。基于花状金铂-花状二氧化铈-氧化石墨烯对双氧水有良好的电化学催化能力和电子转移能力,显著提高了生物传感器的灵敏度,对粮食中呕吐霉素的检测具有重要的意义。

标签:
化学分析
山东 - 济南 来源:中冶有色网 2023-03-19
S-腺苷甲硫氨酸分子印迹传感器的制备方法及应用

本发明公开了一种SAM分子印迹传感器的制备方法,其特征是:首先将玻碳电极用纳米金和碳纳米管修饰,溶胶-凝胶印迹技术、层层自组装法和电聚合法相结合,在纳米金和碳纳米管修饰玻碳电极表面成功地研制了一种具有特异选择性的印迹电化学传感器,本发明制备的SAM分子印迹传感器的响应大大提高。该印迹传感器对SAM表现出较高的亲和性和选择性。该SAM分子印迹传感器与电化学工作站连接构成能够专一模板分子识别传感器。本发明制得的传感器成本低、灵敏度高、特异性好、检测快速,可反复使用。

标签:
化学分析
山东 - 济南 来源:中冶有色网 2023-03-19
共价有机框架材料及其制备方法和在荧光传感器中的应用

本发明属于环境检测技术领域,尤其涉及一种共价有机框架材料及其制备方法和在荧光传感器中的应用。本发明的共价有机框架材料(COFs‑DT)由单体2,6‑二羟基萘‑1,5‑二醛(DHNDA)和1,3,5‑三(4‑氨基苯基)苯(TAPB)通过席夫碱反应,使用溶剂热法得到;本发明的COFs‑DT不仅通过O‑H…N=C氢键相互作用提高了COFs‑DT的结晶度,孔隙度和化学稳定性,而且还与许多与靶离子相互作用的双齿配位体位点相连接。与单体相比,COFs‑DT在异丙醇中分散时表现出较强的荧光,强的荧光和双齿配体位点使COFs‑DT能够用于构建高灵敏度、高选择性、高稳定性的检测Cu2+的高性能荧光传感器。

标签:
化学分析
山东 - 济南 来源:中冶有色网 2023-03-19
Cys双光子荧光探针及其制备方法和应用

本发明提供了一种检测Cys的双光子荧光探针,化学名称为7‑(二乙基氨基)‑2‑氧代‑2H‑色烯‑3‑基丙烯酸酯,其结构式为:。本发明提供的探针,背景干扰小、散射干扰小、灵敏度和选择性高,能够避免光漂白和光致毒现象;可穿透组织进行深层成像,在生物分子检测领域具有广阔的应用前景。

标签:
化学分析
山东 - 济南 来源:中冶有色网 2023-03-19
具有可调拉曼散射效应的探针及其制备方法

本发明公开了一种具有可调拉曼散射效应的探针,以贵金属纳米颗粒自组装形成的纳米链为核,核上包覆有一层二氧化硅外壳,二氧化硅外壳上通过修饰于其表面的官能团连接有拉曼探针分子。本发明还公开了其制备方法,该方法便于操作,所得探针的吸收带可以随探针的长度及直径而发生移动,具有不同拉曼散射效应,可用于Raman散射检测、传感器及其它生物检测领域,也可以用于催化化学、电导材料等领域。

标签:
化学分析
山东 - 济南 来源:中冶有色网 2023-03-19
线粒体靶向比率型次氯酸荧光探针及其应用

本发明公开了一种线粒体靶向的比率型次氯酸荧光探针,该探针的化学结构式如(I)所示,本发明还公开了所述探针在检测含次氯酸样品以及在检测线粒体内次氯酸中的应用。实验证实,本发明探针可以高选择性和高灵敏度地与次氯酸作用,在没有次氯酸存在时,探针仅发射香豆素基团的蓝光(483nm);随着次氯酸浓度的增加,在570nm处出现逐渐增强的荧光发射峰,而483nm处的荧光强度减弱,二者的比值(I570/I483)与次氯酸浓度在一定范围内呈良好的线性关系。预示本发明的探针具有广阔的应用前景。

标签:
化学分析
山东 - 济南 来源:中冶有色网 2023-03-19
比率型荧光传感器及其制备方法和应用

本发明涉及一种比率型荧光传感器及其制备方法和应用,属于核酸酶检测技术领域。所述比率型荧光传感器至少包括DNA四面体纳米结构,所述DNA四面体纳米结构由四条带有荧光染料标记的单链DNA自组装形成。四色荧光探针由四种通过DNA四面体纳米结构连接的荧光染料组成,涉及多步荧光共振能量转移。四色荧光探针可以被单一波长激发并同时产生四个发射信号,并且可以清楚地区分多种核酸酶。将四条带有荧光染料标记的单链DNA混合后进行退火反应,然后进行冷却。这种四色荧光探针对于检测物具有良好的选择性,还可以用来筛选核酸酶抑制剂。此四色荧光探针经过结构修饰还可以具有多种核酸酶和核糖核酸酶的切割位点,使其在化学生物领域具有更广应用。

标签:
化学分析
山东 - 济南 来源:中冶有色网 2023-03-19
高级别浆液性卵巢癌诊断和/或预后判断的标志物

本发明公开了CXCL11作为高级别浆液性卵巢癌诊断和/或预后判断的标志物的应用,以及检测CXCL11的试剂在制备高级别浆液性卵巢癌诊断和/或预后判断的试剂盒中的应用。本发明以CXCL11作为标志物,通过免疫组织化学的方法诊断高级别浆液性卵巢癌,并判断高级别浆液性卵巢癌的预后。CXCL11在高级别浆液性卵巢癌中高表达,而在正常输卵管伞中低表达。CXCL11在高级别卵巢癌中的表达水平和病人的存活率有关,CXCL11表达高的患者预后不好,存活率低,尤其在晚期卵巢癌病人更明显。CXCL11的表达水平不但与病人的总生存期有关,也可以检测病人的2年及3年生存时间。CXCL11作为高级别浆液性卵巢癌的诊断和预后标志物,具有广阔的应用前景和巨大的潜在社会效益。

标签:
化学分析
山东 - 济南 来源:中冶有色网 2023-03-19
区分不同粘度的双光子荧光探针及其制备方法和应用

本发明提供了一种可区分不同粘度的双光子荧光探针,化学名称为3‑(2‑苯并噻唑乙腈)‑9‑乙基咔唑。所述双光子粘度探针可以通过3‑苯甲醛‑9‑乙烷‑9H‑咔唑与2‑苯并噻唑乙腈反应获得。所述双光子荧光探针可用于检测溶液和细胞中的粘度。本发明提供的区分不同粘度的双光子荧光探针,具有较高的灵敏度,良好的光学稳定性以及对粘度特异性响应;并且实现了在细胞以及斑马鱼活体内粘度的检测。本发明提供的该探针的合成方法,步骤简单、纯化方便、收率高。

标签:
化学分析
山东 - 济南 来源:中冶有色网 2023-03-19
确定煤挥发分燃烧所需空气量的方法及应用

本发明公开了一种确定煤挥发分燃烧所需空气量的方法及应用,特别适用于煤粉燃烧器周界风风量的控制。煤的挥发分是加热到一定阶段析出的气态物质,这种物质的元素组成不同于原煤,它是中间产物,只瞬间存在于燃烧过程中;本发明通过对原煤工业成分和元素成分等常规项目的检测,确定煤挥发分燃烧所需要的空气量,这使得在煤的挥发分燃烧和煤焦燃烧的主要阶段进行准确的空气配送得以实现:根据挥发分燃烧所需空气量以及周界风挡板流量特性曲线,控制周界风挡板的开度,可以满足挥发分燃烧阶段空气量的控制要求,从而获得最大经济和环保效益;由于煤的常规成分检测在企业生产的化学实验室即可完成,因此,本方案实施方便,可操作性强。

标签:
化学分析
山东 - 济南 来源:中冶有色网 2023-03-19
二硫化钼/金纳米颗粒混合结构的生物传感器材料及其制备方法

本发明公开了一种二硫化钼/金纳米颗粒混合结构的生物传感器材料及其制备方法,包括玻璃纤维纸衬底、附着在玻璃纤维纸衬底上的二维二硫化钼以及附着在二维二硫化钼上的金纳米颗粒。二硫化钼生长温度精确控制;生长的二硫化钼缺陷峰低,具有极高的晶体质量;生长的二硫化钼尺寸只受CVD腔体的限制,可实现二硫化钼的大面积生长;生长的金属颗粒后的二硫化钼/金属颗粒混合结构具有极高的化学吸附和物理增强机制;利用刻蚀法生长金颗粒,可以通过控制刻蚀的时间来精确控制金颗粒的大小,而且能够在整个材料上均匀生长金颗粒,有利于检测生物分子。制备完成后的生物传感器可同时实现生物分子的分离和检测。方法简单可控,成本低廉,应用价值高。

标签:
化学分析
山东 - 济南 来源:中冶有色网 2023-03-19
共价有机框架/石墨烯复合材料及其制备方法和应用

本发明属于有机无机复合材料技术领域,提供一种基于共价有机框架/石墨烯复合材料及其制备方法和应用。由于共价有机框架/石墨烯复合材料具有高比表面积、良好的导电性和高暴露的活性位点,将其涂覆在ITO电极上形成工作电极,用于构建一氧化氮电化学传感器,该传感器可以用于细胞释放一氧化氮的实时检测。该传感器在实际检测中展现出快速响应、高灵敏度、良好的选择性和出色的稳定性,便于商业化应用。

标签:
化学分析
山东 - 济南 来源:中冶有色网 2023-03-19
上一页 8 9 10 11 12 ... 59 下一页
共59页    到第

中冶有色为您提供最新的山东济南有色金属化学分析技术理论与应用信息,涵盖发明专利、权利要求、说明书、技术领域、背景技术、实用新型内容及具体实施方式等有色技术内容。打造最具专业性的有色金属技术理论与应用平台!

全国热门有色金属设备推荐
展开更多 +
全国热门有色金属技术推荐
展开更多 +

 

江西省隆恩特环保设备有限公司
宣传

报名参会
更多+

报告下载

有色专家
更多+

中南大学
中国工程院院士
武汉理工大学
外籍院士/教授
长沙矿冶研究院
总经理
矿冶科技集团有限公司工程公司
副总经理
中铝检测科技(郑州)有限公司/国家轻金属质量检验检测中心
正高级工程师
赤泥综合利用研究报告2025
推广

热门技术
更多+

推荐企业
更多+

福建省金龙稀土股份有限公司
宣传

发布

在线客服

公众号

电话

顶部
咨询电话:
010-88793500-807